Next Article in Journal
Pressure Relief by Blasting Roof Cutting in Close Seam Group Mining under Thick Sandstone to Enhance Gas Extraction for Mining Safety
Next Article in Special Issue
Experimental Research of High-Pressure Methane Pulse Jet and Premixed Ignition Combustion Performance of a Direct Injection Injector
Previous Article in Journal
A Systematic Model for Process Development Activities to Support Process Intelligence
Previous Article in Special Issue
Potential Improvement in PM-NOX Trade-Off in a Compression Ignition Engine by n-Octanol Addition and Injection Pressure
 
 
Due to scheduled maintenance work on our servers, there may be short service disruptions on this website between 11:00 and 12:00 CEST on March 28th.
Font Type:
Arial Georgia Verdana
Font Size:
Aa Aa Aa
Line Spacing:
Column Width:
Background:
Article

Implementation and Parameter Analysis of the Knock Phenomenon of a Marine Dual-Fuel Engine Based on a Two-Zone Combustion Model

1
Marine Engineering College, Dalian Maritime University, Dalian 116026, China
2
School of Mechanical Engineering, Beijing Institute of Technology, Beijing 100081, China
*
Author to whom correspondence should be addressed.
Processes 2021, 9(4), 602; https://doi.org/10.3390/pr9040602
Submission received: 4 January 2021 / Revised: 24 March 2021 / Accepted: 25 March 2021 / Published: 30 March 2021
(This article belongs to the Special Issue Combustion Process and Emission Control of Alternative Fuels)

Abstract

The stable working window of a dual-fuel engine is narrow, and it is prone to knock during operation. The occurrence of knock limits the load and torque output of a dual-fuel engine, and even causes engine damage in severe cases. The existing volumetric model of marine dual-fuel engine has little research on the related problems of knock simulation. In order to analyze the causes of knock phenomenon and the influence of operating parameter changes on knock, under the Matlab/Simulink simulation environment, a quasi-dimensional model was established with MAN 8L51/60DF dual-fuel engine as the prototype, and the model was calibrated using the bench data. The knock intensity index coefficient (KI) was used as the evaluation index of knock intensity. Three parameters, the intake air temperature, compression ratio, and natural gas intake, were selected as variables to simulate the engine. According to the analysis of the simulation results, the influence of the parameter changes on the occurrence of engine knock phenomenon and knock intensity could be further studied. The results showed that the combination of the KI model and the quasi-dimensional model could effectively and accurately predict the engine performance and knock trend. The change of gas inlet quality, compression ratio, and inlet temperature could promote the occurrence of detonation, the engine knock could be avoided by controlling the intake air temperature below 336 K, compression ratio not exceeding 15 or the intake volume of natural gas per cycle not exceeding 11.25 g/cycle.

1. Introduction

With the aggravation of global energy shortage and the worsening of environmental problems, pollutant emission has become an important reason for the deterioration of the global atmospheric environment. Shipping industry is one of the most important modes of transportation in international trade, the nitrogen oxides (NOx) emission is the main pollutant emission from ships, and the air pollution caused by its emission already attracts the attention of the international community [1,2].
In order to prevent the global atmospheric environment and marine environment from deteriorating, the International Maritime Organization (IMO) issued new and more stringent standards and revised the previous rules, hoping to reduce the environmental pollution caused by ship emissions. With the shortage of traditional oil resources and increasingly more stringent emission regulations issued by IMO [3], natural gas has the advantages of abundant reserves, high energy density, and green environmental protection, as compared to traditional fuels. Dual-fuel engines using natural gas as the main fuel developed rapidly and are gradually applied in the field of ship power plant.
Although the dual-fuel engine has obvious advantages in emissions and other aspects, the pre-mixed natural gas dual-fuel engine will produce knock phenomenon under the conditions of excessive load and high temperature in the combustion chamber. When the knock is slight, the engine power can be slightly increased; but when the knock is strong, not only will the engine power output be reduced, but the fuel consumption will be increased and emissions will worsen. At the same time, due to the high temperature and high pressure in the cylinder, severe knocks might even cause damage to the mechanical parts of the engine, as shown in Figure 1, which seriously affects the safety of engine operation [4]. Therefore, it is of theoretical significance and practical value to study the knock combustion characteristics of a dual-fuel engine and the influence of various factors on knocks.
There are two main types of detection methods for engine knock phenomenon—one is based on direct measurement methods, such as enhanced charge coupled detector camera and laser-induced fluorescence imaging method [5], the other is an experiment-based method based on indirect measurements [6], such as cylinder pressure analysis, cylinder block vibration, exhaust temperature, etc. In this paper, the primary goal of dual-fuel engine modeling is the knock phenomenon simulation. At present, the knock prediction model mainly includes zero-dimensional model, quasi-dimensional model, and three-dimensional model; different models have advantages and disadvantages in terms of calculation time and accuracy [7].
Abdelaal et al. [8] studied the effects of oxygen on engine performance, emissions and knock tendency, under different load conditions. Wang et al. [9] analyzed the effects of pre-injection on the combustion, emissions, and knock in dual-fuel engine by using 3D Computational Fluid Dynamics (CFD) software. The results showed that the pre-injection strategy was effective in reducing emissions, improving the fuel economy and reducing knock tendencies. To achieve more efficient and robust combustion, Shi et al. [10] split direct-injected hydrogen, as a new injection strategy for rotary engines was used to clarify the influences of various injection parameters, including hydrogen amount for each pulse, the dwell between pulses, and secondary injection pulse-width, on combustion performance and emission formation by CFD modeling. Ma et al. [11] used a self-developed knock prediction model to simulate the performance and knock phenomenon of natural gas engines, and analyzed the numerical results obtained. Krenn et al. [12] proposed a new method for modeling large-scale dual-fuel engines, combining sub-models and thermodynamic dual-zone models, making it possible to determine all required thermodynamic parameters in the combustion chamber and to calculate the mass flow rate from the unburned zone into the combustion zone. The model is more accurate and takes into account the influence of diesel injection. Xiang et al. [13] established a two-zone model to predict the knock performance and NO emissions of natural gas engines, which was validated with test data from SI natural gas engines. Selim [14] conducted research on dual-fuel engines of three gas fuel combinations of diesel and liquefied petroleum gas, pure methane and compressed natural gas mixture, measured and analyzed the data of combustion noise, knock, and ignition limit. Bares et al. [15] proposed a new knock model by combining the knock integral model based on the in-cylinder temperature and the external noise disturbing the cylinder temperature. The spontaneous combustion of the end gas was modeled by a function similar to Arrhenius. The knock probability was estimated by propagating a virtual error probability distribution. In summary, the quasi-dimensional model had sufficient accuracy in aspects of predicting performance, NOx emissions, and knock performance. However, most researchers focused their studies on flame propagation processes and applied complex reaction mechanisms to obtain emission concentrations or perform burst simulations, which increases the complexity and computational cost of the models, to a certain extent [16,17].
In order to reduce the damage to the engine and save research time and development costs, the main goal of the simulation modeling of dual-fuel engine in this paper was to simulate the knock phenomenon. A quasi-dimensional model was established on the basis of MAN 8L51/60DF dual-fuel engine as the prototype. To ensure the reliability of the simulation analysis, the model was verified by bench test data. The validity of the established two-zone model was verified. The simulation results were good. On the basis of the simulation model, the influence of intake temperature, compression ratio, and natural gas intake on the knock phenomenon were further studied by changing the engine operating parameters, so as to analyze the causes of the knock phenomenon and the influence of the parameters operating on it.

2. Model Description

2.1. Two-Zone Model

As shown in Figure 2, the two-zone model is the simplest quasi-dimensional model. It divides the combustion chamber into two-zero dimensional zones, the burned region and the unburned region, by the flame front. The upper half was the burned zone, and the lower half was the unburned zone. The relationship between the two zones was established through the basic equations. The assumptions for the mass and energy exchange between the two zones were as follows:
(1)
The working medium in the cylinder was ideal gas. The mixed gas in each zone was fully mixed and evenly distributed in the cylinder at any instant.
(2)
After pilot fuel injection, evaporation and combustion proceeded instantaneously. The gas components in the burned zone were pilot diesel, natural gas, air, and chemical reaction gas, while those in the unburned zone were natural gas, air, and chemical reaction gas.
(3)
The combustion products of natural gas and air only included CO2, H2O, O2, N2, and Ar. The gas properties of the gas in the cylinder, such as specific heat capacity c, specific internal energy u, and specific heat h, were only related to the mass fraction g and temperature T of the gas component, while the gas constant was only related to g.
(4)
The temperature of the piston head, cylinder wall, and cylinder head was constant and did not change with the crankshaft angle. Since the combustion chamber was divided into two zones—the burned zone and the unburned zone—the burned zone was in contact with the cylinder head and part of the cylinder liner, so the heat loss of the burned zone only included the cylinder head and part of the cylinder liner. The heat loss of the unburned zone only included the cylinder liner (the unburned zone) and the piston crown.

2.2. Gas Properties

It can be known from the assumption that the working fluid in the cylinder was an ideal gas. For an ideal gas, the thermodynamic parameters of a single working fluid were only related to temperature. Under setting conditions, the specific heat capacity, specific enthalpy, and specific entropy of a single working fluid in the cylinder could be described by National Aeronautics and Space Administration(NASA) polynomials for thermodynamic properties, such as Equations (1)–(3):
c p k R = a 1 k + a 2 k T + a 3 k T 2 + a 4 k T 3 + a 5 k T 4
H k R = a 1 k + a 2 k 2 T + a 3 k 3 T 2 + a 4 k 4 T 3 + a 5 k 5 T 4 + a 6 k T
S k R = a 1 k ln T + a 2 k T + a 3 k 2 T 2 + a 4 k 3 T 3 + a 5 k 4 T 4 + a 7 k
Table 1 shows the values of the fitting parameters in the temperature range of 300–1000 K and 1000–5000 K. The working fluid in the engine was a mixed gas. A mixture of multiple gas components could be weighted by the weight of a single substance:
u = i g i u i
h = i g i h i
c = i g i c i
gi is the mass component of the i-th gas.

2.3. Two-Zone Instantaneous Work Mass Model

The in-cylinder combustion chamber was considered to be a closed container in the simulation model, ignoring the leakage loss of the mass in the cylinder. In the in-cylinder combustion chemical reaction, the sum of each substance participating in the reaction was equal to the sum of each substance produced after the reaction satisfied the mass conservation equation.
d m B d ϕ = d m f d ϕ + d m g e n t d ϕ d m s g e x i t d ϕ
d m U d ϕ = d m s g o u t d ϕ d m g i n d ϕ
Subscript B and U were used to describe the parameters related to the burned zone and unburned zone, respectively. In the above equation, dmB/ is the instantaneous mass change rate in the burned area, dmU/ is the instantaneous mass change rate in the unburned area, dmf/ is the rate of mass change of evaporated fuel in the burned zone, dmgent/ is the mass rate that transferred from the unburned zone to the burned zone, including natural gas, air, and chemical reaction gases; dmsgexit/ is the chemical reaction gas transferred from the burned zone to the unburned zone.

2.4. Two-Zone Transient Temperature Model

According to the above assumptions, the sub model of each region is zero-dimensional. Equation (9) is derived from the first law of thermodynamics, by separating the temperature terms:
d T B d ϕ = [ d m g e n t d ϕ ( h g e n t u g , 1 ) d m s g e x i t d ϕ ( h s g e x i t u s g , 1 ) + d Q f d ϕ d Q W 1 d ϕ P d V 1 d ϕ ] / m B C v 1
d T U d ϕ = [ d m g e n t d ϕ ( h g e n t u g , 1 ) + d m s g e x i t d ϕ ( h s g e x i t u s g , 1 ) d Q W 2 d ϕ P d V 2 d ϕ ] / m U C v 2
The instantaneous temperature model for the unburned zone is Equation (10), which have similar parameters to Equation (9), but the unburned area did not include the exothermic combustion. Where Cv is the constant volume specific heat capacity, hgent, ugent are the enthalpy and thermodynamic energy of the gas leaving the unburned zone, respectively, dQw1/ and dQw2/ are the heat loss at the cylinder wall for the burned and unburned zones, respectively, P is the in-cylinder pressure, dV1 and dV2 are the instantaneous volumes of the burned and unburned zones, respectively.

2.5. Two-Zone Model Volume Balance

In the process of in-cylinder combustion, the volume balance is important to calculate the volume and in-cylinder pressure of each combustion zone, since the volume ratio of the burned and unburned zones is changeable after the combustion starts. Under the assumptions that the gas in the two-zone model conforms to the ideal gas equation of state and that the pressures in both zones are the same, the volume equilibrium in both regions could be solved using the ideal gas equation of state, as follows:
V z = π D 2 4 { S ε 1 + S 2 [ 1 + 1 λ cos ( π ϕ 180 ) 1 λ 2 sin 2 ( π ϕ 180 ) ] }
L = S ε 1 + S 2 [ 1 + 1 λ cos ( π ϕ 180 ) 1 λ 2 sin 2 ( π ϕ 180 ) ]
V 1 = ( m R T ) B P
V 2 = V z V 1
P = ( m R T ) U V 2
Cylinder instantaneous volume Vz is the parameter that varies with the crankshaft rotation angle, calculated from ϕ = 0 when the crank is at the upper dead center position. In addition, ε is the compression ratio; D is the cylinder diameter; S is the cylinder stroke; and λ is the crank ratio of the connecting rod.
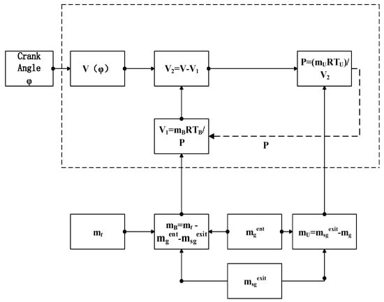
Figure 3 is the flow chart of volume calculation for the dual area model. First, the volume V1 of the burned zone was calculated according to the ideal gas equation. Then, the unburned zone volume V2 was obtained by subtracting the burned zone volume V1 from the instantaneous volume Vz of the cylinder, corresponding to the crankshaft angle. Finally, the corresponding pressure P could be obtained by using the ideal gas equation in the unburned zone. As the pressure of the combustion zone and the unburned zone was the same, the pressure was the engine cylinder pressure P.

2.6. Heat Transfer Loss

The cylinder wall is composed of the surface of the combustion chamber of the cylinder head, the top surface of the piston, and the instantaneous heat transfer surface area of the cylinder liner. However, in this study, we divided the cylinder into a burned zone and an unburned zone, and the volume of the two zones was added to the total volume of the cylinder. Assuming that the volume of the two areas was in contact with the cylinder wall, both will dissipate heat outside the wall. The heat dissipation through the wall could be calculated by the instantaneous average heat transfer coefficient αg of the working fluid to the cylinder peripheral wall and the average wall temperature Tw, as shown in the following equation:
d Q w i d ϕ = A wall , i α w ( T i T w )
α w = 2.06 10 7 D 0.2 P 0.8 T i 0.53 [ C 1 C m + C 2 V S T a P a V a ( P P 0 ) ] 0.8
i = 1, 2, respectively, representing the burned area and the unburned area. A is the heat exchange area, calculated according to the geometry of the cylinder. Since the dual-zone model divides the cylinder into two volumes—the burned zone and the unburned zone—the burned zone releases heat to the cylinder head and cylinder wall, while the unburned zone transfers heat release to the piston crown and cylinder wall. The area of the cylinder wall was calculated from the volume of each zone.
A head = A crown = π 4 D 2
A wall = π L D
A wall , 2 = S L A wall
A wall , 1 = ( 1 S L ) A wall
where L is calculated according to Equation (12), Ahead and Acrown are the surface areas of the cylinder head and piston crown, respectively; Awall,1 and Awall,2 are the heat dissipation area of the cylinder wall in the burned zone and the unburned zone, respectively. SL is the distribution factor, which is defined as the ratio of the unburned zone volume to the total cylinder volume:
S L = V 2 V z

2.7. Combustion Model

In this model, the combustion process was divided into two stages—premixed combustion and diffusion combustion. The premixed combustion stage was represented by dx1/, and the diffusion combustion stage was represented by dx2/dϕ. The proportion of each stage was controlled by the number of combustion fuel.
d x d ϕ = d x 1 d ϕ + d x 2 d ϕ
d x 1 d ϕ = { 6.908 ( m p + 1 ) ϕ Z p ( ϕ ϕ B ϕ Z p ) m p e x p [ 6.908 ( ϕ ϕ B ϕ Z p ) m p + 1 ] } ( 1 Q d )
d x 2 d ϕ = { a ( m d + 1 ) ϕ Z d ( ϕ ϕ B ϕ Z d ) m d e x p [ a ( ϕ ϕ B ϕ Z d ) m d + 1 ] } Q d
where the subscript p is the premixed combustion; the subscript d is the diffusion combustion; m is the combustion quality coefficient; ϕZ is the combustion duration; ϕB is the combustion advance angle; and Q is the combustion fraction.

2.8. Knock Model

In this study, the knock prediction model and the Knock Intensity (KI) prediction model were combined as indicators to simulate the time, trend, and intensity of engine knock when the engine parameters changed. The knock prediction model adopted the knock integral model of the end mixture spontaneous combustion delay period integral method, improved by Douaud [18]. In the model of Douaud and Eyzat, knock is predicted to occur at the crank angle at which the induction time integral (for any unburned zone) attains a value of 1.0. At the same time, the effect of octane number on knock was considered in this model:
I = t = 0 t i d t τ = 1
In Equation (26), τ is the induction time calculated from Equation (27), which is a function of instantaneous temperature and pressure in the unburned zone, the unit is milliseconds. t is the time elapsed from the start of the compression process in the unburned zone. ti is the time when spontaneous combustion occurs.
τ = 5.72 10 6 B ( O N 100 ) 3.402 P 1.7 10 ( 3800 K T U )
In Equation (27), Octane number (ON) is the fuel octane number; P is the instantaneous pressure; TU is the temperature of the unburned zone; B is the burst-induced time multiplier; K is the activation of energy multipliers (when the value is greater than 1, it increases the likelihood of knock).
The Knock Intensity (KI) predictive model is a phenomenology-based parameter that was developed by Gamma Technologies Laboratories to describe knock intensity and loudness. The knock index is defined as a crank angle-dependent quantity as follows:
K I = 10000 M u V T D C V Z e x p ( 6000 T U ) max [ 0 , 1 ( 1 ϕ ) 2 ] I
Where M is the knock index multiplier; u is the percentage of unburned zone mass in the cylinder; and ϕ is the equivalence ratio of the unburned zone. When knock occurs, the value of the knock index at the start of knock is reported. Calibrating the parameters of the knock model makes KI equal to 200 and the slight knock of engine in the corresponding experiment. In other words, when the KI value is larger than 200, it is considered that the knock occurs, and the higher the KI value, the higher is the knock intensity.

3. Model Calibration and Validation

In this paper, the MAN 8L51/60DF engine is used as the prototype of the model, all data of engine modeling and calibration are derived from the shipyard’s factory test reports certified by China Classification Society and Lloyd’s Register of Shipping. The model calibration could also be found in the above research [19,20,21]. The engine layout and components are presented in Figure 4 [9]. The main engine parameters are listed in Table 2. Figure 5 is the established two-zone simulation model of the MAN 8L51/60DF engine.
The boundary, initial and operation conditions for the numerical simulation are illustrated in Table 3. Figure 6 shows the comparison between the cylinder pressure simulated by the quasi-dimensional model and the engine experiment pressure, and the cylinder pressure curve of Gan et al. [20] was used to validate the quasi-dimensional simulation model. Figure 7, Figure 8 and Figure 9, respectively, show the comparison between the simulated and experimental values of the Max.Firing.Pressure, engine power, and Indicated Mean Effective Pressure (IMEP), under different engine loads. It could be seen from the figure that the pressure in the cylinder was very accurate. The relative errors of the peak pressure between the cylinder pressure and the test pressure under each load were very small. The simulation was consistent with the experimental trend, and the parameters fit very well under each load. Figure 10 is the simulation curve of the heat release rate of cylinder. The whole heat release rate curve truly reflected the process of pre-combustion and diffusion combustion. It could be seen from the simulation results that the model simulation accuracy were relatively high, which could be used to study the knock performance simulation of dual-fuel engines.
Figure 11 compares the in-cylinder temperatures of the two-zone model and the zero-dimensional model. The instantaneous temperature of the burned zone and the unburned zone can be calculated by Equations (9) and (10). It could be seen that the temperatures of these two models remained constant during the compression and expansion phases. The temperature curves began to separate at the beginning of combustion and coincided again at the end of combustion. In the separated combustion stage, the peak temperatures of the burned and the unburned zones reached 2411 K and 1203 K, respectively, while the peak temperature of the zero-dimensional model was 1737 K. This was consistent with the results of the two-zone model of direct injection engine by Galindo Lopez [22] of Delft University in the Netherlands. This also showed the accuracy of the simulation model to a certain extent.

4. Analysis of Simulation Results

The accuracy of the model was verified by calibrating the experimental data of the MAN 8L51/60DF dual-fuel engine, under various load conditions. In order to further study the knock characteristics of the marine dual-fuel engines, on the basis of the established two-zone simulation model, this paper used the knock simulation model to set three groups of engine parameters, engine intake temperature, compression ratio, and natural gas intake as variables. When one of the above parameters is taken as a variable, the other parameters are controlled unchanged. The simulation results of the model could analyze the effect of changing engine parameters on the timing of knocking and the intensity of knock.

4.1. Effect of Natural Gas Intake on Knock

The main fuel of the dual-fuel engine studied in this paper is natural gas, so it has a great influence on the combustion process in cylinder. Natural gas and air enter the cylinder after being mixed at the intake end, and are ignited by the combustion pilot diesel near the top dead center of the piston. The knock of the engine mainly occurs during the natural gas combustion, so the natural combustion has a great impact on the knock combustion characteristics of the engine. In this section, the in-cylinder injection timing, intake temperature, and geometric compression ratio are set as the fixed values, and the natural gas quality in the initial combustion chamber is taken as the variable to study the influence of different intake volumes of natural gas on the knock combustion characteristics of the engine. Table 4 shows the simulation parameters under different natural gas intake conditions.
The effect of changing the natural gas intake on the knock integral is shown in Figure 12. With an increase in the quality of natural gas in the combustion chamber, the knock integral increased rapidly, and the knock phenomenon occurred. The timing of knock also advanced with an increase in natural gas intake, and the knock intensity also increased rapidly, as shown in Figure 13.
It can be seen that the quality of natural gas has a significant impact on the time and intensity of engine knock. The more natural gas intake, the more fuel involved in the combustion in the combustion chamber, the more intense the combustion, and the greater the engine knock intensity. On the contrary, the less natural gas intake, the smaller the engine knock intensity.
At the same time, the amount of natural gas intake also has an effect on the time of engine knock. The larger the amount of natural gas intake, the earlier the engine knock occurs. Therefore, in order to avoid the occurrence of knock, the intake of natural gas should be reasonably controlled.

4.2. Effect of Intake Temperature on Knock

In the process of research, the average temperature in cylinder at the beginning of combustion simulation is taken as the intake temperature, and the rotational speed, compression ratio, injection timing, and natural gas intake volume are kept unchanged. Pure methane is used as the fuel for combustion simulation. The intake temperature is set to 296 K, 316 K, 336 K, and 356 K, respectively, to simulate and analyze the influence of four different intake temperatures on the engine knock phenomenon. Table 5 shows the simulation parameters under four different intake temperature conditions.
The intake temperature of the engine cylinder was set to 296 K, 316 K, 336 K, and 356 K, respectively. Figure 14 shows the knock integral curve at different intake temperatures. Figure 15 is the knock intensity index coefficient. As the intake air temperature increased, the knock intensity index coefficient increased rapidly, this was the same trend as shown by the knock integral curve in Figure 14.
The results showed that the higher the intake temperature, the higher the temperature of the unburned zone in the cylinder. Therefore, affected by the intake temperature of the engine cylinder, the higher the intake temperature, the greater the possibility of engine knock, and the greater the knock intensity. Controlling the intake temperature of the engine and reducing the thermal load in the engine cylinder could reduce the occurrence of the engine knock.

4.3. Effect of Compression Ratio on Knock

The faster the natural gas engine combustion fuel with a larger compression ratio, the greater the power output, and the better the economic benefit. However, the valve was not closed tightly due to the wear and ablation during engine operation, which would cause abnormal engine compression ratio. The larger the compression ratio, the more the gas was compressed, and the higher the temperature and pressure rise. However, the larger the compression ratio, the higher the pressure and temperature in the cylinder. Before the flame front arrives, the combustion was more likely to ignite spontaneously. Therefore, when the compression ratio reached a certain limit, it would also be accompanied by the possibility of a knock. In this section, the two zone combustion model would be used to simulate the influence of compression ratio change on knock. Table 6 shows the simulation parameters under different compression ratio conditions.
The compression ratio of the engine ε was set as ε1 = 11.3, ε2 = 13.3, ε3 = 15.3, and ε4 = 17.3, respectively. Figure 16 shows the knock integral curve at different compression ratios. The knock intensity is shown in Figure 17. It could be seen from the figure that as the compression ratio increased, the knock intensity increased. This was because the higher the compression ratio, the higher was the cylinder pressure and the unburned zone temperature. Before the flame front arrived, the combustion was more prone to spontaneous combustion. It could be seen from the simulation results in Figure 16 that the knocking phenomenon was affected by the engine compression ratio. The larger the compression ratio, the earlier the engine knock occurred. The advance of the knock time would cause more natural gas to spontaneously ignite in the unburned zone, release more energy, and result in a stronger knock intensity. The reasonable compression ratio of the engine could reduce the probability of a knock.

5. Conclusions

This paper takes the MAN 8L51/60DF dual-fuel engine as the research object, focusing on the establishment of dual zone simulation model and knock simulation of the marine dual-fuel engine research. In order to ensure the reliability of the simulation analysis in this paper, the model was verified by bench test data, and the simulation results fit well, which showed that the established model was suitable for a dual-fuel engine knock simulation research. Three parameters of natural gas intake, intake temperature, and compression ratio were selected as variables to simulate the engine. Through the analysis of simulation results, the following conclusions were drawn:
(1)
The intake of natural gas was m1 = 9.25 g, m2 = 10.25 g, m3 = 11.25 g, and m4 = 12.25 g. According to analysis of the simulation results, during engine combustion, the more natural gas intake, the more fuel involved in combustion. Natural gas burns to release more heat, the more intense the combustion, the greater the probability of engine knock. The more natural gas intake, the earlier the engine knock occurs, and the greater is the knock intensity. Therefore, the amount of natural gas intake has a significant impact on the engine knock phenomenon. Reasonable control of the intake of natural gas is of great significance to reducing engine knock.
(2)
The intake temperature of the engine cylinder was set to T1 = 296 K, T2 = 316 K, T3 = 336 K, and T4 = 356 K respectively. The higher the intake temperature, the higher the temperature of the unburned zone in the cylinder. Therefore, affected by the intake temperature of engine cylinder, the higher the intake temperature, the greater the possibility of an engine knock and the greater the knock intensity. By controlling the intake temperature of the engine and reducing the thermal load in the engine cylinder, the occurrence of engine knock could be reduced.
(3)
The engine compression ratio was set to ε1 = 11.3, ε2 = 13.3, ε3 = 15.3, and ε4 = 17.3. The larger the compression ratio, the higher the cylinder pressure and the unburned zone temperature. Before the flame front arrived, the combustion was more likely to ignite spontaneously. The simulation results showed that the knock phenomenon was affected by the compression ratio of the engine. The higher the compression ratio, the earlier the engine knock occurred and the greater the knock intensity. The reasonable compression ratio of the engine could reduce the probability of a knock.

Author Contributions

F.-k.Z.: Conceptualization, Data curation, Investigation, Methodology, Software, Validation, Visualization, Writing—original draft; H.Z.: Corresponding author, Project administration, Resources, Validation, Writing—review & editing, Funding acquisition; H.-y.W.: Conceptualization, Supervision, Methodology, Validation, Writing—review & editing; X.-x.W.: Formal analysis, Supervision; Z.-x.X.: Validation. All authors have read and agreed to the published version of the manuscript.

Funding

This research was funded by Key Technology Research of Marine Equipment Intelligent Integration and Remote Management, grant number [CJ02N20], and the Fundamental Research Funds for the Central Universities, grant number [No.3132016316].

Data Availability Statement

All data used to support the findings of this study are included within the article.

Conflicts of Interest

The authors declare no conflict of interest.

Nomenclature

AHeat exchange area, m2;
AcrownPiston top surface area, m2;
AheadCylinder head surface area, m2;
Awall,1Heat dissipation area of cylinder wall in burned zone, m2;
Awall,2Heat dissipation area of cylinder wall in unburnt zone, m2;
cpkSpecific heat at constant pressure, J/(kg·K);
CYLCylinder
HRRHeat release rate, J/°CA
haentSpecific enthalpy of air entering the burned zone, J/kg;
hsgentSpecific enthalpy of chemical reaction gas entering the burned zone, J/kg;
hsgexitThe specific enthalpy of the chemical reaction gas entering the unburned zone from the burned zone, J/kg;
IKnock integral;
KIKnock intensity;
mBGas mass in the burned area in the cylinder, kg;
mUThe mass of unburned gas in the cylinder, kg;
maentAir quality flowing from unburned area to burned area, kg;
mfThe mass of fuel injected into the cylinder, kg;
mgentThe mass of gas entering the burned zone in the unburned zone, kg;
msgentThe mass of the chemical reaction gas entering the burned zone in the unburned zone, kg;
msgexitThe mass of the chemical reaction gas flowing from the burned area to the unburned area, kg;
mzThe total mass of the substance in the cylinder, kg;
PGas pressure in the cylinder, pa;
QfThe heat brought by the fuel injected into the cylinder, J;
Qw1Heat taken away by the cooling medium in the burned area, J;
Qw2Heat taken away by the cooling medium in the unburned area, J;
SLDistribution factor, the ratio of the unburned zone volume to the nstantaneous total volume of the cylinder;
SOIStart of Injection
TBInstantaneous temperature in the burned area, K;
TUInstantaneous temperature of unburned zone, K;
VTAVariable Turbine Area
V1Instantaneous volume of burned area, m3;
V2Instantaneous volume of unburned area, m3;
VzThe instantaneous volume of the cylinder, m3.

References

  1. Gao, J.; Tian, G.; Jenner, P.; Burgess, M. Intake characteristics and pumping loss in the intake stroke of a novel small scale opposed rotary piston engine. J. Clean. Prod. 2020, 261, 121180. [Google Scholar] [CrossRef]
  2. Gao, J.; Tian, G.; Jenner, P.; Burgess, M.; Emhardt, S. Preliminary explorations of the performance of a novel small scale opposed rotary piston engine. Energy 2020, 190, 116402. [Google Scholar] [CrossRef]
  3. Wang, H.; Ji, C.; Shi, C.; Wang, S.; Yang, J.; Ge, Y. Investigation of the gas injection rate shape on combustion, knock and emissions behavior of a rotary engine with hydrogen direct-injection enrichment. Int. J. Hydrogen Energy 2021. [Google Scholar] [CrossRef]
  4. Wang, Z.; Liu, H.; Reitz, R.D. Knocking combustion in spark-ignition engines. Prog. Energy Combust. Sci. 2017, 61, 78–112. [Google Scholar] [CrossRef]
  5. Schie, L.R.; Maas, U. Analysis of endgas temperature fluctuations in an si engine by laser-induced fluorescence. Combust. Flame 2003, 133, 19–27. [Google Scholar]
  6. Worre, R.; Bernhardt, S.; Schwarz, F.; Spicher, U. Application of Different Cylinder Pressure Based Knock Detection Methods in Spark Ignition Engines. Spring Fuels Lubr. Meet. Exhib. 2002, 2244–2257. [Google Scholar]
  7. Baldi, F.; Theotokatos, G.; Andersson, K. Development of a combined mean value–zero dimensional model and application for a large marine four-stroke Diesel engine simulation. Appl. Energy 2015, 154, 402–415. [Google Scholar] [CrossRef]
  8. Abdelaal, M.M.; Rabee, B.A.; Hegab, A.H. Effect of adding oxygen to the intake air on a dual-fuel engine performance, emissions, and knock tendency. Energy 2013, 61, 612–620. [Google Scholar] [CrossRef]
  9. Wang, H.; Gan, H.; Theotokatos, G. Parametric investigation of pre-injection on the combustion, knock and emissions behaviour of a large marine four-stroke dual-fuel engine. Fuel 2020, 281, 118744. [Google Scholar] [CrossRef]
  10. Shi, C.; Ji, C.; Ge, Y.; Wang, S.; Yang, J.; Wang, H. Effects of split direct-injected hydrogen strategies on combustion and emissions performance of a small-scale rotary engine. Energy 2021, 215, 119124. [Google Scholar] [CrossRef]
  11. Zhenzhen, M.; Ruixiang, L.; Yongqi, L.; Bin, Z. Analysis and research of natural gas engine knock based on GT-Power. Automot. Engine 2016, 5, 43–49. [Google Scholar]
  12. Krenn, M.; Redtenbacher, C.; Pirker, G.; Wimmer, A. A new approach for combustion modeling of large dual-fuel engines. In Heavy-Duty-, On-und Off-Highway-Motoren 2015; Springer: Berlin/Heidelberg, Germany, 2018. [Google Scholar]
  13. Xiang, L.; Song, E.; Ding, Y. A Two-Zone Combustion Model for Knock Prediction of Marine Natural Gas SI Engines. Energies 2018, 11, 561. [Google Scholar] [CrossRef]
  14. Selim, M.Y.E. Sensitivity of dual fuel engine combustion and knocking limits to gaseous fuel composition. Energy Convers. Manag. 2004, 45, 411–425. [Google Scholar] [CrossRef]
  15. Bares, P.; Selmanaj, D.; Guardiola, C.; Onder, C. Knock probability estimation through an in-cylinder temperature model with ex-ogenous noise. Mech. Syst. Signal Process. 2018, 98, 756–769. [Google Scholar] [CrossRef]
  16. Altın, I.; Bilgin, A. Quasi-dimensional modeling of a fast-burn combustion dual-plug spark-ignition engine with complex combustion chamber geometries. Appl. Therm. Eng. 2015, 87, 678–687. [Google Scholar] [CrossRef]
  17. Ma, F.; Mehra, R.K. Study of Quasi-Dimensional Combustion Model of Hydrogen- Enriched Compressed Natural Gas (HCNG) Engines; Intechopen: London, UK, 2016. [Google Scholar]
  18. Douaud, A.M.; Eyzat, P. Four-Octane-Number Method for Predicting the Anti-Knock Behavior of Fuels and Engines. Comput. Simul. 1978, 1, 294–308. [Google Scholar]
  19. Wang, H.; Gan, H.; Wang, G.; Zhong, G. Emission and Performance Optimization of Marine Four-Stroke Dual-Fuel Engine Based on Response Surface Methodology. Math. Probl. Eng. 2020, 2020, 5268314. [Google Scholar] [CrossRef]
  20. Gan, H.; Wang, H.; Tang, Y.; Wang, G. Investigation of the Miller cycle on the performance and emission in a natural gas-diesel dual-fuel marine engine by using two zone combustion model. Therm. Sci. 2020, 24, 259–270. [Google Scholar] [CrossRef]
  21. Tang, Y.; Zhang, J.; Jia, B.; He, Z.; Xia, Y. Investigation on the solution of nitric oxide emission model for diesel engine using optimization algorithms. Fuel 2018, 228, 81–91. [Google Scholar] [CrossRef]
  22. Galindo Lopez, S. Three-Zone in-Cylinder Process Model for DI Diesel Engines; Delft University of Technology: Delft, The Netherlands, 2014. [Google Scholar]
Figure 1. Examples of the knocking damage.
Figure 1. Examples of the knocking damage.
Processes 09 00602 g001
Figure 2. Schematic diagram of the two-zone model.
Figure 2. Schematic diagram of the two-zone model.
Processes 09 00602 g002
Figure 3. Flow chart of volume calculation for the two-zone model.
Figure 3. Flow chart of volume calculation for the two-zone model.
Processes 09 00602 g003
Figure 4. Engine layout and components [9].
Figure 4. Engine layout and components [9].
Processes 09 00602 g004
Figure 5. Two-zone simulation model.
Figure 5. Two-zone simulation model.
Processes 09 00602 g005
Figure 6. Cylinder gas pressure.
Figure 6. Cylinder gas pressure.
Processes 09 00602 g006
Figure 7. Max.Firing.Pressure comparison between simulation and experiment.
Figure 7. Max.Firing.Pressure comparison between simulation and experiment.
Processes 09 00602 g007
Figure 8. Power comparison between simulation and experiment.
Figure 8. Power comparison between simulation and experiment.
Processes 09 00602 g008
Figure 9. IMEP comparison between simulation and experiment.
Figure 9. IMEP comparison between simulation and experiment.
Processes 09 00602 g009
Figure 10. Cylinder heat release rate simulation curve.
Figure 10. Cylinder heat release rate simulation curve.
Processes 09 00602 g010
Figure 11. Gas temperature in cylinder.
Figure 11. Gas temperature in cylinder.
Processes 09 00602 g011
Figure 12. Knock integral under different natural gas intake.
Figure 12. Knock integral under different natural gas intake.
Processes 09 00602 g012
Figure 13. Knock intensity under different natural gas intake.
Figure 13. Knock intensity under different natural gas intake.
Processes 09 00602 g013
Figure 14. Knock integral under different intake temperature.
Figure 14. Knock integral under different intake temperature.
Processes 09 00602 g014
Figure 15. Knock intensity at different intake temperatures.
Figure 15. Knock intensity at different intake temperatures.
Processes 09 00602 g015
Figure 16. Knock integral under different compression ratio.
Figure 16. Knock integral under different compression ratio.
Processes 09 00602 g016
Figure 17. Knock intensity under different compression ratio.
Figure 17. Knock intensity under different compression ratio.
Processes 09 00602 g017
Table 1. Fitting parameters.
Table 1. Fitting parameters.
a1a2a3a4a5a6T (K)
N23.2986770.14082404 × 10−2−0.03963222 × 10−40.05641515 × 10−7−0.02444854 × 10−10−1020.8999300–1000
2.9266400.14879768 × 10−2−0.05684760 × 10−50.10097038 × 10−9−0.06753351 × 10−13−922.79771000–5000
O23.2129360.11274864 × 10−2−0.05756150 × 10−50.13138773 × 10−8−0.08768554 × 10−11−1005.2490300–1000
3.6975780.06135197 × 10−2−0.12588420 × 10−60.01775281 × 10−9−0.11364354 × 10−14−1233.93011000–5000
Ar2.5000000.000000000.000000000.000000000.00000000−745.3750300–5000
CO22.2757240.09922072 × 10−1−0.10409113 × 10−40.06866686 × 10−7−0.02117280 × 10−10−48,373.14300–1000
4.4536230.03140168 × 10−1−0.12784105 × 10−50.02393996 × 10−8−0.16690333 × 10−13−48,966.961000–5000
H2O3.3868420.03474982 × 10−1−0.06354696 × 10−40.06968581 × 10−7−0.02506588 × 10−10−30,208.11300–1000
2.6721450.03056293 × 10−1−0.08730260 × 10−50.12009964 × 10−9−0.06391618 × 10−13−29,899.211000–5000
CH40.77874150.01747668−0.02783409 × 10−30.03049708 × 10−6−0.12239307 × 10−10−9825.229300–1000
1.6834780.10237236 × 10−1−0.03875128 × 10−40.06785585 × 10−8−0.04503423 × 10−12−10,080.7871000–5000
Table 2. Engine technical parameters.
Table 2. Engine technical parameters.
ParameterUnitValues
Cylinder number[-]8
Bore[mm]510
Stroke[mm]600
Compression ratio[-]13.3
Power[kW]8000
Rated speed[r/min]514
Fire order[-]1-4-7-6-8-5-2-3
IMEP[bar]19.1
Table 3. The boundary, initial, and operation conditions for the model.
Table 3. The boundary, initial, and operation conditions for the model.
ParameterUnitValues
Operation conditions
Load[-]100%
Fire order[-]1-4-7-6-8-5-2-3
Rated speed[r/min]514
SOI[°ATDC]−15
Initial conditions
Intake temperature[K]316
Intake pressure[bar]4
Natural gas intake flow[kg/cycle]0.01025
Exhaust temperature[K]777
Exhaust pressure[bar]3
Boundary conditions
Piston crown temperature[K]523
Cylinder head temperature[K]553
Cylinder wall temperature[K]433
Table 4. The simulation parameters.
Table 4. The simulation parameters.
m1 = 9.25 gm2 = 10.25 gm3 = 11.25 gm4 = 12.25 g
Natural gas intake9.25 g10.25 g11.25 g12.25 g
Rated speed [r/min]514514514514
Intake temperature [K]316316316316
Compression ratio13.313.313.313.3
SOI [°ATDC]−15−15−15−15
Table 5. The simulation parameters.
Table 5. The simulation parameters.
T1 = 296 KT2 = 316 KT3 = 336 KT4 = 356 K
Natural gas intake10.25 g10.25 g10.25 g10.25 g
Rated speed [r/min]514514514514
Intake temperature [K]296316336356
Compression ratio13.313.313.313.3
SOI [°ATDC]−15−15−15−15
Table 6. The simulation parameters.
Table 6. The simulation parameters.
ε1 = 11.3ε2 = 13.3ε3 = 15.3ε4 = 17.3
Natural gas intake10.25 g10.25 g10.25 g10.25 g
Rated speed [r/min]514514514514
Intake temperature [K]316316316316
Compression ratio11.313.315.317.3
SOI [°ATDC]−15−15−15−15
Publisher’s Note: MDPI stays neutral with regard to jurisdictional claims in published maps and institutional affiliations.

Share and Cite

MDPI and ACS Style

Zou, F.-k.; Zeng, H.; Wang, H.-y.; Wang, X.-x.; Xu, Z.-x. Implementation and Parameter Analysis of the Knock Phenomenon of a Marine Dual-Fuel Engine Based on a Two-Zone Combustion Model. Processes 2021, 9, 602. https://doi.org/10.3390/pr9040602

AMA Style

Zou F-k, Zeng H, Wang H-y, Wang X-x, Xu Z-x. Implementation and Parameter Analysis of the Knock Phenomenon of a Marine Dual-Fuel Engine Based on a Two-Zone Combustion Model. Processes. 2021; 9(4):602. https://doi.org/10.3390/pr9040602

Chicago/Turabian Style

Zou, Fang-kun, Hong Zeng, Huai-yu Wang, Xin-xin Wang, and Zhao-xin Xu. 2021. "Implementation and Parameter Analysis of the Knock Phenomenon of a Marine Dual-Fuel Engine Based on a Two-Zone Combustion Model" Processes 9, no. 4: 602. https://doi.org/10.3390/pr9040602

APA Style

Zou, F.-k., Zeng, H., Wang, H.-y., Wang, X.-x., & Xu, Z.-x. (2021). Implementation and Parameter Analysis of the Knock Phenomenon of a Marine Dual-Fuel Engine Based on a Two-Zone Combustion Model. Processes, 9(4), 602. https://doi.org/10.3390/pr9040602

Note that from the first issue of 2016, this journal uses article numbers instead of page numbers. See further details here.

Article Metrics

Back to TopTop