Research on Parameter Matching of the Asymmetric Pump Potential Energy Recovery System Based on Multi-Core Parallel Optimization Method
Abstract
:1. Introduction
1.1. Research Status of Boom Energy-Recovery System for Hydraulic Excavator
1.2. Parameter-Matching Method of Boom Energy-Recovery System
- (1)
- When optimizing parameters of current hydraulic products, professional simulation software needs to be installed in advance, and could not run independently in a Windows operating system without a simulation platform.
- (2)
- When optimizing the parameters of the simulation software platform, the optimization is mainly carried out by serial iteration. The professional simulation platform has high demand for memory and CPU, and it is very slow for a computer to carry out two simulation platforms at the same time. Therefore, a parallel simulation based on simulation-platform software demands higher performance equipment, and it is inconvenient to carry.
- (3)
- The human–machine interaction interface is unfriendly. Manual input is required to change the initial parameter value, and manual parameter modification is cumbersome and involves a lot of repetitive work.
- (1)
- In this article, VAPP is used to drive the excavator boom, which can solve the flow mismatch problem of the boom and reduce the complexity of the hydraulic system.
- (2)
- A rapid multi-process parallel optimization method for complex hydraulic products based on a multi-core CPU is proposed to solve the optimization parameter-matching problem.
- (3)
- The above optimization method is applied to the energy-recovery system of excavating booms of different tonnages to obtain the appropriate energy-saving rate of boom system, and the recommended values of VAPP-related design parameters for different displacement are given. The remainder of this paper is organized as follows: In Section 2, the working principles and displacement design of VAPP are described and analyzed. In Section 3, the energy-recovery system parameter matching is presented and analyzed. A parallel parameter-matching method based on a multi-core CPU are studied in Section 4. Finally, the conclusions are presented in Section 5.
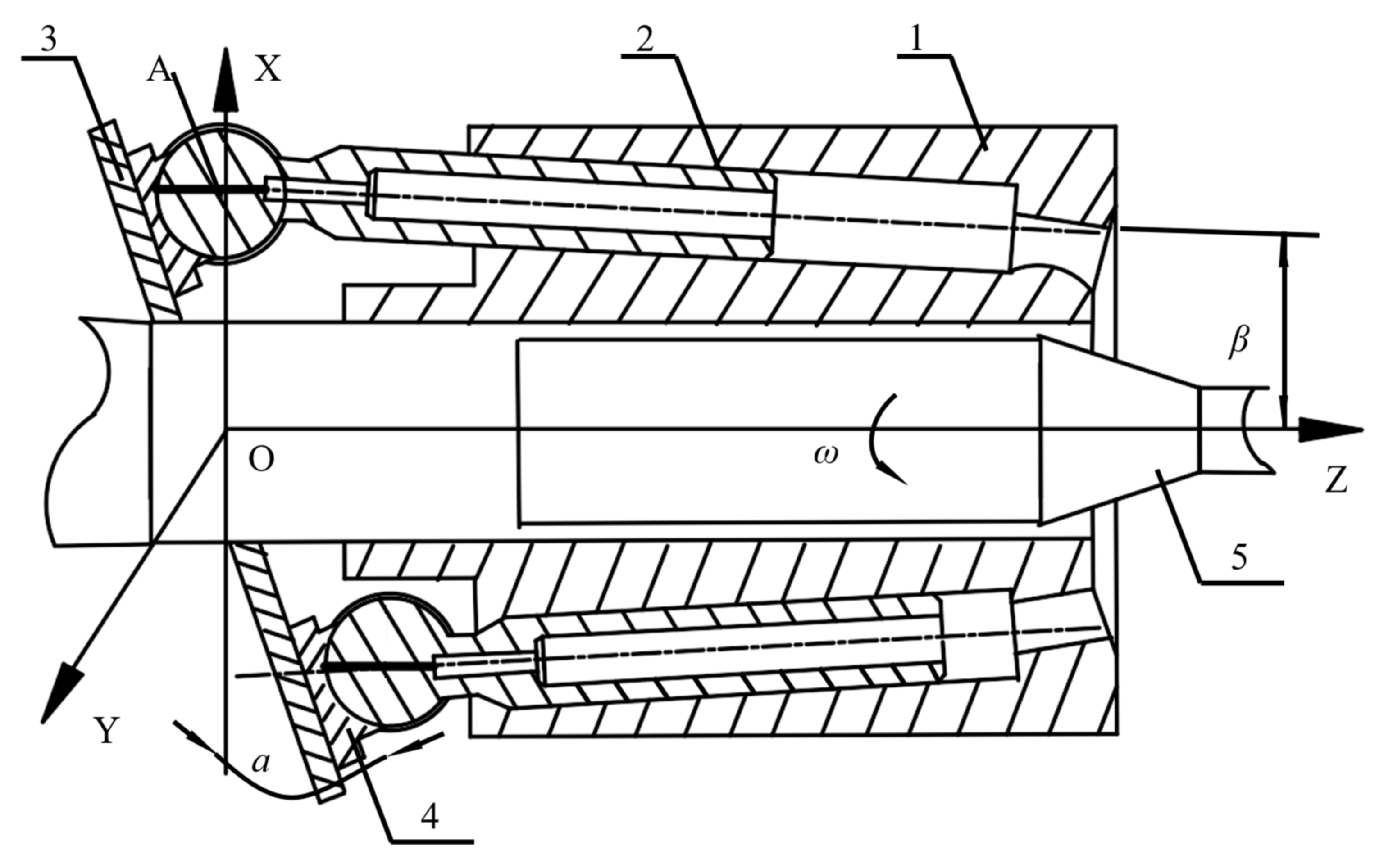
2. Working Principle and Displacement Design of VAPP
3. Match VAPP Energy-Recovery System Parameters
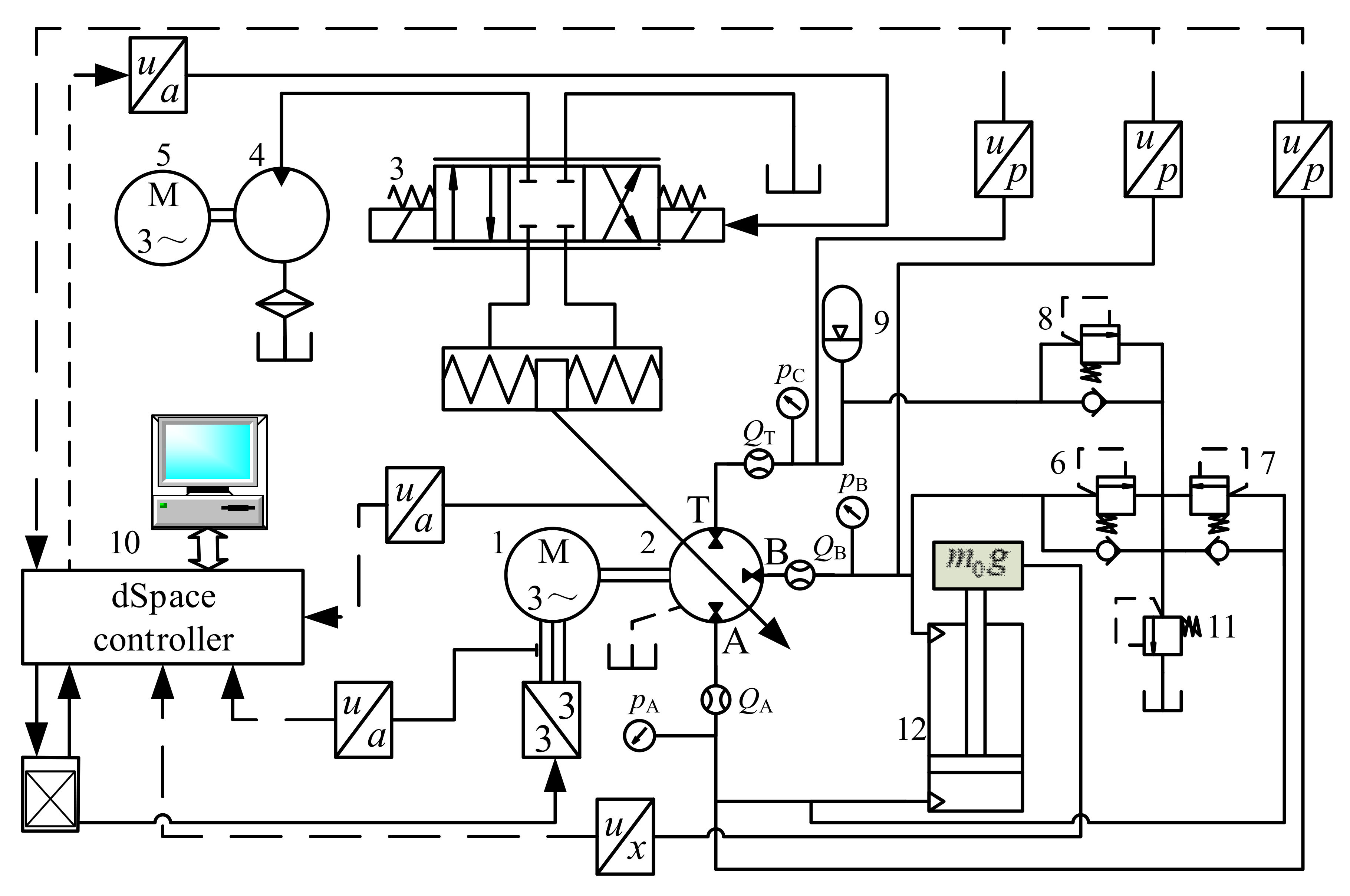
3.1. Experimental Verification of Simulation Model
3.2. VAPP Potential Energy-Recovery System Parameter Matching
4. Parallel Parameter-Matching Method Based on Multi-Core CPU
4.1. Rapid Parallel Optimization Method Framework for VAPP Products Based on Multi-Core CPU
4.2. Processing of PSO Multi-Objective Functions and Constraints in Parallelism Simulation
5. Conclusions
Author Contributions
Funding
Data Availability Statement
Conflicts of Interest
References
- Andrea, B.; Federico, C.; Mirko, P.; Luca, R.; Paolo, C. Energy saving solutions for a hydraulic excavator. Energy Procedia 2017, 126, 1099–1106. [Google Scholar]
- Guan, D.; Yang, N.; Lai, J.; Siu, M.F.; Jing, X.; Lau, C. Kinematic modeling and constraint analysis for robotic excavator operations in piling construction. Autom. Constr. 2021, 126, 103666. [Google Scholar] [CrossRef]
- Jing, J.; Quan, L.; Huang, J.; Zhao, B. Research on the Characteristics of Asymmetric Pump Directed Controlled Arm Cylinder of Excavator. J. Mech. Eng. 2016, 6, 188–196. [Google Scholar] [CrossRef]
- Lodewyks, J. Differentialzylinder Im Geschlossenen Hydrostatischen Getriebe; RWTH Aachen: Aachen, Germany, 1994. [Google Scholar]
- Daniel, B.; Claus, H.; Thomas, L. Hybrid-antriebe bei raupenbaggern—Konzepte und losungen. In Proceedings of the 3th Hybridantriebe fur Mobile Arbeitsmaschinen Fachtagung, Karlsruhe, Germany, 17 February 2011; Volume 2, pp. 117–124. [Google Scholar]
- Chen, M.; Zhao, D. The gravitational potential energy regeneration system with closed-circuit of boom of hydraulic excavator. Mech. Syst. Signal Process. 2017, 82, 178–192. [Google Scholar] [CrossRef]
- Kilic, E.; Dolen, M.; Caliskan, H.; Koku, A.B.; Balkan, T. Pressure prediction on a variable-speed pump controlled hydraulic system using structured recurrent neural networks. Control Eng. Pract. 2014, 26, 51–71. [Google Scholar] [CrossRef]
- Zhang, S.; Minav, T.; Pietola, M. Improving efficiency of micro excavator with decentralized hydraulics. In Proceedings of the ASME/BATH 2017 Symposium on Fluid Power and Motion Control, Sarasota, FL, USA, 16–19 October 2017; pp. 1–8. [Google Scholar]
- Zhang, X.; Quan, L.; Yang, Y.; Wang, C.; Yao, L. Output Characteristics of a Series Three-port Axial Piston Pump. Chin. J. Mech. Eng. 2012, 25, 498–505. [Google Scholar] [CrossRef]
- Hao, Y.; Quan, L.; Cheng, H.; Xia, L.; Ge, L.; Zhao, B. Potential energy directly conversion and utilization methods used for heavy duty lifting machinery. Energy 2018, 155, 242–251. [Google Scholar] [CrossRef]
- Zhang, S.; Jiang, J.; Lian, G. Research on Recoverable Energy Distribution of Hydraulic Excavator. J. Zhengzhou Univ. 2014, 35, 120–123. [Google Scholar]
- Zhang, M.; Wang, Q.; Guan, C. Simulation Research of Parallel Hydraulic Hybrid Excavator. China Mech. Eng. 2010, 16, 1932–1936. [Google Scholar]
- Chen, Q.; Wang, Q.; Wang, T. A novel hybrid control strategy for potential energy regeneration systems of hybrid hydraulic excavators. Proc. Inst. Mech. Eng. Part I J. Syst. Control Eng. 2016, 230, 375–384. [Google Scholar] [CrossRef]
- Qu, W.; Zhou, L.; Zhang, C.; Bo, X. Research Status and Prospect of Hydraulic Energy Storage Technology. Chin. Hydraul. Pneum. 2022, 46, 93–100. [Google Scholar]
- Wang, A.; Lv, Z.; Gao, Y.; Quan, L.; Huang, J. Potential energy recovery scheme with variable displacement asymmetric axial piston pump. Proc. Inst. Mech. Eng. Part I J. Syst. Control Eng. 2020, 234, 875–887. [Google Scholar] [CrossRef]
- Cheng, D.; Gao, Y.; Gong, X.; Li, S. Analysis of energy consumption characteristics of pumping excavator boom based on flow matching. Mach. Tool Hydraul. 2019, 47, 155–159. [Google Scholar]
- Lin, T.; Liu, Q. Method of Parameter Matching for Hydraulic Hybrid System for Excavators. J. Shanghai Jiao Tong Univ. 2013, 5, 728–733. [Google Scholar]
- Xiao, Q. Control Strategy and Parameter Matching of Hybrid System in Hydraulic Excavator; Zhejiang University: Hangzhou, China, 2008. [Google Scholar]
- Wang, H.; Wang, Q. Parameter Matching and Control of Series Hybrid Hydraulic Excavator Based on Electro-Hydraulic Composite Energy Storage. IEEE Access 2020, 8, 111899–111912. [Google Scholar] [CrossRef]
- Shen, W.; Jiang, J.; Su, X.; Karimi, H.R. Parameter matching analysis of hydraulic hybrid excavators based on dynamic programming algorithm. J. Appl. Math. 2013, 2013, 1–10. [Google Scholar] [CrossRef]
- Lin, X.; Guan, C.; Pan, S.; Wang, D. Parameters matching method for parallel hybrid hydraulic excavators. J. Agric. Mach. 2009, 40, 28–32. [Google Scholar]
- Huang, J.; He, W.; Hao, H. Analysis of Control Characteristics of Variable displacement Asymmetric Axial Piston Pump. Trans. Chin. Soc. Agric. Mach. 2019, 3, 368–376. [Google Scholar]
- Yang, J.; Zhao, B.; Wu, B.; Wang, J.; Lan, Y. Control Performance Analysis of Asymmetric Axial Piston Pump with Variable Displacement. Chin. Hydraul. Pneum. 2021, 2, 42–49. [Google Scholar]
- Xia, L.; Quan, L.; Yang, J.; Zhao, B. Research on the Method of Hydraulic-gas Energy Storage Balancing Hydraulic Excavator Boom Weight. J. Mech. Eng. 2018, 54, 197–205. [Google Scholar] [CrossRef]
- Ning, Z.; Wei, L.; Zhang, R.; Quan, L.; Hua, J.; Gao, Y. Rapid Parallel Optimization Method of Complex Hydraulic Product Based on Multi-core CPU. Trans. Chin. Soc. Agric. Mach. 2022, 53, 441–449. [Google Scholar]
- Wu, T.; Wu, D.; Ren, Y.; Song, Y.; Gu, Y.; Mou, J. Multi-objective optimization on diffuser of multistage centrifugal pump base on ANN-GA. Struct. Multidisc. Optim. 2022, 65, 182. [Google Scholar] [CrossRef]
- Zhao, D.; Chen, M.; Dai, Q.; Zhang, E.; Xu, C. Potential Energy Recovery System for Boom of Hydraulic Hybrid Excavator. J. Jilin Univ. 2011, 41 (Suppl. S1), 150–154. [Google Scholar]
























| Model Parameters | Parameter Value | Unit |
|---|---|---|
| Plunger diameter | 17 | mm |
| Number of plungers | 9 | / |
| Rated displacement | 45 | ml/r |
| Piston stroke | 22.2 | mm |
| Distribution-groove distribution-circle diameter | 33.5 | mm |
| The maximum inclination of swashplate | 18.3 | ° |
| Plunger distribution-circle radius | 33.5 | mm |
| Total stroke of hydraulic cylinder | 750 | mm |
| Hydraulic cylinder diameter | 63 | mm |
| Hydraulic cylinder-rod diameter | 45 | mm |
| Adjustable relief valve | YF-L20H | 0–10 MPa |
| S type check valve | S6A | 0.05 MPa |
| E1up/KJ | Edown/KJ | E2up/KJ | Total Lift-Descent-Lift Time/s | Descent Time/s | ||
|---|---|---|---|---|---|---|
| 51.3 | 25.8 | 0.410 | 19.0 | 26.9 | 16.85 | 30.9% |
| 62.4 | 26.0 | 0.801 | 19.1 | 22.5 | 14.14 | 29.8% |
| 74.5 | 26.4 | 1.9 | 18.6 | 19.2 | 12.3 | 28.3% |
| 92.0 | 27.5 | 4.9 | 17.5 | 15.7 | 10.1 | 24.5% |
| Displacement of VAPP | The Inclination of Swashplate during Descent | Accumulator Charging Pressure | Accumulator Volume | Energy Consumption |
|---|---|---|---|---|
| 62.47 mL/r | 7.20° | 2.95 MPa | 10 L | 46.7 KJ |
| SimulationX3.8 | CVODE Executable Program | Multi-Core CPU Parallel Optimization | |
|---|---|---|---|
| Total time | 610 min | 55 min | 10 iterations, 10 executable programs in each round, and a total of 100 runs, which takes 720 min. |
| A single time | 610 min | 55 min | 7.2 min |
| Tonnage | 7T | 12T | 20T | 30T |
|---|---|---|---|---|
| Motor speed (rpm) | 2000 | 2000 | 2000 | 2000 |
| Equivalent mass (kg) | 2500 | 3600 | 11,000 | 25,000 |
| Cylinder of Boom—number × cylinder diameter × rod diameter × stroke (mm) | 1 × 110 × 75 × 840 | 1 × 115 × 80 × 1015 | 2 × 120 × 85 × 1290 | 2 × 140 × 100 × 1465 |
| Rated displacement (mL/r) | 65 | 75 | 115 | 160 |
| Swashplate inclination (°) | 7.2° | 7° | 6° | 6° |
| Accumulator pressure P0 (Mpa) | 2.95 | 3.5 | 4.5 | 6.5 |
| Accumulator volume V0 (L) | 10 | 16 | 32 | 50 |
| Energy-saving rate | 29.8% | 35.3% | 31.25% | 27.88% |
| Tonnage | 7T | 12T | 20T | 30T |
|---|---|---|---|---|
| Rated displacement (mL/r) | 65 | 75 | 115 | 165 |
| Swashplate inclination range (°) | +18~−18 | |||
| Number of plungers z | 9 | |||
| Plunger diameter d (mm) | 20 | 21 | 24 | 27 |
| Plunger distribution-circle radius R (mm) | 35.5 | 37.0 | 43.5 | 49.5 |
| Piston stroke (mm) | 23.1 | 24.1 | 28.3 | 32.2 |
| Distribution-groove distribution-circle radius R (mm) | 35.5 | 37.0 | 43.5 | 49.5 |
| The angle of opening of B (°) | 60 | |||
| The angle of opening of A (°) | 100 | |||
| The angle of opening of T (°) | 40 | |||
Publisher’s Note: MDPI stays neutral with regard to jurisdictional claims in published maps and institutional affiliations. |
© 2022 by the authors. Licensee MDPI, Basel, Switzerland. This article is an open access article distributed under the terms and conditions of the Creative Commons Attribution (CC BY) license (https://creativecommons.org/licenses/by/4.0/).
Share and Cite
Wei, L.; Ning, Z.; Quan, L.; Wang, A.; Gao, Y. Research on Parameter Matching of the Asymmetric Pump Potential Energy Recovery System Based on Multi-Core Parallel Optimization Method. Processes 2022, 10, 2298. https://doi.org/10.3390/pr10112298
Wei L, Ning Z, Quan L, Wang A, Gao Y. Research on Parameter Matching of the Asymmetric Pump Potential Energy Recovery System Based on Multi-Core Parallel Optimization Method. Processes. 2022; 10(11):2298. https://doi.org/10.3390/pr10112298
Chicago/Turabian StyleWei, Lixin, Zhiqiang Ning, Long Quan, Aihong Wang, and Youshan Gao. 2022. "Research on Parameter Matching of the Asymmetric Pump Potential Energy Recovery System Based on Multi-Core Parallel Optimization Method" Processes 10, no. 11: 2298. https://doi.org/10.3390/pr10112298
APA StyleWei, L., Ning, Z., Quan, L., Wang, A., & Gao, Y. (2022). Research on Parameter Matching of the Asymmetric Pump Potential Energy Recovery System Based on Multi-Core Parallel Optimization Method. Processes, 10(11), 2298. https://doi.org/10.3390/pr10112298
