Next Article in Journal
Hybrid Nanofluid Flow and Heat Transfer Past an Inclined Surface
Next Article in Special Issue
Optimising Energy Management in Hybrid Microgrids
Previous Article in Journal
Weighted Hybrid Feature Reduction Embedded with Ensemble Learning for Speech Data of Parkinson’s Disease
Previous Article in Special Issue
Differential Evolution Based Algorithm for Optimal Current Ripple Cancelation in an Unequal Interleaved Power Converter
 
 
Font Type:
Arial Georgia Verdana
Font Size:
Aa Aa Aa
Line Spacing:
Column Width:
Background:
Review

Islanding Detection Methods for Microgrids: A Comprehensive Review

by
Muhammed Y. Worku
1,*,
Mohamed A. Hassan
1,
Luqman S. Maraaba
2 and
Mohammad A. Abido
1,3,4
1
Interdisciplinary Research Center for Renewable Energy and Power Systems (IRC-REPS), Research Institute, King Fahd University of Petroleum and Minerals, Dhahran 31261, Saudi Arabia
2
Applied Research Center for Metrology, Standards and Testing, Research Institute, King Fahd University of Petroleum and Minerals, Dhahran 31261, Saudi Arabia
3
Electrical Engineering Department, King Fahd University of Petroleum and Minerals, Dhahran 31261, Saudi Arabia
4
K.A.CARE Energy Research & Innovation Center, King Fahd University of Petroleum & Minerals (KFUPM), Dhahran 31261, Saudi Arabia
*
Author to whom correspondence should be addressed.
Mathematics 2021, 9(24), 3174; https://doi.org/10.3390/math9243174
Submission received: 3 November 2021 / Revised: 3 December 2021 / Accepted: 3 December 2021 / Published: 9 December 2021

Abstract

:
Microgrids that are integrated with distributed energy resources (DERs) provide many benefits, including high power quality, energy efficiency and low carbon emissions, to the power grid. Microgrids are operated either in grid-connected or island modes running on different strategies. However, one of the major technical issues in a microgrid is unintentional islanding, where failure to trip the microgrid may lead to serious consequences in terms of protection, security, voltage and frequency stability, and safety. Therefore, fast and efficient islanding detection is necessary for reliable microgrid operations. This paper provides an overview of microgrid islanding detection methods, which are classified as local and remote. Various detection methods in each class are studied, and the advantages and disadvantages of each method are discussed based on performance evaluation indices such as non-detection zone (NDZ), detection time, error detection ratio, power quality and effectiveness in multiple inverter cases. Recent modifications on islanding methods using signal processing techniques and intelligent classifiers are also discussed. Modified passive methods with signal processing and intelligent classifiers are addressing the drawbacks of passive methods and are getting more attention in the recently published works. This comprehensive review of islanding methods will provide power utilities and researchers a reference and guideline to select the best islanding detection method based on their effectiveness and economic feasibility.

1. Introduction

Distributed generation (DG) integrated with energy storage, and both renewable and non-renewable energy resources providing power to local loads, forms a microgrid [1,2]. Microgrids increase the reliability and resiliency of the grid by regulating the voltage in medium and low distribution networks. They also offer several advantages and benefits, including a reduction in CO2 emission, improving energy efficiency, the integration of renewable sources, energy access to remote and developing communities, and a reduction in power transmission losses [3,4,5,6,7].
A microgrid has two modes of operation, namely, grid-connected and island (stand-alone) modes [8,9]. In grid-connected mode, the microgrid operates in parallel with the main utility, and the main grid is responsible for smooth operation by controlling the voltage and frequency. In this mode, the DG units forming the microgrid are controlled and operated in the current control mode, called grid following. In the island mode, the microgrid is operated as an independent power island, controlling its own voltage and frequency. The DG units in this mode are controlled and operated in voltage control mode, commonly called grid forming [10,11].
Microgrid islanding occurs when the main grid power is interrupted but, at the same time, the microgrid keeps on injecting power to the network, which can be intentional or unintentional [12,13]. Intentional islanding is a controllable operation mode required for the maintenance of the main utility, whereas unintentional islanding is an uncontrollable operation caused by regular faults such as line tripping, equipment failure, or other uncertainties in the power system [14,15,16] and may degrade the power quality, overload the system, damage equipment and cause safety hazards [17,18,19,20]. Therefore, detecting the islanding condition and effectively disconnecting the microgrid within a specified time interval from the distribution network is a necessity. Moreover, in the islanding condition, the conventional protection devices might not operate, as the DG units cannot provide the sufficient fault current for its operation [21]. The authors in [22,23] investigated the design and control requirements to safely island a microgrid operating either in grid-connected or island modes.
The IEEE and IEC revise and modify the DG interconnection and islanding codes frequently to accommodate the fast growing renewable integration [24]. The consequences of unintentional islanding can be avoided by safely following the provided standards from the IEEE and IEC. The increase in DG integration makes the need to detect unintentional islanding a hot research topic. Researchers have developed different islanding detection methods (IDMs) to address the challenges associated with unintentional islanding. Many IDMs proposed in the literature claim a high reliability and better accuracy compared to each other.
This paper presents a detailed review of the different IDMs proposed in the literature. The IDMs are studied considering their effectiveness, performances, feasibility and operational capabilities. Their advantages and disadvantages are also critically analyzed. The rest of the paper is organized as follows. Section 2 and Section 3 describe the islanding detection standards and the performance evaluation criteria of IDMs, respectively. Section 4 presents the detailed classification of IDMs. Section 5 presents discussion and recommendation, whereas Section 6 concludes the paper.

2. Islanding Detection Standards

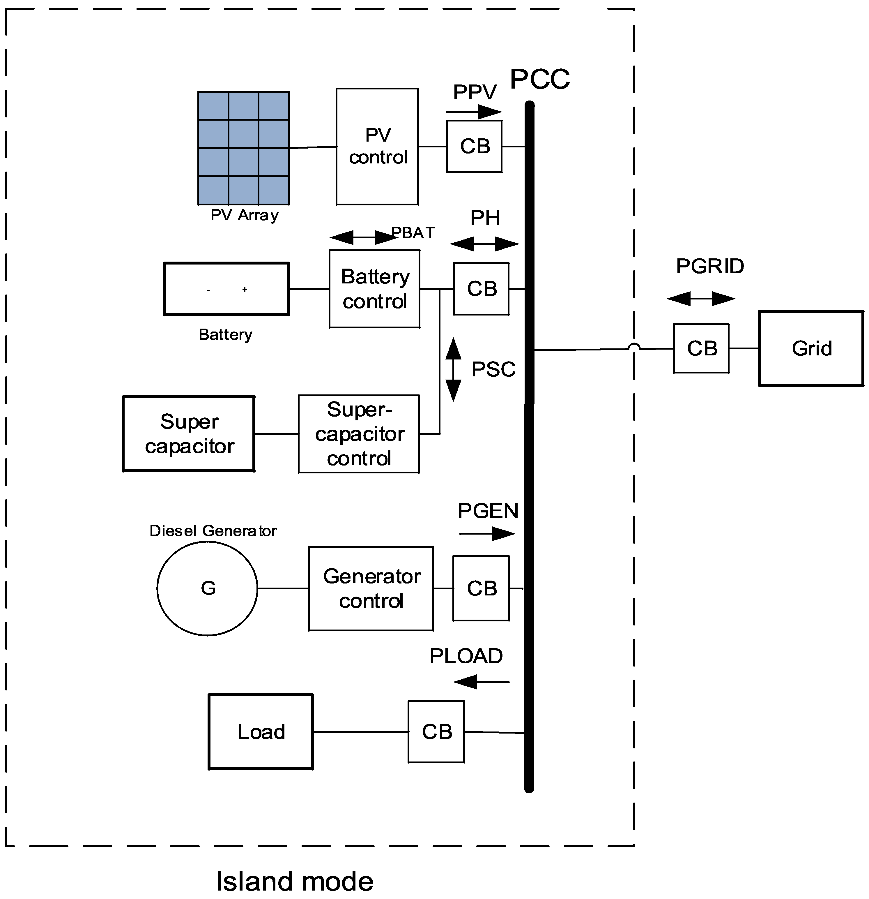
Figure 1 [8] shows a distribution network connected with distributed energy resources (DERs) and energy storages. The islanding phenomena shown by the dotted lines occurs when the power supply from the grid is interrupted. Unintentional islanding degrades the power quality, complicates orderly power restoration and endangers the lives of utility personnel.
From Figure 1:
PPV represents PV array generated power;
PBAT is the charging and discharging power of the battery storage system;
PGEN is the power generated from the diesel generator;
PLOAD is the power drawn by the load;
PGRID is the power exchanged between the main grid and the microgrid;
PCC is the point of common coupling;
CB is the circuit breaker.
The IEEE and IEC offer standards on how the DG units are operated and controlled with the main grid. IEEE Std. 1547 [25] defines islanding as a condition in which part of the power system becomes isolated from the rest of the network. Islanding detection is one of the major issues when deciding if a DG unit is being synchronized with a grid. Islanded operation requires fast, precise, and cost-effective IDMs, which does not affect the quality of supply. Thus, detecting the islanding condition accurately and timely are the two most important factors to save a distribution network from collapsing. Operating DERs in island mode are not allowed under existing standards such as IEC 62,116, IEEE 1547, IEEE 929-2000 and AS4777.3-2005 [26]. In fact, the islanding condition should be detected and the microgrid disconnected from the main grid within 2 s, as described in IEEE 1547 [27]. The standards describe in detail the operation of the DG, such as disconnecting the DG unit within 2 s, monitoring the magnitude and direction of power flow, appropriate control of voltage, frequency and power quality.
Table 1 shows some common standards for islanding detection, voltage and frequency ranges, along with the required detection time.

3. Performance Evaluation Criteria of IDMs

Power systems with a high penetration of inverter-based resources, such as wind, solar and energy storage, in the distribution network have a reduced inertia, making them prone to an increased risk of frequency instability [31,32,33]. For a small disturbance at the point of common coupling (PCC), conventional methods fail to detect the islanding condition.
IEEE 1547 will be used to assess the performance of IDMs in this paper. The performances of different IDMs are evaluated on whether they can detect islanding timely, effectively and accurately. Non-detection zone (NDZ), detection time (DT), error detection ratio (EDR) and power quality (PQ) are the most popular performance indices used to evaluate IDMs. These indices are described in detail.

3.1. Non-Detection Zone (NDZ)

The NDZ represents a region of power imbalance between the power generated by the DG units and that dissipated by local loads where the islanding detection method fails [34]. The non-detection zone is the main performance indicator for the implemented IDM and is the main reason IDMs fail to detect islanding. The term “power mismatch space” is used to describe IDMs that are based on monitoring voltage, frequency or phase deviation, whereas IDMs that inject a disturbance are expressed in the “load parameter space”. Figure 2 presents an NDZ based on a passive islanding detection method.

3.1.1. Power Mismatch Space

For a microgrid operating in island mode, the power imbalance between the power generated from the DG units and that dissipated by the local loads affects the voltage and frequency at the PCC. If the imbalance is nearly equal to zero (ΔP and ΔQ close to zero), the variation of voltage and frequency will not be enough to detect islanding when the microgrid disconnected from the grid [36]. The NDZ in the power mismatch space is defined as the power imbalance ΔP and ΔQ, which cannot cause voltage or frequency to exceed the normal limit to detect islanding and is given as [37]:
( V V max ) 2 1 Δ P P ( V V min ) 2 1
Q ( 1 ( f f min ) 2 ) Δ Q P Q ( 1 ( f f min ) 2 )
where, V and P are the rated voltage and the rated active power, respectively;
Vmin and Vmax are the minimum and maximum microgrid voltages, respectively;
Q is the quality factor;
fmin and fmax are the minimum and maximum frequencies, respectively.

3.1.2. Load Parameter Space

Equation (3) defines the NDZ in parameter space as:
F 1 ( c f , K , Q ) < Δ C n o r m < F 2 ( c f , K , Q )
where cf is the chopping fraction, K is the accelerating gain, and ΔCnorm is the resonate capacitance in the range of NDZ.

3.2. Detection Time (DT)

The detection time is defined as the time taken from the beginning of microgrid disconnection till the end of the IDM detecting islanding.
Δ T = T I D M T t r i p
where ΔT is the run-on time, TIDM is the moment to detect islanding, and Ttrip is the moment microgrid disconnects from the grid.

3.3. Error Detection Ratio (EDR)

Due to load switching, or other disturbances that affect measurement parameters to exceed normal limits, IDMs might detect false islanding, called error detection [38]. This is defined as:
E = N e r r o r N e r r o r + N c o r r e c t
where E is the error detection ratio, Nerror is the times of error detection, and Ncorrect is the times of correct detection.

3.4. Power Quality (PQ)

Maintaining the power quality of the microgrid is an important index while selecting IDMs. IDMs that inject a disturbance to the system distort the power output and deteriorate the power quality.

4. Classification of Islanding Detection Methods

Islanding detection techniques are mainly classified into local and remote [39,40,41]. Local islanding techniques are further classified as passive, active and hybrid techniques, based on non-detection zone (NDZ), detection speed, power quality, error detection rate and efficacy in multiple inverter cases. Passive islanding techniques are widely used by utilities because of their low cost and that they do not degrade the power quality. However, these methods have a large NDZ, and setting the threshold setting is a challenge. To overcome the limitations of the passive technique, different signal processing and intelligent classifiers have been used in the literature. Figure 3 [12,42] presents the detail classification of IDMs, and these techniques are discussed in detail in the following sections.

4.1. Local Islanding Detection Techniques

Local islanding detection techniques measure the system parameters at the DG site for islanding detection. The measured parameters include voltage, frequency, active power, reactive power phase angle, impedance and harmonic distortion. Local islanding detection techniques are classified as passive, active and hybrid techniques and are described as follows.

4.1.1. Passive Islanding Detection Techniques

This method measures the system parameters and compares them with a predetermined threshold value for islanding detection. The measured system parameters at the DG terminal or PCC include voltage, frequency, phase angle and harmonics. The passive islanding detection techniques working principle is depicted in Figure 4. Passive islanding detection techniques are mostly used by power utilities as they are simple, low cost, do not degrade the power quality and have a fast detection speed within 2 s, as recommended by IEEE 1547. However, these methods have a large NDZ, the error detection rate is high and setting the threshold requires special consideration. Some of the popular passive IDMs are described below.

Harmonic Detection (HD)

The HD method is based on comparing the total harmonic distortion (THD) measured at the PCC and a predefined THD to detect islanding. When the microgrid is operated in grid-connected mode, the PCC voltage is a normal sine wave, and the harmonics generated by the load and the inverter are negligible. However, during islanding mode of operation, the harmonics produced by the inverter will distort the PCC voltage and, hence, islanding will be detected [42,43,44,45].
This method is easy to implement and is also effective for multiple DGs connected to the same PCC with a detection time of 45 ms. However, selecting the threshold is difficult since grid disturbance can cause error detection, and it might fail to detect islanding for loads with a large quality factor Q and a large NDZ. Q is defined in Equation (6) as [45,46]:
Q = R C L

Over/under Voltage and over/under Frequency (OUV/OUF)

This method works by comparing the PCC voltage and frequency with a predefined threshold voltage and frequency to detect islanding. The microgrid will be disconnected from the main grid if the measured voltage and frequency at the PCC exceed the thresholds. The microgrid disconnection from the grid deviates the frequency and voltage at the PCC due to an active and reactive power mismatch between the power generated in the DG units and dissipated in the loads.
Δ P = P l o a d P D G
Δ Q = Q l o a d Q D G
In grid-connected operation, the main grid injects ΔP and ΔQ, and the balance of active and reactive power will be kept. When islanding occurs, to keep the active and reactive power balance, the voltage and frequency will drift until ΔP = 0 and ΔQ = 0. By detecting the deviation in voltage and frequency, OUV/OUF can detect islanding [47,48,49]. The advantage of this method is that it does not affect the power quality and the cost is low. The disadvantages are that it is difficult to predict the detection time and it has a relatively large NDZ, with a detection time between 4 ms to 2 s [50]. This method is suitable for microgrids with some power imbalance between DG and loads.

Rate of Change of Frequency (ROCOF)

When the microgrid is disconnected from the main grid with a power mismatch, the frequency will change. The ROCOF method works by measuring df/dt for a few cycles and comparing it with a setting threshold. Islanding will be detected if the measured df/dt exceeds the predefined threshold [51,52,53,54]. Compared to OUV/OUF, this method has a fast detection time of 24 ms, is more sensitive and highly reliable. However, it has a high error detection rate for systems with high load switching and fluctuation. Hence, ROCOF is best suited for loads with less fluctuation as it cannot discriminate whether the frequency change comes from load changes or by islanding [55]. An extension of ROCOF that considers the dynamic behavior of the load is proposed in [56,57]. The authors incorporated the exponential static load model to incorporate the dynamic behavior of the load and determine the threshold to detect islanding.

Rate of Change of Frequency over Power (ROCOFOP)

This method works by measuring ∂f/∂PL, where PL is the load power, to detect whether or not islanding occurs. It has a lower error detection ratio, smaller NDZ and higher reliability than ROCOF. This method has a detection time of 100 ms and works efficiently for microgrids that have a small power imbalance between the DG units and the load [58,59].

Rate of Change of Power Output (ROCOP)

This method measures the changes in the DG power output (dP/dt) over a few cycles and compares it with a setting threshold to detect islanding. Generally, a loss of the main grid produces load changes, and dP/dt measured after the microgrid is islanded is greater than dP/dt measured before the microgrid is islanded. This method has a fast detection, with a detection time of between 24 and 26 ms, and the power imbalance between the DG units and the load does not affect the detection speed.

Phase Jump Detection (PJD)

The working principle of PJD is to monitor the phase jump between the inverter’s terminal voltage and the current for islanding detection. During grid-connected mode, the inverter’s current will be synchronized with the voltage at the PCC using a phase-locked loop (PLL) to detect the zero crossing of the voltage. In islanding operation, since PLL works only at the zero crossing of the voltage, the inverter output current remains unchanged. However, the voltage will have a sudden jump due to the load phase angle. Comparing the measured phase difference with a predefined threshold can detect islanding. The advantages of this method are that it has a fast detection speed with a detection time of between 10 to 20 ms, does not affect the power quality, works for multiple inverters and is easy to implement [60,61]. However, it is difficult to choose thresholds for microgrids with frequent load switching.

Voltage Unbalance (VU)

A microgrid disconnected from the main grid changes the topology of the network that, in turn, causes a voltage unbalance at the DG output. This voltage unbalance can be used for islanding detection if it exceeds the setting threshold. The voltage unbalance at the time t is defined as:
V U t = N S t V S t
where NSt and PSt are the negative and positive sequence voltage amplitudes, respectively.
The authors in [62] proposed a variational mode decomposition method to obtain the principal modes from the measured three phase voltage signal and employed the mode singular entropy to determine the index for islanding detection. This method is not sensitive to system disturbances caused by variation in normal loads and has a detection time of about 53 ms [63]. However, the system harmonics affects the extraction of the negative sequence voltage component, making the threshold calculation difficult. This method has better applications for systems with frequent load fluctuations, such as motor starting and capacitor bank switching.
Table 2 compares the different passive islanding detection techniques described, with respect to their performance evaluation, such as NDZ, DT, EDR and power quality.

4.1.2. Active Islanding Detection Techniques

The performance of active detection methods is based on the perturbation and observation concept. These methods perturb system parameters such as frequency, voltage, currents and harmonics. In the presence of a stiff grid, the amplitude of the variation at the PCC is negligible since the grid parameters are dominant. However, during the islanding phenomenon, injecting a disturbance at the PCC results in a significant variation in the DG parameters. Figure 5 shows the basic working principle of active islanding detection techniques.
Compared to passive islanding techniques, active techniques have a reduced NDZ and low error detection rate. However, active techniques deteriorate the power quality, and additional power electronic circuits are required to inject the perturbations. To observe the effect of perturbation, additional detection time is required, which can affect the stability of the system. Moreover, most of the active detection methods are developed for inverter-based DG units and are not applicable for synchronous generators. Some of the popular active IDMs are described below.

Active Frequency Drift (AFD)

An AFD works by slightly distorting the inverter current waveform injected into the PCC. In grid-connected mode, the voltage and frequency are controlled by the grid and are stable. When islanding occurs, the voltage zero crossing occurs earlier than expected because of the distortion of the injected current waveform. This results in a phase error between the inverter’s output current and the voltage, which makes the frequency of the inverter output current drift to eliminate the phase error. This drift in frequency again causes an earlier zero crossing than expected. The frequency of the inverter output current will continue to drift until the voltage frequency measured at the PCC exceeds the threshold of OUF to detect islanding.
An islanding detection method based on a low-frequency current injection disturbance, injected in the conventional dq controller of the distribution generator, is proposed in [64]. The frequency deviation is processed using the estimation of a signal parameter via the rotational invariance technique to extract the dominant mode of the oscillations present in the PCC frequency signal to detect islanding. The method has a detection time of 0.12 sec, eliminates NDZ and does not affect the power quality.
The chopping fraction given in Equation (10) describes the distortion of the inverter’s injected current [65,66].
c f = 2 t z T v u t i l
where tz is the dead time and TVutil is the voltage period.
The advantages of AFD are that it has a small NDZ and is easy to implement, with a detection time within 2 s. The disadvantages are that it degrades the power quality if the injected current is heavily distorted, and the method might also fail to detect islanding for multiple inverter cases.

Frequency Jump (FJ)

Frequency jump is a modified version of AFD, as it also inserts dead zones into the current waveform. However, unlike AFD, where dead zones are inserted into every cycle, in FJ, it is inserted in every three cycles. In grid-connected mode, the waveform of the voltage at the PCC is not distorted, despite the inverter’s distorted current. During islanding, there will be a variation in voltage frequency that will be used to detect islanding [67]. Similar to AFD, this method might fail to detect islanding for multiple inverters working in parallel.

Active Frequency Drift with Positive Feedback (AFDPF)

This method is an extension of AFD and works by applying a positive feedback to increase the chopping fraction, which in turn accelerates the frequency deviation to detect islanding more effectively.
c f k = c f k 1 + F ( Δ ω k )
where cfk and cfk−1 are the kth and k − 1th cycle chopping fractions, respectively, and can be positive or negative;
F is usually a linear function;
ωk is the frequency of the kth cycle;
Δωk = ωk−1 − ω0.
As compared to AFD, this method has a small NDZ however, it still affects the power quality [68].

Sandia Frequency Shift (SFS)

SFS is also an extension of AFD and works by applying a perturbation to the frequency of the inverter’s voltage with a positive feedback. The modified chopping fraction used in SFS is given in [69] as:
c f = c f 0 + K ( f p c c f g r i d )
where cf0 is the no deviation in frequency chopping factor;
K is the accelerating gain;
fpcc is the frequency of the PCC voltage;
fgrid is the grid frequency.
In grid-connected mode, the voltage frequency of the PCC is maintained by the grid, even if the method attempts to change it. However, during islanding the chopping fraction increases with the increase of f at the PCC, which also increases the frequency of the inverter. The process continues until islanding is detected. This method has a detection time of 0.5 s and has the smallest NDZ compared to other active methods [70,71].

Sandia Voltage Shift (SVS)

The working principle of SVS and SFS is similar, in that it perturbs the voltage amplitude of the PCC with a positive feedback to change the inverter’s output current and power. In grid-connected mode, the power change does not affect the voltage amplitude of the PCC, whereas in island mode, the power change affects the voltage amplitude, which can be used to detect islanding [72]. SVS is easy to implement; however, its disadvantage are that it lightly degrades the power quality, and the inverter’s operation efficiency might be reduced because of the change in the output power.

Sliding Mode Frequency Shift (SMS)

SMS perturbs the voltage phase of the PCC with a positive feedback and monitors the frequency deviation to detect islanding. In SMS, the current–voltage phase angle of the inverter is set as [73]:
θ = θ m sin ( π 2 f k 1 f n f m f n )
where θm is the maximum phase angle at the frequency fm, fn is the rated frequency, and fk−1 is the previous cycle frequency.
In grid-connected mode, the microgrid injects active power to the main grid, and its power factor is close to unity, with the phase angle between the inverter current and the PCC voltage close to zero. During islanding operation, the phase angle of the load and the frequency will vary, and if the frequency variation exceeds the threshold, islanding can be detected. The advantages of the SMS method are that it is easy to implement, is highly effective for multiple inverter systems and has a smaller NDZ with a detection time of about 0.4 s [74]. However, this method reduces the power quality and has an impact on the transient stability of the system.

Variation of Active and Reactive Power

This works by varying the injected inverter power and monitors the voltage amplitude and frequency variation for islanding detection. During islanding, the active power generated in the DG units will be dissipated in the loads, and the voltage variation must satisfy Equation (14) to balance the active power between DG and the loads.
P D G = P l o a d = V 2 R
When the voltage variation exceeds the threshold of OUV, islanding can be detected. Similarly, the frequency will be affected by the reactive power disturbance, and islanding can be detected when the frequency variation exceeds the threshold. This method is easy to implement and has a small NDZ with a detection time between 0.3 s and 0.75 s. However, the method greatly affects the power quality and transient stability since it varies the inverter output power continuously. The method also might not work effectively for multiple inverters working in parallel.

Negative-Sequence Current Injection

The basic working principle of this method is to perturb the three-phase voltage-sourced converter with a negative-sequence current and monitor the negative-sequence voltage at the PCC for islanding detection. During normal grid-connected operation, the injected negative-sequence current will not affect the PCC voltage and will flow into the grid since the grid has low impedance. However, during islanding operation, the injected negative-sequence current will flow into the load, creating an unbalance in the PCC voltage, and islanding can be detected if the voltage unbalance exceeds the threshold. The advantages of this method are that it has a very short detection time of 60 ms (3.5 cycles), it is insensitive to load change, has no NDZ and has a higher accuracy than positive-sequence voltage detection [75,76].

Impedance Measurement (IM)

This method works by changing the amplitude of the output inverter current. During islanding operation, the current perturbation varies the voltage, and this variation will be calculated as dv/di, an equivalent impedance seen from the inverter. Islanding can be detected if the impedance calculated exceeds the threshold [77]. This method has a detection time of between 0.77 s and 0.95 s and has a small NDZ for a single DG system. However, the detection efficiency will decrease in multiple-inverter cases, and the setting the impedance threshold is difficult since it requires the exact grid impedance.

Detection of Impedance at Specific Frequency

This method works by injecting specific frequency harmonics and is a special case of harmonic detection method. During grid-connected mode, the injected harmonic current will not affect the PCC voltage and will flow into the grid. During islanding operation, the injected harmonic current will flow into the local load and produce a harmonic voltage at the PCC. Islanding can be detected if the produced harmonic voltage is large enough. The disadvantage of this method is that it affects the operation of equipment such as transformers.
Table 3 describes the different active islanding techniques found in the literature.

4.1.3. Hybrid Islanding Detection Techniques

Hybrid islanding detection techniques are developed from the combination of passive and active detection techniques, and are implemented with two steps. The first step utilizes a passive technique, primarily to detect islanding. If islanding is suspected in the first step, an active technique is employed to accurately detect the islanding [78,79,80,81]. Figure 6 depicts the flow chart of the hybrid islanding detection technique.
The performance indices will improve from the combination of these methods; they generally have a small NDZ, and the power quality degradation is low. However, the cost of the system is high, and the method is time consuming, which makes their real implementation infeasible. Authors in [82,83] described the recent literature on hybrid islanding detection techniques. Some of the hybrid detection methods discussed in the literature are described below.

Voltage Unbalance and Frequency Set-Point

This works by combining the voltage unbalance and the positive feedback-based methods. Computing the average voltage unbalance caused by changes in the system and load is the first step of this method. To differentiate whether the voltage unbalance is caused by islanding or system variation, the second step employs a positive feedback-based method to lower the frequency set point gradually, from 60 to 59 Hz in one second, if the measured voltage unbalance is greater than 35% of the average voltage unbalance [84]. If the nominal frequency is maintained at the PCC, then islanding was not the cause of the voltage variation. However, islanding will be detected if the frequency falls below 59.2 Hz in the following 1.5 s. This method has a detection time of 0.15–0.21 s and works best for microgrids with a low penetration of non-synchronous generation units.

Voltage Change and Power Shift

This works by combining the rate of change of voltage and the variation of active power methods. Firstly, to suspect islanding, the average rate of change of voltage is calculated for five cycles. If this calculated voltage exceeds the predefined threshold value, islanding is suspected, and the second method injects extra active power into the system to confirm whether or not islanding has occurred. For normal grid-connected operation, the grid regulates the PCC voltage to be within a predefined interval and compensates the extra injected active power. However, if the microgrid is in islanding operation, the extra active power will increase the voltage amplitude at the PCC. Therefore, islanding can be detected by monitoring the PCC voltage with a detection time of less than 0.5 s. Using reactive power instead of active power for the second step was proposed in [85,86,87]. The injected reactive power causes an increase in the PCC frequency and islanding can be detected if the frequency variation is more than a predefined threshold.

Voltage Fluctuation Injection

This works by combining the rate of change of frequency and voltage methods to detect islanding [88]. The rate of change of voltage and the rate of change of frequency at the PCC are monitored as a first step to detect if one of them exceeds the predefined threshold to indicate islanding might have occurred. Then, the second step employs a voltage perturbation by applying a periodically switching high-impedance load for confirmation. During normal grid-connected operation, the grid stabilizes the PCC voltage perturbation caused by the switching of the high impedance load. However, during the islanding operation, the effect of the periodic perturbation is observed at the PCC voltage to detect islanding. This method does not depend on quality factor and has a detection time of less than 0.216 s, but it might be less efficient for large scale DG units [89,90].

Hybrid Sandia Frequency Shift and Qg−f Method

This technique modifies the Sandia frequency shift method to reduce the NDZ by adding a Qg−f droop curve to maintain the optimal gain Kf at a stable value [91]. The optimal gain Kf is directly proportional to the quality factor of the load; however, when the quality factor is more than five, Kf will be too large to create a false detection and can even cause system instability. The authors in [88] proposed a Qg−f droop curve method to keep Kf to a safe value and monitor the change of frequency for islanding detection. During normal operation, the reactive power is controlled by the grid; however, during islanding operation, since the DG units operate at unity power factor and produce no reactive power, this creates a frequency difference between the actual and the rated system frequency. This method monitors this change in frequency for islanding detection and has a detection time of 1.4 s.

Rate of Change of Reactive Power and Load-Connecting Strategy

This works by combining the change of reactive power and load connection to detect islanding. If the change in reactive power monitored in the first step is more than the predefined threshold, the second step varies the reactive power by connecting an appropriate load to the microgrid [92,93]. During normal grid-connected operation, the grid regulates the reactive power at the PCC, and the rate of change of reactive power is small. However, during islanding operation, any load change affects the generated reactive power from the DG units. The extra connected load affects the rate of change of reactive power and is used to detect islanding. This method can effectively detect islanding, even in the presence of a small load change, and has a detection time of 40 ms. The disadvantage of this method is that selecting the appropriate extra load is not straightforward.
Table 4 presents the different hybrid islanding detection methods.

4.2. Remote Methods

The remote methods utilize advanced signal processing and communication infrastructure for islanding detection. Remote methods do not have a non-detection zone (NDZ), error detection can be eliminated, and they do not affect the power quality; therefore, they are very sound approaches for islanding detection. Whereas remote methods tend to be expensive to implement for small microgrids, they are very beneficial for large microgrid applications. Some of the remote methods described in the literature are discussed below.

4.2.1. Power Line Carrier Communication (PLCC)

In the PLCC method, transmitters and receivers are set at the grid and DG side, respectively. Transmitters produce a communication signal along with the power line, and if this signal is interrupted, it indicates that islanding has occurred [94]. The PLCC method has a signal period of four consecutive cycles, and the method can detect islanding if the signal is lost in three consecutive periods. This method has a detection time of 200 ms, has no NDZ, has no impact on power quality and is proven to work on multiple inverter system [95]. However, the transmitter set at the grid side is costly, and this method is not economically feasible for low density DG systems.

4.2.2. Signal Produced by Disconnect (SPD)

Similar to the PLCC method, this method also uses signal transmission between the grid and the DG units to detect islanding. However, this method utilizes microwave, telephone and other forms of signal transmission, rather than the power line. This method has no NDZ; however, it needs more investment to set up the communication line. The SPS method can be extended to add additional control of the DG by the main grid, such as coordinating the power generated between the DG units and the main grid, which is beneficial to black start.

4.2.3. Supervisory Control and Data Acquisition (SCADA)

The SCADA system is based on monitoring main grid parameters such as voltages, currents and frequency, which can also be used for monitoring the status of the circuit breakers and sending them to the microgrid. With proper installation, the NDZ can be eliminated with better efficiency. However, the detection speed of this method is slow and requires a high investment to install a separate instrumentation link. Similar to SPD, this method allows additional control of DG by the main grid.
Table 5 describes the different remote islanding detection techniques.

4.3. Passive and Signal Processing

The local, remote and hybrid IDMs discussed above have their own advantages and disadvantages. However, accuracy, high detection speed and detecting islanding for multiple inverter system are the most unresolved issues that need more research. Compared to local IDMs, remote-based IDMs are highly reliable and have a negligible NDZ. However, they have a high cost, are complex for implementation and are not preferred [96]. Similarly, passive techniques do not perform well in inverter-based DGs with different system configurations. Passive IDMs are better in terms of them not degrading power quality, their fast detection time and being compatible for all DG types. However, they have a large NDZ, and selecting the threshold is not straightforward in most cases. Modifying passive IDMs using advanced signal processing in time-domain, frequency-domain, and time-frequency-domain can address these two limitations.
These modified passive islanding detection methods improve detection time, reduce NDZ and improve detection performance [97,98,99]. The signal processing tools help extract and analyze the measured signal in order to perform the required operation. However, these methods require a time consuming data training process. The following section describes the signal processing techniques used for islanding detection.

4.3.1. Fourier Transform (FT)-Based Method

This method extracts the features of a signal at specific frequencies using a frequency domain. Short time Fourier transform (STFT), discrete Fourier transform (DFT) and fast Fourier transform (FFT) have evolved from FT to develop efficient and fast IDMs [100,101,102,103,104]. This method has some limitations, such as low-frequency resolution and reduced spectral estimation [105].

4.3.2. Wavelet Transform (WT)-Based Method

To extract the features of a distorted voltage, current or frequency signal, a wavelet transform is the best signal processing method [106]. This method compares the measured signal wavelet coefficients with a predefined threshold value, and islanding will be detected if these values are larger than the predefined values. The disadvantages of this method are that it can only analyze low frequency band, selecting the threshold is not straightforward, and that the different sampling frequencies and the mother wavelet selection have an impact on the wavelet transform. To analyze the high frequency components, the wavelet packet transform (WPT) is applied using the d-q axis of three-phase apparent power [107].

4.3.3. S-Transform (ST)-Based Method

This method is an extension of the WT method and converts a time-domain function into a two-dimensional frequency-domain function. The ST method generates the S-matrix and the equivalent time-frequency contours from the measured PCC voltage or current signals. To detect islanding, the spectral energy content of the time-frequency contours is calculated containing the frequency and magnitude deviations [108]. However, the ST method requires more computational memory, and the processing time is large compared to other similar techniques.

4.3.4. Time-Time Transform (TTT)-Based Method

This method works by transforming a one-dimensional time-domain signal into a two-dimensional time-domain signal by giving a time–time distribution in a particular window. This method distributes the low and high frequency components in different positions. The TTT method performs well for noisy signals, as the method allows a time-local view of the signal through the scaled window [109].

4.3.5. Auto Correlation Function (ACF)-Based Method

This method measures the power or energy signals and extracts information using finite summation limits. The authors in [110] proposed a modified ACF of the modal current envelope to extract the transient features of sample variance that will be used to detect islanding.

4.3.6. Kalman Filter (KF)-Based Methods

This method uses measured voltage or current signals to extract harmonic features using a time–frequency domain. The authors in [111] proposed a voltage harmonics and selected harmonic distortion (SHD) technique, based on KF, for islanding detection. The residual signal and SHD are used as a condition for islanding detection, where the residual signal is used for the islanding detection and the SHD is used for timely detection.

4.4. Intelligent IDMs

Passive islanding techniques combined with artificial intelligence provide the most effective and economical method to detect islanding. They have a high accuracy, high reliability, are less complex and have a higher computational efficiency than other methods. Intelligent IDMs do not require threshold selection. Different intelligent IDMs associated with signal processing, such as artificial neural network (ANN), fuzzy logic (FL), support vector machine (SVM), decision tree (DT) and probabilistic neural network (PNN), are commonly used for islanding detection. The only disadvantage of intelligent IDMs is that they suffer from a large computational burden. Figure 7 [12] shows the basic operation of an intelligent IDM. The method starts offline using a training algorithm to train the system from the PCC measured voltage or current signal. Then, to make the final decision, the online process is activated using an intelligent classifier. Some of the intelligent IDMs are discussed below.

4.4.1. Artificial Neural Network (ANN)-Based Method

The ANN-based approaches extract important features from the measuring data, which are used for identifying variations in power system parameters [112,113]. ANN-based IDMs perform well for multi-inverters and have a high accuracy and efficiency, but the data processing time is large [114]. The authors in [115] reported an islanding detection technique based on an adaptive neuro-fuzzy inference system (ANFIS).

4.4.2. Decision Tree (DT)-Based Method

This method, with a combination of WPT or discrete wavelet transform (DWT), are used for islanding detection in different intelligent IDMs [116]. WPT or DWT are used to extract information from the measured voltage or current signals, and then the DT classifier further processes these features to detect islanding as tested on the CIGRE distribution system [117].

4.4.3. Probabilistic Neural Network (PNN)-Based Method

This method uses artificial neural hardware in traditional pattern recognition schemes. It can compute non-linear decision boundaries based on a Bayesian classification technique and has four layers as the input, pattern, summation and output [118]. These layers do not need learning and can perform their functions. PNN-based IDMs are reliable for islanding detection.

4.4.4. Support Vector Machine (SVM)-Based Method

The PCC-measured voltage or current signals are used to extract signature features to indicate islanding occurrence using the SVM classifier and autoregressive modelling [119,120]. IDMs based on SVM have a fast detection speed and high accuracy, but the data training and the algorithm make it too complex for practical application.

4.4.5. Fuzzy Logic (FL) Based Method

FL using DT transformation shows a promising and efficient result in islanding detection [121]. However, the disadvantages of FL is that, because of maximum and minimum combinations, the fuzzy classifiers are highly abstract and sensitive to noisy data [122].

5. Discussion and Recommendation

The IDMs based on different techniques discussed above have many critical technical issues. These issues have to be fixed to improve their performance and make the IDMs more reliable and efficient. IDMs based on a threshold setting have an NDZ that is hard to eliminate, whereas methods based on a disturbance injection degrade the power quality. On the other hand, signal processing-based techniques have a higher precision and are more robust, versatile, reliable and efficient than the existing IDMs. However, they have a high computational burden. There is always a trade off when selecting the performance indices of the IDMs, and it is important to fully consider the practical operation of the microgrid, with all key performance indices taken into account while selecting the appropriate IDM. Researchers should focus on improving the performance of signal processing and intelligent classifier techniques to come up with the best IDM with a high detection speed, smaller NDZ and lower error detection ratio that does not degrade the power quality.

6. Conclusions

A comprehensive review of various islanding detection methods (IDMs) is presented in this paper. IDMs are broadly classified into two types: remote and local. Remote-type IDMs use communication signals between the microgrid and the main grid and are fast, reliable and effective with zero non-detection zones. These techniques do not degrade the power quality and can be applied to multi-inverter microgrids; however, they are complex and expensive. On the other hand, local methods are classified as passive, active and hybrid. Passive-based IDMs measure microgrid parameters such as voltage, current, frequency and phase angle and monitor their changes to detect islanding. Passive methods are preferred as they are easy and cheap for practical implementation. However, passive techniques have a large non-detection zone. Active-based IDMs inject a perturbation into the system that affects the power quality, whereas hybrid techniques are a combination of passive and active techniques. Active and hybrid techniques need additional devices to introduce the perturbation, which increases the complexity and implementation cost. Compared to the passive, active, and hybrid techniques, IDMs based on signal processing have been gaining more attention recently for islanding detection to detect the islanding condition accurately and precisely within the shortest period without affecting power quality. Moreover, they have the potential of working for multiple inverters and can also overcome the non-detection zone and threshold setting requirements of conventional techniques. Several methods have been studied and a comparison has been provided based on important performance indices including NDZ, detection time, error detection ration and power quality.

Author Contributions

M.Y.W. contributed in identifying and classifying the IDMs, manuscript writing and concluding; M.A.H. contributed in identifying the IDMs, manuscript writing and revising. L.S.M.; contributed in classifying IDMS, manuscript writing and editing; and M.A.A. participated in revising the manuscript, editing and concluding. All authors have read and agreed to the published version of the manuscript.

Funding

The authors acknowledge the support provided by the Interdisciplinary Research Center for Renewable Energy and Power Systems (IRC-REPS), Research Institute, King Fahd University of Petroleum and Minerals, through Project #INRE2111.

Conflicts of Interest

The authors declare no conflict of interest.

References

  1. Parhizi, S.; Lotfi, H.; Khodaei, A.; Bahramirad, S. State of the Art in Research on Microgrids: A Review. IEEE Access 2015, 3, 890–925. [Google Scholar] [CrossRef]
  2. Worku, M.Y.; Hassan, M.A.; Abido, M.A. Power Management, Voltage Control and Grid Synchronization of Microgrids in Real Time. Arab. J. Sci. Eng. 2021, 46, 1411–1429. [Google Scholar] [CrossRef]
  3. Li, J.; Liu, Y.; Wu, L. Optimal Operation for Community-Based Multi-Party Microgrid in Grid-Connected and Islanded Modes. IEEE Trans. Smart Grid 2016, 9, 756–765. [Google Scholar] [CrossRef]
  4. Jia, Y.; Wen, P.; Yan, Y.; Huo, L. Joint Operation and Transaction Mode of Rural Multi Microgrid and Distribution Network. IEEE Access 2021, 9, 14409–14421. [Google Scholar] [CrossRef]
  5. Nasser, N.; Fazeli, M. Buffered-Microgrid Structure for Future Power Networks; a Seamless Microgrid Control. IEEE Trans. Smart Grid 2021, 12, 131–140. [Google Scholar] [CrossRef]
  6. Yan, B.; Luh, P.B.; Warner, G.; Zhang, P. Operation and Design Optimization of Microgrids with Renewables. IEEE Trans. Autom. Sci. Eng. 2017, 14, 573–585. [Google Scholar] [CrossRef]
  7. Hussain, A.; Bui, V.-H.; Kim, H.-M. Resilience-Oriented Optimal Operation of Networked Hybrid Microgrids. IEEE Trans. Smart Grid 2017, 10, 204–215. [Google Scholar] [CrossRef]
  8. Worku, M.Y.; Hassan, M.A.; Abido, M.A. Real Time Energy Management and Control of Renewable Energy based Microgrid in Grid Connected and Island Modes. Energies 2019, 12, 276. [Google Scholar] [CrossRef] [Green Version]
  9. Che, L.; Shahidehpour, M.; AlAbdulwahab, A.; Al-Turki, Y. Hierarchical Coordination of a Community Microgrid with AC and DC Microgrids. IEEE Trans. Smart Grid 2015, 6, 3042–3051. [Google Scholar] [CrossRef]
  10. Han, H.; Hou, X.; Yang, J.; Wu, J.; Su, M.; Guerrero, J. Review of Power Sharing Control Strategies for Islanding Operation of AC Microgrids. IEEE Trans. Smart Grid 2016, 7, 200–215. [Google Scholar] [CrossRef] [Green Version]
  11. Gush, T.; Bukhari, S.B.A.; Haider, R.; Admasie, S.; Oh, Y.-S.; Cho, G.-J.; Kim, C.-H. Fault detection and location in a microgrid using mathematical morphology and recursive least square methods. Int. J. Electr. Power Energy Syst. 2018, 102, 324–331. [Google Scholar] [CrossRef]
  12. Kim, M.-S.; Haider, R.; Cho, G.-J.; Kim, C.-H.; Won, C.-Y.; Chai, J.-S. Comprehensive Review of Islanding Detection Methods for Distributed Generation Systems. Energies 2019, 12, 837. [Google Scholar] [CrossRef] [Green Version]
  13. Sivadas, D.; Vasudevan, K. An Active Islanding Detection Strategy with Zero Non detection Zone for Operation in Single and Multiple Inverter Mode Using GPS Synchronized Pattern. IEEE Trans. Ind. Electron. 2020, 67, 5554–5564. [Google Scholar] [CrossRef]
  14. Chiang, W.J.; Jou, H.L.; Wu, J.C. Active islanding detection method for inverter- based distribution generation power system. Int. J. Electr. Power 2012, 42, 158–166. [Google Scholar] [CrossRef]
  15. Worku, M.Y.; Hassan, M.; Abido, M.A. Real Time-Based under Frequency Control and Energy Management of Microgrids. Electronics 2020, 9, 1487. [Google Scholar] [CrossRef]
  16. Khamis, A.; Xu, Y.; Dong, Z.Y.; Zhang, R. Faster Detection of Microgrid Islanding Events using an Adaptive Ensemble Classifier. IEEE Trans. Smart Grid 2016, 9, 1889–1899. [Google Scholar] [CrossRef]
  17. Ghalavand, F.; Al-Omari, I.; Karegar, H.K.; Karimipour, H. Hybrid Islanding Detection for AC/DC Network Using DC-link Voltage. In Proceedings of the IEEE International Conference on Smart Energy Grid Engineering (SEGE), Oshawa, ON, Canada, 12–15 August 2018. [Google Scholar]
  18. Issa, W.R.; Abusara, M.A.; Sharkh, S.M. Control of Transient Power during Unintentional Islanding of Microgrids. IEEE Trans. Power Electron. 2014, 30, 4573–4584. [Google Scholar] [CrossRef] [Green Version]
  19. Salles, D.; Freitas, W.; Vieira, J.C.M.; Venkatesh, B. A practical method for non-detection zone estimation of passive anti-islanding schemes applied to synchronous distributed generators. IEEE Trans. Power Deliv. 2015, 30, 2066–2076. [Google Scholar] [CrossRef]
  20. Huang, J.; Jiang, C.; Xu, R. A review on distributed energy resources and MicroGrid. Renew. Sustain. Energy Rev. 2008, 12, 2472–2483. [Google Scholar]
  21. Bukhari, S.B.A.; Zaman, M.S.U.; Haider, R.; Oh, Y.-S.; Kim, C.-H. A protection scheme for microgrid with multiple distributed generations using superimposed reactive energy. Int. J. Electr. Power Energy Syst. 2017, 92, 156–166. [Google Scholar] [CrossRef]
  22. Cagnano, A.; De Tuglie, E.; Cicognani, L. Prince—Electrical energy systems lab: A pilot project for smart microgrids. Electr. Power Syst. Res. 2017, 148, 10–17. [Google Scholar] [CrossRef]
  23. Cagnano, A.; De Tuglie, E.; Trovato, M.; Cicognani, L.; Vona, V. A simple circuit model for the islanding transition of microgrids. In Proceedings of the IEEE 2nd International Forum on Research and Technologies for Society and Industry Leveraging a Better Tomorrow (RTSI), Bologna, Italy, 7–9 September 2016. [Google Scholar]
  24. Ghanbari, T.; Farjah, E.; Naseri, F. Power quality improvement of radial feeders using an efficient method. Electr. Power Syst. Res. 2018, 163, 140–153. [Google Scholar] [CrossRef]
  25. IEEE Std 929-2000 (Revision of IEEE Std 929–1988). IEEE Recommended Practice for Utility Interface of Photovoltaic (PV) Systems, USA, IEEE Std 929-2000. Available online: https://standards.ieee.org/standard/929-2000.html (accessed on 25 June 2021).
  26. Zeineldin, H.; Abdel-Galil, T.; El-Saadany, E.; Salama, M. Islanding detection of grid connected distributed generators using TLS-ESPRIT. Electr. Power Syst. Res. 2007, 77, 155–162. [Google Scholar] [CrossRef]
  27. Ku Ahmad, K.N.E.; Selvaraj, J.; Rahim, N.A. A review of the islanding detection methods in grid-connected PV inverters. Renew. Sustain. Energy Rev. 2013, 21, 756–766. [Google Scholar] [CrossRef]
  28. IEEE Standard. 1547–2018—IEEE Standard for Interconnection and Interoperability of Distributed Energy Resources with Associated Electric Power Systems Interfaces (Revision of IEEE Std 1547–2003); IEEE Standards Association: Piscataway, NJ, USA, 2018. [Google Scholar]
  29. Reis, M.V.; Barros, T.A.; Moreira, A.B.; Ruppert, E.; Villalva, M.G. Analysis of the Sandia Frequency Shift (SFS) islanding detection method with a single-phase photovoltaic distributed generation system. In Proceedings of the 2015 IEEE PES Innovative Smart Grid Technologies Latin America (ISGT LATAM), Montevideo, Uruguay, 5–7 October 2015. [Google Scholar]
  30. Rawat, M.S.; Vadhera, S. Evolution of Islanding Detection Methods for Microgrid Systems. In Optimizing and Measuring Smart Grid Operation and Control; IGI Global: Hershey, PA, USA, 2021; pp. 221–257. [Google Scholar] [CrossRef]
  31. Yap, K.Y.; Sarimuthu, C.R.; Lim, J.M.-Y. Virtual Inertia-Based Inverters for Mitigating Frequency Instability in Grid-Connected Renewable Energy System: A Review. Appl. Sci. 2019, 9, 5300. [Google Scholar] [CrossRef] [Green Version]
  32. Shin, H.; Jung, J.; Lee, B. Determining the Capacity Limit of Inverter-Based Distributed Generators in High-Generation Areas Considering Transient and Frequency Stability. IEEE Access 2020, 8, 34071–34079. [Google Scholar] [CrossRef]
  33. Song, Y.; Hill, D.J.; Liu, T. Impact of DG Connection Topology on the Stability of Inverter-Based Microgrids. IEEE Trans. Power Syst. 2019, 34, 3970–3972. [Google Scholar] [CrossRef]
  34. Cui, Q.; El-Arroudi, K.; Joos, G. Islanding Detection of Hybrid Distributed Generation Under Reduced Non-Detection Zone. IEEE Trans. Smart Grid 2017, 9, 5027–5037. [Google Scholar] [CrossRef]
  35. Karimi, M.; Farshad, M.; Hong, Q.; Laaksonen, H.; Kauhaniemi, K. An Islanding Detection Technique for Inverter-Based Distributed Generation in Microgrids. Energies 2020, 14, 130. [Google Scholar] [CrossRef]
  36. Ropp, M.E.; Begovic, M.; Rohatgi Ajeet Kern, G.A.; Bonn, R.H.; Gonzalez, S. Determining the relative effectiveness of islanding detection methods using phase criteria and non-detection zones. IEEE Trans. Energy Convers. 2000, 15, 290–296. [Google Scholar] [CrossRef]
  37. Ye, Z.; Kolwalkar, A.; Zhang, Y.; Du, P.; Walling, R. Evaluation of anti-islanding schemes based on non-detection zone concept. IEEE Trans. Power Electr. 2004, 19, 1171–1176. [Google Scholar] [CrossRef]
  38. Vieira, J.C.; Salles, D.; Freitas, W. Power imbalance application region method for distributed synchronous generator anti-islanding protection design and evaluation. Electr. Power Syst. Res. 2011, 81, 1952–1960. [Google Scholar] [CrossRef]
  39. Hosseinzadeh, M.; Salmasi, F.R.R. Islanding Fault Detection in Microgrids—A Survey. Energies 2020, 13, 3479. [Google Scholar] [CrossRef]
  40. Choudhury, B.K.; Jena, P. Superimposed Impedance Based Passive Islanding Detection Scheme for DC Microgrids. IEEE J. Emerg. Sel. Top. Power Electron. 2021. [Google Scholar] [CrossRef]
  41. Khamis, A.; Shareef, H.; Bizkevelci, E.; Khatib, T. A review of islanding detection techniques for renewable distributed generation systems. Renew. Sustain. Energy Rev. 2013, 28, 483–493. [Google Scholar] [CrossRef]
  42. Velasco, D.; Trujillo, C.; Garcerá, G.; Figueres, E. Review of anti-islanding techniques in distributed generators. Renew. Sustain. Energy Rev. 2010, 14, 1608–1614. [Google Scholar] [CrossRef]
  43. PVPS IEA. Evaluation of Islanding Detection Methods for Photovoltaic Utility-Interactive Power Systems. Report IEA PVPST5-09.2002. Available online: https://iea-pvps.org/wp-content/uploads/2020/01/rep5_09.pdf (accessed on 12 April 2021).
  44. Mango, F.; Liserre, M.; Dell’Aquila, A.; Pigazo, A. Overview of Anti-Islanding Algorithms for PV Systems. Part I: Passive Methods. In Proceedings of the 2006 12th International Power Electronics and Motion Control Conference, Portorož, Slovenia, 30 August–1 September 2006; pp. 1878–1883. [Google Scholar]
  45. Hu, S.-H.; Tsai, H.-T.; Lee, T.-L. Islanding detection method based on second-order harmonic injection for voltage-controlled inverter. In Proceedings of the 2015 IEEE 2nd International Future Energy Electronics Conference (IFEEC), Taipei, Taiwan, 1–4 November 2015; pp. 1–5. [Google Scholar]
  46. Iii, J.W.S.; Bonn, R.H.; Ginn, J.W.; Gonzalez, S.; Kern, G. Development and Testing of an Approach to Anti-Islanding in Utility-Interconnected Photovoltaic Systems; Office of Scientific and Technical Information (OSTI): Albuquerque, NM, USA, 2000.
  47. Kulkarni, N.K.; Khedkar, M. Performance Study of OUV, OUF and THD Passive Islanding Detection Methods for Single and Multiple Inverter based DGs and PCCs. In Proceedings of the 2019 Innovations in Power and Advanced Computing Technologies (i-PACT), Vellore, India, 22–23 March 2019; pp. 1–7. [Google Scholar] [CrossRef]
  48. Yingram, M.; Premrudeepreechacharn, S. Over/Undervoltage and Undervoltage Shift of Hybrid Islanding Detection Method of Distributed Generation. Sci. World J. 2015, 2015, 654942. [Google Scholar] [CrossRef] [Green Version]
  49. Manikonda, S.K.; Gaonkar, D.N. Comprehensive review of IDMs in DG systems. IET Smart Grid 2019, 2, 11–24. [Google Scholar] [CrossRef]
  50. Almas, M.S.; Vanfretti, L. RT-HIL Implementation of the Hybrid Synchrophasor and GOOSE-Based Passive Islanding Schemes. IEEE Trans. Power Deliv. 2016, 31, 1299–1309. [Google Scholar] [CrossRef] [Green Version]
  51. Jones, R.; Sims, T.; Imece, A. Investigation of potential islanding of a self-commutated static power converter in photovoltaic systems. IEEE Trans. Energy Convers. 1990, 5, 624–631. [Google Scholar] [CrossRef]
  52. Mahat, P.; Chen, Z.; Bak-Jensen, B. Review of islanding detection methods for distributed generation. In Proceedings of the 2008 Third International Conference on Electric Utility Deregulation and Restructuring and Power Technologies, Nanjing, China, 6–9 April 2008; pp. 2743–2748. [Google Scholar]
  53. Freitas, W.; Wilsun, X.; Affonso, C.M.; Zhenyu, H. Comparative analysis between ROCOF and vector surge relays for distributed generation applications. IEEE Trans. Power Deliv. 2005, 20, 1315–1324. [Google Scholar] [CrossRef]
  54. Jia, K.; Bi, T.; Liu, B.; Thomas, D.; Goodman, A. Advanced islanding detection utilized in distribution systems with DFIG. Int. J. Electr. Power Energy Syst. 2014, 63, 113–123. [Google Scholar] [CrossRef]
  55. Dysko, A.; Booth, C.; Anaya-Lara, O.; Burt, G.M. Reducing unnecessary disconnection of renewable generation from the power system. IET Renew. Power Gener. 2007, 1, 41–48. [Google Scholar] [CrossRef]
  56. Xie, X.; Huang, C.; Li, D. A new passive islanding detection approach considering the dynamic behavior of load in microgrid. Int. J. Electr. Power Energy Syst. 2020, 117, 105619. [Google Scholar] [CrossRef]
  57. Xie, X.; Xu, W.; Huang, C.; Fan, X. New islanding detection method with adaptively threshold for microgrid. Electr. Power Syst. Res. 2021, 195, 107167. [Google Scholar] [CrossRef]
  58. Abyaz, A.; Panahi, H.; Zamani, R.; Alhelou, H.H.; Siano, P.; Shafie-Khah, M.; Parente, M. An Effective Passive Islanding Detection Algorithm for Distributed Generations. Energies 2019, 12, 3160. [Google Scholar] [CrossRef] [Green Version]
  59. Pai, F.-S.; Huang, S.-J. A detection algorithm for islanding-prevention of dispersed consumer-owned storage and generating units. IEEE Trans. Energy Convers. 2001, 16, 346–351. [Google Scholar] [CrossRef]
  60. Singam, B.; HuiL, Y. Assessing SMS and PJD schemes of anti-islanding with varying quality factor. In Proceedings of the 2006 IEEE International Power and Energy Conference, Putra Jaya, Malaysia, 28–29 November 2006; pp. 196–201. [Google Scholar]
  61. O’Kane, P.; Fox, B. Loss of mains detection for embedded generation by system impedance monitoring. In Proceedings of the Sixth International Conference on Developments in Power System Protection (Conf. Publ. No. 434), Nottingham, UK, 25–27 March 1997; pp. 95–98. [Google Scholar]
  62. Admasie, S.; Bukhari, S.B.A.; Haider, R.; Gush, T.; Kim, C.-H. A passive islanding detection scheme using variational mode decomposition-based mode singular entropy for integrated microgrids. Electr. Power Syst. Res. 2019, 177, 105983. [Google Scholar] [CrossRef]
  63. Jang, S.-I.; Kim, K.-H. An Islanding Detection Method for Distributed Generations Using Voltage Unbalance and Total Harmonic Distortion of Current. IEEE Trans. Power Deliv. 2004, 19, 745–752. [Google Scholar] [CrossRef]
  64. Kumar, A.; Panda, R.; Mohapatra, A.; Singh, S.; Srivastava, S. Mode of oscillation based islanding detection of inverter interfaced DG using ESPRIT. Electr. Power Syst. Res. 2021, 200, 107479. [Google Scholar] [CrossRef]
  65. Mango, F.; Liserre, M.; Dell’Aquila, A. Overview of Anti-Islanding Algorithms for PV Systems. Part II: Active Methods. In Proceedings of the 2006 12th International Power Electronics and Motion Control Conference, Portorož, Slovenia, 30 August–1 September 2006; pp. 1884–1889. [Google Scholar]
  66. Ropp, M.; Begovic, M.; Rohatgi, A. Analysis and performance assessment of the active frequency drift method of islanding prevention. IEEE Trans. Energy Convers. 1999, 14, 810–816. [Google Scholar] [CrossRef]
  67. Li, C.; Cao, C.; Cao, Y.; Kuang, Y.; Zeng, L.; Fang, B. A review of islanding detection methods for microgrid. Renew. Sustain. Energy Rev. 2014, 35, 211–220. [Google Scholar] [CrossRef]
  68. Reis, M.V.; Villalva, M.G.; Barros, T.A.; Moreira, A.B.; Ruppert, E. Active frequency drift with positive feedback anti-islanding method for a single phase two-stage grid-tied photovoltaic system. In Proceedings of the 2015 IEEE 13th Brazilian Power Electronics Conference and 1st Southern Power Electronics Conference (COBEP/SPEC), Fortaleza, Brazil, 29 November–2 December 2015; pp. 1–6. [Google Scholar]
  69. Trujillo, C.L.; Velasco, D.; Figueres, E.; Garcerá, G. Analysis of active islanding detection methods for grid-connected microinverters for renewable energy processing. Appl. Energy 2010, 87, 3591–3605. [Google Scholar] [CrossRef] [Green Version]
  70. Zeineldin, H.H.; Kennedy, S. Sandia Frequency-Shift Parameter Selection to Eliminate Nondetection Zones. IEEE Trans. Power Deliv. 2009, 24, 486–487. [Google Scholar] [CrossRef]
  71. Zeineldin, H.; Conti, S. Sandia frequency shift parameter selection for multi-inverter systems to eliminate non-detection zone. IET Renew. Power Gener. 2011, 5, 175–183. [Google Scholar] [CrossRef]
  72. Hatata, A.Y.; Abd-Raboh, E.l.-H.; Sedhom, B.E. Proposed Sandia frequency shift for anti-islanding detection method based on artificial immune system. Alex. Eng. J. 2018, 57, 235–245. [Google Scholar] [CrossRef]
  73. Liu, F.; Kang, Y.; Zhang, Y.; Duan, S.; Lin, X. Improved SMS islanding detection method forgrid-connected converters. IET Renew. Power Gener. 2010, 4, 36–42. [Google Scholar] [CrossRef]
  74. Lopes, L.A.C.; Huili, S. Performance assessment of active frequency drifting islanding detection methods. IEEE Trans. Energy Convers. 2006, 21, 171–180. [Google Scholar] [CrossRef]
  75. Karimi, H.; Yazdani, A.; Iravani, R. Negative-Sequence Current Injection for Fast Islanding Detection of a Distributed Resource Unit. IEEE Trans. Power Electron. 2008, 23, 298–307. [Google Scholar] [CrossRef]
  76. Tuyen, N.D.; Fujita, G. Negative-sequence current injection of dispersed generation for islanding detection and unbalanced fault ride-through. In Proceedings of the 2011 46th International Universities’ Power Engineering Conference, Soest, Germany, 5–8 September 2011; pp. 1–6. [Google Scholar]
  77. Papadimitriou, C.; Kleftakis, V.; Hatziargyriou, N. A novel islanding detection method for microgrids based on variable impedance insertion. Electr. Power Syst. Res. 2015, 121, 58–66. [Google Scholar] [CrossRef]
  78. Khodaparastan, M.; Vahedi, H.; Khazaeli, F.; Oraee, H. A Novel Hybrid Islanding Detection Method for Inverter-Based DGs Using SFS and ROCOF. IEEE Trans. Power Deliv. 2017, 32, 2162–2170. [Google Scholar] [CrossRef]
  79. Dhar, S.; Dash, P.K. Harmonic Profile Injection-Based Hybrid Active Islanding Detection Technique for PV-VSC-Based Microgrid System. IEEE Trans. Sustain. Energy 2016, 7, 1473–1481. [Google Scholar] [CrossRef]
  80. Azim, R.; Li, F.; Xue, Y.; Starke, M.; Wang, H. An islanding detection methodology combining decision trees and Sandia frequency shift for inverter-based distributed generations. IET Gener. Transm. Distrib. 2017, 11, 4104–4113. [Google Scholar] [CrossRef]
  81. Murugesan, S.; Murali, V.; Daniel, S.A. Hybrid Analyzing Technique for Active Islanding Detection Based on d-Axis Current Injection. IEEE Syst. J. 2018, 12, 3608–3617. [Google Scholar] [CrossRef]
  82. Chang, W.-Y. A hybrid islanding detection method for distributed synchronous generators. In Proceedings of the 2010 International Power Electronics Conference-ECCE ASIA, Sapporo, Japan, 21–24 June 2010; pp. 1326–1330. [Google Scholar]
  83. Laghari, J.; Mokhlis, H.; Bakar, A.; Mohamad, H. Application of computational intelligence techniques for load shedding in power systems: A review. Energy Convers. Manag. 2013, 75, 130–140. [Google Scholar] [CrossRef]
  84. Menon, V.; Nehrir, M.H. A Hybrid Islanding Detection Technique Using Voltage Unbalance and Frequency Set Point. IEEE Trans. Power Syst. 2007, 22, 442–448. [Google Scholar] [CrossRef]
  85. Yin, J.; Chang, L.; Diduch, C. A New Hybrid Anti-Islanding Algorithm in Grid Connected Three-Phase Inverter System. In Proceedings of the 37th IEEE Power Electronics Specialists Conference, Jeju, Korea, 18–22 June 2006. [Google Scholar]
  86. Bakhshi-Jafarabadi, R.; Sadeh, J.; Chavez, J.D.J.; Popov, M. Two-Level Islanding Detection Method for Grid-Connected Photovoltaic System-Based Microgrid With Small Non-Detection Zone. IEEE Trans. Smart Grid 2021, 12, 1063–1072. [Google Scholar] [CrossRef]
  87. Bakhshi-Jafarabadi, R.; Sadeh, J.; Popov, M. Maximum Power Point Tracking Injection Method for Islanding Detection of Grid-Connected Photovoltaic Systems in Microgrid. IEEE Trans. Power Deliv. 2021, 36, 168–179. [Google Scholar] [CrossRef]
  88. Arif, A.; Imran, K.; Cui, Q.; Weng, Y. Islanding Detection for Inverter-Based Distributed Generation Using Unsupervised Anomaly Detection. IEEE Access 2021, 9, 90947–90963. [Google Scholar] [CrossRef]
  89. Mahat, P.; Chen, Z.; Bak-Jensen, B. Review on islanding operation of distribution system with distributed generation. In Proceedings of the IEEE Power and Energy Society General Meeting, Detroit, MI, USA, 24–28 July 2011. [Google Scholar]
  90. Takeshita, K.; Sakamoto, O.; Maruyama, M.; Harimoto, T. Consideration on Voltage Fluctuation caused by Active Method of Islanding Detection of Photovoltaic Generation. In Proceedings of the 2018 7th International Conference on Renewable Energy Research and Applications (ICRERA), Paris, France, 14–17 October 2018; pp. 1–6. [Google Scholar]
  91. Vahedi, H.; Noroozian, R.; Jalilvand, A.; Gharehpetian, G.B. Hybrid SFS and Q-f Islanding Detection Method for inverter-based DG. In Proceedings of the IEEE International Conference on Power and Energy, Kuala Lumpur, Malaysia, 29 November–1 December 2010; pp. 672–676. [Google Scholar]
  92. Laghari, J.; Mokhlis, H.; Bakar, A.; Karimi, M. A new islanding detection technique for multiple mini hydro based on rate of change of reactive power and load connecting strategy. Energy Convers. Manag. 2013, 76, 215–224. [Google Scholar] [CrossRef]
  93. Chen, X.; Li, Y.; Crossley, P. A Novel Hybrid Islanding Detection Method for Grid-Connected Microgrids With Multiple Inverter-Based Distributed Generators Based on Adaptive Reactive Power Disturbance and Passive Criteria. IEEE Trans. Power Electron. 2018, 34, 9342–9356. [Google Scholar] [CrossRef]
  94. Xu, W.; Zhang, G.; Li, C.; Wang, W.; Wang, G.; Kliber, J. A power line signaling based technique for anti-islanding protection of distributed generators—Part I: Scheme and analysis. IEEE Trans. Power Deliv. 2007, 22, 1758–1766. [Google Scholar] [CrossRef]
  95. Wang, W.; Kliber, J.; Zhang, G.; Xu, W.; Howell, B.; Palladino, T. A power line signaling based scheme for anti-islanding protection of distributed generators—Part II: Field test results. IEEE Trans. Power Deliv. 2007, 22, 1767–1772. [Google Scholar] [CrossRef]
  96. Do, H.T.; Zhang, X.; Nguyen, N.V.; Li, S.S.; Chu, T.T.-T. Passive islanding detection method using Wavelet Packet Transform in Grid Connected Photovoltaic Systems. IEEE Trans. Power Electron. 2015, 31, 6955–6967. [Google Scholar] [CrossRef]
  97. Samui, A.; Samantaray, S.R. Wavelet Singular Entropy-Based Islanding Detection in Distributed Generation. IEEE Trans. Power Deliv. 2013, 28, 411–418. [Google Scholar] [CrossRef]
  98. Hartmann, N.B.; Dos Santos, R.C.; Grilo, A.P.; Vieira, J.C.M. Hardware Implementation and Real-Time Evaluation of an ANN-Based Algorithm for Anti-Islanding Protection of Distributed Generators. IEEE Trans. Ind. Electron. 2017, 65, 5051–5059. [Google Scholar] [CrossRef]
  99. Hussain, N.; Nasir, M.; Vasquez, J.C.; Guerrero, J.M. Recent Developments and Challenges on AC Microgrids Fault Detection and Protection Systems—A Review. Energies 2020, 13, 2149. [Google Scholar] [CrossRef]
  100. Raza, S.; Mokhlis, H.; Arof, H.; Laghari, J.; Wang, L. Application of signal processing techniques for islanding detection of distributed generation in distribution network: A review. Energy Convers. Manag. 2015, 96, 613–624. [Google Scholar] [CrossRef] [Green Version]
  101. Abdelsalam, A.A.; Salem, A.A.; Oda, E.S.; Eldesouky, A.A. Islanding Detection of Microgrid Incorporating Inverter Based DGs Using Long Short-Term Memory Network. IEEE Access 2020, 8, 106471–106486. [Google Scholar] [CrossRef]
  102. Rostami, A.; Jalilian, A.; Zabihi, S.; Olamaei, J.; Pouresmaeil, E. Islanding Detection of Distributed Generation Based on Parallel Inductive Impedance Switching. IEEE Syst. J. 2020, 14, 813–823. [Google Scholar] [CrossRef] [Green Version]
  103. Ezzat, A.; Elnaghi, B.E.; Abdelsalam, A.A. Microgrids islanding detection using Fourier transform and machine learning algorithm. Electr. Power Syst. Res. 2021, 196, 107224. [Google Scholar] [CrossRef]
  104. Dutta, S.; Olla, S.; Sadhu, P.K. A secured, reliable and accurate unplanned island detection method in a renewable energy based microgrid. Eng. Sci. Technol. Int. J. 2021, 24, 1102–1115. [Google Scholar] [CrossRef]
  105. Hashemi, F.; Mohammadi, M.; Kargarian, A. Islanding detection method for microgrid based on extracted features from differential transient rate of change of frequency. IET Gener. Transm. Distrib. 2017, 11, 891–904. [Google Scholar] [CrossRef]
  106. Paiva, S.C.; Ribeiro, R.L.D.A.; Alves, D.K.; Costa, F.B.; Rocha, T.D.O.A. A wavelet-based hybrid islanding detection system applied for distributed generators interconnected to AC microgrids. Int. J. Electr. Power Energy Syst. 2020, 121, 106032. [Google Scholar] [CrossRef]
  107. Barros, J.; Diego, R. Application of the Wavelet-Packet Transform to the Estimation of Harmonic Groups in Current and Voltage Waveforms. IEEE Trans. Power Deliv. 2005, 21, 533–535. [Google Scholar] [CrossRef]
  108. Samantaray, S.; Samui, A.; Babu, B.C. Time-frequency transform-based islanding detection in distributed generation. IET Renew. Power Gener. 2011, 5, 431–438. [Google Scholar] [CrossRef]
  109. Mohanty, S.R.; Kishor, N.; Ray, P.K.; Catalão, J.P.S. Comparative Study of Advanced Signal Processing Techniques for Islanding Detection in a Hybrid Distributed Generation System. IEEE Trans. Sustain. Energy 2015, 6, 122–131. [Google Scholar] [CrossRef]
  110. Haider, R.; Kim, C.H.; Ghanbari, T.; Bukhari, S.B.A.; Zaman, M.S.U.; Baloch, S.; Oh, Y.S. Passive islanding detection scheme based on autocorrelation function of modal current envelope for photovoltaic units. IET Gener. Transm. Distrib. 2018, 12, 726–736. [Google Scholar] [CrossRef]
  111. Haider, R.; Kim, C.H.; Ghanbari, T.; Bukhari, S.B.A. Harmonic-signature-based islanding detection in grid-connected distributed generation systems using Kalman filter. IET Renew. Power Gener. 2018, 12, 1813–1822. [Google Scholar] [CrossRef]
  112. Merlin, V.L.; Santos, R.C.; Pavani, A.P.G.; Coury, D.V.; Oleskovicz, M.; Vieira, J.C.M. A methodology for training artificial neural networks for islanding detection of distributed generators. In Proceedings of the 2013 IEEE PES Conference on Innovative Smart Grid Technologies (ISGT Latin America), Sao Paulo, Brazil, 15–17 April 2013; pp. 1–6. [Google Scholar] [CrossRef]
  113. Admasie, S.; Bukhari, S.B.A.; Gush, T.; Haider, R.; Kim, C.H. Intelligent Islanding Detection of Multi-distributed Generation Using Artificial Neural Network Based on Intrinsic Mode Function Feature. J. Mod. Power Syst. Clean Energy 2020, 8, 511–520. [Google Scholar] [CrossRef]
  114. Merlin, V.; Santos, R.; Grilo, A.; Vieira, J.; Coury, D.; Oleskovicz, M. A new artificial neural network based method for islanding detection of distributed generators. Int. J. Electr. Power Energy Syst. 2016, 75, 139–151. [Google Scholar] [CrossRef]
  115. Mlakić, D.; Baghaee, H.R.; Nikolovski, S. A Novel ANFIS-Based Islanding Detection for Inverter-Interfaced Microgrids. IEEE Trans. Smart Grid 2019, 10, 4411–4424. [Google Scholar] [CrossRef]
  116. El-Arroudi, K.; Joos, G.; Kamwa, I.; McGillis, D.T. Intelligent-Based Approach to Islanding Detection in Distributed Generation. IEEE Trans. Power Deliv. 2007, 22, 828–835. [Google Scholar] [CrossRef]
  117. Heidari, M.; Seifossadat, G.; Razaz, M. Application of decision tree and discrete wavelet transform for an optimized intelligent-based islanding detection method in distributed systems with distributed generations. Renew. Sustain. Energy Rev. 2013, 27, 525–532. [Google Scholar] [CrossRef]
  118. Khamis, A.; Shareef, H.; Mohamed, A.; Bizkevelci, E. Islanding detection in a distributed generation integrated power system using phase space technique and probabilistic neural network. Neurocomputing 2015, 148, 587–599. [Google Scholar] [CrossRef]
  119. Matic-Cuka, B.; Kezunovic, M. Islanding Detection for Inverter-Based Distributed Generation Using Support Vector Machine Method. IEEE Trans. Smart Grid 2014, 5, 2676–2686. [Google Scholar] [CrossRef]
  120. Baghaee, H.R.; Mlakić, D.; Nikolovski, S.; Dragicčvić, T. Anti-Islanding Protection of PV-Based Microgrids Consisting of PHEVs Using SVMs. IEEE Trans. Smart Grid 2021, 11, 483–500. [Google Scholar] [CrossRef]
  121. Dash, P.; Padhee, M.; Panigrahi, T. A hybrid time–frequency approach based fuzzy logic system for power island detection in grid connected distributed generation. Int. J. Electr. Power Energy Syst. 2012, 42, 453–464. [Google Scholar] [CrossRef]
  122. Hashemi, F.; Ghadimi, N.; Sobhani, B. Islanding detection for inverter-based DG coupled with using an adaptive neuro-fuzzy inference system. Int. J. Electr. Power Energy Syst. 2013, 45, 443–455. [Google Scholar] [CrossRef]
Figure 1. Grid and island operation modes in a DER based microgrid.
Figure 1. Grid and island operation modes in a DER based microgrid.
Mathematics 09 03174 g001
Figure 2. Non-detection zone for over/under voltage (UOV) and over/under frequency (UOF) passive islanding detection method [35].
Figure 2. Non-detection zone for over/under voltage (UOV) and over/under frequency (UOF) passive islanding detection method [35].
Mathematics 09 03174 g002
Figure 3. Classification of islanding detection methods.
Figure 3. Classification of islanding detection methods.
Mathematics 09 03174 g003
Figure 4. Passive islanding detection technique.
Figure 4. Passive islanding detection technique.
Mathematics 09 03174 g004
Figure 5. Active islanding detection technique.
Figure 5. Active islanding detection technique.
Mathematics 09 03174 g005
Figure 6. Hybrid islanding detection technique.
Figure 6. Hybrid islanding detection technique.
Mathematics 09 03174 g006
Figure 7. Intelligent IDMs.
Figure 7. Intelligent IDMs.
Mathematics 09 03174 g007
Table 1. Standards for microgrid islanding.
Table 1. Standards for microgrid islanding.
StandardsDetection TimeFrequency
Range
Voltage
Range
Quality Factor
IEEE-1547 [28]t < 2 s 49.3 H z f 50.5 H z 0.88 V 1.1 p u 1
IEEE-929-2000 [29]t < 2 s 49.3 H z f 50.5 H z 0.88 V 1.1 p u 2.5
IEC-62116 [30]t < 2 s 48.5 H z f 51.5 H z 0.85 V 1.15 p u 1
Table 2. Summary of different passive techniques.
Table 2. Summary of different passive techniques.
MethodNDZDetection
Time
Impact on
Power Quality
Error Detection
Rate
Harmonic distortionLarge for high Q45 msNoHigh
OUV/OUFLarge4 ms to 2 sNoLow
ROCOFSmall24 msNoHigh
ROCOFOPSmaller than ROCOF100 msNoLow
ROCOPSmall24–26 msNoHigh
Phase jumpLarge10–20 msNoLow
Voltage unbalanceLarge53 msNoLow
Table 3. Summary of different active techniques.
Table 3. Summary of different active techniques.
MethodNDZDetection
Time
Impact on
Power Quality
Error Detection
Rate
AFDLarge if value of Q is highWith 2 sDegradesHigh
FJSmall75 msDegradesLow
AFDPFSmaller than AFD1 sSlightly degradesLower than AFD
SFSSmallest0.5 sSlightly degradesLow
SVSSmallest0.5 sSlightly degradesLow
SMSSmall0.4 sDegradesLow
Variation of active and reactive powerSmall0.3–0.75 sDegradesHigh
Negative sequence current injectionNone60 msDegradesLow
Impedance measurementSmall0.77–0.95 sDegradesLow
High frequency signal injectionSmallestFew msSlightly degradesLow
Virtual capacitor Smallest20–51 msSlightly degradesLow
Virtual inductorSmallest13–59 msSlightly degradesLow
Phase PLL perturbationSmallest120 msNegligibleLow
Table 4. Summary of different hybrid techniques.
Table 4. Summary of different hybrid techniques.
MethodNDZDetection
Time
Impact on Power
Quality
Error Detection
Rate
ROCOV and power
variation
-LowSmallSmall
ROCOF and IM0.216 sLow-Small
VU and SFS, SVS-NoneReduce negative impactVery small
Table 5. Summary of different remote techniques.
Table 5. Summary of different remote techniques.
MethodNDZDetection
Time
Impact on
Power Quality
Error
Detection Rate
PLCCWithout NDZ in range of normal loads200 msNoneNone
SPDNone100–300 msNoneNone
SCADANoneDetection speed is slow for busy systemsNoneNone
Publisher’s Note: MDPI stays neutral with regard to jurisdictional claims in published maps and institutional affiliations.

Share and Cite

MDPI and ACS Style

Worku, M.Y.; Hassan, M.A.; Maraaba, L.S.; Abido, M.A. Islanding Detection Methods for Microgrids: A Comprehensive Review. Mathematics 2021, 9, 3174. https://doi.org/10.3390/math9243174

AMA Style

Worku MY, Hassan MA, Maraaba LS, Abido MA. Islanding Detection Methods for Microgrids: A Comprehensive Review. Mathematics. 2021; 9(24):3174. https://doi.org/10.3390/math9243174

Chicago/Turabian Style

Worku, Muhammed Y., Mohamed A. Hassan, Luqman S. Maraaba, and Mohammad A. Abido. 2021. "Islanding Detection Methods for Microgrids: A Comprehensive Review" Mathematics 9, no. 24: 3174. https://doi.org/10.3390/math9243174

APA Style

Worku, M. Y., Hassan, M. A., Maraaba, L. S., & Abido, M. A. (2021). Islanding Detection Methods for Microgrids: A Comprehensive Review. Mathematics, 9(24), 3174. https://doi.org/10.3390/math9243174

Note that from the first issue of 2016, this journal uses article numbers instead of page numbers. See further details here.

Article Metrics

Back to TopTop