Design of a Port-Hamiltonian Control for an Alt-Azimuth Liquid–Mirror Telescope
Abstract
1. Introduction
2. Background
2.1. General Form of a Port-Hamilton System
2.2. Super-Twisting Sliding-Mode Control
2.3. Dynamical Model of the Liquid-Mirror Telescope
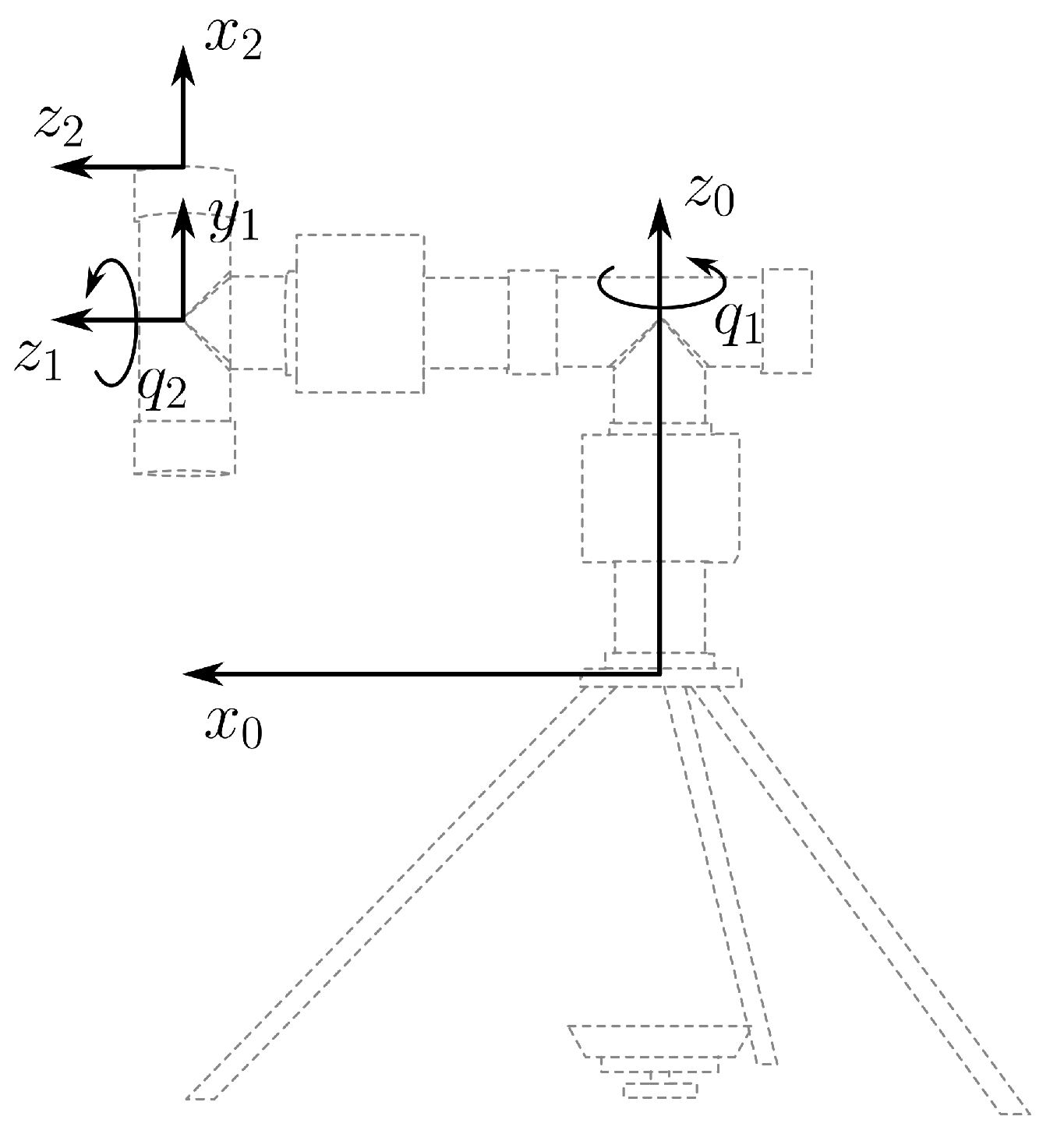
2.3.1. Kinematics
2.3.2. Potential and Kinetic Energy
2.3.3. State-Space Model of the Telescope from Euler–Lagrange Equations
3. Main Results
3.1. Port-Hamiltonian Representation of the Telescope
3.2. Port-Hamilton Control
3.3. Inverse-Dynamics Control (IDC)
3.4. Super-Twisting Control Combined with Non-Linear Block Control (NBC-STSM)
3.5. Liquid-Mirror Control
3.6. Star’s Position
3.7. Simulation Results
4. Conclusions
Author Contributions
Funding
Data Availability Statement
Conflicts of Interest
References
- Hickson, P.; Pfrommer, T.; Cabanac, R.; Crotts, A.; Johnson, B.; De Lapparent, V.; Lanzetta, K.M.; Gromoll, S.; Mulrooney, M.K.; Sivanandam, S.; et al. The Large Zenith Telescope: A 6 m Liquid-Mirror Telescope. Publ. Astron. Soc. Pac. 2007, 119, 444. [Google Scholar] [CrossRef]
- Borra, E.F. The liquid-mirror telescope as a viable astronomical tool. J. R. Astron. Soc. Can. 1982, 76, 245–256. [Google Scholar]
- Borra, E.F. Liquid mirrors. Can. J. Phys. 1995, 73, 109–125. [Google Scholar] [CrossRef]
- Surdej, J.; Hickson, P.; Borra, H.; Swings, J.P.; Habraken, S.; Akhunov, T.; Bartczak, P.; Chand, H.; De Becker, M.; Delchambre, L.; et al. The 4-m international liquid-mirror telescope. Bull. Soc. R. Sci. Liege 2018, 87, 68–79. [Google Scholar] [CrossRef]
- Spong, M.W.; Hutchinson, S.; Vidyasagar, M. Robot Modeling and Control; John Wiley & Sons: Hoboken, NJ, USA, 2020. [Google Scholar]
- Sciavicco, L.; Siciliano, B. Modelling and Control of Robot Manipulators; Springer Science & Business Media: Berlin, Germany, 2001. [Google Scholar]
- Utkin, V.; Guldner, J.; Shi, J. Sliding Mode Control in Electro-Mechanical Systems; CRC Press: Boca Raton, FL, USA, 2017. [Google Scholar]
- Perruquetti, W.; Barbot, J.P. Sliding Mode Control in Engineering; Marcel Dekker: New York, NY, USA, 2002; Volume 11. [Google Scholar]
- Liu, J.; Shen, X.; Alcaide, A.M.; Yin, Y.; Leon, J.I.; Vazquez, S.; Wu, L.; Franquelo, L.G. Sliding-mode control of grid-connected neutral-point-clamped converters via high-gain observer. IEEE Trans. Ind. Electron. 2021, 69, 4010–4021. [Google Scholar] [CrossRef]
- Wang, T.; Wang, B.; Yu, Y.; Xu, D. Fast High-Order Terminal Sliding-Mode Current Controller for Disturbance Compensation and Rapid Convergence in Induction Motor Drives. IEEE Trans. Power Electron. 2023, 38, 9593–9605. [Google Scholar] [CrossRef]
- Wang, B.; Wang, T.; Yu, Y.; Xu, D. Second-Order Terminal Sliding-Mode Speed Controller for Induction Motor Drives with Nonlinear Control Gain. IEEE Trans. Ind. Electron. 2022, 70, 10923–10934. [Google Scholar] [CrossRef]
- Swikir, A.; Utkin, V. Chattering analysis of conventional and super twisting sliding mode control algorithm. In Proceedings of the 2016 14th International Workshop on Variable Structure Systems (VSS), Nanjing, China, 1–4 June 2016; pp. 98–102. [Google Scholar]
- Ortega, R.; García-Canseco, E. Interconnection and Damping Assignment Passivity-Based Control: A Survey. Eur. J. Control 2004, 10, 432–450. [Google Scholar] [CrossRef]
- Duindam, V.; Macchelli, A.; Stramigioli, S.; Bruyninckx, H. Modeling and Control of Complex Physical Systems the Port-Hamiltonian Approach; Springer: London, UK, 2009. [Google Scholar]
- Ortega, R.; Van der Schaft, A.; Maschke, B.; Escobar, G. Energy-shaping of port-controlled Hamiltonian systems by interconnection. In Proceedings of the 38th IEEE Conference on Decision and Control (Cat. No. 99CH36304), Phoenix, AZ, USA, 7–10 December 1999; Volume 2, pp. 1646–1651. [Google Scholar]
- Ortega, R.; van der Schaft, A.; Maschke, B.; Escobar, G. Interconnection and damping-assignment passivity-based control of port-controlled Hamiltonian systems. Automatica 2002, 38, 585–596. [Google Scholar] [CrossRef]
- Chi, J.; Yu, H.; Yu, J. Hybrid Tracking Control of 2-DOF SCARA Robot via Port-Controlled Hamiltonian and Backstepping. IEEE Access 2018, 6, 17354–17360. [Google Scholar] [CrossRef]
- Gómez-Estern, F.; Van der Schaft, A.J. Physical damping in IDA-PBC controlled underactuated mechanical systems. Eur. J. Control 2004, 10, 451–468. [Google Scholar] [CrossRef]
- Donaire, A.; Romero, J.G.; Ortega, R.; Siciliano, B.; Crespo, M. Robust IDA-PBC for underactuated mechanical systems subject to matched disturbances. Int. J. Robust Nonlinear Control 2017, 27, 1000–1016. [Google Scholar] [CrossRef]
- Acosta, J.Á.; Sanchez, M.; Ollero, A. Robust control of underactuated aerial manipulators via IDA-PBC. In Proceedings of the 53rd IEEE Conference on Decision and Control, Los Angeles, CA, USA, 15–17 December 2014; pp. 673–678. [Google Scholar]
- Yaghmaei, A.; Yazdanpanah, M.J. Trajectory tracking for a class of contractive port-Hamiltonian systems. Automatica 2017, 83, 331–336. [Google Scholar] [CrossRef]
- Khalil, H.K. Nonlinear Control; Pearson: New York, NY, USA, 2015; Volume 406. [Google Scholar]
- Shakibjoo, A.D.; Moradzadeh, M.; Moussavi, S.Z.; Mohammadzadeh, A.; Vandevelde, L. Load frequency control for multi-area power systems: A new type-2 fuzzy approach based on Levenberg–Marquardt algorithm. ISA Trans. 2022, 121, 40–52. [Google Scholar] [CrossRef] [PubMed]
- Khalil, H.K. Nonlinear Systems, 3rd ed.; Patience Hall: Hoboken, NJ, USA, 2002; Volume 115. [Google Scholar]
- Loukianov, A.G. Robust block decomposition sliding-mode control design. Math. Probl. Eng. 2003, 8, 349–365. [Google Scholar] [CrossRef]
- Morfin, O.A.; Valenzuela, F.A.; Betancour, R.R.; Castañeda, C.E.; Ruiz-Cruz, R.; Valderrabano-Gonzalez, A. Real-time SOSM super-twisting combined with block control for regulating induction motor velocity. IEEE Access 2018, 6, 25898–25907. [Google Scholar] [CrossRef]
- Goldstein, H.; Poole, C.; Safko, J. Classical Mechanics Pearson New International Edition; Pearson Education, Limited: London, UK, 2013; p. 660. [Google Scholar]
- Nise, N.S. Control Systems Engineering; John Wiley & Sons: Hoboken, NJ, USA, 2020. [Google Scholar]
- Dávila, A.; Moreno, J.A.; Fridman, L. Optimal Lyapunov function selection for reaching time estimation of super twisting algorithm. In Proceedings of the 48h IEEE Conference on Decision and Control (CDC) Held Jointly with 2009 28th Chinese Control Conference, Shanghai, China, 15–18 December 2009; pp. 8405–8410. [Google Scholar]
- Garduño, O.A.M.; Cruz, R.R.; Murillo, F.A.V.; Betancour, R.R.; Hernández, C.E.C.; Téllez, F.O. Robust cascade controller for the power factor of the three-phase supply and the induction motor velocity. ISA Trans. 2023. [Google Scholar] [CrossRef]
- Moché, D.L. Astronomy; Wiley: Hoboken, NJ, USA, 2009. [Google Scholar]
- Morfin, O.A.; Castañeda, C.E.; Valderrabano-Gonzalez, A.; Hernandez-Gonzalez, M.; Valenzuela, F.A. A real-time SOSM super-twisting technique for a compound DC motor velocity controller. Energies 2017, 10, 1286. [Google Scholar] [CrossRef]
- Cristobal, J.; Tapia, A.; Castañeda, C.; Vargas-Rodríguez, H. An alternative approach for determining the motor rotation rates for an altazimuth telescope mount. In Proceedings of the Herramientas y Tecnologias Especificas Para Beneficio de las Instituciones y Comunidades, Cuernavaca, Mexico, 21–23 March 2018. [Google Scholar]














| Parameter | Value | Unit |
|---|---|---|
| 6.360 | kg | |
| 3.860 | kg | |
| 0.400 | m | |
| 0.190 | m | |
| 0.080 | m | |
| −0.012 | m | |
| 0.450 | m | |
| 0.201 | m | |
| diag(0.340, 0.255, 0.105) | kg·m | |
| diag(0.043, 0.061, 0.032) | kg·m |
| Controller | ||||
|---|---|---|---|---|
| Angle | Parameter | PCH | IDC | NBC-STSM |
| RMS error (deg) | 0.0083 | 0.0055 | 0.0108 | |
| Settling time (s) | 2.2150 | 2.1140 | 2.3030 | |
| RMS error (deg) | 0.0025 | 0.0004 | 0.0312 | |
| Settling time (s) | 2.6890 | 2.1140 | 2.2430 | |
Disclaimer/Publisher’s Note: The statements, opinions and data contained in all publications are solely those of the individual author(s) and contributor(s) and not of MDPI and/or the editor(s). MDPI and/or the editor(s) disclaim responsibility for any injury to people or property resulting from any ideas, methods, instructions or products referred to in the content. |
© 2023 by the authors. Licensee MDPI, Basel, Switzerland. This article is an open access article distributed under the terms and conditions of the Creative Commons Attribution (CC BY) license (https://creativecommons.org/licenses/by/4.0/).
Share and Cite
Alcaraz Tapia, J.C.; Castañeda, C.E.; Vargas Rodriguez, H.; Esquivel, P. Design of a Port-Hamiltonian Control for an Alt-Azimuth Liquid–Mirror Telescope. Mathematics 2023, 11, 3443. https://doi.org/10.3390/math11163443
Alcaraz Tapia JC, Castañeda CE, Vargas Rodriguez H, Esquivel P. Design of a Port-Hamiltonian Control for an Alt-Azimuth Liquid–Mirror Telescope. Mathematics. 2023; 11(16):3443. https://doi.org/10.3390/math11163443
Chicago/Turabian StyleAlcaraz Tapia, Juan Cristobal, Carlos E. Castañeda, Héctor Vargas Rodriguez, and P. Esquivel. 2023. "Design of a Port-Hamiltonian Control for an Alt-Azimuth Liquid–Mirror Telescope" Mathematics 11, no. 16: 3443. https://doi.org/10.3390/math11163443
APA StyleAlcaraz Tapia, J. C., Castañeda, C. E., Vargas Rodriguez, H., & Esquivel, P. (2023). Design of a Port-Hamiltonian Control for an Alt-Azimuth Liquid–Mirror Telescope. Mathematics, 11(16), 3443. https://doi.org/10.3390/math11163443

