Next Article in Journal
Numerical Simulations of Spray Combustion in Jet Engines
Next Article in Special Issue
Space-Time Finite Element Method for Fully Intrinsic Equations of Geometrically Exact Beam
Previous Article in Journal
Experimental Study of Suppressing the Thermoacoustic Instabilities in a Rijke Tube Using Microsecond Discharge Plasma
Previous Article in Special Issue
Active Flutter Suppression of a Wing Section in a Compressible Flow
 
 
Font Type:
Arial Georgia Verdana
Font Size:
Aa Aa Aa
Line Spacing:
Column Width:
Background:
Article

A Homogenization Method for Replacement Stator Models in an Aero-Engine

1
School of Power and Energy Engineering, Beihang University, Beijing 100191, China
2
Beijing Key Laboratory of Aero-Engine Structure and Strength, Beijing 100191, China
3
China United Gas Turbine Technology Co., Ltd., Beijing 100016, China
*
Author to whom correspondence should be addressed.
Aerospace 2022, 9(12), 837; https://doi.org/10.3390/aerospace9120837
Submission received: 10 October 2022 / Revised: 6 December 2022 / Accepted: 7 December 2022 / Published: 16 December 2022
(This article belongs to the Special Issue Structural Dynamics and Control)

Abstract

Generally, the high-fidelity finite element models of aero-engines comprise millions of degrees of freedom (DOFs). Although they can provide precise predictions of structural dynamics, the computational cost will be often unaffordable if appropriate dimension reduction techniques are not adopted. The homogenization of the substructure, also termed as the physical replacement, reduces the model scale by simplifying the unnecessary details of the substructure, thus speeding up the dynamic analysis of the whole engine. In this study, we design the physical replacements for the stators of an aero-engine based on the long-wave assumption. These replacements have the same wave features as the stators in long-wave cases while possessing fewer DOFs. The core steps include the analytical description of the stators and the corresponding physical replacement design through two homogenizations. Specifically, we first investigate the wave characteristics of the stators using the wave finite element method and find two dominant waves: flexural and flexural–torsional coupled waves. The first homogenization introduces two analytical Timoshenko beams to describe the two wave motions of the stators. These two analytical beams are subsequently solidified into physical replacements with I, box, and open cross-sections in the second homogenization. The mechanical and geometric parameters are identified through a combination of the static analysis and the genetic algorithm (GA). The search processes are of great efficiency, because all the descriptions are analytical. Results show that the relative errors of the natural frequencies between the pristine stators and the physical replacements associated with the nodal diameters 6–15 are less than 5%.

1. Introduction

High-fidelity finite element (FE) models of aero-engines contain a great number of degrees of freedom (DOFs), generally millions [1]. These models can provide precise predictions of many vibration problems, including blade-casing rubbing [1,2] and rotor–stator coupled vibration [3]. However, the high number of DOFs greatly increases the computational cost, especially when conducting geometry optimization or transient analysis.
Reducing the number of DOFs is imperative to accelerate computation. Directly reducing the mesh density is unreasonable due to the complex geometries of the substructures, such as the blade. An intuitive approach is applying substructural model synthesis techniques, such as the Craig–Bampton method [4,5], to the substructures, including the stators. This method is widely applied. It can reduce the number of DOFs by retaining fewer modes, but the geometric details become implied in the reduced matrix of the substructure. Cyclic symmetry analyses can significantly reduce the simulation time. The cyclically periodicity is the necessary condition for cyclic symmetry analyses, however this is often broken in multiple-stage rotors and stators.
Alternatively, finding physical replacements for the substructures with similar vibration characteristics and a small number of DOFs can accelerate the computation with acceptable accuracy on the complete aero-engine level. In high-fidelity FE models, the rotors and stators are circumferential quasi-periodic structures, containing a large portion of the DOFs. The former involves many severe vibration problems, which need an exact mesh. Conversely, the vibration of the latter is moderate, due to their high rigidity. Therefore, identifying physical replacements for the stators can improve the design process without affecting the main dynamics of the engine.
The homogenization method aims at substituting heterogeneous periodic or quasi-periodic structures with dynamically equivalent homogeneous structures [6]. Its applications are wide-ranging, including two main areas. The first is at the material level, involving polycrystals [7] and particle-reinforced composites [8], etc. The second is at the structural level, dealing with metamaterials [9,10], whose unit cells have a micro-scale length compared to the length of the assembled structure. The unit cell is the smallest repeatable substructure. When the unit cell has a medium-scale length, which is the case for stators, homogenization is possible based on the long-wave assumption [11,12]. This assumption states that a structure can be considered homogenous if the wavelength is much larger than the length of the unit cell. Relevant research has been conducted on trusses [13,14] and framed structures [15,16], among other things, which encouraged us to design a physical replacement based on the long-wave characteristics.
An intuitive approach is to use topological methods [17,18] to optimize the geometry and the material distribution of the physical replacement. However, the range of the optimized parameters is huge, thus the process is time-consuming. The optimal geometry can be complex, which can even increase the number of DOFs. Therefore, introducing parameter constraints is critical to determine the search direction and accelerate the search process.
The analytical description of long-wave motion is needed to bridge the gap between the pristine stators and their physical replacements. In this way, we divide the homogenization approach into two steps. The first step is producing a continuous analytical description of the pristine structure. Many approaches have been developed for such a task, such as the representative volume element [19] (RVE) method and asymptotic homogenization [20] (AH). These two methods involve obtaining the equivalent elastic modulus of the unit cell. However, the vibration motions of stators are complex, including flexural–torsional coupled vibration. To describe these motions analytically, the macroscopic mechanical properties are needed to be identified in advance. Nevertheless, these kinds of analytical descriptions cannot be directly applied in engineering models. To overcome this issue, the second step which is to substantiate the analytical description into a physical replacement is indispensable. Finally, the physical replacement can be assembled in the whole structure.
In this paper, we design physical replacements of the stators in an aero-engine based on homogenization, aiming at reducing the number of DOFs. Owing to the wave vibration consistency [21], the structural vibration is viewed from the wave motion perspective. The principle is to make the physical replacements have the same long wave characteristics as pristine stators. To do that, two homogenizations are conducted subsequently. The first involves the analytical description of the flexural and flexural–torsional coupled wave motions. The second comprised substantiating the analytical descriptions into physical replacements with three selected cross-sections.
Specifically, we first use the wave finite element method [22,23,24] (WFEM) to investigate the wave characteristics of the stators (Section 3). Based on the dispersion curves and wave shapes, the wave motions are divided into flexural and flexural–torsional coupled motion, respectively. Second, we derive the analytical descriptions of these two wave motions and extract twelve mechanical properties from the stator cells (Section 4). Next, we substantiate the two analytical descriptions into physical replacements with I, box, and open cross-sections (Section 5). Then, we implement the genetic algorithm (GA) to initiate the search process, which is very efficient thanks to the analytical expressions (Section 4 and Section 5). Finally, we validate the quality of the physical replacements by comparing the modal frequencies with the pristine stators through commercial software (Section 5).

2. Problem Formulation

The finite element (FE) model of a single-stage stator is illustrated in Figure 1. This model contains three components: casing, vane, and reinforcing ring. For simplicity and without loss of generality, the vanes are simplified to the straight panels. The element is SOLID185 in ANSYS and the material parameters are elastic modulus E = 1.96 × 10 11   Pa , Poisson’s ratio v = 0.27 and density ρ = 7.86 × 10 3   kg / m 3 . The angle of one cell is 4° and thus a full circle contains 90 cells. The stator with straight panels possesses much fewer DOFs compared with the one with real vanes. But the total number of the DOFs in Figure 1 still reaches 626,400.
We first investigate the wave characteristics of the stator along the circumferential direction by WFEM. From the knowledge of the dispersion curves and the wave shapes, we find that the flexural and flexural-torsional coupled wave motions are dominant in long-wave cases. Two homogenizations are successively initiated. The details of the technical route are shown in Figure 2.
The first homogenization involves identifying analytical descriptions for two wave motions. Two analytical beams, the flexural Timoshenko (FT) and flexural-torsional coupled Timoshenko (FTCT) beams, are introduced to describe the two wave motions, respectively. Twelve mechanical properties associated with these two beams are estimated preliminarily according to the static analyses. Based on the initial estimation, we then employ GA to further optimize the properties.
The second homogenization refers to substantiating the two analytical descriptions into physical replacements with I, box, and open cross-sections. We derive analytical expressions of the mechanical properties based on geometric and material parameters of the cross-sections. Then we use GA to search for these parameters. Finally, for verification, we conduct modal analyses on the pristine stator and the physical replacements by the commercial packages, and compare the differences in natural frequencies.

3. Wave Characteristics of Stator

3.1. Wave Finite Element Method

Wave finite element method (WFEM) is widely used in calculating wave characteristics of periodic structures. The unit cell of a periodic structure is modeled by FE packages and thus it has the capacity of handling complex geometries. The input is the dynamic stiffness matrix (DSM) of the cell and the output includes dispersion curves and wave shapes.
As shown in Figure 3, the unit cell extends along the circumferential direction. Considering guided waves propagating along this direction, the nodal coordinate system needs to be first modified to the cylindrical coordinate system as shown in Figure 1b. A unit cell to illustrate general cases including the stator cell is shown in Figure 3. The condensed DSM D C of this unit cell [24] can be expressed as
D LL C D LR C D RL C D RR C q L q R = f L f R
where q and f are displacement and force vectors, respectively; the subscripts L and R indicate the DOFs of the left and right nodes, respectively.
On this basis, the eigen-problem of Zhong-Williams scheme [25,26] writes
A ϕ = μ B ϕ
where
A = 0 D LR C D RL C 0
B = D LR C D LR C T D LL C + D RR C D LL C + D RR C D LR C D LR C T
μ 1 = λ + λ 1
λ = e j k r Δ indicates the amplitude and phase changes when guided waves transmit through one unit cell [27,28], where k r is the polar wave-number [29,30], Δ is the radian of the unit cell as shown in Figure 3, and j = 1 . The wave shape associated with each λ is q L q R q I T . λ occurs in pairs [31], namely λ + and λ = 1 / λ + , which correspond to positive-going and negative-going waves.
The eigen-problem of Equation (3) is a generalized symplectic eigen-problem. Employing commercial software packages such function eig() in Matlab or the approach developed by Zhong and Williams [25] can solve this problem. Please note that the eigen-solutions of Equation (3) are μ and ϕ , which need to be post-processed into λ and q L q R q I T .
Obviously, λ can be computed by Equation (5). It has been proven that q L and q R associated with λ can be expressed as a linear combination of ϕ 1 and ϕ 2 (details in research [32]), i.e.,:
q L q R = α 1 ϕ 1 + α 2 ϕ 2
The coefficients α 1 and α 2 can be obtained by the approach [32] based on the singular value decomposition (SVD) or the approach [33] based on the inverse power method (IPM), of which the accuracy is consistent on the stator case. For brevity, the formulations of these two approaches are omitted here.

3.2. Dispersion Curves and Wave Shapes

Let us first demonstrate the wave-vibration consistency exhibited between the dispersion curves in Figure 4 and the nodal diameter vibration of the stator cell. The nodal diameter vibration indicates that standing waves occur in the circumferential direction. In such cases, the nodal diameter number n is equal to the number of the standing wave, namely n = k r . For example, when the first-order nodal diameter vibration happens, there is one standing wave in the circumferential direction, which means k r = 1 . In Figure 4a, we can find the natural frequencies of the nodal diameter vibration by searching the frequency when k r is 1, 2, 3…
Figure 4a,b illustrate the real and imaginary parts of the positive-going waves, respectively. Eleven waves occur in the frequency band 0–5000 Hz. We can observe many features such as the frequency veering of waves 1, 2, 3, 5 and 6, and the evanescence of waves 8–11. The evanescent waves are such waves whose imaginary part is not 0 and thus attenuate in the propagating direction.
The shapes of the propagating waves 1–7 are shown in Figure 5. It can be first observed that the phases of these waves are not closed because they only close when k r is an integer as aforementioned. From these wave shapes, three wave motions: flexural, flexural-torsional coupled, and longitudinal motions, can be identified, as listed in Table 1.
The stator is not prone to longitudinal motion due to the large rigidity along this direction. The flexural and flexural-torsional coupled motions have much lower natural frequencies and thus need to be concerned in the following.
According to the long-wave assumption, the wave motion has the potential to be homogenized when the polar wavelength is much larger than the radian of the unit cell. Considering that there are 90 cells in the full-circle stator, the number of the cells in a wavelength is
N c = 90 / k r
Therefore, we consider the wave whose polar wavenumber is less than 15. This denotes that there are at least six cells ( N c = 6 ) in a wavelength.
In the next section, we introduce two analytical beams to describe the two wave motions. The core is to estimate the macroscopic mechanical properties from the stator cell.

4. Analytical Description

The first homogenization involves identifying analytical descriptions of the stator. According to the wave motions computed in Section 3, we select the flexural Timoshenko (FT) and flexural-torsional coupled Timoshenko (FTCT) beams. In this section, we first preliminarily estimate the macroscopic mechanical properties. Based on the estimation, we subsequently use the genetic algorithm to optimize the properties.

4.1. Timoshenko Beams

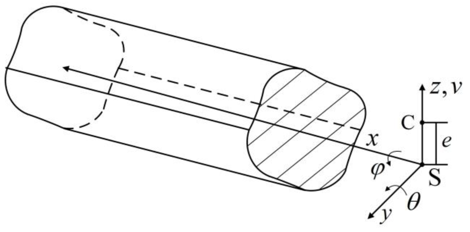
A segment of the beam with an arbitrary cross-section is shown in Figure 6. The centroid and the shear center of this cross-section are C and S , respectively, between which e is the distance. The flexural displacement in z direction, the bending slope and the torsional rotation with respect to x direction are donated by v , θ , and φ , respectively.
The motion equations of the FT beam [34] is
x k G A v x θ m 2 v t 2 = 0 x E I θ x + k G A v x θ I s 2 θ t 2 = 0
where E I and k G A are the bending and shear rigidities, respectively; m is the mass per unit length; I s is the mass moment of inertia with respect to the shear center per unit length.
The motion equations of the FTCT beam [35,36] can be expressed as
k G A 2 v x 2 θ x m 2 v t 2 + e m 2 φ t 2 = 0 E I 2 θ x 2 + k G A v x θ I c 2 θ t 2 = 0 E Γ 4 φ x 4 G J 2 φ x 2 + I s 2 φ t 2 e m 2 v t 2 = 0
where I c is the mass moment of inertia with respect to the centroid per unit length; G J and E Γ indicate the torsional and warping rigidities.
To obtain the wave characteristics of the FTCT beam, let
v x , t = V e k c x sin ω t θ x , t = Θ e k c x sin ω t φ x , t = Ψ e k c x sin ω t
where k c is the wavenumber along x direction; V , Θ , and Ψ are the magnitudes of these displacements. Introducing Equation (10) into Equation (9) yields
L 11 L 12 L 13 L 21 L 22 L 23 L 31 L 32 L 33 V Θ Ψ = 0
Assuming Equation (11) has nontrivial solutions, namely det L = 0 , one can obtain
β 4 k c 8 + β 3 k c 6 + β 2 k c 4 + β 1 k c 2 + β 0 = 0
The details of β 0 4 are shown in Appendix A. Solving Equation (12) yields the dispersion curves of the FTCT beam. In such a way, the dispersion curves of the FT beam can also be obtained, which is omitted for brevity.

4.2. Identifying Mechanical Properties

Equations (8) and (9) possess a total of 12 mechanical properties. Four properties including E I , k G A , I s , and m determine the FT beam, and eight properties including E I , k G A , G J , E Γ , e , I c , I s , and m determine the FTCT beam. The mechanical definitions and analytical formulas are listed in Table 2. We can divide the properties into two categories. The first category contains the four rigidities, whose identification is based on the four static analyses of the unit cell. The second category contains e , I c , I s , and m , which can be computed by the analytical integrals. It is to be noted that the FT and FTCT beams share the same properties I s and m , but the properties E I and k G A are different.
Let us demonstrate how to use the four static analyses to estimate the four rigidities. Figure 7 illustrates the details of these analyses implemented on the unit cell. We can observe that the left boundary is fixed and the external loads are all applied on the right boundary. Please note that we use the average displacement in a cross-section as the equivalent displacement. Lagrange interpolation is then employed to construct the fitting function of these displacements.
The first static analysis identifies the neutral axis and the torsional center of the unit cell. As shown in Figure 7, we apply a bending moment M 1 N m with respect to the initial node whose radius is 460 mm. The radius of the node who has the minimum stress is used as the updated radius R N of the neutral axis. Please note that the relationship between the polar wavenumber k r and the wavenumber k c is
k r = R N k c
A torsional moment T 1 N m is subsequently applied to the cell. The torsional center is set to the node with minimum displacement.
The second static analysis identifies the bending rigidity E I . We apply a bending moment M 1 N m with respect to the neutral axis. As aforementioned, the discrete equivalent displacements are fitted to the deformed function v x , whose average curvature is γ as shown in Table 2. Therefore, E I can be obtained by the first formula in Table 2.
The third static analysis identifies the shear rigidity k G A . We apply a shear force Q 1 N on the right boundary. In the same way, we can obtain the deformed function v x . Extracting the average rotation θ with respect to the neutral axis from the deformed cell, we can obtain the shear rigidity by the second formula in Table 2.
The fourth static analysis identifies the torsional rigidity G J and the warping rigidity E Γ . We apply two torsional moments T 1 1 N m and T 2 2 N m with respect to the torsional center. The average rotation angle of every cross-section is used to construct the fitting function φ x . We can obtain two linear equations by the third formula in Table 2, which can yield G J and E Γ together.
Let us demonstrate how to obtain the left four properties. We use each element of the unit cell as the unit mass d m and the unit volume d V , as listed in the fourth and fifth formulas in Table 2, respectively, where r s is the distance from the d m to the shear center; r c is the distance from d V to the centroid; m c is the total mass of the unit cell. The two integrals are substituted with the discrete summations. Then solving the last four formulas successively yields the four properties.
It is to be noted that the properties E I and k G A are different for FT and FTCT beams. An intuitive explanation is that the flexural directions of these two motions are in different directions according to the wave shapes in Figure 5. Specifically, the flexural motion of the FT beam is in the radial direction, while the torsional motion tends to couple with the flexural motion who has a weak rigidity in its vibration direction. As shown in Figure 7, we use the flexural direction ⅰ and ⅱ for FT and FTCT beams, respectively.

4.3. Optimizing Properties

In this section, we optimize the eight properties for the analytical description based on the initial properties identified from the last section and the genetic algorithm. The identified rigidities and the left four properties are listed in Table 3 (initial rigidities) and Table 4, respectively.
On this basis, employing the genetic algorithm to further improve the accuracy of the rigidities becomes convenient and very fast, generally in seconds, due to the analytical formulas. One can use commercial software packages such as function ga() in Matlab to initiate the search process.
We use the initial rigidities as a reference, and set the search range around these rigidities. Specifically, the upper and lower bounds are the initial rigidities multiplied by two coefficients, such as (0.5, 2). The objective function is set to
min f ( E I , k G A , G J , E Γ ) = i k r , i k ¯ r , i 2 / k ¯ r , i 2
where k r , i is the polar wave-number at the i th natural frequency of the analytical description; k ¯ r , i is the polar wave-number of the pristine stator, namely 1,2,3… Then, the genetic algorithm can be initiated and the optimal rigidities are listed in Table 3. Please note that for the FT beam, the optimized rigidities are E I and k G A .

4.4. Dispersion Curves

The dispersion curves of the analytical descriptions are illustrated in Figure 8. The red lines denote the curves of the initial beams; the blue lines denote the curves of the optimized beams; the black lines denote the curves of the pristine stator. We can observe that the dispersion curves of the four analytical beams have good agreement with those of the pristine stator in long-wave cases. Furthermore, the optimized beams show a better performance. It indicates that GA improves the accuracy of these rigidities based on the initial estimation.
For the flexural wave motion (wave 1), the separation of the curves is at polar wavenumber 15, corresponding to six cells ( N c = 6 ) in one wavelength. It reaches the edge of the long-wave assumption.
For the flexural-torsional coupled wave motion (waves 3 and 4), the curves meet from the polar wavenumber 5. This may be an intrinsic error because the dispersion curve of the analytical description is bound to start at polar wavenumber 0 at 0 Hz. But the dispersion curve of wave 3 starts at polar wave-number 1.25 at 0 Hz. It means that the analytical FTCT beam cannot exactly describe the wave motion in this frequency band. But when we substantiate the FTCT beam into a physical replacement, the error is mitigated as illustrated in the next section.

5. Physical Replacements

The second homogenization substantiates the analytical descriptions into physical replacements. To do that, we select I, box, and open cross-sections, and derive analytical formulas for the mechanical properties based on the geometric and material parameters. Then we employ GA to search for optimal cross-sections. The modal analyses are finally performed on a physical replacement to estimate the differences in natural frequencies and modal shapes.

5.1. Mechanical Properties of Selected Cross-Section

The I, box, and open cross-sections are shown in Figure 9a–c, respectively. The former two are set to be bilaterally symmetric following the geometric features of the stator. The geometric parameters are thicknesses t 1 , t 2 , t 3 and lengths l 1 , l 2 , l 3 . The coordinates origin locates at the centroid. The formulas of the mechanical properties are listed in Table 5. It is to be noted that the difference between Table 2 and Table 5 is that all the integrals in Table 5 can be computed analytically owning to the uniform cross-sections.
The first step is identifying the centroid. The distance from the centroid to the bottom is
d c = S c / A
where S c = A z c d A is the static moment of the cross-section with respect to the bottom; z c is the distance from the surface element d A to the bottom; A is the area of the cross-section. For the I and box cross-sections, the centroid locates on its symmetric axis. But for the open cross-section, we also need the distance from the centroid to the left edge. It can be obtained by replacing z c with y c , which is the distance from d A to the left edge.
The second step is identifying the torsional center. Let us demonstrate the sectorial coordinate system [38]. An example is the open cross-section as shown in Figure 10. A sectorial axis initiates from O ( p ) to p 1 and p 2 and terminates at p 3 . The sectorial coordinate [39] is defined as
ω c = 0 p δ p d p
where δ ( p ) is the vertical distance from the micro unit d p to the centroid as shown in Figure 10. In analogy with the product of inertial in Cartesian coordinates, the sectorial products of inertia are
S ω y = p ω c y t d p S ω z = p ω c z t d p
where t is the thickness of the micro unit d p as shown in Figure 9c. The torsional center locates at
z c = S ω y I z y c = S ω z I y
where I z and I y are inertia moments with respect to the z and y axes, respectively.
For the I and box cross-sections, the torsional center locates on each symmetric axes due to the bilateral symmetry. The I cross-section contains two sectorial axes, which lie on the center lines of the upper and lower plates, respectively. The sectorial axis of the box cross-section is a loop line.
The third step performs the analytical formulas in Table 5 to obtain the four properties of the FT beam and the eight properties of the FTCT beam. But the warping rigidity needs further demonstration.
To calculate E Γ , we suggest using the principal sectorial coordinate ω n . That is to let
ω n = ω t A ω t d A A
where ω t indicates the sectorial coordinate with respect to the torsional center. The warping moment of inertia can be expressed as
Γ = p ω n 2 t d p
In this section, we use six geometric parameters of the selected cross-sections together with three material parameters E , ν and ρ to explicitly express the eight properties. Hence, we can directly relate the nine parameters to the wave characteristics.

5.2. Searching for Parameters of Cross-Sections

We use GA to search for the parameters of the cross-sections. The objective function is expressed as
min f ( t 1 3 , l 1 3 , E , ν , ρ ) = i p i p ¯ i 2 / p ¯ i 2
where p ¯ i is the optimal properties of the analytical beams in Table 3 and Table 4. Please note that the FT and FTCT beams possess four and eight properties, respectively. The optimization constraints are listed in Table 6.
The genetic algorithm finds six cross-sections. The I, box, and open cross-sections of the FT beams are shown in Figure 11a,c,e, respectively. The cross-sections of the FTCT beams are shown in Figure 11b,d,f, respectively. We can observe that the centroid and the torsional center in Figure 11a,c are overlapped and locate at each geometric center. It denotes that the flexural-torsional coupled motion will not occur. For the left four cross-sections, the centroid and the shear center are in different positions, and thus the coupled wave motion will occur.

5.3. Dispersion Curves

Once dragging the cross-sections in Figure 11 along the circumferential direction, we can construct the unit cells of the physical replacements in FE packages. WFEM is subsequently used to obtain the dispersion curves. Figure 12 illustrates the dispersion curves of the six cases, which are of the FT and FTCT beams with the I (Figure 12a,b), box (Figure 12c,d), and open (Figure 12e,f) cross-sections, successively.
The black lines are the numerical dispersion curves of the pristine stator. The solid lines with circles are the analytical dispersion curves of the analytical descriptions which are the same as those of the optimal beams in Figure 8. The dash-dot lines with rhombus are the analytical dispersion curves of the six cross-sections found by GA in the last section. The red lines are the numerical dispersion curves of the physical replacements with I, box, and open cross-sections.
The dispersion curves of the I and box cross-sections consist with the curves of each physical replacement. The valid range of the polar wavenumber is from 0 to 10 or 13. It verifies the accuracy of the formulas in Table 5.
The dispersion curves of the I, box, and open cross-sections also have good agreement with the curves of the analytical descriptions, especially in Figure 12c,d,f. It indicates that GA shows a good performance in searching the desired cross-sections. The best homogenization is using the physical replacement with the box cross-section to describe the flexural motion of the stator cell in Figure 12c.
Concerning the difference observed in Figure 8, it is mitigated after substantiating the FTCT beam into the I and box cross-sections as shown in Figure 12b,d.
However, errors occur between the dispersion curves of the open cross-section and its physical replacement. This may be caused by the higher evaluation of flexural rigidity. We assume that the flexural direction is in the z axis as shown in Figure 9c, which can be different with the real flexural motion of the open section. Because the flexural motion tends to occur in the direction with lower flexural rigidity. This leads to the high dispersion curves of the physical replacements compared to those of the analytical beams as illustrated in Figure 12e,f. The open cross-section is not recommended due to its complex geometry.

5.4. Verification: Modal Analysis

This verification selects the case of using box cross-section to describe the flexural motion of the pristine stator. It is the case shown in Figure 12c. A full-circle FE model of the physical replacement with the box cross-section is established by the FE packages, as shown in Figure 13. The modal analysis is subsequently conducted, and the natural frequencies of the flexural motion along the radial direction are listed in Table 7.
We can observe that the relative errors from the nodal diameters 2 to 5 are much higher than those of the nodal diameters 6–15. This is because the mode shapes of the nodal diameters 2–5 associated with the stator do not only vibrate in the radial direction, but the axial direction also. Examples including the 2nd and 6th nodal diameter modes are illustrated in Figure 14. With the number of the nodal diameter increasing, the mode shape evolves into the pure flexural motion, and the relative error decreases. When it reaches 17, there are only five cells ( N c = 5 ) in a wavelength, resulting in an increment of the relative error. It means that with the polar wavenumber increases, fewer cells exist in a wavelength to describe the wave motion and thus the relative error increases. It enters the edge of the long-wave assumption in the stator case.
It can be concluded that the physical replacement with the box cross-section is able to describe the flexural motion of the pristine stator. This model can be implemented in the aero-engine FE model, and meanwhile, it decreases the DOFs from 626,400 to 60,480.
Besides, the decrease of the DOFs generally denotes that the physical replacement can save computational costs. But it can be different depending on the application and the selected algorithm. To acquire the data in Table 7, we use the Block Lanczos algorithm to compute the 100 modal frequencies of the pristine stator and the physical replacement with box cross-section, respectively. The calculation times of the former is 249.734 s and that of the latter is 50.796 s. Therefore, the calculation time is reduced by around 80%.

6. Conclusions

In this paper, a two-step homogenization modeling approach for the stator of an aero-engine is proposed based on the long-wave assumption. The corresponding physical replacement, containing fewer DOFs, keeps the same vibration features as the pristine stator in terms of the wave motion.
Calculating the wave characteristics of the stator is the premise of homogenization modeling. Through the wave finite element analysis, we find that there are 7 propagating waves in the long-wave cases, which can be divided into the flexural and flexural-torsional coupled wave motions.
Through the first homogenization, the analytical description between the pristine stator and the physical displacement is derived, avoiding the time-consuming direct search process of the physical replacements. We introduce the flexural Timoshenko (FT) and flexural-torsional coupled (FTCT) beams to describe the two wave motions. Twelve macroscopic mechanical properties in the analytical descriptions are identified from the stator cell based on the static analyses and the genetic algorithm. Results show that the dispersion curves of the analytical beams consist with those of the pristine stator in long-wave cases.
Through the second homogenization, the physical replacements with I, box, and open cross-sections are obtained. We derive the formulas to express the twelve mechanical properties by the geometric and material parameters of the cross-sections. The genetic algorithm is employed to initiate the optimization, and six optimal cross-sections are found. The search process is very fast owning to the analytical expressions. Results show that the dispersion curves of the I and box cross-sections consist with those of the pristine stator. But for the open cross-section, errors occur due to the rigidity overestimation, which is not recommended.
By using the proposed homogenization method, a full-circle physical replacement with the box cross-section is established for a single-stage stator FE model in engineering. The effectiveness of the physical replacement is verified through modal analyses. Comparing with the pristine stator, the relative error of the natural frequencies of flexural motions with nodal diameters 6–15 is less than 5%. The physical replacement decreases the DOFs from 626,400 to 60,480, and the calculation time is reduced by around 80%.

Author Contributions

Conceptualization, Y.F. and L.L.; Methodology, Y.F.; Validation, W.W., Y.F., Y.Z. and Z.S.; Formal analysis, Y.F.; Investigation, W.W.; Resources, L.L., Y.Z. and Z.S.; Data curation, W.W.; Writing—original draft, W.W.; Writing—review & editing, Y.F.; Supervision, L.L.; Funding acquisition, L.L. All authors have read and agreed to the published version of the manuscript.

Funding

This work was funded by Major Projects of Aero-Engines and Gas Turbines (J2019-IV-0023-0091 and J2019-IV-0005-0073), Aeronautical Science Foundation of China (2019ZB051002), and Advanced Jet Propulsion Creativity Center (HKCX2020-02-013, HKCX2020-02-016 and HKCX2022-01-009).

Data Availability Statement

The data presented in this study is available on request from the corresponding author.

Conflicts of Interest

The authors declare no conflict of interest.

Appendix A

The coefficients β 0 4 in Equation (12) are expressed as follows:
β 4 = E I E Γ k G A β 3 = E I E Γ m ω 2 E I G J k G A + E Γ k G A I c ω 2 β 2 = E Γ I c m ω 4 E I k G A I s ω 2 E I G J m ω 2 G J I c k G A ω 2 E Γ k G A m ω 2 β 1 = E I e 2 m 2 ω 4 E I I s m ω 4 G J I c m ω 4 k G A I c I s ω 4 + G J k G A m ω 2 β 0 = I c e 2 m 2 ω 6 k G A e 2 m 2 ω 4 I c I s m ω 6 + k G A I s m ω 4

References

  1. Chen, G. Simulation of casing vibration resulting from blade-casing rubbing and its verifications. J. Sound Vib. 2016, 361, 190–209. [Google Scholar] [CrossRef]
  2. Ma, H.; Yin, F.; Wu, Z.; Tai, X.; Wen, B. Nonlinear vibration response analysis of a rotor-blade system with blade-tip rubbing. Nonlinear Dyn. 2016, 84, 1225–1258. [Google Scholar] [CrossRef]
  3. Jacquet-Richardet, G.; Torkhani, M.; Cartraud, P.; Thouverez, F.; Baranger, T.N.; Herran, M.; Gibert, C.; Baguet, S.; Almeida, P.; Peletan, L. Rotor to stator contacts in turbomachines. Review and application. Mech. Syst. Signal. Proc. 2013, 40, 401–420. [Google Scholar] [CrossRef]
  4. Craig, R.R.; Bampton, M.C.C. Coupling of substructures for dynamic analyses. AIAA J. 1968, 6, 1313–1319. [Google Scholar] [CrossRef]
  5. Castanier, M.P.; Tan, Y.-C.; Pierre, C. Characteristic Constraint Modes for Component Mode Synthesis. AIAA J. 2001, 39, 1182–1187. [Google Scholar] [CrossRef]
  6. Saeb, S.; Steinmann, P.; Javili, A. Aspects of Computational Homogenization at Finite Deformations: A Unifying Review From Reuss’ to Voigt’s Bound. Appl. Mech. Rev. 2016, 68, 21. [Google Scholar] [CrossRef]
  7. Liu, Y.; Castañeda, P.P. Homogenization estimates for the average behavior and field fluctuations in cubic and hexagonal viscoplastic polycrystals. J. Mech. Phys. Solids 2004, 52, 1175–1211. [Google Scholar] [CrossRef]
  8. Guo, Z.; Shi, X.; Chen, Y.; Chen, H.; Peng, X.; Harrison, P. Mechanical modeling of incompressible particle-reinforced neo-Hookean composites based on numerical homogenization. Mech. Mater. 2014, 70, 1–17. [Google Scholar] [CrossRef]
  9. Yang, Y.; Mace, B.R.; Kingan, M.J. A wave and finite element based homogenized model for predicting sound transmission through honeycomb panels. J. Sound Vib. 2019, 463, 114963. [Google Scholar] [CrossRef]
  10. Del Vescovo, D.; Giorgio, I. Dynamic problems for metamaterials: Review of existing models and ideas for further research. Int. J. Eng. Sci. 2014, 80, 153–172. [Google Scholar] [CrossRef]
  11. Boutin, C.; Becot, F.X. Theory and experiments on poro-acoustics with inner resonators. Wave Motion 2015, 54, 76–99. [Google Scholar] [CrossRef]
  12. Sun, X.; Zhou, C.; Ichchou, M.; Lainé, J.P.; Zine, A.M. Multi-scale homogenization of transversal waves in periodic composite beams. Int. J. Appl. Mech. 2017, 9, 1750039. [Google Scholar] [CrossRef]
  13. Chesnais, C.; Boutin, C.; Hans, S. Effects of the local resonance on the dynamic behavior of periodic frame structures. In Proceedings of the International Conference on Structural Dynamic (EURODYN), Porto, Portugal, 30 June–2 July 2014; pp. 3447–3453. [Google Scholar]
  14. Renton, J.D. The beam-like behavior of space trusses. AIAA J. 1984, 22, 273–280. [Google Scholar] [CrossRef]
  15. Hans, S.; Boutin, C. Dynamics of discrete framed structures: A unified homogenized description. J. Mech. Mater. Struct. 2008, 3, 1709–1739. [Google Scholar] [CrossRef]
  16. Zhou, C.; Sun, X.; Ichchou, M.; Zine, A.M.; Lainé, J.P.; Hans, S.; Boutin, C. Investigation of dynamics of discrete framed structures by a numerical wave-based method and an analytical homogenization approach. Chin. J. Aeronaut. 2017, 30, 66–74. [Google Scholar] [CrossRef]
  17. Geoffroy-Donders, P.; Allaire, G.; Pantz, O. 3-d topology optimization of modulated and oriented periodic microstructures by the homogenization method. J. Comput. Phys. 2020, 401, 108994. [Google Scholar] [CrossRef]
  18. Groen, J.P.; Stutz, F.C.; Aage, N.; Bærentzen, J.A.; Sigmund, O. De-homogenization of optimal multi-scale 3D topologies. Comput. Methods Appl. Mech. Eng. 2020, 364, 112979. [Google Scholar] [CrossRef]
  19. Kanit, T.; Forest, S.; Galliet, I.; Mounoury, V.; Jeulin, D. Determination of the size of the representative volume element for random composites: Statistical and numerical approach. Int. J. Solids Struct. 2003, 40, 3647–3679. [Google Scholar] [CrossRef]
  20. Ghosh, S.; Lee, K.; Moorthy, S. Two scale analysis of heterogeneous elastic-plastic materials with asymptotic homogenization and Voronoi cell finite element model. Comput. Methods Appl. Mech. Eng. 1996, 132, 63–116. [Google Scholar] [CrossRef]
  21. Mead, D.M. Wave propagation in continuous periodic structures: Research contributions from southampton, 1964–1995. J. Sound Vib. 1996, 190, 495–524. [Google Scholar] [CrossRef]
  22. Ichchou, M.N.; Mencik, J.M.; Zhou, W. Wave finite elements for low and mid-frequency description of coupled structures with damage. Comput. Methods Appl. Mech. Eng. 2009, 198, 1311–1326. [Google Scholar] [CrossRef]
  23. Souf, M.A.b.; Ichchou, M.N.; Bareille, O.; Haddar, M. On the dynamics of uncertain coupled structures through a wave-based method in mid- and high-frequency ranges. Comput. Mech. 2013, 52, 849–860. [Google Scholar] [CrossRef]
  24. Fan, Y.; Collet, M.; Ichchou, M.; Li, L.; Bareille, O.; Dimitrijevic, Z. Enhanced wave and finite element method for wave propagation and forced response prediction in periodic piezoelectric structures. Chin. J. Aeronaut. 2017, 30, 75–87. [Google Scholar] [CrossRef]
  25. Zhong, W.X.; Williams, F.W. On the direct solution of wave propagation for repetitive structures. J. Sound Vib. 1995, 181, 485–501. [Google Scholar] [CrossRef]
  26. Zhong, W.X.; Williams, F.W.; Leung, A.Y.T. Symplectic analysis for periodical electro-magnetic waveguides. J. Sound Vib. 2003, 267, 227–244. [Google Scholar] [CrossRef]
  27. Waki, Y.; Mace, B.R.; Brennan, M.J. Free and forced vibrations of a tyre using a wave/finite element approach. J. Sound Vib. 2009, 323, 737–756. [Google Scholar] [CrossRef]
  28. Hoang, T.; Duhamel, D.; Foret, G. Wave finite element method for waveguides and periodic structures subjected to arbitrary loads. Finite Elem. Anal. Des. 2020, 179, 103437. [Google Scholar] [CrossRef]
  29. Pahlevani, L.; Duhamel, D.; Cumunel, G.; Hai-Ping, Y. Comparison of different tyre models for tyre/road noise applications. Int. J. Veh. Noise Vib. 2018, 14, 16–37. [Google Scholar] [CrossRef]
  30. Denis, V.; Mencik, J.-M. A wave-based optimization approach of curved joints for improved defect detection in waveguide assemblies. J. Sound Vib. 2020, 465, 115003. [Google Scholar] [CrossRef]
  31. Zhou, C.W.; Sun, X.K.; Lainé, J.P.; Ichchou, M.N.; Zine, A.; Hans, S.; Boutin, C. Wave Propagation Feature in Two-Dimensional Periodic Beam Lattices with Local Resonance by Numerical Method and Analytical Homogenization Approach. Int. J. Appl. Mech. 2018, 10, 1850042. [Google Scholar] [CrossRef]
  32. Waki, Y.; Mace, B.R.; Brennan, M.J. Numerical issues concerning the wave and finite element method for free and forced vibrations of waveguides. J. Sound Vib. 2009, 327, 92–108. [Google Scholar] [CrossRef]
  33. Wang, W.; Fan, Y.; Li, L. Extending Zhong-Williams scheme to solve repeated-root wave modes. J. Sound Vib. 2021, 519, 116584. [Google Scholar] [CrossRef]
  34. Hutchinson, J.R. Shear coefficients for Timoshenko beam theory. J. Appl. Mech. Trans. ASME 2001, 68, 87–92. [Google Scholar] [CrossRef]
  35. Bercin, A.N.; Tanaka, M. Coupled flexural-torsional vibrations of Timoshenko beams. J. Sound Vib. 1997, 207, 47–59. [Google Scholar] [CrossRef]
  36. Yaman, Y. Vibrations of open-section channels: A coupled flexural and torsional wave analysis. J. Sound Vib. 1997, 204, 131–158. [Google Scholar] [CrossRef]
  37. Chajes, A. Principles of Structural Stability Theory (Civil Engineering and Engineering Mechanics Series); Prentice Hall: Hoboken, NJ, USA, 1974; Volume 20. [Google Scholar] [CrossRef]
  38. Pavazza, R. Torsion of thin-walled beams of open cross-section with influence of shear. Int. J. Mech. Sci. 2005, 47, 1099–1122. [Google Scholar] [CrossRef]
  39. Gil-Martín, L.M.; Hernández-Montes, E. Principal Sectorial coordinate system. Arch. Appl. Mech. 2020, 90, 305–312. [Google Scholar] [CrossRef]
Figure 1. FE model of stator (a) a unit cell (b) full circle with 90 cells.
Figure 1. FE model of stator (a) a unit cell (b) full circle with 90 cells.
Aerospace 09 00837 g001
Figure 2. Technical route for homogenization.
Figure 2. Technical route for homogenization.
Aerospace 09 00837 g002
Figure 3. Unit Cell in circumferential direction.
Figure 3. Unit Cell in circumferential direction.
Aerospace 09 00837 g003
Figure 4. Dispersion curves of the stator cell (a) real part (b) imaginary part.
Figure 4. Dispersion curves of the stator cell (a) real part (b) imaginary part.
Aerospace 09 00837 g004
Figure 5. Shapes of (a) wave 1 at 140 Hz, (b) wave 2 at 5000 Hz, (c) wave 3 at 140 Hz, (d) wave 4 at 5000 Hz, (e) wave 6 at 5000 Hz, (f) Wave 5 at 1200 Hz, (g) wave 7 at 5000 Hz.
Figure 5. Shapes of (a) wave 1 at 140 Hz, (b) wave 2 at 5000 Hz, (c) wave 3 at 140 Hz, (d) wave 4 at 5000 Hz, (e) wave 6 at 5000 Hz, (f) Wave 5 at 1200 Hz, (g) wave 7 at 5000 Hz.
Aerospace 09 00837 g005
Figure 6. Segment of beam with arbitrary section and its coordinate system.
Figure 6. Segment of beam with arbitrary section and its coordinate system.
Aerospace 09 00837 g006
Figure 7. Illustrations of three external loads applied on the FE model of the stator: ① bending moment M 1 N m ② shear force Q 1 N ③ torsional moment T 1 N m .
Figure 7. Illustrations of three external loads applied on the FE model of the stator: ① bending moment M 1 N m ② shear force Q 1 N ③ torsional moment T 1 N m .
Aerospace 09 00837 g007
Figure 8. Dispersion curves of analytical description: FT beam and FTCT beam.
Figure 8. Dispersion curves of analytical description: FT beam and FTCT beam.
Aerospace 09 00837 g008
Figure 9. Cross-sections of physical replacements: (a) I, (b) box, and (c) open.
Figure 9. Cross-sections of physical replacements: (a) I, (b) box, and (c) open.
Aerospace 09 00837 g009
Figure 10. The sectorial coordinate of open cross-section. The sectorial axis initiates from O ( p ) to p 1 , p 2 and terminates at p 3 .
Figure 10. The sectorial coordinate of open cross-section. The sectorial axis initiates from O ( p ) to p 1 , p 2 and terminates at p 3 .
Aerospace 09 00837 g010
Figure 11. Cross-sections of beams found by GA: (a) I, (c) box, and (e) open cross-sections for FT beams; (b) I, (d) box, and (f) open cross-sections for FTCT beams.
Figure 11. Cross-sections of beams found by GA: (a) I, (c) box, and (e) open cross-sections for FT beams; (b) I, (d) box, and (f) open cross-sections for FTCT beams.
Aerospace 09 00837 g011aAerospace 09 00837 g011b
Figure 12. Dispersion curves of physical replacements with (a,b) I, (c,d) box, and (e,f) open cross-sections. The black lines are numerical solutions of the pristine stator. The solid lines with circles are analytical solutions of the analytical descriptions. The dash dot lines with rhombuses are analytical solutions of the beams with the six cross-sections. The red lines are numerical solutions of physical replacements.
Figure 12. Dispersion curves of physical replacements with (a,b) I, (c,d) box, and (e,f) open cross-sections. The black lines are numerical solutions of the pristine stator. The solid lines with circles are analytical solutions of the analytical descriptions. The dash dot lines with rhombuses are analytical solutions of the beams with the six cross-sections. The red lines are numerical solutions of physical replacements.
Aerospace 09 00837 g012aAerospace 09 00837 g012b
Figure 13. Full circle of physical replacement with box cross-section.
Figure 13. Full circle of physical replacement with box cross-section.
Aerospace 09 00837 g013
Figure 14. Shapes of (a) 2nd and (c) 6th nodal diameter modes of the stator, (b) 2nd and (d) 6th nodal diameter modes of the physical replacement with the box cross-section.
Figure 14. Shapes of (a) 2nd and (c) 6th nodal diameter modes of the stator, (b) 2nd and (d) 6th nodal diameter modes of the physical replacement with the box cross-section.
Aerospace 09 00837 g014
Table 1. Three wave motions in Figure 5.
Table 1. Three wave motions in Figure 5.
Wave MotionWave
Flexural1 (140 Hz), 2 (5000 Hz)
Flexural-torsional coupled3 (140 Hz), 4 (5000 Hz), 6 (5000 Hz)
Longitudinal5 (1200 Hz), 7 (5000 Hz)
Table 2. Properties of the FT and FTCT beams.
Table 2. Properties of the FT and FTCT beams.
PropertiesMechanical DefinitionFormula
E I ( N mm 2 ) bending moment M caused by unit curvature γ M / γ
k G A ( N ) shear force Q caused by unit shear deformation Q / d v / d x θ
G J ( N mm 2 ) torsional moment T is resisted by the torsional and warping rigidities [37] T = G J d φ d x E Γ d 3 φ d x 3
E Γ ( N mm 4 )
e ( mm ) distance from the centroid to the shear center V r s d m / m c
I c ( kg mm ) mass moment of inertia with respect to the centroid per unit length V r c 2 ρ d V / Δ R N
I s ( kg mm ) mass moment of inertia with respect to the shear center per unit length I c + m e 2
m kg / mm mass per unit length m c / Δ R N
Table 3. Rigidities optimized by GA.
Table 3. Rigidities optimized by GA.
Rigidities E I N mm 2 k G A N G J N mm 2 E Γ N mm 4
Beams
Initial FT2.675 × 1091.878 × 105------
Optimal FT4.747 × 1091.466 × 105------
Initial FTCT4.961 × 10114.647 × 1072.571 × 1081.925 × 1013
Optimal FTCT8.713 × 10117.123 × 1074.254 × 1081.354 × 1013
Table 4. Properties computed by analytical integrals.
Table 4. Properties computed by analytical integrals.
Properties e mm I c kg mm I s kg mm m kg / mm
16.46235.16.65.5662 × 10−3
Table 5. Properties of I, box, open cross-sections.
Table 5. Properties of I, box, open cross-sections.
PropertiesFormulaDefinition
E I ( N mm 2 ) E A r a 2 ρ d A r a : distance from surface element to centroid
k G A ( N ) G A web A web : area of web plate
G J ( N mm 2 ) G A r t 2 d A r t : distance from surface element d A to the torsional center
E Γ ( N mm 4 ) E p ω n 2 t d p ω n : principal sectorial coordinate; p : a sectorial axis
e ( mm ) z t 2 + y t 2 ( z t , y t ) : the coordinates of torsional center
I c ( kg mm ) ------
I s ( kg mm ) ------
m kg / mm ρ A A : area of cross-section
Table 6. Optimization constraints.
Table 6. Optimization constraints.
MinimumMaximum
t 1 3 mm 02
t 1 3 mm 030
E N / mm 2 0.19600 × 1050.19600 × 107
ν 00.5
ρ kg / m 3 0.78600 × 1030.78600 × 105
Table 7. Mode frequency of flexural motion.
Table 7. Mode frequency of flexural motion.
Nodal DiameterStator (Hz)Box Cross-Section (Hz)Relative Error (%)
247.94127.01843.64
3115.9573.06336.98
4171.3132.1822.83
5227.66205.129.90
6286.42280.32.13
7348.5350.460.56
8414.56429.143.51
9485.09508.644.85
10560.45555.930.80
11640.92659.332.87
12726.68746.962.79
13817.87825.490.93
14914.54903.371.22
151016.7980.563.55
161124.21057.15.96
1712371132.88.42
Publisher’s Note: MDPI stays neutral with regard to jurisdictional claims in published maps and institutional affiliations.

Share and Cite

MDPI and ACS Style

Wang, W.; Fan, Y.; Li, L.; Zhang, Y.; Song, Z. A Homogenization Method for Replacement Stator Models in an Aero-Engine. Aerospace 2022, 9, 837. https://doi.org/10.3390/aerospace9120837

AMA Style

Wang W, Fan Y, Li L, Zhang Y, Song Z. A Homogenization Method for Replacement Stator Models in an Aero-Engine. Aerospace. 2022; 9(12):837. https://doi.org/10.3390/aerospace9120837

Chicago/Turabian Style

Wang, Wenjun, Yu Fan, Lin Li, Yuning Zhang, and Zhiqiang Song. 2022. "A Homogenization Method for Replacement Stator Models in an Aero-Engine" Aerospace 9, no. 12: 837. https://doi.org/10.3390/aerospace9120837

APA Style

Wang, W., Fan, Y., Li, L., Zhang, Y., & Song, Z. (2022). A Homogenization Method for Replacement Stator Models in an Aero-Engine. Aerospace, 9(12), 837. https://doi.org/10.3390/aerospace9120837

Note that from the first issue of 2016, this journal uses article numbers instead of page numbers. See further details here.

Article Metrics

Back to TopTop