A Stationary Reference Frame Current Control Algorithm for Improvement of Transient Dynamics of a Single Phase Grid Connected Inverter
Abstract
:1. Introduction
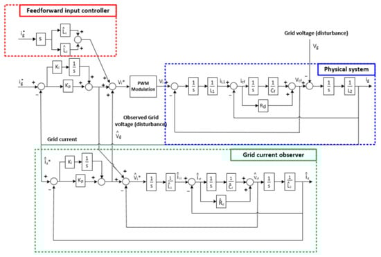
2. Command Feedforward Control for a GCI Current Control System
3. Disturbance Rejection Control for Single-Phase GCI Current Control Systems
4. Simulation Results and Analysis
5. Experimental Results
6. Conclusions
Author Contributions
Funding
Acknowledgments
Conflicts of Interest
References
- Albatran, S.; Smadi, I.; Ahmad, H.; Koran, A. Online optimal switching frequency selection for grid connected voltage source inverters. Electronics 2017, 6, 110. [Google Scholar]
- Baek, J.; Choi, W.; Chae, S. Distributed control strategy for autonomous operation of hybrid AC/DC microgrid. Energies 2017, 10, 373. [Google Scholar]
- Ngo, T.; Lee, K.; Won, J.; Nam, K. Study of single-phase bidirectional battery charger for high power application. In Proceedings of the 7th International Power Electronics and Motion Control Conference, Harbin, China, 2–5 June 2012; pp. 958–962. [Google Scholar]
- Jain, S.; Agarwal, V. A single stage grid connected inverter topology for solar PV systems with maximum power point tracking. IEEE Trans. Power Electr. 2007, 22, 1928–1940. [Google Scholar]
- Guan, Q.; Zhang, Y.; Kang, Y.; Guerrero, J. Single phase phase locked loop based on derivative elements. IEEE Trans. Power Electr. 2016, 32, 4411–4420. [Google Scholar]
- Lai, N.; Kim, K. An Improved Current Control Strategy for a Grid-Connected Inverter under Distorted Grid Conditions. Energies 2016, 9, 190. [Google Scholar]
- Zhang, Q.; Sun, X.; Zhong, Y.; Matsui, M.; Ren, B. Analysis and design of a digital phase locked loop for single phase grid connected power conversion systems. IEEE Trans. Ind. Appl. 2011, 58, 3581–3592. [Google Scholar]
- Brabandere, K.; Loix, T.; Engelen, K.; Bolsen, B.; van den Keybus, J.; Driesen, J.; Belman, R. Design and operation of a phase locked loop with Kalman Estimator-based filter for single-phase applications. In Proceedings of the IECON 2006—32nd Annual Conference on IEEE Industrial Electronics, Paris, France, 6–10 November 2006. [Google Scholar]
- Teodorescu, R.; Blaabjerg, F.; Liserre, M.; Loh, P. Proportional resonant controllers and filters for grid connected voltage source converters. IET Proc. Electr. Power Appl. 2006, 153, 750–762. [Google Scholar]
- Shen, G.; Zhu, X.; Zhang, J.; Xu, D. A new feedback method for PR current control of LCL filter based grid connected inverter. IEEE Trans. Ind. Appl. 2010, 57, 2033–2041. [Google Scholar]
- Rodriguez, P.; Luna, A.; Munoz-Aguilar, R.; Etxeberria-Otadui, I.; Teodorescu, R.; Blaabjerg, F. A stationary reference frame grid synchronization system for thee phase grid connected power converters under adverse grid conditions. IEEE Trans. Power Electr. 2012, 27, 99–112. [Google Scholar]
- Vasquez, J.; Guerrero, J.; Savaghebi, M.; Garcia, J.E.; Teodorescu, R. Modeling, Analysis, and Design of Stationary-Reference-Frame Droop-Controlled Parallel Three-Phase Voltage Source Inverters. IEEE Trans. Ind. Electr. 2013, 60, 1271–1280. [Google Scholar]
- Ryan, M.J.; Brumsickle, W.E.; Lorenz, R.D. Control topology options for single phase UPS inverters. IEEE Trans. Ind. Appl. 1997, 33, 493–501. [Google Scholar]
- Abdel-Rahim, N.M.; Quaicoe, J.E. Analysis and design of a multiple feedback loop control strategy for single phase voltage source UPS inverter. IEEE Trans. Power Electr. 1996, 11, 532–541. [Google Scholar]
- Ma, L.; Luna, A.; Rocabert, J.; Munos, R.; Corcoles, F.; Rodriguez, P. Voltage feed-forward performance in stationary reference frame controllers for wind power applications. In Proceedings of the 2011 International Conference on Power Engineering, Energy and Electrical Drives, Malaga, Spain, 11–13 May 2011. [Google Scholar]
- Zmood, N.; Holmes, D. Stationary frame current regulation of PWM inverters with zero steady state error. IEEE Trans. Power Electr. 2003, 18, 814–822. [Google Scholar]
- Ahmed, K.; Massoud, A.; Finney, S.; Williams, B. A modified stationary reference frame based predictive current control with zero steady state error for LCL coupled inverter based distributed generation systems. IEEE Trans. Ind. Electr. 2011, 58, 1359–1370. [Google Scholar]
- Chen, W.H.; Ballance, D.J.; Gawthrop, P.J.; Member, S.; Reilly, J.O.; Member, S. A Nonlinear Disturbance Observer for Robotic Manipulators. IEEE Trans. Ind. Electr. 2000, 47, 932–938. [Google Scholar]
- Sariyildiz, E.; Ohnishi, K. Stability and robustness of disturbance observer-based motion control systems. IEEE Trans. Ind. Electr. 2015, 62, 414–422. [Google Scholar]
- Pizzocaro, M.; Calonico, D.; Calosso, C.; Clivati, C.; Costanzo, G.A.; Levi, F.; Mura, A. Active disturbance rejection control of temperature for ultra-stable optical cavities. IEEE Trans. Ultrason. Ferroelectr. Freq. Control 2013, 60, 273–280. [Google Scholar] [PubMed]
- Yang, J.; Cui, H.; Li, S.; Zolotas, A. Optimized Active Disturbance Rejection Control for DC-DC Buck Converters with Uncertainties Using a Reduced-Order GPI Observer. IEEE Trans. Circuits Syst. I Regul. Papers 2018, 65, 832–841. [Google Scholar]
- Zhao, X.; Chang, L. Active and reactive power decoupling control of grid connected inverters in stationary reference frame. Chin. J. Electr. Eng. 2017, 3, 18–24. [Google Scholar]











| L1 | Inverter side LCL filter inductance | ig | Grid current |
| L2 | Grid side LCL filter inductance | Vg | Grid voltage |
| Cf | LCL filter capacitance | KP | Proportional controller gain |
| Rd | Damping resistance | Ki | Integral controller gain |
| Parameter | Value | Parameter | Value |
|---|---|---|---|
| Grid voltage (Vg) | 110 [VAC] | Inverter side inductor (L1) | 1.5 [mH] |
| Frequency | 50 [Hz] | Filter capacitor (Cf) | 2.75 [μF] |
| DC link voltage | 350 [VDC] | Damping resistor (Rd) | 4.9 [Ω] |
| Switching frequency | 10 [kHz] | Grid side inductor (L2) | 1 [mH] |
| Proportional gain (Kp) | 10 | Integral gain (Ki) | 40,000 |
| Control Method | Reference Frame | THD | Inverter Side Current (iL1) | Grid Side Current (ig) |
|---|---|---|---|---|
| PI controller (Proposed) | Stationary | 4.4 [%] | 11.98 [Arms] | 7.07 [Arms] |
| PR controller | Stationary | 5 [%] | 11.93 [Arms] | 7.08 [Arms] |
| PI controller | Synchronous | 4.2 [%] | 8.05 [Arms] | 7.07 [Arms] |
| Control Method | Reference Frame | Peak Current [Apeak] | Reduction Ratio | |
|---|---|---|---|---|
| without DRC | with DRC | |||
| PI controller (Proposed) | Stationary | 20.15 | 18.21 | 9.6% |
| PR controller | Stationary | 19.43 | 17.71 | 8.8% |
| PI controller | Synchronous | 19.96 | 18.09 | 9.3% |
© 2020 by the authors. Licensee MDPI, Basel, Switzerland. This article is an open access article distributed under the terms and conditions of the Creative Commons Attribution (CC BY) license (http://creativecommons.org/licenses/by/4.0/).
Share and Cite
Jeong, H.; Lee, J.S. A Stationary Reference Frame Current Control Algorithm for Improvement of Transient Dynamics of a Single Phase Grid Connected Inverter. Electronics 2020, 9, 722. https://doi.org/10.3390/electronics9050722
Jeong H, Lee JS. A Stationary Reference Frame Current Control Algorithm for Improvement of Transient Dynamics of a Single Phase Grid Connected Inverter. Electronics. 2020; 9(5):722. https://doi.org/10.3390/electronics9050722
Chicago/Turabian StyleJeong, Horyeong, and Jae Suk Lee. 2020. "A Stationary Reference Frame Current Control Algorithm for Improvement of Transient Dynamics of a Single Phase Grid Connected Inverter" Electronics 9, no. 5: 722. https://doi.org/10.3390/electronics9050722
APA StyleJeong, H., & Lee, J. S. (2020). A Stationary Reference Frame Current Control Algorithm for Improvement of Transient Dynamics of a Single Phase Grid Connected Inverter. Electronics, 9(5), 722. https://doi.org/10.3390/electronics9050722
