A 0.8–8 GHz Multi-Section Coupled Line Balun
Abstract
:1. Introduction
2. Coupled Line Balun Theory

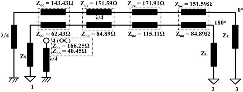
3. Design Explanation

| Section 1 | Section 2 | Section 3 | Section 4 | OC | |
|---|---|---|---|---|---|
| Zoe (Ω) | 142.43 | 151.59 | 171.91 | 151.59 | 166.25 |
| Zoo (Ω) | 62.43 | 84.89 | 115.11 | 84.89 | 40.45 |
| Metal width (mm) | 0.6 | 0.4 | 0.2 | 0.4 | 0.5 |
| Trace spacing (mm) | 0.4 | 0.8 | 1.2 | 0.8 | 0.05 |

4. Results and Discussion

| Reference | Absolute Bandwidth (GHz) | Vias | Complexity | Area (in terms of λ2) |
|---|---|---|---|---|
| [2] | 1–7.5 | Yes | Many vias make design complex | 0.61 × 1.17 |
| [3] | 0.5–3.5 | No | Modified ground plane | 0.44 × 1.02 |
| [4] | 0.8–3.2 | No | Intercrossing after each stage | 0.44 × 1.17 |
| [5] | 1–2.25 | No | Fractal geometry | 0.42 × 0.44 |
| [6] | 1.7–3.3 | Yes | Less complex | 0.58 × 1.02 |
| [7] | 6.11–13.83 | Yes | Multi-layered | 0.48 × 0.76 |
| [8] | 0.72–2.05 | Yes | Less complex | 0.90 × 1.04 |
| This work | 0.8–8 | No | Less complex | 0.36 × 1.00 |



5. Conclusions
Acknowledgments
Author Contributions
Conflicts of Interest
References
- Sturdivant, R. Balun designs for wireless, mixers, amplifiers and antennas. Appl. Microwaves 1993, 5, 34–44. [Google Scholar]
- Xu, Z.; MacEachern, L. Optimum design of wideband compensated and uncompensated Marchand Baluns with step transformers. IEEE Trans. Microw. Theory Tech. 2009, 57, 2064–2071. [Google Scholar] [CrossRef]
- Ang, K.S.; Leong, Y.C.; Lee, C.H. Multisection impedance-transforming coupled-line baluns. IEEE Trans. Microw. Theory Tech. 2003, 51, 536–541. [Google Scholar] [CrossRef]
- Lim, J.S.; Park, U.H.; Koo, J.J.; Jeong, Y.C.; Ahn, D. A 800- to 3200-MHz wideband CPW balun using multistage Wilkinson structure. In Proceedings of IEEE MTT-S International Microwave Symposium Digest, San Francisco, CA, USA, 11–16 June 2006; pp. 1141–1144.
- Xu, H.X.; Wang, G.M.; Chen, X.; Li, T.P. Broadband balun using fully artificial fractal shaped composite right/left handed transmission line. IEEE Microw. Wireless Compon. Lett. 2012, 22, 16–18. [Google Scholar] [CrossRef]
- Zhang, Z.Y.; Guo, Y.G.; Ong, L.C.; Chia, M.Y.W. A new wide-band planar balun on a single-layer PCB. IEEE Microw. Wireless Compon. Lett. 2005, 15, 416–418. [Google Scholar] [CrossRef]
- Peng, W.; Quan, X. A wideband microstrip balun structure. In Proceedings of IEEE MTT-S International Microwave Symposium (IMS), Tampa, FL, USA, 1–6 June 2014; pp. 1–3.
- Jin, S.; Rongguo, Z.; Chang, C.; Hyoungsoo, K.; Hualiang, Z. Design of a wideband balun using parallel strips. IEEE Microw. Wireless Compon. Lett. 2013, 23, 125–127. [Google Scholar] [CrossRef]
- Nguyen, P.T.; Abbosh, A.; Crozier, S. Wideband and compact quasi-Yagi antenna intergrated with balun of microstrip to slotline transitions. Electron. Lett. 2013, 49, 88–89. [Google Scholar] [CrossRef]
- Mongia, R.K.; Bahl, I.J.; Bhartia, P.; Hong, J. RF and Microwave Coupled-line Circuits, 2nd ed.; Artech Publications: Norwood, MA, USA, 2007. [Google Scholar]
- Leong, Y.C.; Ang, K.S.; Lee, C.H. A derivation of a class of 3-port baluns from symmetrical 4-port networks. In Proceedings of IEEE MTT-S International Microwave Symposium Digest, Seattle, WA, USA, 2–7 June 2002; pp. 1165–1168.
- ANSYS-High Frequency Structure Simulator (HFSS); Ansys. Inc.: Canonsburg, PA, USA, 2011.
© 2015 by the authors; licensee MDPI, Basel, Switzerland. This article is an open access article distributed under the terms and conditions of the Creative Commons Attribution license (http://creativecommons.org/licenses/by/4.0/).
Share and Cite
Itapu, S.; Almalkawi, M.; Devabhaktuni, V. A 0.8–8 GHz Multi-Section Coupled Line Balun. Electronics 2015, 4, 274-282. https://doi.org/10.3390/electronics4020274
Itapu S, Almalkawi M, Devabhaktuni V. A 0.8–8 GHz Multi-Section Coupled Line Balun. Electronics. 2015; 4(2):274-282. https://doi.org/10.3390/electronics4020274
Chicago/Turabian StyleItapu, Srikanth, Mohammad Almalkawi, and Vijay Devabhaktuni. 2015. "A 0.8–8 GHz Multi-Section Coupled Line Balun" Electronics 4, no. 2: 274-282. https://doi.org/10.3390/electronics4020274
APA StyleItapu, S., Almalkawi, M., & Devabhaktuni, V. (2015). A 0.8–8 GHz Multi-Section Coupled Line Balun. Electronics, 4(2), 274-282. https://doi.org/10.3390/electronics4020274
