Stray Light Analysis and Elimination of an Optical System Based on the Structural Optimization Design of an Airborne Camera
Abstract
:1. Introduction
2. Theory and Methods
2.1. Theoretical Basis of Stray Light Analysis
2.2. Model of the Optomechanical System
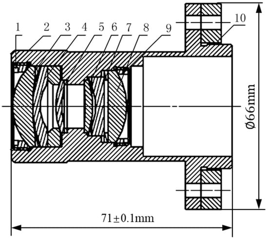
2.2.1. Optical System Design
2.2.2. Baffle and Vane Design
3. Calculation and Results
3.1. Analysis of Stray Light
3.2. Ray Tracing and Result Analysis
4. Conclusions
Author Contributions
Funding
Institutional Review Board Statement
Informed Consent Statement
Data Availability Statement
Conflicts of Interest
References
- Szantoi, Z.; Smith, S.E.; Strona, G.; Koh, L.P.; Wich, S.A. Mapping orangutan habitat and agricultural areas using Landsat OLI imagery augmented with unmanned aircraft system aerial photography. Int. J. Remote Sens. 2017, 38, 2231–2245. [Google Scholar] [CrossRef] [Green Version]
- Jangwon, S.; Yosoon, C. Mapping hazardous mining-induced sinkhole subsidence using unmanned aerial vehicle (drone) photogrammetry. Environ. Earth Sci. 2017, 76, 144. [Google Scholar]
- Evers, R.; Masters, P. The application of low-altitude near-infrared aerial photography for detecting clandestine burials using a UAV and low-cost unmodified digital camera. Forensic. Sci. Int. 2018, 289, 408–418. [Google Scholar] [CrossRef] [Green Version]
- Powell, I. Design study of an infrared panoramic optical system. Appl. Opt. 1996, 35, 6190–6194. [Google Scholar] [CrossRef]
- McDermid, I.S.; Walsh, T.D.; Deslis, A.; White, M.L. Optical systems design for a stratospheric lidar system. Appl. Opt. 1995, 34, 6201–6210. [Google Scholar] [CrossRef] [PubMed]
- Patrick, F.B.; Scidmore, W.H. Optical System Design for Telescopes. Appl. Opt. 1964, 3, 427–431. [Google Scholar] [CrossRef]
- Saghafi, S.; Becker, K.; Hahn, C.; Dodt, H.U. 3D-ultramicroscopy utilizing aspheric optics. J. Biophotonics 2014, 7, 117–125. [Google Scholar] [CrossRef]
- Lin, J.Q.; Jiang, C.P.; Lu, M.M.; Gao, M.H.; Guo, Q. Development of an Aspherical Aerial Camera Optical System. IEEE Photonics J. 2019, 11, 6803813. [Google Scholar] [CrossRef]
- Langridge, M.T.; Cox, D.C.; Webb, R.P.; Stolojan, V. The fabrication of aspherical microlenses using focused ion-beam techniques. Micron 2014, 57, 56–66. [Google Scholar] [CrossRef]
- Cao, Z.; Wang, K.; Wu, Q. Aspherical anamorphic lens for shaping laser diode beam. Opt. Commun. 2013, 305, 53–56. [Google Scholar] [CrossRef]
- Liao, W.; Dai, Y.; Nie, X.; Xie, X.; Song, C. Rapid fabrication technique for nanometer-precision aspherical surfaces. Appl. Opt. 2015, 54, 1629–1638. [Google Scholar] [CrossRef]
- Bo, J.Z.; Nan, L.X.; Bin, Y.B.; Yi, Z.; Bo, L. Influence and control of spherical aberration in polishing off-axis aspherical mirrors by the stressed method. Appl. Opt. 2015, 54, 291–298. [Google Scholar] [CrossRef]
- Peterson, G.L. Stray light calculation methods with optical ray trace software. Proc. SPIE 1999, 3780, 132–137. [Google Scholar]
- Talha, M.M.; Chang, J.; Wang, Y.; Zhang, T.; Cheng, D.; Sun, Z.H. Design, tolerancing and stray light analyses of a freeform HMD optical system. Optik 2010, 121, 750–755. [Google Scholar] [CrossRef]
- Kim, Y.C.; Bisschop, P.D.; Vandenberghe, G. Characterization of stray light of ArF lithographic tools: Modeling of power spectral density of an optical pupil. Microelectron. Eng. 2006, 83, 643–646. [Google Scholar] [CrossRef]
- Sandri, P.; Fineschi, S.; Romoli, M.; Taccola, M.; Landini, F.; Da Deppo, V.; Naletto, G.; Morea, D.; Naughton, D.P.; Antonucci, E. Stray-light analyses of the multielement telescope for imaging and spectroscopy coronagraph on Solar Orbiter. Opt. Eng. 2018, 57, 015108. [Google Scholar]
- Liu, D.; Wang, L.; Yang, W.; Wu, S.; Fan, B.; Wu, F. Stray light characteristics of the diffractive telescope system. Opt. Eng. 2018, 57, 025105.1–025105.6. [Google Scholar] [CrossRef] [Green Version]
- Huang, C.; Zhang, M.; Chang, Y.; Chen, F.; Han, L.; Meng, B.; Hong, J.; Luo, D.; Li, S.; Sun, L.; et al. Directional polarimetric camera stray light analysis and correction. Appl. Opt. 2019, 58, 7042–7049. [Google Scholar] [CrossRef]
- Asadnezhad, M.; Eslamimajd, A.; Hajghassem, H. Stray light analysis, baffle, and optical design of a high-resolution satellite camera. J. Appl. Remote Sens. 2018, 12, 026009. [Google Scholar] [CrossRef]
- Asadnezhad, M.; Eslamimajd, A.; Hajghassem, H. Optical system design of star sensor and stray light analysis. J. Eur. Opt. Soc. 2018, 14, 9. [Google Scholar] [CrossRef] [Green Version]
- Zhong, X.; Su, Z.; Zhang, G. Analysis and Reduction of Solar Stray Light in the Nighttime Imaging Camera of Luojia-1 Satellite. Sensors 2019, 19, 1130. [Google Scholar] [CrossRef] [PubMed] [Green Version]
- Sholl, M.J.; Grochocki, F.S.; Fleming, J.C.; Besuner, R.W.; Jelinsky, P.; Lampton, M.L. Stray light design and analysis of the SNAP Telescope. In Optical Modeling and Performance Predictions III; International Society for Optics and Photonics: San Diego, CA, USA, 14 September 2007; Volume 6675, p. 66750C. [Google Scholar]
- Mazzoli, A.; Landini, F.; Vivès, S.; Lamy, P.; Halain, J.P.; Rochus, P. Stray light analysis and optimization of the ASPIICS/PROBA-3 Formation Flying solar coronagraph. In Proceedings of the Space Telescopes and Instrumentation 2010: Optical, Infrared, and Millimeter Wave, SPIE, San Diego, CA, USA, 27 June–2 July 2010; Volume 7731, p. 773146. [Google Scholar]
- Laherrere, J.M.; Poutier, L.; Bret-Dibat, T.; Hagolle, O.; Baqué, C.; Moyer, P.; Verges, E. POLDER on-ground stray light analysis calibration, and correction. Proc. SPIE 1997, 3221, 132–140. [Google Scholar]
- Park, K.W.; Lee, J.U. A study for stray light distribution of mobile phone camera consisting of two aspheric lenses. Korean J. Opt. Photonics 2009, 20, 6–15. [Google Scholar] [CrossRef] [Green Version]










| Publisher’s Note: MDPI stays neutral with regard to jurisdictional claims in published maps and institutional affiliations. | 
© 2022 by the authors. Licensee MDPI, Basel, Switzerland. This article is an open access article distributed under the terms and conditions of the Creative Commons Attribution (CC BY) license (https://creativecommons.org/licenses/by/4.0/).
Share and Cite
Li, J.; Yang, Y.; Qu, X.; Jiang, C. Stray Light Analysis and Elimination of an Optical System Based on the Structural Optimization Design of an Airborne Camera. Appl. Sci. 2022, 12, 1935. https://doi.org/10.3390/app12041935
Li J, Yang Y, Qu X, Jiang C. Stray Light Analysis and Elimination of an Optical System Based on the Structural Optimization Design of an Airborne Camera. Applied Sciences. 2022; 12(4):1935. https://doi.org/10.3390/app12041935
Chicago/Turabian StyleLi, Jinliang, Yang Yang, Xiaohai Qu, and Chenpin Jiang. 2022. "Stray Light Analysis and Elimination of an Optical System Based on the Structural Optimization Design of an Airborne Camera" Applied Sciences 12, no. 4: 1935. https://doi.org/10.3390/app12041935
APA StyleLi, J., Yang, Y., Qu, X., & Jiang, C. (2022). Stray Light Analysis and Elimination of an Optical System Based on the Structural Optimization Design of an Airborne Camera. Applied Sciences, 12(4), 1935. https://doi.org/10.3390/app12041935
 
         
                                                
