A Cyclic Plasticity Model with Martensite Transformation for S30408 and Its Finite Element Implementation
Abstract
1. Introduction
2. Ratcheting Experiments
2.1. Specimen
2.2. Uniaxial Experiments
2.2.1. Uniaxial Tension Experiments
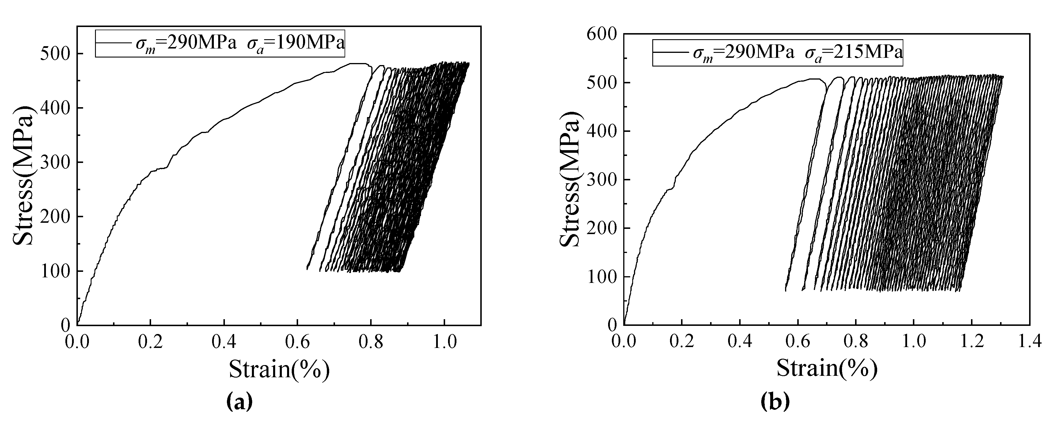
2.2.2. Uniaxial Ratcheting Experiments
3. Constitutive Model and Simulation Results with MATLAB
3.1. Several Nonlinear Constitutive Models
- Ohno-Wang model
- 2.
- AKO model and its modification
- 3.
- OW II-AF and its modified model
3.2. Parameter Determination and Ratchet Simulation of Several Typical Kinematic Hardening Models
3.3. The Constitutive Model with Martensite Transformation
- According to the study of Garion, we assumed that strain ε is divided into elastic part εe inelastic part εp and phase transformation part εbs
- The elastic part obeys Hooke’s law
- The plastic part can be stated as
- The martensitic transformation part can be expressed in terms of relative volume change Δv, due to the phase transformation [29], aswhere Va and Vm represent the unstresses specific volumes occupied by the austenite and martensite, respectively. The value of Δv is approximately 0.02–0.05, depending on the alloy composition [24].
- We assumed the material follow von Mises yield criterion, which can be given by
- The backstress is altered by the induced martensite, and the evolution law is postulated in the following form:where h is a parameter that depends on the material and can be determined by trial. Due to the existence of martensite, the backstress increment can be regarded as the sum of pure austensite and the interaction between the dislocations into the austenitic matrix and the martensite [29].
- The presence of martensite also affects the cyclic hardening law of materials, and the evolution law is postulated in the following general form:According to [28], austenitic stainless steel S30408 is characterized by rapid hardening due to martensitic transformation. The martensite content of the material increases rapidly with the increase of cumulative plastic strain, and then tends to be stable. The occurrence of martensite transformation has a certain influence on the cyclic hardening of the material, which can be attributed to isotropic hardening.where R is the isotropic hardening parameter, and p is the cumulative plastic strain. The term (1 − ξ) is added to compensate for the assumption that the martensite is elastic [29]. In reality, the martensite shall rather be considered elasto-plastic. Therefore, the contribution to the hardening of the material is slightly smaller.
- According to [28], the evolution law of the martensite content of S30408 austenitic stainless steel at 110 K presents a trend of rapid increase at first and then stability, which can be expressed as follows.
3.4. Determination of Constitutive Model Parameters
3.5. Model Prediction Results
4. Finite Element Implementations
4.1. The Basic Equation of Cyclic Plasticity Constitutive Model with Martensite Transformation
- If the material obeys von Mises yield criterion, the yield function of the material is
- Plasticity flow rule
- Kinematic hardening law
- Isotropic hardening rule
- Evolution of the martensite content
4.2. Solution of Plastic Strain by Euler Backward Method
4.3. Consistent Tangent Modulus and Calculation of Strain Increment
4.4. Embedment of Constitutive Model in the ANSYS Program and Ratchetting Prediction
4.4.1. Uniaxial Tension Verification
4.4.2. Uniaxial Ratcheting Prediction
5. Conclusions
- The proposed constitutive model with martensitic transformation reasonably predicted the ratcheting strain of S30408 at cryogenic temperatures. In the model, the influences of deformation-induced martensite on both isotropic hardening and kinematic hardening are considered.
- By comparing the simulated and the experimental values of the deformation-induced martensite content under different loading conditions, we found that the proposed model could reasonably predict the martensite content at cryogenic temperatures.
- The determination method of the model parameter ωm to control the rate of reaching the martensite saturation value requires further investigations, and may be influenced by the temperature, the loading rate, etc.
Author Contributions
Funding
Conflicts of Interest
Nomenclature
| total strain tensor | |
| elastic strain tensor | |
| inelastic strain tensor | |
| Bain strain tensor | |
| martensite content | |
| stress tensor (MPa) | |
| Young’s modulus for elasticity (GPa) | |
| Poisson’s ratio | |
| size of yield surface (MPa) | |
| yield strength (MPa) | |
| tensile strength(MPa) | |
| elongation (%) | |
| yield surface function | |
| second deviatoric stress tensor invariant | |
| isotropic hardening parameter | |
| deviatoric backstress tensor | |
| the ith component of deviatoric backstress α | |
| the magnitude of αi | |
| material constants | |
| material constants | |
| deviatoric stress | |
| Heaviside step function, x ≥ 0, H(x) = 1; x < 0, H(x) = 0 | |
| Macauley’s bracket, x ≥ 0, < x > = x; x < 0, < x > = 0 | |
| rate of change of R | |
| saturation value of R (MPa) | |
| initial value of martensite evolution | |
| limit value of martensite evolution | |
| evolution rate of martensite | |
| non-zero auxiliary diagonal matrix, [M1] = diag [1,1,1,2,2,2] | |
| non-zero auxiliary diagonal matrix, [M2] = diag [1,1,1,1/2,1/2,1/2] | |
| isotropic elastic stiffness tensor | |
| plastic modulus | |
| second-rank unit tensor | |
| normal direction of yield surface | |
| fourth-rank tensor |
References
- Shi, X.P. Gas and LNG pricing and trading hub in East Asia: An introduction. Nat. Gas Ind. 2016, 3, 352–356. [Google Scholar] [CrossRef]
- Gao, B.J.; Wang, B.; Zhai, L.H.; Shang, C.W. Random vibration analysis of the strip-supported cryogenic storage tank in transporting. J. Hebei Univ. Technol. 2018, 47, 48–52. [Google Scholar]
- Armstrong, P.J.; Frederick, C.-O. A mathematical representation of the multiaxial bauschinger effect. Mater. High. Temp. 1966, 24, 1–26. [Google Scholar]
- Chaboche, J.L. Time-independent constitutive theories for cyclic plasticity. Int. J. Plast. 1986, 2, 149–188. [Google Scholar] [CrossRef]
- Chaboche, J.L. On some modifications of kinematic hardening to improve the description of ratcheting effects. Int. J. Plast. 1991, 7, 661–678. [Google Scholar] [CrossRef]
- Ohno, N.; Wang, J.D. Kinematic hardening rules with critical state of dynamic recovery, Part I: Formulation and basic features for ratchetting behavior. Int. J. Plast. 1993, 9, 375–390. [Google Scholar] [CrossRef]
- Ohno, N.; Wang, J.D. Kinematic hardening rules with critical state of dynamic recovery, Part II: Application to experiments of ratchetting bahavior. Int. J. Plast. 1993, 9, 391–403. [Google Scholar] [CrossRef]
- Abdel-Karim, M.; Ohno, N. Kinematic hardening model suitable for ratcheting with steady-state. Int. J. Plast. 2000, 16, 225–240. [Google Scholar] [CrossRef]
- Chen, X.; Jiao, R. Modified kinematic hardening rule for multiaxial ratcheting prediction. Int. J. Plast. 2004, 20, 871–898. [Google Scholar] [CrossRef]
- Zhang, J. Constitutive Description for Non-Proportionally Ratcheting of Cyclically Hardening Material and Its Finite Element Implementation at High Temperatures. Ph.D. Thesis, Southwest Jiaotong University, Chengdu, China, 2002. [Google Scholar]
- Chen, G.; Zhao, X. Constitutive modelling on the whole-life uniaxial ratcheting behavior of sintered nano-scale silver paste at room and high temperatures. Microelectron. Reliab. 2018, 80, 47–54. [Google Scholar] [CrossRef]
- Liu, X.Y.; Dong, Y.W.; Xiao, X. Study on constitutive model of cyclic ratcheting considering memory recovery of plastic strain. Chin. J. Sol. Mech. 2018, 39, 429–437. [Google Scholar]
- Varvani-Farahani, A. A comparative study in descriptions of coupled kinematic hardening rules and ratcheting assessment over asymmetric stress cycles. Fatigue Fract. Eng. Mater. 2017, 40, 882–893. [Google Scholar] [CrossRef]
- Rahman, S.M. Finite Element Analysis and Related Numerical Schemes for Ratcheting Simulation. Ph.D. Thesis, North Carolina State University, Raleigh, NC, USA, 2006. [Google Scholar]
- Rahman, S.M.; Hassan, T.; Corona, E. Evaluation of cyclic plasticity models in ratcheting simulation of straight pipes under cyclic bending and steady internal pressure. Int. J. Plast. 2008, 24, 1756–1791. [Google Scholar] [CrossRef]
- Hassan, T.; Kyriakides, S. Ratcheting of cyclically hardening and softening materials. Int. J. Plast. 1994, 10, 149–212. [Google Scholar] [CrossRef]
- Kang, G.; Ohno, N.; Nebu, A. Constitutive modeling of strain range dependent cyclic hardening. Int. J. Plast. 2003, 19, 1801–1819. [Google Scholar] [CrossRef]
- Kalnins, A.; Rudolph, J.; Willuweit, A. Using the nonlinear kinematic hardening material model of Chaboche for elastic-plastic ratcheting analysis. J. Press. Vessel Technol. 2015, 137, 031006. [Google Scholar] [CrossRef]
- Halama, R. A modification of abdelkarim-ohno model for ratcheting simulations. Tech. Gaz. 2008, 15, 3–9. [Google Scholar]
- Chen, X.H. A Study on the Ratcheting and Shakedown Behavior of Pressurized Piping Components under Cyclic Loading. Ph.D. Thesis, Tianjin University, Tianjin, China, 2013. [Google Scholar]
- Wang, Q.; Liu, X. Non-saturated cyclic softening and uniaxial ratcheting of a high-strength steel: Experiments and viscoplastic constitutive modeling. Mech. Mater. 2017, 113, 112–125. [Google Scholar] [CrossRef]
- Olson, G.B.; Cohen, M. Kinetics of strain-induced martensitic nucleation. Met. Trans. 1975, 6A, 791–795. [Google Scholar] [CrossRef]
- Stringfellow, R.G.; Parks, D.M.; Olson, G.B. A constitutive model for transformation plasticity accompanying strain-induced martensitic transformations in metastable austenitic steels. Acta. Metall. Mater. 1992, 40, 1703–1716. [Google Scholar] [CrossRef]
- Tomita, Y.; Iwamoto, T. Constitutive modeling of trip steel and its application to the improvement of mechanical properties. Int. J. Mech. Sci. 1995, 37, 1295–1305. [Google Scholar] [CrossRef]
- Sitko, M.; Skoczeń, B. Effect of γ-α’ phase transformation on plastic adaptation to cyclic loads at cryogenic temperatures. Int. J. Solids Struct. 2012, 49, 613–634. [Google Scholar] [CrossRef]
- Xiong, Y.; Yue, Y.; He, T.T.; Fan, M.X.; Ren, F.Z.; Cao, W. Effect of rolling temperature on microstructure evolution and mechanical properties of AISI316LN austenitic stainless steel. MDPI Mater. 2018, 11, 1557. [Google Scholar] [CrossRef] [PubMed]
- Naghizadeh, M.; Mirzadeh, H. Modeling the kinetics of deformation-induced martensitic transformation in AISI 316 metastable austenitic stainless steel. Vacuum 2018, 157, 243–248. [Google Scholar] [CrossRef]
- Ji, S.Y. A Study on Cyclic Plasticity and Fatigue Mechanism of Strain Hardening S30408 Austenitic Stainless Steel. Master’s Thesis, Tianjin University, Tianjin, China, 2019. [Google Scholar]
- Garion, C.; Skoczen, B. Modeling of plastic strain-induced martensitic transformation for cryogenic applications. Int. J. Appl. Mech. 2002, 69, 755–762. [Google Scholar] [CrossRef]
- Garion, C.; Skoczen, B.; Sgobba, S. Constitutive modelling and identification of parameters of the plastic strain-induced martensitic transformation in 316L stainless steel at cryogenic temperatures. Int. J. Plast. 2006, 22, 1234–1264. [Google Scholar] [CrossRef]
- Gao, B.J. Modeling of Material Multiaxial Ratcheting and Ratcheting Prediction of Pressure Piping. Ph.D. Thesis, Tianjin University, Tianjin, China, 2005. [Google Scholar]
- Hassan, T.; Zhu, Y.; Matzen, V.-C. Improved ratcheting analysis of piping components. Int. J. Press. Vessel. Pip. 1998, 75, 643–652. [Google Scholar] [CrossRef]
- Kolasangiani, K.; Varvani-Farahani, A. Local ratcheting assessment of steel samples undergoing various step and block loading conditions. Theor. Appl. Fract. Mech. 2020, 107, 102533. [Google Scholar] [CrossRef]
- Kang, G. A visco-plastic constitutive model for ratcheting of cyclically stable materials and its finite element implementation. Mech. Mater. 2004, 36, 299–312. [Google Scholar] [CrossRef]
- Fischer, F.D. Transformation induced plasticity in triaxially loaded steel specimens subjected to a martensitic transformation. Eur. J. A Solids. 1992, 11, 233–244. [Google Scholar]
- Cherkaoui, M.; Berveiller, M.; Sabar, H. Micromechanical modeling of martensitic transformation induced plasticity (TRIP) in austenitic single crystals. Int. J. Plast. 1998, 14, 597–626. [Google Scholar] [CrossRef]
- Li, L.L. Study on Low Temperature Ratcheting Effect of Pre-Strain S30408. Master’s Thesis, Hebei University of Technology, Tianjin, China, 2019. [Google Scholar]
- Simo, J.C.; Taylor, R.L. Consistent tangent operators for rate-independent elastoplasticity. Comput. Method. Appl. Mech. Eng. 1985, 48, 101–118. [Google Scholar] [CrossRef]
- Kobayashi, M.; Ohno, N. Implementation of cyclic plasticity models based on a general form of kinematic hardening. Int. J. Numer. Meth. Eng. 2002, 53, 2217–2238. [Google Scholar] [CrossRef]
- Chen, X.H.; Chen, X.; Yu, D.J.; Gao, B.J. Recent progresses in experimental investigation and finite element analysis of ratcheting in pressurized piping. Int. J. Press. Vessel. Pip. 2013, 101, 113–142. [Google Scholar] [CrossRef]




















| Mechanical Properties | |||||
|---|---|---|---|---|---|
| E/GPa | υ | σ0/MPa | σ0.2/MPa | σb/MPa | δ/% |
| 194 | 0.33 | 120 | 330 | 1324 | 75.4 |
| Mean Stress σm/MPa | Amplitude Stressσa/MPa | |||
|---|---|---|---|---|
| 190 | 215 | 240 | 290 | |
| 240 | √ | |||
| 290 | √ | √ | √ | √ |
| Model | Parameter |
|---|---|
| OW-II | r(1-8) 80, 56, 69, 72, 80, 61, 31, 15 γ(1-8) 8000, 1500, 350, 180, 150, 72, 65, 12 mi = 7 |
| AKO | r(1-8) 90, 72, 78, 60, 61, 58, 34, 25 γ(1-8) 8000, 1500, 350, 180, 150, 72, 65, 12 μi = 0.2 |
| AKO IV | r(1-8) 80, 56, 69, 72, 80, 61, 31, 15 γ(1-8) 8000, 1500, 350, 180, 150, 72, 65, 12 η01 = 0.1, ω1 = 5, η∞2 = 0.05, χ = 0 η02 = 0.04, ω2 = 3, η∞2 = 0.03 |
| OWII-AF | r(1-8) 80, 56, 69, 72, 80, 61, 31, 15 γ(1-8) 8000, 1500, 350, 180, 150, 72, 65, 12 μi = 0.04, mi = 7 |
| M OWII-AF | r(1-8) 80, 56, 69, 72, 80, 61, 31, 15 γ(1-8) 8000, 1500, 350, 180, 150, 72, 65, 12 mi = 7 η0 = 0.04, ω = 8, η∞ = 0.01, ϕ∞ = 0.4, ωϕ = 1 χ = 0 |
| Style | Parameter |
|---|---|
| Uniaxial Tension | r(1-8) 80, 56, 69, 72, 80, 61, 31, 15 γ(1-8) 8000, 1500, 350, 180, 150, 72, 65, 12 |
| Uniaxial Ratchet | mi=7 |
| Martensite Content | Δv = 0.05 h = 0.1 ωm = 1 ξ0 = 0.03 ξ∞= 0.9 |
| Isotropic Hardening | Q = 560 b = 10 |
© 2020 by the authors. Licensee MDPI, Basel, Switzerland. This article is an open access article distributed under the terms and conditions of the Creative Commons Attribution (CC BY) license (http://creativecommons.org/licenses/by/4.0/).
Share and Cite
Chen, Y.; Chen, X.; Gao, B.; Chen, X.; Zhang, K.; Yu, C. A Cyclic Plasticity Model with Martensite Transformation for S30408 and Its Finite Element Implementation. Appl. Sci. 2020, 10, 6002. https://doi.org/10.3390/app10176002
Chen Y, Chen X, Gao B, Chen X, Zhang K, Yu C. A Cyclic Plasticity Model with Martensite Transformation for S30408 and Its Finite Element Implementation. Applied Sciences. 2020; 10(17):6002. https://doi.org/10.3390/app10176002
Chicago/Turabian StyleChen, Yanan, Xiaohui Chen, Bingjun Gao, Xu Chen, Kai Zhang, and Chulin Yu. 2020. "A Cyclic Plasticity Model with Martensite Transformation for S30408 and Its Finite Element Implementation" Applied Sciences 10, no. 17: 6002. https://doi.org/10.3390/app10176002
APA StyleChen, Y., Chen, X., Gao, B., Chen, X., Zhang, K., & Yu, C. (2020). A Cyclic Plasticity Model with Martensite Transformation for S30408 and Its Finite Element Implementation. Applied Sciences, 10(17), 6002. https://doi.org/10.3390/app10176002

