Review of Push-Out and Shear Response of Hybrid Steel-Trussed Concrete Beams
Abstract
1. Introduction
2. Steel to Concrete Stress Transfer Mechanism
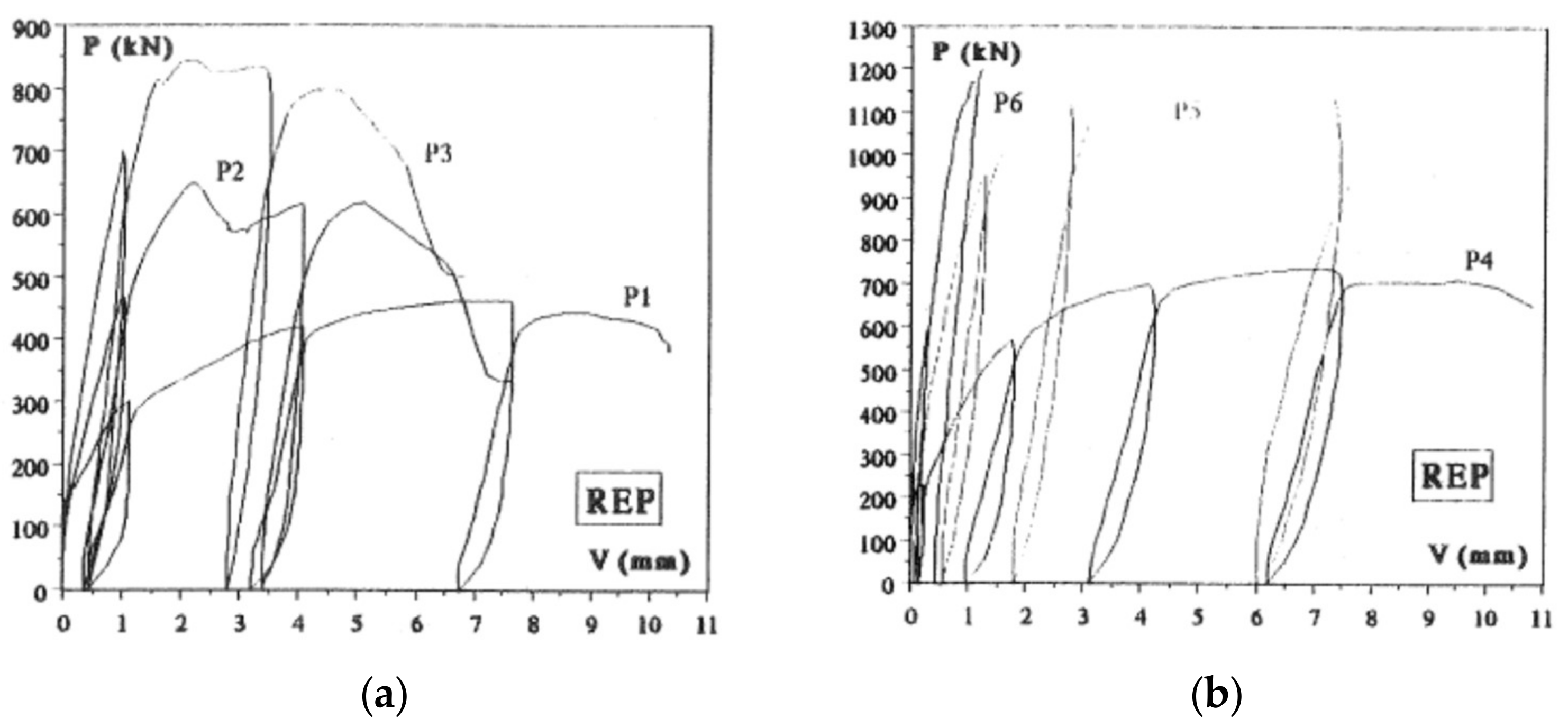
2.1. Experimental Results
2.2. Analytical Models for Stress Transfer Mechanisms between Steel and Concrete
- dowel leaning (i.e., leaning of the web bar of the lattice) represented by means of the angle α formed along the inclined plane of the truss. The angle α is evaluated according to the geometrical dimensions of the lattice, as follows:in which s, b and d are the lattice spacing, width and depth, respectively;
- bearing stress of concrete, which depends on the width of the lateral concrete covers c1 and c2 as defined in the formulation by Vintzeleou and Tassios [35], where a correction coefficient δ = (ψ/3)0.5 fluctuating in the range 0.60–1.30 can be evaluated as follows:Thus, the coefficient value ψ = 5 that rules the value of the plastic strength of the concrete can be assumed when the concrete is fully confined (i.e., c1/db ≥ 3 and c2/db ≥ 5), while ψ = (δ√3)2 when the confinement effect depends on the concrete cover;
- the boundary condition of the head of the dowel: the dowel is modeled as clamped to the steel plate of the lattice so that at failure two plastic hinges are activated. The distance between the two plastic hinges is (Leff − a), Leff being the effective length of the web rebar and a the length of the plastic hinge located near the steel plate;
- the bending moment that activates the plastic hinges when the shear force V vanishes is evaluated according to the bending moment M-axial force N interaction domain assumed in Millard and Johnson (1984) [36]
- the shear-normal stress interaction M-N-V is considered according to Eurocode 3 [37] indications in which shear reduces the amplitude of axial force-bending moment interaction domain by tuning the steel ultimate strength by means of a coefficient (1 − ρ). Asw and fu being the cross-section area and the ultimate strength of the steel of the web bar, the reduction coefficient can be evaluated as ρ = (2V/VRu − 1)2 for V ≥ 0.5VRu, where VRu = 0.8fuAsw.
- -
- model A delivers the dowel strength provided by a single web rebar of the HSTCB lattice, formulated to take into account the actual plastic hinge length a and by assessing the effect of actual the level of concrete confinement by means of the coefficients ψ, and δ, the latter expressed by Equation (2). According to this model, the evaluation of V requires that Equation (5) is solved, retaining the M-N-V interaction effects governed by the Eurocode 3 prescriptions.
- -
- model B, where the M-N-V interaction effect only is neglected, delivers the analytical expression of the value of the shear strength V-dowel strength connection in Equation (8).
- -
- model C, where both the M-N-V interaction effects and the distance of the plastic hinge from the steel plate are neglected (i.e., ρ = 1 and a = 0 are assumed) and the maximum amount of concrete confinement is retained (i.e., assuming ψ = 5). According to the abovementioned simplification, an analytical expression of the value of connection shear strength V is provided in the closed form by Equation (9).
3. Shear Strength
3.1. Experimental Results
3.2. Mechanical Models for Shear Strength
4. Conclusions
Author Contributions
Conflicts of Interest
References
- Vv.Aa. Guida Tecnico Operativa per il Professionista. Progettare con le Travi Prefabbricate Reticolari Miste PREM (Technical Guide for designer. Design with Hybrid Steel Trussed-Concrete Beams HSTCBs); Tecniche Nuove eds.: Milan, Italy, 2011; ISBN 978-88-481-2636-6. (In Italian) [Google Scholar]
- Colajanni, P.; La Mendola, L.; Recupero, A. Experimental test results vs. analytical prediction of welded joint strength in Hybrid Steel Trussed Concrete Beams (HSTCBs). EJECE 2013, 17, 742–759. [Google Scholar] [CrossRef]
- Vincenzi, L.; Savoia, M. Stabilita` di tralicci PREM in prima fase (Stability of PREM-beams in the first phase). In Proceedings of the 18th C.T.E. Congress, Brescia, Italy, 11–13 November 2010; pp. 849–858. (In Italian). [Google Scholar]
- Puhali, R.; Smotlack, I. Relazione sulle prove di push-out atte a determinare le leggi di carico-scorrimento delle travi in sistema composto tipo”REP” (Report on the Push-Out Tests Fit for the Determination of Load-Slip Laws of REP Composite Truss Beams); Science of Constructions Institute Acts, University of Trieste: Triest, Italy, 1980. [Google Scholar]
- Aiello, M.A. Analisi sperimentale della connessione acciaio-calcestruzzo nelle travi reticolari miste (Experimental Analysis of Steel-Concrete Connection in Hybrid Truss Beams). In Proceedings of the 7th Italian Workshop on Composite Structures, Benevento, Italy, 23–24 October 2008; pp. 33–42. [Google Scholar]
- Cancelliere, N.; Colajanni, P.; La Mendola, L. On bottom steel plate to concrete anchorage in hybrid steel trussed concrete beams. In Proceedings of the STESSA 2012—Behaviour of Steel Structures in Seismic Areas, Santiago, Chile, 9–11 January 2012; CRC Press/Balkema Publishers—Taylor & Francis Group: London, UK, 2011; pp. 243–248, ISBN 9780415621052. [Google Scholar]
- Tullini, N.; Minghini, F. Nonlinear analysis of composite beams with concrete-encased steel truss. J. Constr. Steel Res. 2013, 91, 1–13. [Google Scholar] [CrossRef]
- Colajanni, P.; La Mendola, L.; Monaco, A. Stress transfer mechanisms investigation in hybrid steel trussed-concrete beams by push-out tests. J. Constr. Steel Res. 2014, 95, 56–70. [Google Scholar] [CrossRef]
- Monaco, A. Experimental Analysis, Numerical and Analytical Modeling of Shear Strength Mechanisms in Hybrid Steel Trussed Concrete Beams. Ph.D. Thesis, Department of Civil, Environmental, Aerospatial and Material Engineering, University of Palermo, Palermo, Italy, 2014. [Google Scholar]
- Colajanni, P.; La Mendola, L.; Latour, M.; Monaco, A.; Rizzano, G. FEM analysis of push-out test response of Hybrid Steel Trussed Concrete Beams (HSTCBs). J. Constr. Steel Res. 2015, 111, 88–102. [Google Scholar] [CrossRef]
- Colajanni, P.; La Mendola, L.; Latour, M.; Monaco, A.; Rizzano, G. Analytical prediction of the shear connection capacity in precast steel-concrete trussed beams. Mater. Struct. 2017, 50. [Google Scholar] [CrossRef]
- Colajanni, P.; La Mendola, L.; Monaco, A. Stress transfer and failure mechanisms in steel-concrete trussed beams: Experimental investigation on slab-thick and full-thick beams. Constr. Build. Mater. 2018, 161, 267–281. [Google Scholar] [CrossRef]
- Badalamenti, V. Analisi teorico-sperimentale del comportamento ciclico delle connessioni tra travi prefabbricate reticolari miste e pilastri in cemento armato. (Theoretical and Experimental Analysis of the Cyclic Behavior of Hybrid Steel Trussed Concrete Beam-to-Column Connections). Ph.D. Thesis, Università degli Studi di Palermo-Dipartimento di Ingegneria Strutturale, Aerospaziale e Geotecnica, Palermo, Italy, 2010. [Google Scholar]
- Badalamenti, V.; La Mendola, L.; Colajanni, P. Seismic behavior of hybrid steel trussed concrete beams. In Proceedings of the 14th European Conference Earthquake Engineering, Ohrid, Republic of Macedonia, 30 August–3 September 2010; pp. 1–8. [Google Scholar]
- Tesser, L.; Scotta, S. Flexural and shear capacity of composite steel truss and concrete beams with inferior precast concrete base. Eng. Struct. 2013, 49, 135–145. [Google Scholar] [CrossRef]
- Chisari, C.; Amadio, C. An experimental, numerical and analytical study of hybrid RC-encased steel joint beams subjected to shear. Eng. Struct. 2014, 61, 84–98. [Google Scholar] [CrossRef]
- Colajanni, P.; La Mendola, L.; Monaco, A. Validation of a shear model for RC and hybrid beams with two different inclinations of transversal reinforcement. In Proceedings of the 2nd International Symposium on Advances in Civil and Infrastructure Engineering (ACE), Vietri, Italy, 12–13 June 2015. [Google Scholar]
- Monti, G.; Petrone, F. Shear resisting mechanisms and capacity equations for composite truss beams. J. Struct. Eng. 2015, 141. [Google Scholar] [CrossRef]
- Campione, G.; Colajanni, P.; Monaco, A. Analytical Evaluation of Steel-Concrete Composite Trussed Beam Shear Capacity. Mater. Struct. 2016, 49, 3159–3176. [Google Scholar] [CrossRef]
- Colajanni, P.; La Mendola, L.; Monaco, A. Experimental Investigation on the Shear Response of Precast Steel-Concrete Trussed Beams. ASCE J. Struct. Eng. 2017, 143, 04016156. [Google Scholar] [CrossRef]
- Calvi, G.M.; Magenes, G.; Pampanin, S. Relevance of beam-column joints damage and collapse in rc frame assessment. J. Earthq. Eng. 2002, 6, 75–100. [Google Scholar] [CrossRef]
- Russo, G.; Somma, G. Shear strength of R/C beam—Column joints without shear reinforcement under severe seismic loading. Stud. Res. 2002, 23, 135–165. [Google Scholar]
- Ju, Y.K.; Kim, J.Y.; Kim, S.D. Experimental evaluation of new concrete encased steel composite beam to steel column joint. ASCE J. Struct. Eng. 2007, 133, 519–29. [Google Scholar] [CrossRef]
- Amadio, C.; Macorini, L.; Suraci, G. Structural performance of a new hybrid RC-encased steel joint system. In Advances in Reinforced Concrete and Precast Constructions; Di Prisco, M., Ed.; Strarrylink: Milan, Italy, 2008; pp. 19–29. [Google Scholar]
- Amadio, C.; Macorini, L.; Sorgon, S.; Suraci, S. A novel hybrid system with RC-encased steel joists. EJECE 2011, 15, 1433–1463. [Google Scholar] [CrossRef]
- Hsu, H.L.; Hsieh, J.C.; Juang, J.L. Seismic performance of steel-encased composite members with strengthening cross-inclined bars. J. Constuct. Steel Res. 2004, 60, 1663–1679. [Google Scholar] [CrossRef]
- Kuramoto, H.; Nishiyama, I. Seismic performance and stress transferring mechanism of through- column-type joints for composite reinforced concrete and steel frames. ASCE J. Struct. Eng. 2004, 130, 352–360. [Google Scholar] [CrossRef]
- Sassone, M.; Chiorino, M.A. Design Aids for the Evaluation of Creep Induced Structural Effects; Shrinkage and Creep of Concrete; Gardner & Weiss: New York, NY, USA, 2005; pp. 239–259. [Google Scholar]
- European Committee for Standardization (CEN). EN1994-1: Eurocode 4: Design of Composite Steel and Concrete Structures. Part 1-1: General Rules and Rules for Buildings; CEN: Brussels, Belgium, 2004. [Google Scholar]
- Newmark, N.M.; Siess, C.P.; Viest, I.M. Tests and analysis of composite beams with incomplete interaction. Proc. Soc. Exp. Stress Anal. 1951, 9, 75–92. [Google Scholar]
- Amadio, C.; Fragiacomo, M. A Finite element model for the study of creep and shrinkage effects in composite beams with deformable shear connections. Costruzioni Metalliche 1993, 4, 213–228. [Google Scholar]
- Broms, B.B. Lateral Resistance of piles in cohesive soils. J. Soil Mech. Found. Div. 1964, 90, 27–63. [Google Scholar]
- Vintzeleou, E.N.; Tassios, T.P. Mathematical Models for Dowel Action under Monotonic and Cyclic Conditions. Mag. Concr. Res. 1986, 38, 12–22. [Google Scholar] [CrossRef]
- Vintzeleou, E.N.; Tassios, T.P. Behavior of dowels under cyclic deformation. ACI Struct. J. 1987, 84, 18–30. [Google Scholar]
- Vintzeleou, E.N.; Tassios, T.P. Eccentric Dowels Loaded against core of Concrete Sections. J. Struct. Eng. 1990, 116, 10. [Google Scholar] [CrossRef]
- Millard, S.G.; Johnson, R.P. Shear transfer across cracks in reinforced concrete due to aggregate interlock and to dowel action. Mag. Concr. Res. 1984, 36, 126. [Google Scholar] [CrossRef]
- European Committee for Standardization (CEN). EN1993-1-1: Eurocode 3: Design of Steel Structures. Part 1-1: General Rules and Rules for Buildings; CEN: Brussels, Belgium, 2005. [Google Scholar]
- Izzo, L.; Minelli, F.; Plizzari, G. Le travi reticolari miste nel cammino verso la normativa. (The hybrid trussed beams on the path toward the code). In Proceedings of the 16th C.T.E. Congress, Parma, Italy, 9–11 November 2006. (In Italian). [Google Scholar]
- European Committee for Standardization (CEN). EN 1992-1-1:1992 Design of Concrete Structures—Part 1-1: General Rules and Rules for Buildings; Eurocode 2; CEN: Brussels, Belgium, 1992. [Google Scholar]
- European Committee for Standardization (CEN). EN 1992-1-1:1:2004 Design of Concrete Structures—Part 1-1: General Rules and Rules for Buildings; Eurocode 2; CEN: Brussels, Belgium, 2004. [Google Scholar]
- American Concrete Institute (ACI). Bulding Code Requirements for Structural Concrete and Commentary; ACI 318M-08; ACI: Farmington Hills, MI, USA, 2008. [Google Scholar]
- Canadian Standards Association (CSA). Design of Concrete Structures; CAN CSA A23.3-04; CSA: Rexdale, ON, Canada, 2004. [Google Scholar]
- Ministry of Public Works Decree (D.M.LL.PP.). Norme Tecniche per le Costruzioni (Construction Technical Codes); Gazzetta Ufficiale Repubblica Italiana: Rome, Italy, 1996. (In Italian)
- Ministry of Public Works Decree (D.M.LL.PP.). Norme Tecniche per le Costruzioni (Construction Technical Codes); Gazzetta Ufficiale Repubblica Italiana: Rome, Italy, 2008. (In Italian)
- Bentz, E.C.; Collins, M.P. Simplified form of the modified compression field theory for the analysis of beams. In Proceedings of the 2nd International Conference Fib, Fédération internationale du béton/International Federation for Structural Concrete (fib), Naples, Italy, 5–8 June 2006; pp. 3–56. [Google Scholar]
- Colajanni, P.; La Mendola, L.; Mancini, G.; Recupero, A.; Spinella, N. Shear Capacity in Concrete Beams Reinforced by Stirrups with Two Different Inclinations. Eng. Struct. 2014, 81, 444–453. [Google Scholar] [CrossRef]
- Colajanni, P.; La Mendola Recupero, A.; Spinella, N. Stress field model for strengthening of shear-flexure critical RC beams. ASCE J. Comp. Constr. 2017, 21, 04017039. [Google Scholar] [CrossRef]





















| ID | Web Bars | Upper Chord | Ultimate Load (kN) | Failure |
|---|---|---|---|---|
| A-P1 | no.1 bar (φw = 14 mm) | no.2 bars (φ up = 14 mm) | 463.0 | steel web rebars |
| A-P2 | no.1 bar (φw = 24 mm) | no.2 bars (φup = 24 mm) | 647.5 | concrete |
| A-P3 | no.1 bar (φw = 32 mm) | no.2 bars (φup = 32 mm) | 843.5 | concrete |
| B-P4 | no.2 bars (φw = 14 mm) | no.3 bars (φup = 14 mm) | 735.5 | Steel web rebars and plate buckling |
| B-P5 | no.2 bars (φw = 24 mm) | no.3 bars (φup = 24 mm) | 1177.5 | concrete |
| B-P6 | no.2 bars (φw = 32 mm) | no.3 bars (φup = 32 mm) | 1324.5 | steel plate buckling |
| ID | φw | φuc | Pu (kN) | Failure |
|---|---|---|---|---|
| S12_1 | S355 2φ12 | B450C 1φ18 | 817.1 | concrete |
| S12_2 | 842.1 | |||
| S14_2 | S355 2φ14 | B450C 1φ18 | 787.1 | concrete |
| S14_3 | 808.1 | concrete | ||
| S14_4 | 861.1 | welding | ||
| B12_1 | B450C 2φ12 | B450C 1φ18 | 996.1 | concrete |
| B12_2 | 1007.5 | welding | ||
| B14_1 | B450C 2φ14 | B450C 1φ8 | 1139.0 | steel |
© 2018 by the authors. Licensee MDPI, Basel, Switzerland. This article is an open access article distributed under the terms and conditions of the Creative Commons Attribution (CC BY) license (http://creativecommons.org/licenses/by/4.0/).
Share and Cite
Colajanni, P.; Mendola, L.L.; Monaco, A. Review of Push-Out and Shear Response of Hybrid Steel-Trussed Concrete Beams. Buildings 2018, 8, 134. https://doi.org/10.3390/buildings8100134
Colajanni P, Mendola LL, Monaco A. Review of Push-Out and Shear Response of Hybrid Steel-Trussed Concrete Beams. Buildings. 2018; 8(10):134. https://doi.org/10.3390/buildings8100134
Chicago/Turabian StyleColajanni, Piero, Lidia La Mendola, and Alessia Monaco. 2018. "Review of Push-Out and Shear Response of Hybrid Steel-Trussed Concrete Beams" Buildings 8, no. 10: 134. https://doi.org/10.3390/buildings8100134
APA StyleColajanni, P., Mendola, L. L., & Monaco, A. (2018). Review of Push-Out and Shear Response of Hybrid Steel-Trussed Concrete Beams. Buildings, 8(10), 134. https://doi.org/10.3390/buildings8100134

