Life-Cycle Maintenance Cost Model for Concrete Bridges Using Markovian Deterioration Curves
Abstract
1. Introduction
2. Systematic Literature Review
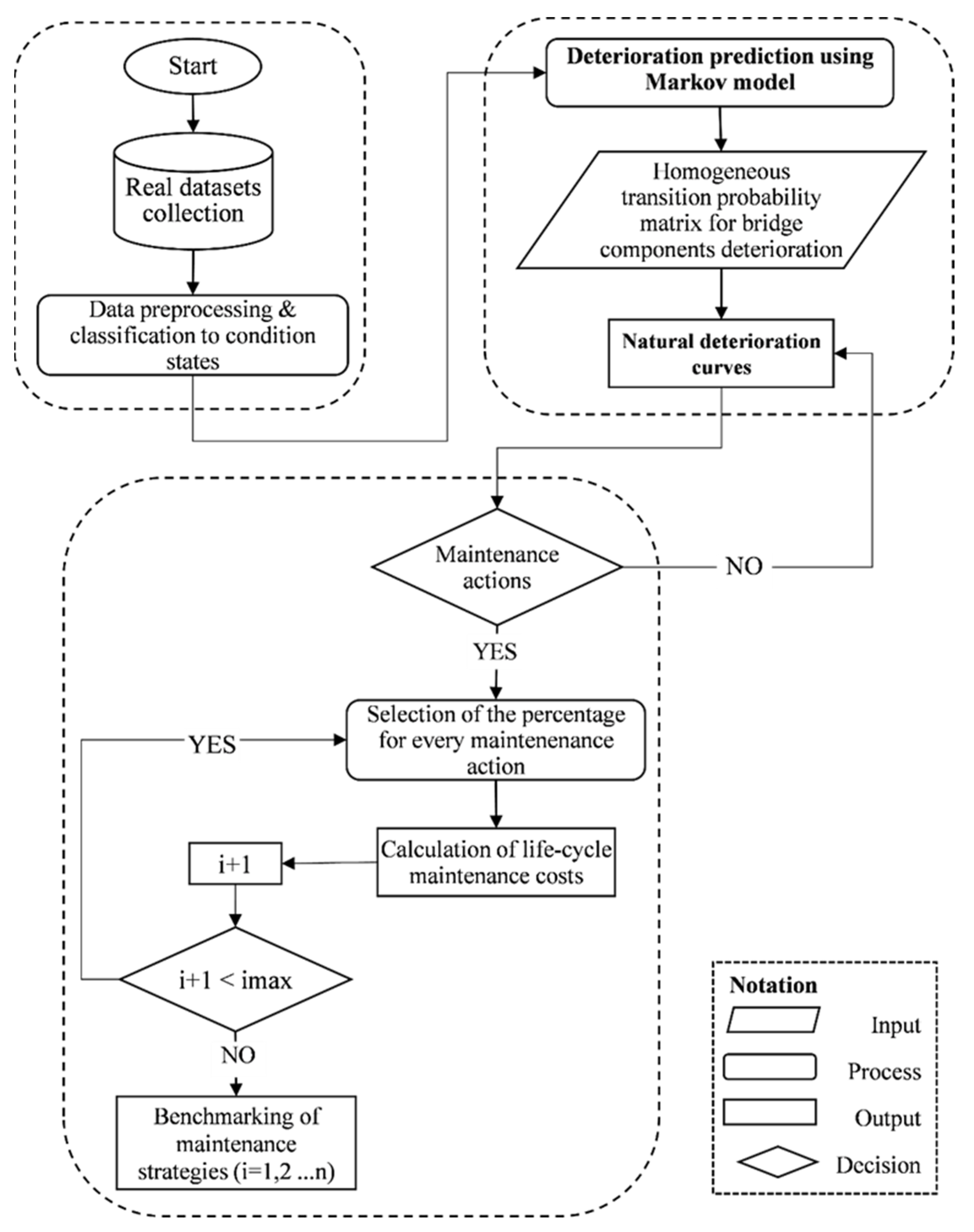
3. Methodology
3.1. Markovian Stochastic Model
- a.
- The condition probability vector is a row vector presenting the condition of bridge components utilizing the probabilities of stating in each condition state, . The sum of all is equal to one, with all the elements being positive values. For instance, the initial condition vector for any new rehabilitated bridge is represented with the following form:
- a.
- The time step is the time interval among two consecutive states. Typically, this step is identical with the frequency of real data collection.
- b.
- The Transition Probability Matrix (TPM), usually denoted as , describes the bridge’s deterioration over time. A typical TPM is shown in Equation (3) along with its restrictions described in Equations (4) and (5):
3.2. Transition Probability Matrix Computation
3.3. Validation Process of Markovian Stochastic Model
3.4. Data Collection
- a.
- Bridge and Component type selection: The Markovian model was calibrated using actual datasets collected from 72 existing concrete bridges serving the Greek national road network in Northern Greece. The dataset is grouped into three categories: (a) bridges with pier height greater than 15 m, (b) overpasses, and (c) underpasses. Among the bridge’s components, the superstructure and substructure were regarded as the most critical ones; hence, they were selected for the deterioration and life-cycle analysis. Table A1 and Table A2 in Appendix A display the main structural information of the collected datasets along with the indicative condition states for superstructure and substructure observed during the bridge’s service life.
- b.
- Analysis period: The real dataset was collected over a 25-year time period from bridges operating from 1999 to 2024. The bridge performance model was calculated based on actual data collected from its initial operation and projected for 100 years of its total lifespan. Since all the available data were used, a comprehensive insight into the bridge components’ deterioration can be obtained and illustrated in the formulated TPM.
- c.
- Defect identification: Based on detailed visual inspections, the different types of bridges’ defects and the percentage of material defects for the superstructure and substructure elements were detected. More precisely, the most common registered damages for the collected bridges account for staining, efflorescence, cracks, spalling, exposed reinforcement and reinforcement corrosion.
- d.
- Condition States: The number and ranking of CSs were adopted by the National Bridge Inventory (NBI) and are illustrated in Table 2. The classification of the bridge’s components into the individual CSs was conducted based on the aforementioned identified damages. Since there were no data on the last condition states, a by-6 TPM was considered representative of the studied case and was developed for the suggested Markov-chain probabilistic models. To obtain a complete and consistent dataset that would serve as an adequate basis for the deterioration model prediction, the data were screened to filter out any records with incomplete data.
- e.
- Time step: A one-year time cycle was adopted to resemble the annual data collection regarding the bridge condition.
- f.
- Maintenance improvements: For the initial phase of the model, only the data accounting for the natural deterioration of the bridge’s components was considered. Consequently, any bridge component that demonstrated an improvement in the condition value compared to the previous year was not considered; hence, all the elements under the main diagonal of TPM are equal to zero, as defined in Equation (6). In the second step of this research, where maintenance improvements take place, the TPM is modified to incorporate any possible maintenance action.
3.5. Maintenance Policies and Related Costs
4. Deterioration and Maintenance Prediction Using Markov-Chain Model
5. Conclusions
Author Contributions
Funding
Data Availability Statement
Conflicts of Interest
Appendix A
| Serial Number | Bridge’s ID | Construction Year | Span Number and Arrangement (m) | Superstructure Material |
|---|---|---|---|---|
| 1 | 01.07Β.08 | 2009 | 36.30/37.50 × 7/36.30 | Prestressed concrete |
| 2 | 01.08.07Β | 2009 | 36.30/37.50 × 6/36.30 | |
| 3 | 04.08Β.09 | 2007 | 60/8 × 100/60 | |
| 4 | 04.09.08Β | 2007 | 60/8 × 100/60 | |
| 5 | 07.31.32 | 2001 | 3 × 34.50/3 × 42.00/2 × 34.50/22.75 | |
| 6 | 07.32.31 | 2001 | 22.75/34.50/3 × 43.50/34.50 | |
| 7 | 06.42.43 | 2000 | 19.40/19.05 | |
| 8 | 01.43 | 1999 | 32.01/31.71 | |
| 9 | 04.43 | 1999 | 27.58/26.78 | |
| 10 | 04.24.24A | 2002 | 27.85/27.85/27.85 | |
| 11 | 04.24A.24 | 2002 | 27.85/27.85/27.85 | |
| 12 | 09.24.24A | 2001 | 29.62/30.76/29.62 | |
| 13 | 09.24A.24 | 2001 | 29.62/30.76/29.62 | |
| 14 | 02.24A.25 | 2002 | 19.67/20.66/19.67 | |
| 15 | 02.25.24A | 2002 | 19.67/20.66/19.67 | |
| 16 | 05.24A.25 | 2001 | 27.1/27.9/27.1 | |
| 17 | 05.25.24A | 2001 | 27.1/27.9/27.1 | |
| 18 | 09.24A.25 | 2002 | 25.0/25.0 | |
| 19 | 09.25.24A | 2002 | 25.0/25.0 | |
| 20 | 12.24A.25 | 2001 | 19.67/20.66/19.67 | |
| 21 | 12.25.24A | 2001 | 19.67/20.66/19.67 | |
| 22 | 16.24A.25 | 2002 | 35.00/45.00/35.00 | |
| 23 | 16.25.24A | 2002 | 35.00/45.00/35.00 | |
| 24 | 18.24A.25 | 2001 | 38.0/47.0 × 2/38.0 | |
| 25 | 18.25.24A | 2001 | 38.0/47.0 × 2/38.0 | |
| … | … | … | … | |
| … | … | … | … | Reinforced concrete |
| 50 | 04.24A.25 | 2003 | 10.5 | |
| 51 | 04.25.24A | 2003 | 10.5 | |
| 52 | 06.24A.25 | 2003 | 10.5 | |
| 53 | 06.25.24A | 2003 | 10.5 | |
| 54 | 07.24A.25 | 2000 | 13 | |
| 55 | 07.25.24A | 2000 | 13 | |
| 56 | 08.24A.25 | 2003 | 10.5 | |
| 57 | 08.25.24A | 2003 | 10.5 | |
| 58 | 10.24A.25 | 2000 | 10.5 | |
| 59 | 10.25.24A | 2000 | 10.5 | |
| 60 | 11.24A.25 | 2000 | 10.5 | |
| 61 | 11.25.24A | 2000 | 10.5 | |
| 62 | 13.24A.25 | 2000 | 10.5 | |
| 63 | 13.25.24A | 2000 | 10.5 | |
| 64 | 14.24A.25 | 2002 | 14.00 | |
| 65 | 14.25.24A | 2002 | 14.00 | |
| 66 | 15.24A.25 | 2000 | 10.5 | |
| 68 | 15.25.24A | 2000 | 10.5 | |
| 69 | 17.24A.25 | 2000 | 10.5 | |
| 70 | 17.25.24A | 2000 | 10.5 | |
| 71 | 19.24A.25 | 2001 | 10.5 | |
| 72 | 19.25.24A | 2001 | 10.5 |
| Serial Number | Bridge’s ID | 5th Year | 10th Year | 15th Year | 20th Year | 25th Year |
|---|---|---|---|---|---|---|
| 1 | 01.07Β.08 | 8/9 | 7/6 | 6/5 | -/- | -/- |
| 2 | 01.08.07Β | 8/9 | 7/6 | 6/5 | -/- | -/- |
| 3 | 04.08Β.09 | 7/9 | 7/8 | 5/6 | -/- | -/- |
| 4 | 04.09.08Β | 7/9 | 7/8 | 5/6 | -/- | -/- |
| 5 | 07.31.32 | 8/9 | 8/8 | 8/7 | 7/7 | -/- |
| 6 | 07.32.31 | 8/9 | 8/8 | 8/7 | 7/7 | -/- |
| 7 | 06.42.43 | 9/9 | 8/8 | 8/7 | 7/6 | 7/5 |
| 8 | 01.43 | 8/8 | 7/8 | 7/6 | 6/4 | 6/4 |
| 9 | 04.43 | 9/9 | 8/8 | 7/7 | 7/7 | 6/7 |
| 10 | 04.24.24A | 9/9 | 9/9 | 8/8 | 8/8 | -/- |
| 11 | 04.24A.24 | 9/9 | 9/9 | 8/8 | 8/8 | -/- |
| 12 | 09.24.24A | 7/8 | 7/7 | 7/7 | 7/7 | -/- |
| 13 | 09.24A.24 | 7/8 | 7/7 | 7/7 | 7/7 | -/- |
| 14 | 02.24A.25 | 7/8 | 7/7 | 7/7 | 7/7 | -/- |
| 15 | 02.25.24A | 7/8 | 7/7 | 7/7 | 7/7 | -/- |
| 16 | 05.24A.25 | 9/9 | 9/9 | 8/8 | 7/8 | 7/8 |
| 17 | 05.25.24A | 9/9 | 9/9 | 8/8 | 7/8 | 7/8 |
| 18 | 09.24A.25 | 8/9 | 8/8 | 7/7 | 6/7 | -/- |
| 19 | 09.25.24A | 8/9 | 8/8 | 7/7 | 6/7 | -/- |
| 20 | 12.24A.25 | 8/8 | 8/8 | 7/7 | 7/7 | 6/7 |
| 21 | 12.25.24A | 8/8 | 8/8 | 7/7 | 7/7 | 6/7 |
| 22 | 16.24A.25 | 8/9 | 8/8 | 8/8 | 7/7 | -/- |
| 23 | 16.25.24A | 8/9 | 8/8 | 8/8 | 7/7 | -/- |
| 24 | 18.24A.25 | 8/8 | 8/8 | 8/8 | 8/8 | 7/7 |
| 25 | 18.25.24A | 8/8 | 8/8 | 8/8 | 8/8 | 7/7 |
| … | … | … | … | … | … | … |
| 50 | 04.24A.25 | 9/9 | 9/8 | 8/8 | 8/7 | -/- |
| 51 | 04.25.24A | 9/9 | 9/8 | 8/8 | 8/7 | -/- |
| 52 | 06.24A.25 | 9/9 | 8/8 | 8/8 | 8/7 | -/- |
| 53 | 06.25.24A | 9/9 | 8/8 | 8/8 | 8/7 | -/- |
| 54 | 07.24A.25 | 9/9 | 8/8 | 8/8 | 8/8 | 7/7 |
| 55 | 07.25.24A | 9/9 | 8/8 | 8/8 | 8/8 | 7/7 |
| 56 | 08.24A.25 | 9/9 | 8/8 | 8/8 | 7/7 | -/- |
| 57 | 08.25.24A | 9/9 | 8/8 | 8/8 | 7/7 | -/- |
| 58 | 10.24A.25 | 8/8 | 8/8 | 8/8 | 7/7 | 7/7 |
| 59 | 10.25.24A | 8/8 | 8/8 | 8/8 | 7/7 | 7/7 |
| 60 | 11.24A.25 | 8/8 | 8/8 | 8/8 | 8/8 | 7/8 |
| 61 | 11.25.24A | 8/8 | 8/8 | 8/8 | 8/8 | 7/8 |
| 62 | 13.24A.25 | 9/9 | 8/8 | 8/8 | 8/8 | 7/7 |
| 63 | 13.25.24A | 9/9 | 8/8 | 8/8 | 8/8 | 7/7 |
| 64 | 14.24A.25 | 9/9 | 9/8 | 8/8 | 8/8 | -/- |
| 65 | 14.25.24A | 9/9 | 9/8 | 8/8 | 7/8 | -/- |
| 66 | 15.24A.25 | 8/8 | 8/8 | 8/8 | 7/8 | 7/8 |
| 68 | 15.25.24A | 8/8 | 8/8 | 8/8 | 8/8 | 7/8 |
| 69 | 17.24A.25 | 9/9 | 9/9 | 8/8 | 8/8 | 7/8 |
| 70 | 17.25.24A | 9/9 | 9/9 | 8/8 | 8/8 | 7/8 |
| 71 | 19.24A.25 | 9/9 | 9/9 | 9/9 | 8/8 | -/- |
| 72 | 19.25.24A | 9/9 | 9/9 | 9/9 | 8/8 | -/- |
| Data size | 72/72 | 72/72 | 72/72 | 64/64 | 35/35 |
Appendix B
| Superstructure | |||||||
|---|---|---|---|---|---|---|---|
| Years | Condition Rating | Years | Condition Rating | Years | Condition Rating | Years | Condition Rating |
| 0 | 9.000 | 26 | 6.935 | 52 | 5.756 | 78 | 4.933 |
| 1 | 8.844 | 27 | 6.885 | 53 | 5.717 | 79 | 4.910 |
| 2 | 8.701 | 28 | 6.840 | 54 | 5.679 | 80 | 4.886 |
| 3 | 8.571 | 29 | 6.809 | 55 | 5.641 | 81 | 4.864 |
| 4 | 8.450 | 30 | 6.736 | 56 | 5.603 | 82 | 4.841 |
| 5 | 8.339 | 31 | 6.687 | 57 | 5.567 | 83 | 4.820 |
| 6 | 8.237 | 32 | 6.639 | 58 | 5.531 | 84 | 4.798 |
| 7 | 8.141 | 33 | 6.591 | 59 | 5.495 | 85 | 4.778 |
| 8 | 8.051 | 34 | 6.543 | 60 | 5.460 | 86 | 4.757 |
| 9 | 7.967 | 35 | 6.496 | 61 | 5.426 | 87 | 4.738 |
| 10 | 7.887 | 36 | 6.449 | 62 | 5.392 | 88 | 4.718 |
| 11 | 7.812 | 37 | 6.402 | 63 | 5.359 | 89 | 4.699 |
| 12 | 7.740 | 38 | 6.356 | 64 | 5.326 | 90 | 4.681 |
| 13 | 7.671 | 39 | 6.310 | 65 | 5.295 | 91 | 4.663 |
| 14 | 7.605 | 40 | 6,265 | 66 | 5.263 | 92 | 4.646 |
| 15 | 7.542 | 41 | 6.220 | 67 | 5.233 | 93 | 4.629 |
| 16 | 7.480 | 42 | 6.175 | 68 | 5.202 | 94 | 4.612 |
| 17 | 7.421 | 43 | 6.131 | 69 | 5.173 | 95 | 4.596 |
| 18 | 7.363 | 44 | 6.088 | 70 | 5.144 | 96 | 4.580 |
| 19 | 7.306 | 45 | 6.044 | 71 | 5.116 | 97 | 4.564 |
| 20 | 7.250 | 46 | 6.002 | 72 | 5.088 | 98 | 4.549 |
| 21 | 7.196 | 47 | 5.959 | 73 | 5.061 | 99 | 4.535 |
| 22 | 7.142 | 48 | 5.918 | 74 | 5.034 | 100 | 4.520 |
| 23 | 7.090 | 49 | 5.876 | 75 | 5.008 | ||
| 24 | 7.037 | 50 | 5.836 | 76 | 4.983 | ||
| 25 | 6.986 | 51 | 5.796 | 77 | 4.958 | ||
| Substructure | |||||||
|---|---|---|---|---|---|---|---|
| Years | Condition Rating | Years | Condition Rating | Years | Condition Rating | Years | Condition Rating |
| 0 | 9.000 | 26 | 6.909 | 52 | 5.993 | 78 | 5.347 |
| 1 | 8.854 | 27 | 6.865 | 53 | 5.964 | 79 | 5.326 |
| 2 | 8.716 | 28 | 6.822 | 54 | 5.935 | 80 | 5.306 |
| 3 | 8.586 | 29 | 6.781 | 55 | 5.907 | 81 | 5.286 |
| 4 | 8.463 | 30 | 6.741 | 56 | 5.879 | 82 | 5.266 |
| 5 | 8.347 | 31 | 6.700 | 57 | 5.851 | 83 | 5.246 |
| 6 | 8.238 | 32 | 6.661 | 58 | 5.824 | 84 | 5.227 |
| 7 | 8.135 | 33 | 6.623 | 59 | 5.797 | 85 | 5.208 |
| 8 | 8.038 | 34 | 6.585 | 60 | 5.770 | 86 | 5.190 |
| 9 | 7.947 | 35 | 6.548 | 61 | 5.744 | 87 | 5.171 |
| 10 | 7.860 | 36 | 6.512 | 62 | 5.718 | 88 | 5.153 |
| 11 | 7.779 | 37 | 6.476 | 63 | 5.692 | 89 | 5.135 |
| 12 | 7.701 | 38 | 6.440 | 64 | 5.667 | 90 | 5.118 |
| 13 | 7.628 | 39 | 6.406 | 65 | 5.642 | 91 | 5.100 |
| 14 | 7.558 | 40 | 6.371 | 66 | 5.618 | 92 | 5.083 |
| 15 | 7.491 | 41 | 6.337 | 67 | 5.593 | 93 | 5.066 |
| 16 | 7.427 | 42 | 6.304 | 68 | 5.569 | 94 | 5.050 |
| 17 | 7.366 | 43 | 6.271 | 69 | 5.546 | 95 | 5.033 |
| 18 | 7.308 | 44 | 6.239 | 70 | 5.522 | 96 | 5.017 |
| 19 | 7.252 | 45 | 6.206 | 71 | 5.499 | 97 | 5.002 |
| 20 | 7.198 | 46 | 6.175 | 72 | 5.477 | 98 | 4.986 |
| 21 | 7.146 | 47 | 6.143 | 73 | 5.454 | 99 | 4.971 |
| 22 | 7.095 | 48 | 6.113 | 74 | 5.432 | 100 | 4.955 |
| 23 | 7.047 | 49 | 6.082 | 75 | 5.410 | ||
| 24 | 6.999 | 50 | 6.052 | 76 | 5.389 | ||
| 25 | 6.953 | 51 | 6.022 | 77 | 5.368 | ||
References
- Abdelkader, E.M.; Zayed, T.; Marzouk, M. A Computerized Hybrid Bayesian-Based Approach for Modelling the Deterioration of Concrete Bridge Decks. Struct. Infrastruct. Eng. 2019, 15, 1178–1199. [Google Scholar] [CrossRef]
- Zanini, M.A.; Faleschini, F.; Pellegrino, C. Cost Analysis for Maintenance and Seismic Retrofit of Existing Bridges. Struct. Infrastruct. Eng. 2016, 12, 1411–1427. [Google Scholar] [CrossRef]
- Biondini, F.; Frangopol, D.M. Life-Cycle Performance of Deteriorating Structural Systems under Uncertainty: Review. J. Struct. Eng. 2016, 142, F4016001. [Google Scholar] [CrossRef]
- Vagdatli, T.; Petroutsatou, K.; Panetsos, P.; Barmpa, Z.; Fragkakis, N. Bayesian Pre-Estimation of Bridge Life-Cycle Costs. In Proceedings of the 8th International Symposium on Life-Cycle Engineering, IALCCE 2023, Milan, Italy, 2–6 July 2023; Biondini, F., Frangopol, D.M., Eds.; Taylor & Francis: Milano, Italy, 2023. [Google Scholar]
- Callow, D.; Lee, J.; Blumenstein, M.; Guan, H.; Loo, Y.C. Development of Hybrid Optimisation Method for Artificial Intelligence Based Bridge Deterioration Model—Feasibility Study. Autom. Constr. 2013, 31, 83–91. [Google Scholar] [CrossRef]
- Barone, G.; Frangopol, D.M. Life-Cycle Maintenance of Deteriorating Structures by Multi-Objective Optimization Involving Reliability, Risk, Availability, Hazard and Cost. Struct. Saf. 2014, 48, 40–50. [Google Scholar] [CrossRef]
- Vagdatli, T.; Petroutsatou, K.; Panetsos, P.; Barmpa, Z.; Fragkakis, N. Probabilistic Pre-Estimation of Life-Cycle Costs of Road Bridges Using Dynamic Bayesian Networks. Struct. Infrastruct. Eng. 2024, 1–20. [Google Scholar] [CrossRef]
- Yamany, M.S.; Abraham, D.M.; Labi, S. Comparative Analysis of Markovian Methodologies for Modeling Infrastructure System Performance. J. Infrastruct. Syst. 2021, 27, 1–13. [Google Scholar] [CrossRef]
- Bocchini, P.; Saydam, D.; Frangopol, D.M. Efficient, Accurate, and Simple Markov Chain Model for the Life-Cycle Analysis of Bridge Groups. Struct. Saf. 2013, 40, 51–64. [Google Scholar] [CrossRef]
- Li, L.; Lu, Y.; Peng, M. Deterioration Model for Reinforced Concrete Bridge Girders Based on Survival Analysis. Mathematics 2022, 10, 4436. [Google Scholar] [CrossRef]
- O’Connor, A.J.; Sheils, E.; Breysse, D.; Schoefs, F. Markovian Bridge Maintenance Planning Incorporating Corrosion Initiation and Nonlinear Deterioration. J. Bridge Eng. 2013, 18, 189–199. [Google Scholar] [CrossRef]
- Vagdatli, T.; Petroutsatou, K. Modelling Approaches of Life Cycle Cost–Benefit Analysis of Road Infrastructure: A Critical Review and Future Directions. Buildings 2023, 13, 94. [Google Scholar] [CrossRef]
- Yang, D.Y.; Frangopol, D.M. Probabilistic Optimization Framework for Inspection/Repair Planning of Fatigue-Critical Details Using Dynamic Bayesian Networks. Comput. Struct. 2018, 198, 40–50. [Google Scholar] [CrossRef]
- Gong, C.; Frangopol, D.M. Condition-Based Multiobjective Maintenance Decision Making for Highway Bridges Considering Risk Perceptions. J. Struct. Eng. 2020, 146. [Google Scholar] [CrossRef]
- Collins, J.; Weidner, J. Comparison of Markovian-Based Bridge Deterioration Model Approaches. J. Bridge Eng. 2023, 28, 1–13. [Google Scholar] [CrossRef]
- Shim, H.S.; Lee, S.H. Developing a Probable Cost Analysis Model for Comparing Bridge Deck Rehabilitation Methods. KSCE J. Civ. Eng. 2015, 20, 68–76. [Google Scholar] [CrossRef]
- Van Noortwijk, J.M.; Klatter, H.E. The Use of Lifetime Distributions in Bridge Maintenance and Replacement Modelling. Comput. Struct. 2004, 82, 1091–1099. [Google Scholar] [CrossRef]
- Yianni, P.C.; Rama, D.; Neves, L.C.; Andrews, J.D.; Castlo, D. A Petri-Net-Based Modelling Approach to Railway Bridge Asset Management. Struct. Infrastruct. Eng. 2017, 13, 287–297. [Google Scholar] [CrossRef]
- Gadiraju, D.S.; Muthiah, S.R.; Khazanchi, D. A Deep Reinforcement Learning Based Approach for Bridge Health Maintenance. In Proceedings of the 2023 International Conference on Computational Science and Computational Intelligence (CSCI), Las Vegas, NV, USA, 13–15 December 2023; pp. 43–48. [Google Scholar] [CrossRef]
- Lee, J.H.; Choi, Y.; Ann, H.; Jin, S.Y.; Lee, S.-J.; Kong, J.S. Maintenance Cost Estimation in PSCI Girder Bridges Using Updating Probabilistic Deterioration Model. Sustainability 2019, 11, 6593. [Google Scholar] [CrossRef]
- Moscoso, Y.F.M.; Rincón, L.F.; Leiva-Maldonado, S.L.; Campos e Matos, J.A.S.C. Bridge Deterioration Models for Different Superstructure Types Using Markov Chains and Two-Step Cluster Analysis. Struct. Infrastruct. Eng. 2022, 20, 791–801. [Google Scholar] [CrossRef]
- Alimoradi, S.; Golroo, A.; Asgharzadeh, S.M. Development of Pavement Roughness Master Curves Using Markov Chain. Int. J. Pavement Eng. 2022, 23, 453–463. [Google Scholar] [CrossRef]
- Shamshad, A.; Bawadi, M.A.; Wan Hussin, W.M.A.; Majid, T.A.; Sanusi, S.A.M. First and Second Order Markov Chain Models for Synthetic Generation of Wind Speed Time Series. Energy 2005, 30, 693–708. [Google Scholar] [CrossRef]
- Lethanh, N.; Hackl, J.; Adey, B.T. Determination of Markov Transition Probabilities to Be Used in Bridge Management from Mechanistic-Empirical Models. J. Bridge Eng. 2017, 22. [Google Scholar] [CrossRef]
- Pérez-Acebo, H.; Mindra, N.; Railean, A.; Rojí, E. Rigid Pavement Performance Models by Means of Markov Chains with Half-Year Step Time. Int. J. Pavement Eng. 2019, 20, 830–843. [Google Scholar] [CrossRef]
- Alonso-Solorzano, Á.; Pérez-Acebo, H.; Findley, D.J.; Gonzalo-Orden, H. Transition Probability Matrices for Pavement Deterioration Modelling with Variable Duty Cycle Times. Int. J. Pavement Eng. 2023, 24. [Google Scholar] [CrossRef]
- Mizutani, D.; Lethanh, N.; Adey, B.T.; Kaito, K. Improving the Estimation of Markov Transition Probabilities Using Mechanistic-Empirical Models. Front. Built Environ. 2017, 3. [Google Scholar] [CrossRef]
- Mašović, S.; Hajdin, R. Modelling of Bridge Elements Deterioration for Serbian Bridge Inventory. Struct. Infrastruct. Eng. 2014, 10, 976–987. [Google Scholar] [CrossRef]
- Ling, Y.; Mahadevan, S. Quantitative Model Validation Techniques: New Insights. Reliab. Eng. Syst. Saf. 2013, 111, 217–231. [Google Scholar] [CrossRef]
- van den Boomen, M.; Schoenmaker, R.; Wolfert, A.R.M. A Life Cycle Costing Approach for Discounting in Age and Interval Replacement Optimisation Models for Civil Infrastructure Assets. Struct. Infrastruct. Eng. 2018, 14, 1–13. [Google Scholar] [CrossRef]
- Morcous, G.; Hatami, A. Developing Deterioration Models for Nebraska Bridges; Nebraska Transportation Center: Lincoln, NE, USA, 2011. [Google Scholar]
- Agrawal, A.K.; Kawaguchi, A.; Chen, Z. Deterioration Rates of Typical Bridge Elements in New York. J. Bridge Eng. 2010, 15, 419–429. [Google Scholar] [CrossRef]











| Sources | Bridge Components | Data Size | Applied Probabilistic Methods | ||
|---|---|---|---|---|---|
| Superstructure | Substructure | Whole Bridge | |||
| Shim and Lee (2015) [16] | ✓ | 53 | Monte-Carlo simulation | ||
| Van Noortwijk & Klatter (2004) [17] | ✓ | N/A | Weibull distribution | ||
| Vagdatli et al. (2023) [4] | ✓ | 60 | Dynamic Bayesian Network | ||
| Vagdatli et al. (2024) [7] | ✓ | ✓ | 78 | Dynamic Bayesian Network | |
| Yianni et al. (2017) [18] | ✓ | 4434 | Petri-net model | ||
| Gadiraju et al. (2023) [19] | ✓ | ✓ | 15,350 | Markov-chain model | |
| Lee et al. (2019) [20] | ✓ | 84 | Bayesian updating | ||
| NBI Scale | Condition | Description |
|---|---|---|
| 9 | Excellent | New condition; no remarkable deficiencies |
| 8 | Very good | No repair needed |
| 7 | Good | Some minor problems, minor maintenance needed |
| 6 | Satisfactory | Some minor deterioration, major maintenance needed |
| 5 | Fair | Minor section loss, cracking, spalling, or scouring for minor rehabilitation; minor rehabilitation needed |
| 4 | Poor | Advanced section loss, deterioration, spalling, or scouring; major rehabilitation needed |
| 3 | Serious | Section loss, deterioration, spalling, or scouring that have seriously affected the primary structural components |
| 2 | Critical | Advanced deterioration of primary structural elements for urgent rehabilitation; bridge may be closed until corrective action is taken |
| 1 | Imminent failure | Major deterioration or loss of section; bridge may be closed to traffic, but corrective action can put it back to light service |
| 1 | 2 | |
| 1 | ||
| 2 | 0 | |
| 0 | 0 | |
| 0 | 0 | |
| 1 | ||
| 2 | 0 | |
| 0 | 1 | |
| 1 | 2 | |
| 1 | ||
| 2 | ||
| 1 | ||
| 2 | ||
| Maintenance Works Category | Applied Condition State | Maintenance Action | Symbol | Actual Unit Costs * |
|---|---|---|---|---|
| Prerequisite auxiliary works | 8, 7, 6, 5, 4 | Supply of a special under bridge inspection platform vehicle for inspection or maintenance of the bridge underside at heights > 15 m | ||
| Use of a special motorized work platform for inspection or maintenance of the underside of bridges at heights > 15 m | ||||
| High-grade tubular iron scaffolding | ||||
| Minor works | 8, 7 | Protective coating for concrete surfaces, siloxane/silane based, permeable to water vapor and impermeable to water and CO2, according to ELOT EN | ||
| 7, 6, 5 | Application of high-pressure water jetting on concrete surfaces | |||
| 6, 5, 4 | Corrosion inhibitor application on reinforced concrete elements | |||
| Major works | 6, 5, 4 | Coating concrete surface with a cement-based sealer to extract existing moisture and protect the concrete from water | ||
| 6, 5, 4 | High-strength, non-shrinking thixotropic repair mortar in an average thickness of 5 cm | |||
| 5, 4 | Filling of small width cracks (0.3–3.00 mm) in concrete structures by injection of epoxy resin | |||
| 5, 4 | Application of very high-pressure water jetting on surfaces of reinforced or prestressed concrete to expose reinforcing bars |
| Superstructure Markovian Deterioration Model | ||
| Training Dataset | Validation Dataset | |
| Degree of freedom | 25 | 25 |
| Significance level () | 0.05 | 0.05 |
| of Chi-square test | 0.487 | 0.356 |
| Substructure Markovian deterioration model | ||
| Training dataset | Validation dataset | |
| Degree of freedom | 25 | 25 |
| Significance level () | 0.05 | 0.05 |
| of Chi-square test | 0.651 | 0.508 |
Disclaimer/Publisher’s Note: The statements, opinions and data contained in all publications are solely those of the individual author(s) and contributor(s) and not of MDPI and/or the editor(s). MDPI and/or the editor(s) disclaim responsibility for any injury to people or property resulting from any ideas, methods, instructions or products referred to in the content. |
© 2025 by the authors. Licensee MDPI, Basel, Switzerland. This article is an open access article distributed under the terms and conditions of the Creative Commons Attribution (CC BY) license (https://creativecommons.org/licenses/by/4.0/).
Share and Cite
Petroutsatou, K.; Vagdatli, T.; Louloudakis, N.; Panetsos, P. Life-Cycle Maintenance Cost Model for Concrete Bridges Using Markovian Deterioration Curves. Buildings 2025, 15, 807. https://doi.org/10.3390/buildings15050807
Petroutsatou K, Vagdatli T, Louloudakis N, Panetsos P. Life-Cycle Maintenance Cost Model for Concrete Bridges Using Markovian Deterioration Curves. Buildings. 2025; 15(5):807. https://doi.org/10.3390/buildings15050807
Chicago/Turabian StylePetroutsatou, Kleopatra, Theodora Vagdatli, Nikolaos Louloudakis, and Panagiotis Panetsos. 2025. "Life-Cycle Maintenance Cost Model for Concrete Bridges Using Markovian Deterioration Curves" Buildings 15, no. 5: 807. https://doi.org/10.3390/buildings15050807
APA StylePetroutsatou, K., Vagdatli, T., Louloudakis, N., & Panetsos, P. (2025). Life-Cycle Maintenance Cost Model for Concrete Bridges Using Markovian Deterioration Curves. Buildings, 15(5), 807. https://doi.org/10.3390/buildings15050807

