Investigation into the Evolution of Main Force Chains and Skeleton Composition in Asphalt Mixture Using the Discrete Element Method
Abstract
1. Introduction
2. Numerical Modeling of Asphalt Mixture Using the Discrete Element Model
2.1. Aggregate Gradation and Micromechanical Parameters
2.2. Virtual Bearing Plate Tests
3. Force Chain Formation Rules and Evaluation Indices
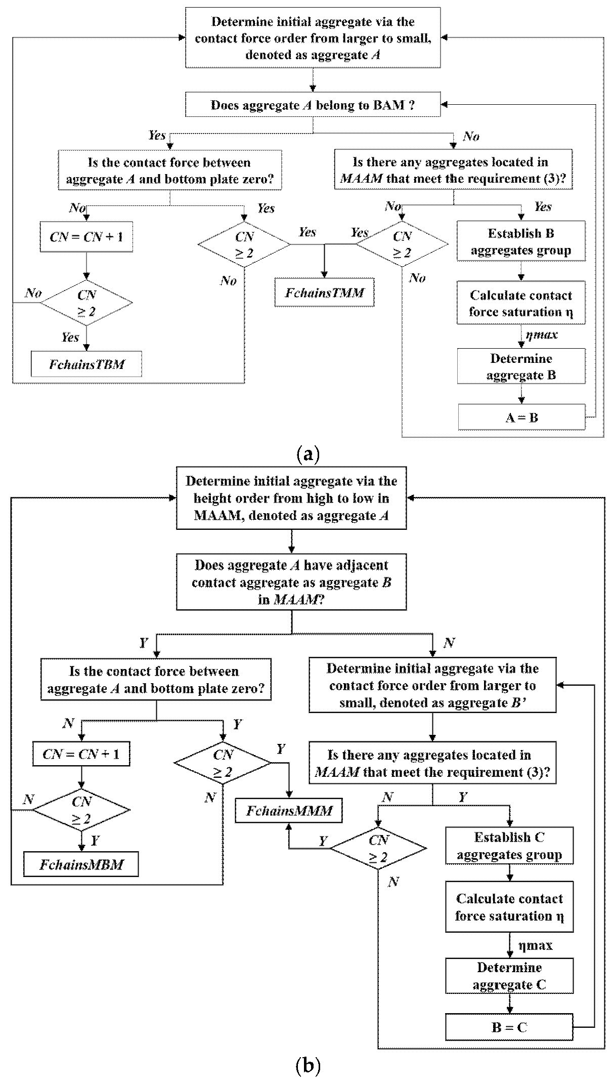
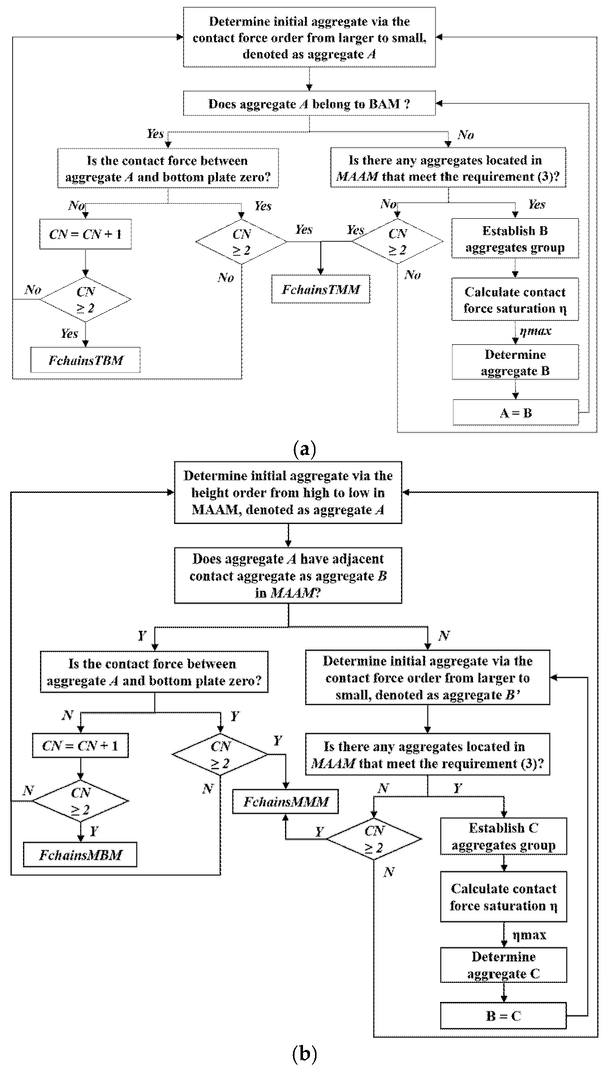
3.1. Force Chain Formation Rules and Identification Algorithm
- Type I:
- The load is directly applied from the upper pavement layer, and this type of force chain transfers external loading to other structural layers.
- Type II:
- Although the load also comes directly from the upper pavement layer, this type of force chain only transfers loads within the same layer and does not transfer them to other layers.
- Type III:
- The load originates from within the same pavement layer, and this type can transfer external loading to the lower pavement structure.
- Type IV:
- The load is also derived from within the same layer, but this type only transmits loads internally, with no transfer to other pavement layers.
3.2. Evaluation Indices for MFC
4. Evolution Behavior of MFCs
5. Mechanical Composition of Asphalt Mixture Skeleton
- Ratio < 25%: All of the ith sieve size aggregate is to fill the void of the skeleton structure.
- 25% ≤ Ratio < 50%: The ith sieve size aggregate mainly fills voids, with a minor contribution to the skeleton composition.
- 50% ≤ Ratio < 75%: The ith sieve size aggregate predominantly participates in skeleton composition, with a limited void-filling function.
- Ratio ≥ 75%: All of the ith sieve size aggregate fully contributes to the skeleton composition.
6. Conclusions
- (1)
- Compared with SMA and OGFC, AC-type asphalt mixtures have a greater number of force chains under the same NAMS. Although AC-type asphalt mixtures have more MFCs, both SMA and OGFC show a higher PMFC throughout the entire loading process.
- (2)
- In AC-type asphalt mixtures, the skeleton undergoes structural reorganization during the initial loading stage, especially in the case of small NMAS. This makes it easy to form MFCs with a longer length, which in turn leads to a relatively small alignment coefficient in a portion of the MFC.
- (3)
- Compared to SMA and OGFC, the MFC network in AC mixtures exhibits greater complexity and lower efficiency in transferring external loads. For all asphalt mixtures, the MFC structure evolves in a direction that is conducive to the transfer of external loading.
- (4)
- Aggregates within the 1.18–2.36 mm range primarily serve to fill voids in the skeleton, with only minor participation in skeleton formation. Those between 2.36–4.75 mm and 4.75–9.5 mm contribute mainly to skeleton composition, while playing a limited role in void filling. Aggregates larger than 9.5 mm participate almost entirely in skeleton construction.
Author Contributions
Funding
Data Availability Statement
Conflicts of Interest
References
- Han, D.; Xi, Y.; Xie, Y.; Li, Z.; Zhao, Y. 3D Virtual reconstruction of asphalt mixture microstructure based on rigid body dynamic simulation. Int. J. Pavement Eng. 2023, 24, 2165654. [Google Scholar] [CrossRef]
- Wang, X.; Gu, X.; Jiang, J.; Deng, H. Experimental analysis of skeleton strength of porous asphalt mixtures. Constr. Build. Mater. 2018, 171, 13–21. [Google Scholar] [CrossRef]
- Sun, S.; Li, P.; Akhtar, J.; Su, J.; Dong, C. Analysis of deformation behavior and microscopic characteristics of asphalt mixture based on interface contact-slip test. Constr. Build. Mater. 2020, 257, 119601. [Google Scholar] [CrossRef]
- Sun, C.; Li, P.; Niu, B.; Xu, Y.; Zhang, W. Structure stability and shear failure behaviors of asphalt mixtures from the perspective of aggregate particle migration. Constr. Build. Mater. 2023, 408, 133653. [Google Scholar] [CrossRef]
- Shi, C.; Qian, G.; Hu, C.; Yu, H.; Gong, X.; Zhang, C.; Huang, Z.; Li, T. Experimental study of aggregate skeleton shear properties for asphalt mixture under different compaction stages. Constr. Build. Mater. 2023, 404, 133123. [Google Scholar] [CrossRef]
- Ding, X.; Ma, T.; Huang, X. Discrete-Element Contour-Filling Modeling Method for Micromechanical and Macromechanical Analysis of Aggregate Skeleton of Asphalt Mixture. J. Transp. Eng. Part B-Pavements 2019, 145, 04018056. [Google Scholar] [CrossRef]
- Liu, Y.; Qian, Z.; Zheng, D. Influence of coarse aggregate morphology on the mechanical characteristics of skeleton in porous asphalt concrete. Int. J. Pavement Eng. 2023, 24, 2252158. [Google Scholar] [CrossRef]
- Li, Z.; Han, D.; Zhao, Y. Stress analysis and optimization of coarse aggregate of large stone porous asphalt mixture based on discrete element method. Case Stud. Constr. Mater. 2023, 19, e02279. [Google Scholar] [CrossRef]
- Niu, D.; Shi, W.; Wang, C.; Xie, X.; Niu, Y. Effect of coordination number of particle contact force on rutting resistance of asphalt mixture. Constr. Build. Mater. 2023, 392, 131784. [Google Scholar] [CrossRef]
- Song, Z.; Zou, S.; Zhou, W.; Huang, Y.; Shao, L.; Yuan, J.; Gou, X.; Jin, W.; Wang, Z.; Chen, X.; et al. Clinically applicable histopathological diagnosis system for gastric cancer detection using deep learning. Nat. Commun. 2020, 11, 4294. [Google Scholar] [CrossRef]
- Kabir, H.; Wu, J.; Dahal, S.; Joo, T.; Garg, N. Automated estimation of cementitious sorptivity via computer vision. Nat. Commun. 2024, 15, 9935. [Google Scholar] [CrossRef]
- Wang, S.; Miao, Y.; Wang, L. Effect of grain size composition on mechanical performance requirement for particles in aggregate blend based on photoelastic method. Constr. Build. Mater. 2023, 363, 129808. [Google Scholar] [CrossRef]
- Wang, Y.; Shi, L.; Li, X.; Liu, T.; Xu, R.; Wang, D. Meso-structural evaluation of asphalt mixture skeleton contact based on Voronoi diagram. Case Stud. Constr. Mater. 2023, 19, e02494. [Google Scholar] [CrossRef]
- Chang, M.; Pei, J.; Zhang, J.; Xing, X.; Xu, S.; Xiong, R.; Sun, J. Quantitative distribution characteristics of force chains for asphalt mixtures with three skeleton structures using discrete element method. Granul. Matter 2020, 22, 87. [Google Scholar] [CrossRef]
- Liu, G.; Pan, Y.; Zhao, Y.; Zhou, J.; Li, J.; Han, D. Research on Asphalt Mixture Force Chains Identification Criteria Based on Computational Granular Mechanics. Can. J. Civ. Eng. 2020, 48, 763–775. [Google Scholar] [CrossRef]
- Liu, G.; Han, D.; Zhao, Y.; Zhang, J. Effects of Asphalt Mixture Structure Types on Force Chains Characteristics Based on Computational Granular Mechanics. Int. J. Pavement Eng. 2020, 23, 1008–1024. [Google Scholar] [CrossRef]
- Yu, W.; Wang, S.; Miao, Y. Characterizing force-chain network in aggregate blend using discrete element method and complex network theory. Constr. Build. Mater. 2023, 400, 132724. [Google Scholar] [CrossRef]
- Jin, C.; Xing, S.; Feng, Y.; Li, C.; Yang, X.; Li, S. Adaptive construction approach for virtual samples of hot mix asphalt based on 3-D structural characterization of laboratory compact specimens. Constr. Build. Mater. 2023, 408, 133655. [Google Scholar] [CrossRef]
- Jin, C.; Wang, S.; Liu, P.; Yang, X.; Oeser, M. Virtual modeling of asphalt mixture beam using density and distributional controls of aggregate contact. Comput. Aided Civ. Infrastruct. 2023, 38, 2242–2256. [Google Scholar] [CrossRef]
- Liu, G.; Han, D.; Jia, Y.; Zhao, Y. Asphalt mixture skeleton main force chains composition criteria and characteristics evaluation based on discrete element methods. Constr. Build. Mater. 2022, 323, 126313. [Google Scholar] [CrossRef]
- Han, D.D.; Feng, K.; Xing, Y.; Tang, D.; Zhao, Y.L. Synchronous strain and modulus sensing in asphalt layers via inclusion-matrix deformation mapping. Constr. Build. Mater. 2025, 494, 143507. [Google Scholar] [CrossRef]
- Tang, D.; Ran, J.; Gao, F.C.; Zhang, N.T.; Zhao, Y.L. Study on the formation mechanism of reflective cracks in semi-rigid base asphalt pavement based on energy evolution mechanism. Constr. Build. Mater. 2025, 491, 142652. [Google Scholar] [CrossRef]
- Pan, Y.Y.; Han, D.D.; Ma, Y.C.; Zhou, Z.Y.; Xia, X.; Zhao, Y.L. Macroscopic properties and microscopic characterisation of an optimally designed anti-cracking stone base course filled with cement stabilised macadam. Road Mater. Pavement Des. 2025, 26, 340–364. [Google Scholar] [CrossRef]
- Yang, Y.; Li, B.; Yang, Y.; Chen, Y.; Zhang, L. Micro-damage characteristics of cold recycled mixture under freeze-thaw cycles based on discrete-element modeling. Constr. Build. Mater. 2023, 409, 133957. [Google Scholar] [CrossRef]
- Liu, H.; Duan, G.; Wang, F.; Zhang, J.; Zhang, J.; Guo, Y. Numerical simulation of effect of reclaimed asphalt pavement on damage evolution behavior of self-compacting concrete under compressive loading. Constr. Build. Mater. 2023, 395, 132323. [Google Scholar] [CrossRef]
- Zhu, X.; Yu, H.; Qian, G.; Yao, D.; Dai, W.; Zhang, H.; Li, J.; Zhong, H. Evaluation of asphalt mixture micromechanical behavior evolution in the failure process based on Discrete Element Method. Case Stud. Constr. Mater. 2023, 18, e01773. [Google Scholar] [CrossRef]
- Wang, D.; Zhao, X. Simulation of uniaxial compression test for asphalt mixture with discrete element method. J. South China Univ. Technol. (Nat. Sci.) 2009, 37, 37–41. [Google Scholar]
- Shi, L.; Wang, D.; Xu, C.; Liang, H. Investigation into meso performance of asphalt mixture skeleton based on discrete element method. J. South China Univ. Technol. Nat. Sci. 2015, 43, 50–56. [Google Scholar]
- Li, Z.; Wang, Y.H.; Ma, C.H.; Mok, C.M.B. Experimental characterization and 3D DEM simulation of bond breakages in artificially cemented sands with different bond strengths when subjected to triaxial shearing. Acta Geotech. 2017, 12, 987–1002. [Google Scholar] [CrossRef]
- Zhang, X.Q.; Li, Z.F.; Tai, P.; Zeng, Q.; Bai, Q.S. Numerical Investigation of Triaxial Shear Behaviors of Cemented Sands with Different Sampling Conditions Using Discrete Element Method. Materials 2022, 15, 3337. [Google Scholar] [CrossRef]
- Ministry of Transport of the People’s Republic of China. Specifications for Design of Highway Asphalt Pavement; China Communications Press: Beijing, China, 2017. [Google Scholar]
- Ministry of Transport of the People’s Republic of China. Test Methods of Soils for Highway Engineering; China Communications Press: Beijing, China, 2007. [Google Scholar]
- Liu, G.; Huang, T.; Lyu, L.; Liu, Z.; Ma, C. Effective Load Transfer Capacity Analysis for Asphalt Mixture Skeleton Based on Main Force Chain Characteristics and Discrete Element Method. J. Mater. Civ. Eng. 2023, 35, 04023303. [Google Scholar] [CrossRef]
- Liu, G.; Zhu, C.; Han, D.; Zhao, Y. Asphalt mixture force chains morphological characteristics and bearing capacities investigation using discrete element method. Int. J. Pavement Eng. 2023, 24, 2168660. [Google Scholar] [CrossRef]

















| Contact Type | Micromechanical Parameters | Symbol | Value | |
|---|---|---|---|---|
| Ball-ball | Linear Parallel Bond Model (Linear group) | Normal Stiffness/(N·m−1) | kn | 2.0 × 108 |
| Shear Stiffness/(N·m−1) | ks | 2.0 × 108 | ||
| Friction Coefficient | μ | 0.4 | ||
| Linear Parallel Bond Model (Parallel Bond group) | Radius Multiplier | 1.0 | ||
| Normal Stiffness/(N·m−1) | 1.0 × 105 | |||
| Shear Stiffness/(N·m−1) | 1.0 × 105 | |||
| Tensile Strength/(pa) | 1.2 × 106 | |||
| Cohesion/(pa) | 2.5 × 105 | |||
| Friction Angle/(°) | 35 | |||
| Ball-facet | Linear Model | Normal Stiffness/(N·m−1) | kn | 2.0 × 109 |
| Shear Stiffness/(N·m−1) | ks | 2.0 × 109 | ||
| Friction Coefficient | μ | 0.3 | ||
Disclaimer/Publisher’s Note: The statements, opinions and data contained in all publications are solely those of the individual author(s) and contributor(s) and not of MDPI and/or the editor(s). MDPI and/or the editor(s) disclaim responsibility for any injury to people or property resulting from any ideas, methods, instructions or products referred to in the content. |
© 2025 by the authors. Licensee MDPI, Basel, Switzerland. This article is an open access article distributed under the terms and conditions of the Creative Commons Attribution (CC BY) license (https://creativecommons.org/licenses/by/4.0/).
Share and Cite
Li, K.; Liu, G.; Yang, C.; Liu, Y. Investigation into the Evolution of Main Force Chains and Skeleton Composition in Asphalt Mixture Using the Discrete Element Method. Buildings 2025, 15, 4092. https://doi.org/10.3390/buildings15224092
Li K, Liu G, Yang C, Liu Y. Investigation into the Evolution of Main Force Chains and Skeleton Composition in Asphalt Mixture Using the Discrete Element Method. Buildings. 2025; 15(22):4092. https://doi.org/10.3390/buildings15224092
Chicago/Turabian StyleLi, Kun, Guoqiang Liu, Chuanyu Yang, and Yongqi Liu. 2025. "Investigation into the Evolution of Main Force Chains and Skeleton Composition in Asphalt Mixture Using the Discrete Element Method" Buildings 15, no. 22: 4092. https://doi.org/10.3390/buildings15224092
APA StyleLi, K., Liu, G., Yang, C., & Liu, Y. (2025). Investigation into the Evolution of Main Force Chains and Skeleton Composition in Asphalt Mixture Using the Discrete Element Method. Buildings, 15(22), 4092. https://doi.org/10.3390/buildings15224092

