Seismic Behavior of Resilient Reinforced Concrete Columns with Ultra-High-Strength Rebars Under Strong Earthquake-Induced Multiple Reversed Cyclic Loading
Abstract
1. Introduction
2. Experimental Investigation
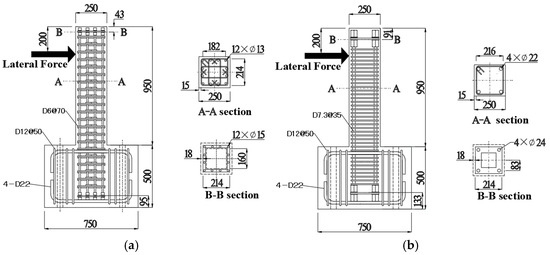
2.1. Details of Test Specimens
2.2. Material Properties
2.2.1. Reinforcement
2.2.2. Concrete
2.2.3. Test Setup and Loading Methods
3. Results
3.1. Damage Observation
3.2. Hysteretic Behavior
3.3. Skeleton Curves
3.4. Residual Drift Ratio
3.5. Energy Dissipation Capacity
4. Numerical Analysis and Discussion
4.1. Experimental Assumptions of the Simulation
- 1.
- The major deformation of the columns is concentrated in the hinge zone at their ends.
- 2.
- The hinge zone length is taken as 1.0D (D = the cross-sectional width of the columns).
- 3.
- The shear deformation is neglected, and concrete can retain planarity.
- 4.
- The stress of longitudinal reinforcements is considered constant in the hinge zone.
- 5.
- No tensile stress was applied to the concrete elements.
4.2. Constitutive Model of Materials
4.2.1. Stress–Strain Model of Concrete
- : Compressive strength of unconfined concrete.
- : Compressive strength of confined concrete.
- : Compressive strength of concrete.
- Ec: Young’s modulus of concrete.
- fyh: Yielding strength of steel hoop.
- s: Spacing of transverse reinforcement.
- Dc: Cross-section width of core concrete.
- : Strain of concrete.
- : Strain of confined concrete.
- K: Strength-enhancing factor of concrete.
- fyt: Yielding strength of steel tube.
- t: Thickness of steel tube.
4.2.2. Stress–Strain Model of Steel Rebar
- εs: Strain of steel bars.
- fs: Stress of steel bars.
- εch: Characteristic strain of steel bar.
- fch: Characteristic stress of steel bar.
- Q: Ratio of the stiffness.
- εsu: Peak strain of steel bars.
- fsu: Peak stress of steel bars.
- Es: Young’s modulus of steel bar.
4.2.3. Bond–Slip Models of the Rebars
4.3. Comparison Between Experimental and Simulated Results
4.4. Parametric Analysis
4.4.1. Effects of Compressive Strength of Concrete Fc
4.4.2. Effects of Shear Span Ratios (a/D Ratio)
5. Simplified Model to Predict the Capacity of Columns Under MRC Loads
5.1. Degradation of Load Capacity
5.2. Degradation Decline Induced by the Frequency of Cyclic Loading
6. A Simplified Model for Predicting the Energy Dissipation Coefficient heq
7. Main Conclusions and Remarking
- 1.
- The columns reinforced with low-bond ultra-high-strength (UHS) steel bars demonstrated enhanced drift hardening, self-centering, and stability under large deformations compared to conventional UHS bars(USD), with lateral force reductions of 7.6% under NC loading and 19.2% under MRC loading.
- 2.
- The multiple reversed cyclic lateral loading induced by long-period ground motions significantly affects residual deformation and energy dissipation, with both finite element and simplified models accurately capturing seismic performance.
- 3.
- A simplified model for predicting the damping factor of the concrete columns with USD steel rebars was developed, offering a practical evaluation method with an accepted accuracy.
Author Contributions
Funding
Data Availability Statement
Acknowledgments
Conflicts of Interest
References
- Kanaori, Y.; Kawakami, S.-I.; Yairi, K. Space—time correlations between inland earthquakes in central Japan and great offshore earthquakes along the Nankai trough: Implication for destructive earthquake prediction. Eng. Geol. 1993, 33, 289–303. [Google Scholar] [CrossRef]
- Oba, A.; Furumura, T.; Maeda, T. Data assimilation-based early forecasting of long-period ground motions for large earthquakes along the Nankai trough. J. Geophys. Res. Solid Earth 2020, 125, e2019JB019047. [Google Scholar] [CrossRef]
- Takewaki, I.; Murakami, S.; Fujita, K.; Yoshitomi, S.; Tsuji, M. The 2011 off the Pacific coast of Tohoku earthquake and response of high-rise buildings under long-period ground motions. Soil Dyn. Earthq. Eng. 2011, 31, 1511–1528. [Google Scholar] [CrossRef]
- Huang, H.; Chen, Z.; Zhao, M.; Wang, B.; Ye, Y. Seismic performance of frame with middle partially encased composite brace and steel-hollow core partially encased composite spliced frame beam. J. Build. Eng. 2024, 95, 110226. [Google Scholar] [CrossRef]
- Yao, Y.; Huang, H.; Zhang, W.; Ye, Y.; Xin, L.; Liu, Y. Seismic performance of steel-PEC spliced frame beam. J. Constr. Steel Res. 2022, 197, 107456. [Google Scholar] [CrossRef]
- Yao, D.; Jia, J.; Wu, F.; Yu, F. Shear performance of prestressed ultra high strength concrete encased steel beas. Constr. Build. Mater. 2014, 52, 194–201. [Google Scholar] [CrossRef]
- Guan, D.; Guo, Z.; Jiang, C.; Yang, S.; Yang, H. Experimental evaluation of precast concrete beam-column connections with high-strength steel rebars. KSCE J. Civ. Eng. 2019, 23, 238–250. [Google Scholar] [CrossRef]
- Moghaddam, H.A.; Samadi, M. Seismic Retrofit of Large-Scale Reinforced Concrete Columns by Prestressed High-Strength Metal Strips. In Proceedings of the Structures Congress Location of Conference, Seattle, WA, USA, 10–13 March 2021. [Google Scholar]
- Serra, M.; Shahbazian, A.; da Silva, L.S.; Marques, L.; Rebelo, C.; Vellasco, P.C.G.d.S. A full scale experimental study of prestressed stayed columns. Eng. Struct. 2015, 100, 490–510. [Google Scholar] [CrossRef]
- Chen, W.; Xie, Y.; Guo, X.; Li, D. Experimental Investigation of Seismic Performance of a Hybrid Beam–Column Connection in a Precast Concrete Frame. Buildings 2022, 12, 801. [Google Scholar] [CrossRef]
- Shrestha, B.K.; Wijeyewickrema, A.C.; Kono, S. Seismic performance and collapse safety assessment of post-tensioned hybrid precast concrete infill wall-frames and comparison with reinforced concrete infill wall-frames. J. Earthq. Eng. 2021, 27, 239–262. [Google Scholar] [CrossRef]
- Zhi, Q.; Kang, L.; Jia, L.; Xiong, J.; Guo, Z. Seismic performance of precast shear walls prestressed via post-tensioned high strength bars placed inside grouted corrugated pipes. Eng. Struct. 2023, 237, 112153. [Google Scholar] [CrossRef]
- Tanaka, M.; Esaki, F.; Ono, M.; Kawamoto, H. Hysteresis Response of R/C Column with High Strength Unbonded Longitudinal Reinforcing Bars. Proc. Jpn. Concr. Inst. 2004, 26, 181–186. (In Japanese) [Google Scholar]
- Pandey, G.R.; Mutsuyoshi, H. Seismic performance of RC piers with bond controlled reinforcements. ACI Struct. J. 2005, 102, 295–304. [Google Scholar]
- Pandey, G.; Mutsuyoshi, H.; Maki, T. Seismic performance of bond controlled RC columns. Eng. Struct. 2008, 30, 2538–2547. [Google Scholar] [CrossRef]
- Sun, Y.P.; Cai, G.C. Seismic Behavior of Circular Concrete Columns Reinforced by Low Bond Ultrahigh Strength Rebars. J. Struct. Eng. 2023, 149, 04023123. [Google Scholar] [CrossRef]
- Zhang, J.; Cai, R.; Li, C.; Liu, X. Seismic behavior of high-strength concrete columns reinforced with high-strength steel bars. Eng. Struct. 2020, 218, 110861. [Google Scholar] [CrossRef]
- Zhuang, M.-L.; Sun, C.; Dong, B. Experimental and numerical investigations on seismic performance of HTRB630 high-strength steel bars reinforced concrete columns. Case Stud. Constr. Mater. 2022, 17, e01185. [Google Scholar] [CrossRef]
- Li, Y.; Sun, D.; Dai, J. Experimental study on seismic performance of bridge pier with new HRB650E high-strength steel bar. Structures 2024, 70, 107650. [Google Scholar] [CrossRef]
- Kittaka, S.Y.; Tani, M.; Sun, Y.P.; Fujinaga, T. Study on the bending-shear properties of RC Columns reinforced with ultra-high-strength rebar. Proc. Jpn. Concr. Inst. 2010, 32, 79–84. (In Japanese) [Google Scholar]
- Nakai, S.M.; Sun, Y.P.; Takeuchi, T. Effects axial load level and longitudinal steel ratio on seismic performance of RC Columns reinforced by ultra-high strength rebar. Proc. Jpn. Concr. Inst. 2011, 33, 157–162. (In Japanese) [Google Scholar]
- Wang, J.; Sun, Y. Seismic fragility and post-earthquake reparability of concrete frame with low-bond high-strength reinforced concrete column. Structures 2022, 37, 185–202. [Google Scholar] [CrossRef]
- Wang, J.; Sun, Y.; Takeuchi, T. Seismic fragility and post-earthquake reparability of circular reinforced concrete bridge columns with low-bond high-strength reinforcements. Structures 2021, 34, 840–855. [Google Scholar] [CrossRef]
- Takeuchi, T.; Sun, Y.; Tani, M.; Shing, P.-S.B. Seismic performance of concrete columns reinforced with weakly bonded ultrahigh-strength longitudinal bars. J. Struct. Eng. 2021, 147, 04020290. [Google Scholar] [CrossRef]
- Architecture Institute of Japan (AIJ). Ultimate Strength and Deformation Capacity of Buildings in Seismic Design; Architecture Institute of Japan (AIJ): Tokyo, Japan, 1990; p. 713. (In Japanese) [Google Scholar]
- Funato, Y.; Sun, Y.; Takeuchi, T.; Cai, G. Modeling and application of band behavior of ultra-high strength bars with spiraled grooves on the surface. Proc. Jpn. Concr. Inst. 2012, 34, 157–162. (In Japanese) [Google Scholar]
- JIS, A. 1108; Method of Test for Compressive Strength of Concrete. Japanese Standards Association: Tokyo, Japan, 2018.
- Suzuki, Y.; Hyodo, Y.; Maruta, M.; Suzuki, N.; Koshika, N. Behavior of reinforced concrete buildings subjected to many cyclic loadings. J. Struct. Constr. Eng. (Transactions AIJ) 2009, 74, 2317–2325. [Google Scholar] [CrossRef]
- Jacobsen, L.S. Damping in Composite Structures. In Proceedings of the the 2nd World Conference on Earthquake Engineering, Tokyo and Kyoto, Japan, 11–18 July 1960; Volume 2, pp. 1029–1044. [Google Scholar]
- Sun, Y.; Fukuhara, T.; Kitajima, H. Analytical study of cyclic response of concrete members made of high-strength materials. In Proceedings of the the 8th U.S. National conference on earthquake engineering, San Francisco, CA, USA, 18–22 April 2006; Earthquake Engineering Research Institute: Oakland, CA, USA; p. 1581. [Google Scholar]
- Cai, G.; Fujinaga, T.; Larbi, A.S.; Wen, Y.; Malla, P.B. Cyclic behavior of RCFT columns with large D/t ratio steel tubes: Effect of reinforcement arrangement. Bull. Earthq. Eng. 2023, 21, 4565–4588. [Google Scholar] [CrossRef]
- Sun, Y.; Sakino, K.; Kitajima, H.; Fukuhara, T. Formulation and application of the stress-strain relationship for high-strength rebars without a clear yield shelf. Proc. Jpn. Concr. Inst. 2004, 26, 769–773. (In Japanese) [Google Scholar]
- Shima, H.; Chou, L.-L.; Okamura, H. Bond-slip strain relationship of deformed bars embedded in massive concrete. Doboku Gakkai Ronbunshu 1987, 1987, 165–174. [Google Scholar] [CrossRef][Green Version]






















| Specimen | B (mm) | D (mm) | Shear Span Length (mm) | Fc (N/mm2) | Loading Type | Debonded Length (mm) |
|---|---|---|---|---|---|---|
| F60S3U-NC | 250 | 250 | 750 | 60 | NC | 0 |
| F60S3SB-NC | NC | 0 | ||||
| F60S3SBD-MRC | MRC | 375 | ||||
| F60S3SB-MRC | MRC | 0 | ||||
| F60S3SBD-NC | NC | 375 |
| Specimen | Longitudinal Rebars | Stirrups | ||||
|---|---|---|---|---|---|---|
| Type | Number | pg (%) | pw (%) | ph (%) | S (mm) | |
| F60S3U-NC | SBPD1275/1420 (U) | 12 | 2.4 | 0.914 | 1.13 | 70 |
| F60S3SB-NC | SBPD1080/1230 (SB) | 4 | 2.43 | 2.26 | 35 | |
| F60S3SBD-MRC | ||||||
| F60S3SB-MRC | ||||||
| F60S3SBD-NC | ||||||
| Cement | Water | Fine Aggregate (1) | Fine Aggregate (2) | Fine Aggregate (3) | Coarse Aggregate (1) | Coarse Aggregate (2) | Admixture |
|---|---|---|---|---|---|---|---|
| 492 | 173 | 293 | 218 | 247 | 513 | 513 | 4.182 |
| W/C | 35.2% | Fine aggregate ratio | 45.4% |
Disclaimer/Publisher’s Note: The statements, opinions and data contained in all publications are solely those of the individual author(s) and contributor(s) and not of MDPI and/or the editor(s). MDPI and/or the editor(s) disclaim responsibility for any injury to people or property resulting from any ideas, methods, instructions or products referred to in the content. |
© 2024 by the authors. Licensee MDPI, Basel, Switzerland. This article is an open access article distributed under the terms and conditions of the Creative Commons Attribution (CC BY) license (https://creativecommons.org/licenses/by/4.0/).
Share and Cite
Wen, Y.; Cai, G.; Malla, P.B.; Kikuchi, H.; Xie, C. Seismic Behavior of Resilient Reinforced Concrete Columns with Ultra-High-Strength Rebars Under Strong Earthquake-Induced Multiple Reversed Cyclic Loading. Buildings 2024, 14, 3747. https://doi.org/10.3390/buildings14123747
Wen Y, Cai G, Malla PB, Kikuchi H, Xie C. Seismic Behavior of Resilient Reinforced Concrete Columns with Ultra-High-Strength Rebars Under Strong Earthquake-Induced Multiple Reversed Cyclic Loading. Buildings. 2024; 14(12):3747. https://doi.org/10.3390/buildings14123747
Chicago/Turabian StyleWen, Yue, Gaochuang Cai, Prafulla Bahadur Malla, Hayato Kikuchi, and Cheng Xie. 2024. "Seismic Behavior of Resilient Reinforced Concrete Columns with Ultra-High-Strength Rebars Under Strong Earthquake-Induced Multiple Reversed Cyclic Loading" Buildings 14, no. 12: 3747. https://doi.org/10.3390/buildings14123747
APA StyleWen, Y., Cai, G., Malla, P. B., Kikuchi, H., & Xie, C. (2024). Seismic Behavior of Resilient Reinforced Concrete Columns with Ultra-High-Strength Rebars Under Strong Earthquake-Induced Multiple Reversed Cyclic Loading. Buildings, 14(12), 3747. https://doi.org/10.3390/buildings14123747

