Experimental and Transformer-Based Study on Seismic Behavior and Plastic Hinge Length of RC Columns Reinforced with End-Fixed Ultra-High Strength Rebars
Abstract
1. Introduction
2. Test Programs
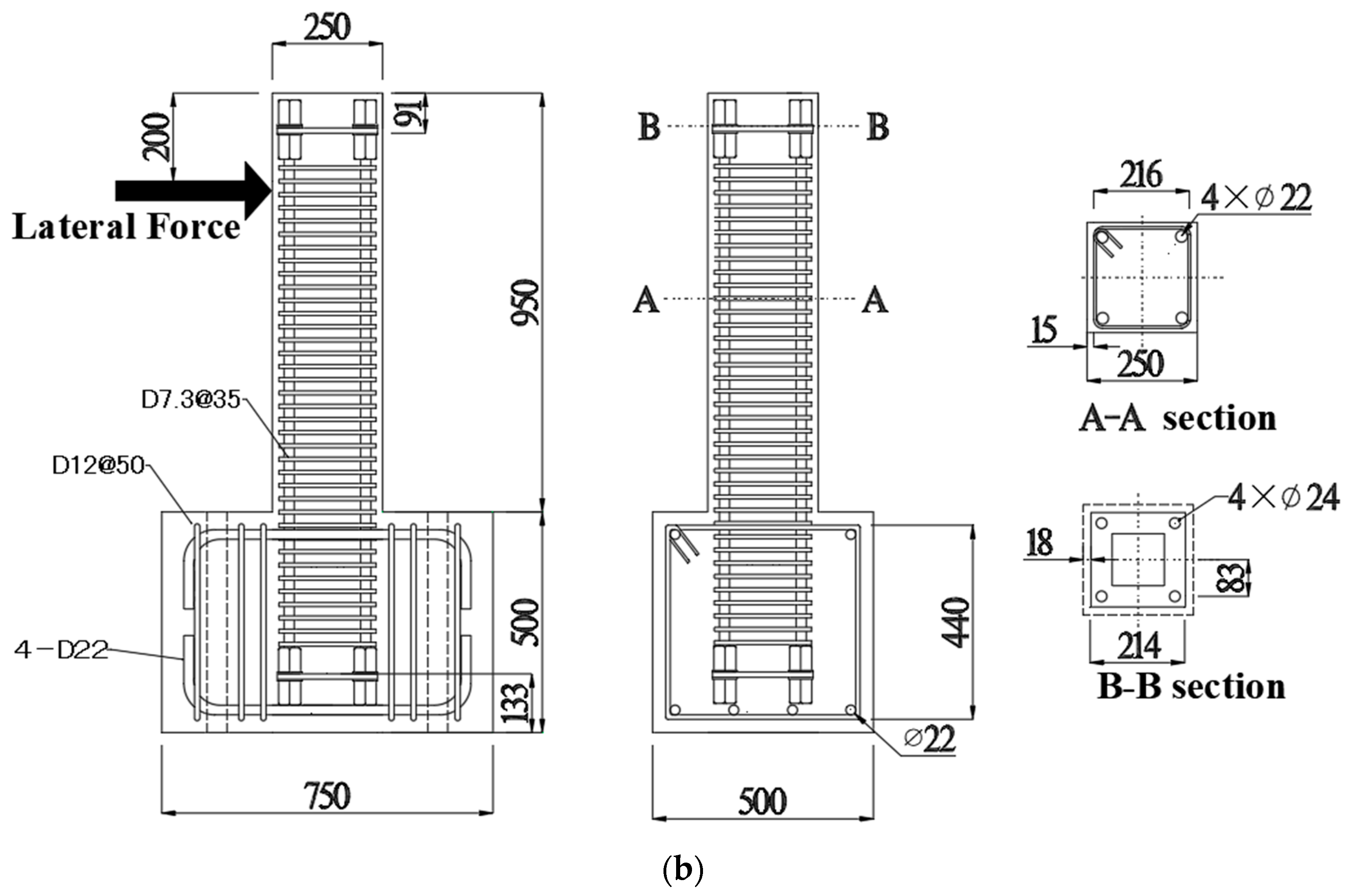
2.1. Details of Specimen
2.2. Properties of Used Materials
2.2.1. Steel Reinforcements
2.2.2. Concrete
2.3. Test Setup and Loading Protocols
2.3.1. Test Setups
2.3.2. Loading Protocols
3. Test Results
3.1. Hysteretic Response
3.2. Crack Observation
3.3. Residual Deformation
3.4. Energy Dissipation Capacity
3.5. Effect of MRC Loads
4. Discussion
4.1. Residual Deformation Control Mechanism of the U-NRC Specimen
4.2. PHL Evaluation
4.2.1. Experimental Observation
4.2.2. Existing PHL Model
5. ML-Based PHL Model
5.1. Introduction of Machine Learning Methods
5.1.1. MLP
5.1.2. XGBoost
5.1.3. KNN
5.1.4. Transformer
5.1.5. Training Process
5.2. Comparison and Validation
5.3. Explanation of the Optimal ML Model and Feature Importance
5.3.1. SHAP Method
5.3.2. Explanation of Transformer on Test Set
5.3.3. Explanation of Prediction on Investigated Columns
6. Conclusions and Remark
- (1)
- Comparing the F60S3N33U−NRC specimen to the F60S3N33SB−NRC specimen, the F60S3N33SB−NRC specimen exhibits a markedly reduced residual drift ratio and equivalent viscous damping factors, which can be explained by the large bond of the rebar or the deformed ribs on the surface of the bars, which hinders the free recovery of the column during large deformations, although these high-strength steel bars provide a strong restoring force by fixing their ends.
- (2)
- Regarding the impact of multiple reversed cyclic loads, it significantly induces degradation around the drift ratio corresponding to the peak lateral force of each loop, with the lateral force experiencing reductions of 17.13% and 20.30% in the positive and negative directions, respectively. However, this is not the case for the equivalent viscous damping factors, which remain stably close to 0.1.
- (3)
- An effective ML model based on the Transformer algorithm is introduced to evaluate the PHL of RC square columns including the RRC tested by the study, which is compared to the KNN, MLP, and XGBoost algorithms. The ML model predicts the PHL of the columns with relatively minor errors of 1.6% and 7.2% compared to the experimental observation. Moreover, the optimal Transformer model in the test set is with the following metrics: MAE = 0.1097; RMSE = 0.1262; R2 = 0.7163; and d = 0.9244.
- (4)
- According to the analysis based on the SHAP method of the Transformer model, the yield strength of the longitudinal reinforcement bars and the cross-sectional depth make the most positive contribution while the and P/P0 are the most negative input parameters to the prediction of the investigated columns.
Author Contributions
Funding
Data Availability Statement
Acknowledgments
Conflicts of Interest
References
- Goda, K.; Campbell, G.; Hulme, L.; Ismael, B.; Ke, L.; Marsh, R.; Sammonds, P.; So, E.; Okumura, Y.; Kishi, N.; et al. The 2016 Kumamoto earthquakes: Cascading geological hazards and compounding risks. Front. Built Environ. 2016, 2, 19. [Google Scholar] [CrossRef]
- Kato, A.; Ueda, T. Source fault model of the 2018 Mw 5.6 northern Osaka earthquake, Japan, inferred from the aftershock sequence. Earth Planets Space 2019, 71, 1–9. [Google Scholar] [CrossRef]
- Ando, M. Source mechanisms and tectonic significance of historical earthquakes along the Nankai Trough, Japan. Tectonophysics 1975, 27, 119–140. [Google Scholar] [CrossRef]
- Yamanaka, H.; Motoki, K.; Etoh, K.; Murayama, M.; Komaba, N. Observation of aftershocks of the 2003 Tokachi-Oki earthquake for estimation of local site effects. Earth Planets Space 2004, 56, 335–340. [Google Scholar] [CrossRef]
- Narihara, H.; Yasuda, S.; Sato, E.; Usami, T.; Suzui, Y.; Hasegawa, T. Study on Safety Assessment Methods for Super-high-rise Steel Buildings against Long-period Earthquake Ground Motions-Part 27 Multi-cycle Loading Test of CFT-Column (Outline of Test: Column of SN490B Steel and Fc60 Concrete); Summaries of Technical Papers of Annual Meeting; C-1, Structure III; Architectural Institute of Japan: Tokyo, Japan, 2014; pp. 1215–1216. (In Japanese) [Google Scholar]
- Kohtaki, K.; Sawamoto, Y.; Fukumoto, T.; Hasegawa, T. Experimental Study on Cyclic Properties of Square CFT Columns under Variable Axial Force; Summaries of Technical Papers of Annual Meeting; C-1, Structure III; Architectural Institute of Japan: Tokyo, Japan, 2021; pp. 849–850. (In Japanese) [Google Scholar]
- Kubota, A.; Takaine, Y.; Sawamoto, Y.; Kato, T. Structural performance of concrete-filled rectangular steel tubular columns using high-strength materials under repeated seismic loads. J. Struct. Constr. Eng. (Trans. AIJ) 2022, 87, 1267–1277. [Google Scholar] [CrossRef]
- Nagai, S.; Kaneko, T.; Maruta, M. Structural characteristics of RC beam members under repeated seismic loads. In Proceedings of the Japan Concrete Institute; Japan Concrete Institute: Tokyo, Japan, 2008; Volume 30, pp. 979–984. Available online: https://cir.nii.ac.jp/crid/1520573331219023488 (accessed on 16 June 2024).
- Sawaguchi, K.; Yamanobe, K.; Terada, T. Repeated behavior of RC column-beam joints in the plastic region. J. Struct. Constr. Eng. (Trans. AIJ) 2012, 77, 1123–1129. [Google Scholar] [CrossRef]
- Suzuki, Y.; Hyodo, Y.; Maruta, M.; Suzuki, N.; Koshika, N. Behavior of reinforced concrete buildings subjected to many cyclic loadings. In The Architectural Institute of Japan’s Journal of Structural and Construction Engineering; Architectural Institute of Japan: Tokyo, Japan, 2009; Volume 74, pp. 2317–2325. (In Japanese) [Google Scholar]
- Takeuchi, T.; Sun, Y.; Tani, M.; Shing, P.B. Seismic Performance of Concrete Columns Reinforced with Weakly Bonded Ultrahigh-Strength Longitudinal Bars. J. Struct. Eng. 2021, 147, 04020290. [Google Scholar] [CrossRef]
- Wang, J.H.; Cai, G.C.; Si Larbi, A. Lateral behavior of rectangular concrete columns reinforced by partially deboned high-strength reinforcements based on a proposed equivalent stress block. Bull. Earthq. Eng. 2021, 19, 1901–1930. [Google Scholar] [CrossRef]
- Sun, Y.P.; Cai, G.C.; Takeshi, T. Seismic performance of circular RC columns reinforced by ultra-high-strength rebars having low-bond-strength. J. Struct. Eng. 2023, 147, 04020290. [Google Scholar]
- Sun, Y.P.; Cai, G.C.; Takeshi, T. Seismic behavior and performance-based design of resilient concrete columns. Appl. Mech. Mater. 2013, 438, 1453–1460. [Google Scholar] [CrossRef]
- Ning, C.-L.; Li, B. Probabilistic approach for estimating plastic hinge length of reinforced concrete columns. J. Struct. Eng. 2016, 142, 04015164. [Google Scholar] [CrossRef]
- Sapkota, S.C.; Das, S.; Saha, P. Optimized machine learning models for prediction of effective stiffness of rectangular reinforced concrete column sections. Structures 2024, 62, 106155. [Google Scholar] [CrossRef]
- Ni, X.; Xiong, Q.; Kong, Q.; Yuan, C. Deep HystereticNet to predict hysteretic performance of RC columns against cyclic loading. Eng. Struct. 2022, 273, 115103. [Google Scholar] [CrossRef]
- Charalampakis, A.E.; Papanikolaou, V.K. Machine learning design of R/C columns. Eng. Struct. 2021, 226, 111412. [Google Scholar] [CrossRef]
- Lee, C.S.; Mangalathu, S.; Jeon, J.S. Machine learning–assisted drift capacity prediction models for reinforced concrete columns with shape memory alloy bars. Comput.-Aided Civ. Infrastruct. Eng. 2024, 39, 595–616. [Google Scholar] [CrossRef]
- Wakjira, T.G.; Alam, M.S.; Ebead, U. Plastic hinge length of rectangular RC columns using ensemble machine learning model. Eng. Struct. 2021, 244, 112808. [Google Scholar] [CrossRef]
- AIJ 5-26-20; AIJ Standard for Structural Calculation of Steel Reinforced Concrete Structures. Architectural Institute of Japan (AIJ): Tokyo, Japan, 1987.
- Funato, Y.; Sun, Y.; Takeuchi, T.; Cai, G. Modeling and application of band behavior of ultra-high strength bars with spiraled grooves on the surface. JCI Proc. 2012, 34, 157–162. (In Japanese). Available online: https://data.jci-net.or.jp/data_html/34/034-01-2027.html (accessed on 16 June 2024).
- Jacobsen, L.S. Damping in composite structures. In Proceedings of the 2nd World Conference on Earthquake Engineering, Tokyo and Kyoto, Japan, 11–18 July 1960; Volume 2, pp. 1029–1044. [Google Scholar]
- Sheikh, S.A.; Khoury, S.S. Confined concrete columns with stubs. ACI Struct. J. 1993, 90, 414–431. [Google Scholar]
- European Committee for Standardization (CEN) EN 1998-3. Design of Structures for Earthquake Resistance—Part 3: Assessment and Retrofitting of Buildings; CEN: Brussels, Belgium, 2005. [Google Scholar]
- Priestley, M.J.N.; Park, R. Strength and ductility of RC bridge columns under seismic loading. Struct. J. ACI 1987, 84, 285–336. [Google Scholar]
- Paulay, T.; Priestly, M.J.N. Seismic Design of Reinforced Concrete and Masonry Buildings; Wiley: New York, NY, USA, 1992. [Google Scholar] [CrossRef]
- Priestley, M.J.N.; Seible, F.; Calvi, G. Seismic Design and Retrofit of Bridges; Wiley: New York, NY, USA, 1996. [Google Scholar]
- Panagiotakos, T.B.; Fardis, M.N. Deformations of reinforced concrete members at yielding and ultimate. ACI Struct. J. 2001, 98, 135–148. [Google Scholar]
- Lu, Y.; Gu, X.; Guan, J. Probabilistic drift limits and performance evaluation of reinforced concrete columns. J. Struct. Eng. 2005, 131, 966–978. [Google Scholar] [CrossRef]
- Berry, M.P.; Eberhard, M.O. Performance Modeling Strategies for Modern Reinforced Concrete Bridge Columns; PEER Report 2007/07; Pacific Earthquake Engineering Research Center, College of Engineering, University of California: Berkeley, CA, USA, 2007. [Google Scholar]
- EN 1998-3:2005; Eurocode 8: Design of Structures for Earthquake Resistance-Part 3: Assessment and Retrofitting of Buildings. CEN: Brussels, Belgium, 2005; Volume 1. Available online: https://www.concrete.org/publications/internationalconcreteabstractsportal/m/details/id/19788 (accessed on 16 June 2024).
- Bae, S.; Bayrak, O. Plastic hinge length of reinforced concrete columns. ACI Struct. J. 2008, 105, 290–300. [Google Scholar] [CrossRef]
- Reinforced Concrete Beams and Limited Ductile Highstrength Concrete Columns. Ph.D. Thesis, University of Hong Kong, Hong Kong, China, 2003.
- Biskinis, D.; Fardis, M.N. Flexure-controlled ultimate deformations of members with continuous or lap-spliced bars. Struct. Concr. 2010, 11, 93–108. [Google Scholar] [CrossRef]
- Pam, H.J.; Ho, J.C.M. Length of critical region for confinement steel in limited ductility high-strength reinforced concrete columns. Eng. Struct. 2009, 31, 2896–2908. [Google Scholar] [CrossRef]
- Sheikh, S.A.; Shah, D.V.; Khoury, S.S. Confinement of high strength concrete columns. ACI Struct. J. 1994, 91, 100–111. [Google Scholar]
- Yang, K.; Shi, Q.X.; Zhao, J.H. Plastic hinge length of high strength concrete columns confined by high strength stirrups. Eng. Mech. 2013, 30, 254–259. (In Chinese) [Google Scholar]
- Tanaka, H. Effect of Lateral Confining Reinforcement on the Ductile Behaviour of Reinforced Concrete Columns. Ph.D. Thesis, Department of Civil Engineering, University of Canterbury, Christchurch, New Zealand, 1990. [Google Scholar]
- Legeron, F.; Paultre, P. Behavior of high-strength concrete columns under cyclic flexure and constant axial load. ACI Struct. J. 2000, 97, 591–601. [Google Scholar]
- Ohno, T.; Nishioka, T. An experimental study on energy absorption capacity of columns in reinforced concrete structures. Proc. JSCE Struct. Eng./Earthq. Eng. 1984, 1, 137–147. [Google Scholar] [CrossRef] [PubMed]
- Ho JC, M.; Pam, H.J. Inelastic design of low-axially loaded high-strength reinforced concrete columns. Eng. Struct. 2003, 25, 1083–1096. [Google Scholar]
- Bayrak, O. Seismic Performance of Rectilinearly Confined High Strength Concrete Columns. Ph.D. Thesis, University of Toronto, Toronto, ON, Canada, 1998. [Google Scholar]
- Pinkus, A. Approximation theory of the MLP model in neural networks. Acta Numer. 1999, 8, 143–195. [Google Scholar] [CrossRef]
- Kuang, Q.; Zhao, L. A practical GPU based kNN algorithm. In Proceedings of the 2009 International Symposium on Computer Science and Computational Technology (ISCSCI 2009), Vancouver, BC, Canada, 29–31 August 2009. [Google Scholar]
- Chen, T.; Carlos, G. Xgboost: A scalable tree boosting system. In Proceedings of the 22nd ACM SIGKDD International Conference on Knowledge Discovery and Data Mining, San Francisco, CA, USA, 13–17 August 2016. [Google Scholar]
- Han, K.; Xiao, A.; Wu, E.; Guo, J.; Xu, C.; Wang, Y. Transformer in transformer. Adv. Neural Inf. Process. Syst. 2021, 34, 15908–15919. [Google Scholar]
- Willmott, C.J. On the validation of models. Phys. Geogr. 1981, 2, 184–194. [Google Scholar] [CrossRef]
- Lundberg, S.M.; Lee, S. A unified approach to interpreting model predictions. In Proceedings of the 31st Conference on Neural Information Processing Systems (NIPS 2017), Long Beach, CA, USA, 4–9 December 2017; pp. 1–10. [Google Scholar]






















| Specimen # | Cross-Section | Longitudinal Rebars | Steel Stirrups | Load Types | |||||
|---|---|---|---|---|---|---|---|---|---|
| B | D | a/D | Type | pg | pw | ph | S | ||
| (mm) | (mm) | (%) | (%) | (%) | (mm) | ||||
| F60S3N33U-NRC | 250 | 250 | 3.0 | U bars | 2.4 | 0.914 | 1.13 | 70 | NRC |
| F60S3N33SB-NRC | SB bars | 2.43 | 2.26 | 35 | NRC | ||||
| F60S3N33SB-MRC | SB bars | 2.43 | 2.26 | 35 | MRC | ||||
| # | E (kN/mm2) | fy (N/mm2) | εy (×10−2) | fm (N/mm2) |
|---|---|---|---|---|
| U rebar | 213 | 1435 | 0.87 | 1512 |
| SB rebar | 191 | 1106 | 0.78 | - |
| Ref. | Authors | Plastic Hinge Length (Lp) Expressions | Lp,cal (mm) | |
|---|---|---|---|---|
| U | SB | |||
| [26] | Sheikh and Khoury | 250 | 250 | |
| [27] | Priestley and Park | 136 | 198 | |
| [28] | Paulay and Priestly | 458 | 620 | |
| [29] | Priestley et al. | 458 | 620 | |
| [30] | Panagiotakos and Fardis | 90 | 90 | |
| [31] | Lu et al. | 161 | 245 | |
| [32] | Berry and Eberhard | 188 | 188 | |
| [33] | EN 1998-3 (2005) EC8 | 333 | 438 | |
| [34] | Bae and Bayrak | 73 | 73 | |
| [16] | Ning and Li | 187 | 253 | |
| [35] | Ho | 150 | 150 | |
| [33] | Biskinis and Fardis | 100 | 100 | |
| Experimental results (Lp,exp) | 120 | 120 | ||
| Ref. | B (mm) | L (mm) | (MPa) | Longitudinal Rebars | Transverse Hoops | Observed PHL Ratio | |||||
|---|---|---|---|---|---|---|---|---|---|---|---|
(mm) | (%) | (MPa) | s (mm) | (%) | (MPa) | ||||||
| [36] | 610 | 3050 | 43.3 | 22 | 1.25 | 503 | 95 | 2.04 | 427 | 0.43 | 0.66 |
| 440 | 3050 | 43.3 | 16 | 1.25 | 496 | 86 | 1.76 | 496 | 0.43 | 0.91 | |
| 610 | 3050 | 36.5 | 22 | 1.25 | 400 | 152 | 0.72 | 455 | 0.17 | 0.49 | |
| 610 | 3050 | 41.4 | 22 | 1.25 | 400 | 152 | 1.3 | 434 | 0.17 | 0.47 | |
| [24] | 325 | 1895 | 50 | 32 | 6.1 | 531 | 70 | 2.1 | 531 | 0.61 | 1.47 |
| 325 | 1895 | 83.3 | 20 | 2.4 | 531 | 70 | 2.1 | 531 | 0.33 | 1.42 | |
| 325 | 1895 | 77.8 | 12 | 0.9 | 339 | 85 | 1.73 | 339 | 0.12 | 0.92 | |
| 325 | 1895 | 80.6 | 20 | 2.4 | 531 | 105 | 2.1 | 531 | 0.31 | 1.48 | |
| 325 | 1895 | 56.1 | 32 | 6.1 | 531 | 110 | 2 | 531 | 0.59 | 1.2 | |
| 325 | 1895 | 96.4 | 20 | 2.4 | 531 | 90 | 2.45 | 531 | 0.34 | 1.47 | |
| 325 | 1895 | 94.7 | 32 | 6.1 | 531 | 100 | 2.2 | 531 | 0.35 | 1.69 | |
| 325 | 1895 | 85 | 32 | 6.1 | 572 | 120 | 3.2 | 572 | 0.63 | 2.05 | |
| [37] | 305 | 1841 | 32.4 | 19 | 2.44 | 508 | 95 | 1.68 | 508 | 0.76 | 0.85 |
| 305 | 1841 | 32.5 | 19 | 2.44 | 508 | 114 | 1.69 | 464 | 0.76 | 1.1 | |
| 305 | 1841 | 33.2 | 19 | 2.44 | 508 | 108 | 1.68 | 508 | 0.6 | 0.96 | |
| 305 | 1841 | 31.3 | 19 | 2.44 | 508 | 108 | 1.68 | 464 | 0.77 | 1.05 | |
| 305 | 1841 | 32.8 | 19 | 2.44 | 508 | 108 | 3.06 | 508 | 0.77 | 0.99 | |
| 305 | 1841 | 32.3 | 19 | 2.44 | 508 | 108 | 1.3 | 508 | 0.47 | 1.16 | |
| [38] | 305 | 1841 | 54.1 | 19 | 2.44 | 508 | 108 | 1.68 | 508 | 0.62 | 1.05 |
| 305 | 1841 | 54.7 | 19 | 2.44 | 508 | 108 | 3.06 | 464 | 0.64 | 0.89 | |
| 305 | 1841 | 53.6 | 19 | 2.44 | 508 | 76 | 4.3 | 464 | 0.64 | 1.08 | |
| [39] | 300 | 1200 | 72 | 16 | 2.98 | 483 | 50 | 1.92 | 952 | 0.57 | 1.5 |
| 300 | 1200 | 74 | 16 | 2.98 | 483 | 80 | 1.2 | 952 | 0.57 | 1 | |
| 300 | 1200 | 80.5 | 16 | 2.98 | 483 | 50 | 1.92 | 952 | 0.45 | 1 | |
| 300 | 1200 | 86.4 | 16 | 2.98 | 483 | 80 | 1.2 | 952 | 0.45 | 1.2 | |
| 300 | 1200 | 72.6 | 16 | 2.98 | 483 | 50 | 2.48 | 952 | 0.57 | 0.84 | |
| 300 | 1200 | 80 | 16 | 2.98 | 483 | 80 | 1.55 | 952 | 0.55 | 1.06 | |
| 300 | 1200 | 76 | 16 | 2.98 | 483 | 50 | 2.48 | 952 | 0.5 | 1.17 | |
| 300 | 1200 | 88 | 16 | 2.98 | 483 | 80 | 1.55 | 952 | 0.5 | 1.61 | |
| 300 | 1200 | 76.2 | 16 | 2.98 | 483 | 50 | 2.48 | 952 | 0.5 | 0.93 | |
| 300 | 1200 | 75.1 | 16 | 2.98 | 483 | 50 | 2.48 | 952 | 0.56 | 1.55 | |
| [40] | 400 | 1800 | 25.6 | 20 | 1.57 | 474 | 80 | 2.55 | 333 | 0.2 | 0.43 |
| [41] | 550 | 1650 | 32 | 20 | 1.25 | 511 | 110 | 1.7 | 325 | 0.1 | 0.39 |
| 550 | 1650 | 32 | 20 | 1.25 | 511 | 110 | 1.7 | 325 | 0.1 | 0.69 | |
| 550 | 1650 | 32.1 | 20 | 1.25 | 511 | 90 | 2.8 | 325 | 0.3 | 0.67 | |
| 550 | 1650 | 32.1 | 20 | 1.25 | 511 | 90 | 2.8 | 325 | 0.3 | 0.86 | |
| [42] | 400 | 1600 | 24.8 | 19 | 0.82 | 362 | 100 | 0.32 | 325 | 0.03 | 1 |
| 400 | 1600 | 24.8 | 19 | 0.82 | 362 | 100 | 0.32 | 325 | 0.03 | 1 | |
| 400 | 1600 | 24.8 | 19 | 0.82 | 362 | 100 | 0.32 | 325 | 0.08 | 1 | |
| 400 | 1600 | 24.8 | 19 | 0.82 | 362 | 100 | 0.32 | 325 | 0.03 | 1 | |
| [43] | 325 | 1895 | 89.6 | 12 | 0.86 | 556 | 100 | 0.38 | 378 | 0.11 | 0.83 |
| 325 | 1895 | 85.4 | 12 | 0.86 | 556 | 175 | 0.38 | 362 | 0.11 | 0.68 | |
| 325 | 1895 | 83.2 | 12 | 0.86 | 556 | 220 | 0.47 | 344 | 0.11 | 0.8 | |
| 325 | 1895 | 85.9 | 12 | 0.86 | 556 | 85 | 1.73 | 339 | 0.11 | 0.77 | |
| [44] | 305 | 2010 | 72.1 | 20 | 2.58 | 454 | 95 | 3.15 | 463 | 0.5 | 1.15 |
| 305 | 2010 | 71.7 | 20 | 2.58 | 454 | 90 | 2.84 | 542 | 0.36 | 0.98 | |
| 305 | 2010 | 71.8 | 20 | 2.58 | 454 | 90 | 2.84 | 542 | 0.5 | 0.91 | |
| 305 | 2010 | 71.9 | 20 | 2.58 | 454 | 100 | 5.12 | 463 | 0.5 | 0.89 | |
| 305 | 2010 | 101.8 | 20 | 2.58 | 454 | 90 | 4.83 | 542 | 0.45 | 0.86 | |
| 305 | 2010 | 101.9 | 20 | 2.58 | 454 | 76 | 6.72 | 463 | 0.46 | 1.05 | |
| 305 | 2010 | 102 | 20 | 2.58 | 454 | 94 | 2.72 | 542 | 0.45 | 0.88 | |
| 305 | 2010 | 102.2 | 20 | 2.58 | 454 | 70 | 4.29 | 463 | 0.47 | 1.26 | |
| ML Models | Prediction of Plastic Hinge Height (×λ) (mm) | |
|---|---|---|
| U-Series | SB-Series | |
| KNN | 108.2 | 95.0 |
| XGBoost | 104.9 | 106.6 |
| MLP | 95.7 | 95.7 |
| Transformer | 118.8 | 114.8 |
| Experimental observations | 120.0 | 120.0 |
Disclaimer/Publisher’s Note: The statements, opinions and data contained in all publications are solely those of the individual author(s) and contributor(s) and not of MDPI and/or the editor(s). MDPI and/or the editor(s) disclaim responsibility for any injury to people or property resulting from any ideas, methods, instructions or products referred to in the content. |
© 2024 by the authors. Licensee MDPI, Basel, Switzerland. This article is an open access article distributed under the terms and conditions of the Creative Commons Attribution (CC BY) license (https://creativecommons.org/licenses/by/4.0/).
Share and Cite
Wen, Y.; Cai, G.; Malla, P. Experimental and Transformer-Based Study on Seismic Behavior and Plastic Hinge Length of RC Columns Reinforced with End-Fixed Ultra-High Strength Rebars. Buildings 2024, 14, 3046. https://doi.org/10.3390/buildings14103046
Wen Y, Cai G, Malla P. Experimental and Transformer-Based Study on Seismic Behavior and Plastic Hinge Length of RC Columns Reinforced with End-Fixed Ultra-High Strength Rebars. Buildings. 2024; 14(10):3046. https://doi.org/10.3390/buildings14103046
Chicago/Turabian StyleWen, Yue, Gaochuang Cai, and Prafulla Malla. 2024. "Experimental and Transformer-Based Study on Seismic Behavior and Plastic Hinge Length of RC Columns Reinforced with End-Fixed Ultra-High Strength Rebars" Buildings 14, no. 10: 3046. https://doi.org/10.3390/buildings14103046
APA StyleWen, Y., Cai, G., & Malla, P. (2024). Experimental and Transformer-Based Study on Seismic Behavior and Plastic Hinge Length of RC Columns Reinforced with End-Fixed Ultra-High Strength Rebars. Buildings, 14(10), 3046. https://doi.org/10.3390/buildings14103046

