Experimental Test and Analytical Calculation on Residual Strength of Prestressed Concrete T-Beams After Fire
Abstract
1. Introduction
2. Overview of Experimental Methodology
2.1. Design and Materials of Experimental Specimens
2.1.1. Workflow for Specimen Design
2.1.2. Mechanical Properties of Materials
2.2. Experimental Design and Measurement Protocols
2.2.1. Experimental Protocol
2.2.2. Testing Parameters
3. Analysis of Experimental Phenomena and Results
3.1. Experimental Observations
3.1.1. Post-Fire Test Visual Manifestations
3.1.2. Observations of Residual Load-Bearing Capacity Test
3.2. Results and Analysis of Experimental Findings
3.2.1. Measured Cross-Section Temperature Profiles
3.2.2. Prestress Loss After Constant Temperature Test
3.2.3. Residual Load-Bearing Capacity After Constant Temperature Test
3.2.4. Midspan Deflection Variation Curves
4. Finite Element Analysis Model
4.1. Establishment of the Finite Element Analysis Model
4.2. Validation of the Temperature Field Model
4.3. Validation of Prestress Loss
4.4. Validation of Residual Load-Bearing Capacity
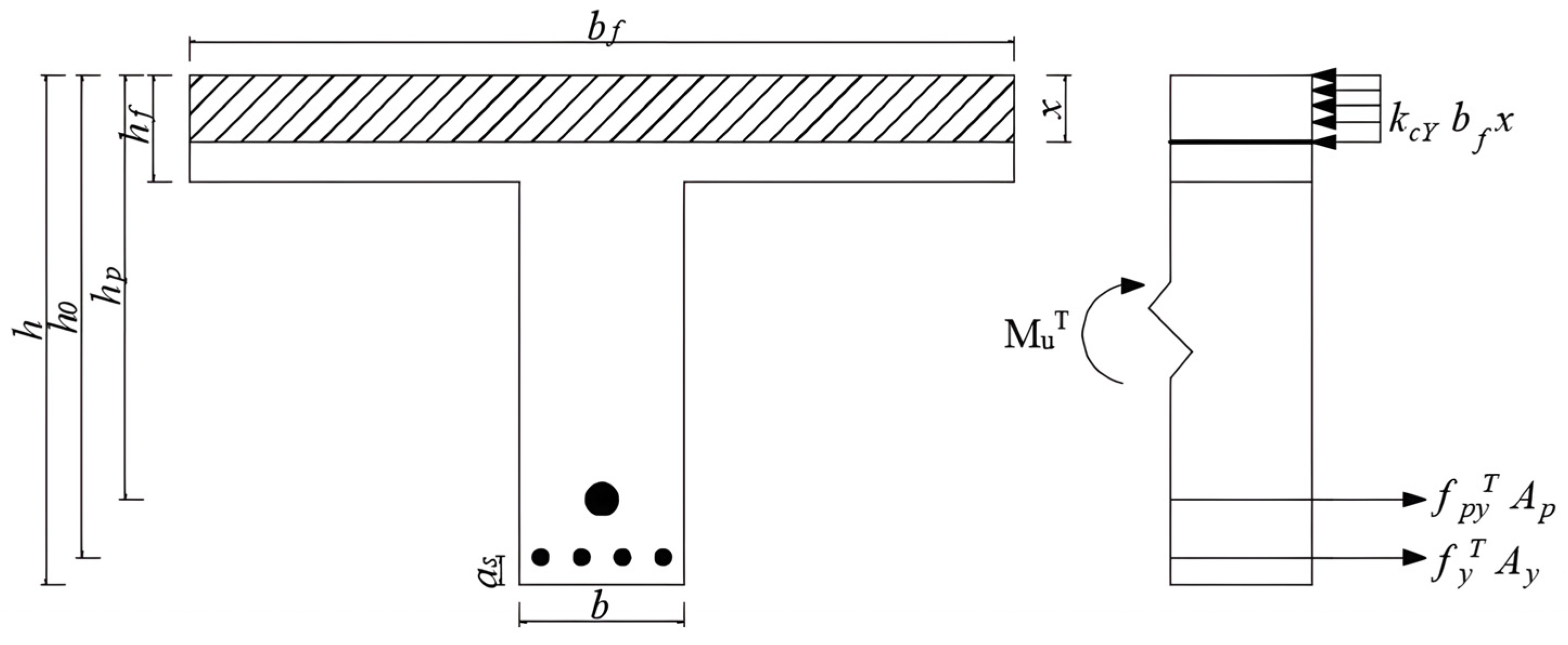
5. Calculation of Residual Load-Bearing Capacity After High Temperature
5.1. Fundamental Assumptions
- (1)
- The section of the prestressed concrete T-beam after fire exposure conforms to the plane cross-section assumption.
- (2)
- There is no relative slip between the internal reinforcement and the concrete of the prestressed concrete T-beam following fire exposure.
- (3)
- The tensile contribution of the concrete in the tensile zone of the prestressed concrete T-beam is neglected.
5.2. Concrete Strength Reduction Factor
- (1)
- The temperature field distribution of prestressed concrete T-beams during a fire is simulated using the finite element software ABAQUS;
- (2)
- Isotherms representing the temperature distribution across the cross-section of the component are drawn based on the temperature field distribution cloud map, as illustrated in Figure 17;
- (3)
- The areas of each segment are calculated based on the temperature isotherms;
- (4)
- The component is divided into the flange and web sections according to the following equation, and the equivalent strength reduction coefficients are calculated for each section separately.
5.3. Simplified Calculation of Steel Strength After High Temperature
5.4. Fundamental Equations
5.5. Validation of Results
6. Conclusions
- The duration of high temperatures during a fire significantly influences the damage extent to prestressed concrete T-beams. As the duration of high temperatures increases, both the concrete and reinforcement bars experience thermal damage, exacerbating the high-temperature degradation of prestressed tendons and consequently affecting their residual load-bearing capacity. When the duration of high temperatures is 60, 120, and 180 min, the prestress losses are observed to reach 48.17%, 85.16%, and 93.26%, respectively.
- After a fire, as prestressed concrete T-beams are subjected to bending loads, the rate of crack propagation and the rate of deflection decrease accelerate with increasing duration of high temperatures, leading to wider cracks at failure and a significant reduction in residual load-bearing capacity. When the duration of high temperatures is 60, 120, and 180 min, the cracking loads decrease by 15%, 27%, and 42%, respectively, while the residual load-bearing capacities decline by 11%, 21%, and 28%.
- This study established a finite element analysis model for the residual load-bearing capacity of prestressed concrete T-beams post-fire, and experimentally validated the model’s high degree of fit and accuracy.
- Considering the damage to concrete, reinforcement, and prestressing tendons under high temperatures, a simplified computational formula for the residual load-bearing capacity of prestressed concrete T-beams post-fire was proposed. By comparing the results with experimental data, the reliability of the computational formula was validated, providing a dependable reference for assessing the residual performance of prestressed concrete T-beams in practical engineering applications following fire exposure.
Author Contributions
Funding
Data Availability Statement
Conflicts of Interest
References
- Wang, Y.; Liu, Z.; Qu, S. Fire resistance of reinforced concrete beams: State of the art, analysis and prediction. Constr. Build. Mater. 2023, 409, 134029. [Google Scholar] [CrossRef]
- Jeyashree, T.M.; Rajkumar, P.R.K.; Satyanarayanan, K.S. Developments and research on fire response behaviour of prestressed concrete members—A review. J. Build. Eng. 2022, 57, 104797. [Google Scholar] [CrossRef]
- Xu, Q.; Han, C.; Wang, Y.C. Experimental and numerical investigations of fire resistance of continuous high strength steel reinforced concrete T-beams. Fire Saf. J. 2015, 78, 142–154. [Google Scholar] [CrossRef]
- Yang, Y.; Feng, S.; Xue, Y. Experimental study on shear behavior of fire-damaged reinforced concrete T-beams retrofitted with prestressed steel straps. Constr. Build. Mater. 2019, 209, 644–654. [Google Scholar] [CrossRef]
- Zheng, W.Z.; Hou, X.M.; Wang, Y. Progress and prospect of fire resistance of reinforced concrete and prestressed concrete structures. J. Harbin Inst. Technol. 2016, 48, 1–18. [Google Scholar]
- Kodur, V.K.R.; Dwaikat, M.B. Design equation for predicting fire resistance of reinforced concrete beams. Eng. Struct. 2011, 33, 602–614. [Google Scholar] [CrossRef]
- Tan, K.H.; Yao, Y. Fire resistance of reinforced concrete columns subjected to 1-, 2-, and 3-face heating. J. Struct. Eng. 2004, 130, 1820–1828. [Google Scholar] [CrossRef]
- Wang, Y.Z.; Qiu, H.; Xu, T.G. Change Law of Failure Modes of Reinforced Concrete Beams with Fixed Ends in Fire. J. Disaster Prev. Mitig. Eng. 2024, 44, 192–201. [Google Scholar]
- Yan, K.; Cai, H.; Zhang, Y. Experimental study on fire resistance of prestressed reactive powder concrete beams. J. Build. Struct. 2020, 41, 105–115. [Google Scholar] [CrossRef]
- Bamonte, P.; Kalaba, N.; Felicetti, R. Computational study on prestressed concrete members exposed to natural fires. Fire Saf. J. 2018, 97, 54–65. [Google Scholar] [CrossRef]
- Selamet, S.; Ozer, A.Y.; Ildan, K.B. Experimental study on the fire performance of prestressed steel parallel wire strands. Eng. Struct. 2023, 280, 115709. [Google Scholar] [CrossRef]
- Khalaf, J.; Huang, Z. Analysis of the bond behaviour between prestressed strands and concrete in fire. Constr. Build. Mater. 2016, 128, 12–23. [Google Scholar] [CrossRef]
- Zhang, G.; Song, C.J.; Li, X.Y. Experimental Study on Fire Resistance of Prestressed Concrete Girders Under Fuel Fire Exposure. China J. Highw. Transp. 2022, 35, 210–221. [Google Scholar]
- Yu, Y.; Hang, Z.; Zhao, W. Fire-resistance mechanism and residual bearing capacity of prestressed concrete beams after fire exposure. J. Struct. Eng. 2021, 147, 04021109. [Google Scholar] [CrossRef]
- Liu, C.; Zhou, B.; Guo, X. Analysis and prediction methods for the static properties of reinforced concrete beams under fire. Structures 2023, 47, 2319–2330. [Google Scholar] [CrossRef]
- Zhang, Y.; Zhang, X.; Zhang, R. Fire and post-fire performance of unbonded semi-precast prestressed reinforced concrete beams. Eng. Struct. 2024, 308, 117961. [Google Scholar] [CrossRef]
- JGJ369-2016; Code for Design of Prestressed Concrete Structures. China Architecture & Building Press: Beijing, China, 2016.
- Yuan, G.L.; Li, Q.T.; Lu, Z.T.; Huang, F.Y. Prestressing loss of steel cable in unbonded prestressed RC at high temperature. J. Hohai Univ. (Nat. Sci.) 2006, 1, 88–91. [Google Scholar]
- Wang, Y.; Gu, Y.; Liu, J. A domain-decomposition generalized finite difference method for stress analysis in three-dimensional composite materials. Appl. Math. Lett. 2020, 104, 106226. [Google Scholar] [CrossRef]
- Kabir, H.; Aghdam, M.M. A robust Bézier based solution for nonlinear vibration and post-buckling of random checkerboard graphene nano-platelets reinforced composite beams. Compos. Struct. 2019, 212, 184–198. [Google Scholar] [CrossRef]
- Hou, W. Study on the Performance of Concrete Box Girder of PSC Structure in Fire; Chang’an University: Xi’an, China, 2014. [Google Scholar]
- Rabinovitch, O. Cohesive interface modeling of debonding failure in FRP strengthened beams. J. Eng. Mech. 2008, 134, 578–588. [Google Scholar] [CrossRef]
- Funari, M.F.; Spadea, S.; Fabbrocino, F.; Luciano, R. A moving interface finite element formulation to predict dynamic edge debonding in FRP-strengthened concrete beams in service conditions. Fibers 2020, 8, 42. [Google Scholar] [CrossRef]
- Lonetti, P. Dynamic propagation phenomena of multiple delaminations in composite structures. Comput. Mater. Sci. 2010, 48, 563–575. [Google Scholar] [CrossRef]
- Fabbrocino, F.; Funari, M.F.; Greco, F.; Lonetti, P.; Luciano, R. Numerical modeling based on moving mesh method to simulate fast crack propagation. Frat. Ed Integrità Strutt. 2020, 14, 410–422. [Google Scholar] [CrossRef]
- Armando, L.S.; Pereiro-Barceló, J.; Foti, D.; Ivorra, S. Detailed Numerical Micro-modelling of Masonry TRM Reinforcements. In International Conference on Structural Analysis of Historical Constructions; Springer Nature: Cham, Switzerland, 2023; pp. 543–555. [Google Scholar]
- Wang, Z.Q. The Experimental Research and Theoretical Analysis of Fire-Resistance Behaviors of Unbonded Prestressed Concrete Flat Beams; Central South University: Changsha, China, 2006. [Google Scholar]
- GB50010-2010; Code for Design of Concrete Structures. China Architecture & Building Press: Beijing, China, 2010.
Weight Proportioning Ratio | Cube Identification Number | Compressive Strength of Cubes (MPa) | |||
---|---|---|---|---|---|
Cement | Water | Sand | Gravel | 1 | 40.2 |
2 | 41.6 | ||||
1 | 0.390 | 1.906 | 2.951 | 3 | 40.8 |
Materials | Diameter of Reinforcing Steel Bars (mm) | Yield Strength (MPa) | Tensile Strength (MPa) |
---|---|---|---|
Plain round steel bar | 8 | 462.9 | 586.6 |
Deformed steel bar | 8 | 464.1 | 598.8 |
Deformed steel bar | 12 | 470.2 | 611.4 |
Experimental Beam Identification Number σlt1 | Cracking Load (kN) | Cracking Moment (kN·m) | Ultimate Load (kN) | Ultimate Bending Moment (kN·m) | Application of Prestressing (MPa) | Residual Prestressing (MPa) | Prestressing Loss Ratio (%) |
---|---|---|---|---|---|---|---|
PTL-0 | 21.15 | 7.05 | 141.34 | 47.11 | 1395 | 1395 | 0 |
PTL-60 | 17.88 | 5.96 | 125.47 | 41.82 | 1395 | 723 | 48.17 |
PTL-120 | 15.46 | 5.15 | 111.24 | 37.08 | 1395 | 207 | 85.16 |
PTL-180 | 12.22 | 4.07 | 102.14 | 34.05 | 1395 | 94 | 93.26 |
Construction Materials | Density (kg/m3) | Elastic Modulus (MPa) | Coefficient of Thermal Expansion | Poisson’s Ratio |
---|---|---|---|---|
Concrete | 2400 | 3.16 × 104 | 7.24 × 10−6 | 0.2 |
Reinforcing steel | 7850 | 2.01 × 104 | 1.52 × 10−5 | 0.3 |
Prestressing tendon | 7930 | 1.95 × 105 | 1.40 × 10−5 | 0.3 |
Specimen Identification Number | Experimental Value (kN) | Calculated Value from Formulas (kN) | Calculated Values from Formulas/Experimental Values |
---|---|---|---|
PTL-0 | 141.43 | 121.13 | 0.86 |
PTL-60 | 125.47 | 117.05 | 0.93 |
PTL-120 | 111.24 | 103.27 | 0.93 |
PTL-180 | 102.14 | 94.25 | 0.92 |
AVE (Average value) | 0.91 | ||
STD (Standard deviation) | 0.04 |
Disclaimer/Publisher’s Note: The statements, opinions and data contained in all publications are solely those of the individual author(s) and contributor(s) and not of MDPI and/or the editor(s). MDPI and/or the editor(s) disclaim responsibility for any injury to people or property resulting from any ideas, methods, instructions or products referred to in the content. |
© 2024 by the authors. Licensee MDPI, Basel, Switzerland. This article is an open access article distributed under the terms and conditions of the Creative Commons Attribution (CC BY) license (https://creativecommons.org/licenses/by/4.0/).
Share and Cite
Wang, Z.; Xu, C.; Chen, M.; Sun, J.; Zhou, H.; Zhou, Y. Experimental Test and Analytical Calculation on Residual Strength of Prestressed Concrete T-Beams After Fire. Buildings 2024, 14, 3579. https://doi.org/10.3390/buildings14113579
Wang Z, Xu C, Chen M, Sun J, Zhou H, Zhou Y. Experimental Test and Analytical Calculation on Residual Strength of Prestressed Concrete T-Beams After Fire. Buildings. 2024; 14(11):3579. https://doi.org/10.3390/buildings14113579
Chicago/Turabian StyleWang, Zhongqiang, Chao Xu, Miao Chen, Jingwei Sun, Hangke Zhou, and Yingxin Zhou. 2024. "Experimental Test and Analytical Calculation on Residual Strength of Prestressed Concrete T-Beams After Fire" Buildings 14, no. 11: 3579. https://doi.org/10.3390/buildings14113579
APA StyleWang, Z., Xu, C., Chen, M., Sun, J., Zhou, H., & Zhou, Y. (2024). Experimental Test and Analytical Calculation on Residual Strength of Prestressed Concrete T-Beams After Fire. Buildings, 14(11), 3579. https://doi.org/10.3390/buildings14113579