Effect of Shear Deformation at Segmental Joints on the Short-Term Deflection of Large-Span Cantilever Cast Prestressed Concrete Box Girders
Abstract
1. Introduction
2. Experimental Program
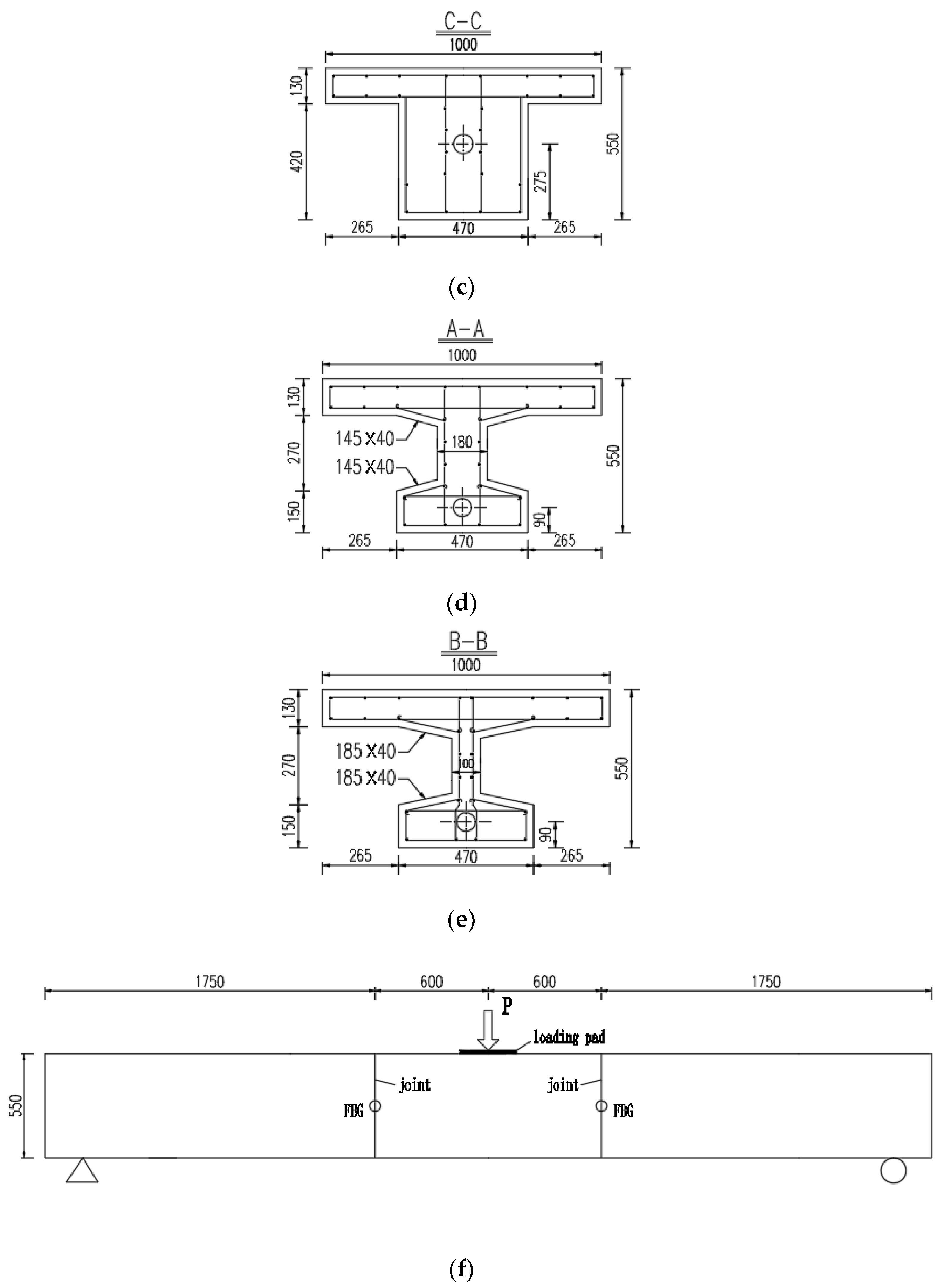
2.1. Overview of Girder Specimens
2.2. Measuring of Deflection of Girder and Shear Deformation at Segmental Joint
2.3. Loading Process and Test Phenomena
3. Test Results
4. Finite Element Analysis on Test Girders
4.1. Simulation Method and Principle of Segmental Joints
4.2. Verification
4.3. Results and Analysis
5. Influence of Shear Deformation at Segmental Joints on the Deflection of an Actual Box Girder
6. Conclusions
- The ratio of the shear deformation at segmental joints to the deformation at midspan of the girder specimens was less than 1%, indicating that the shear deformation at segmental joints can be ignored.
- The finite element analysis on the girder specimen showed that even if the shear stiffness of the joint section was significantly reduced, such as 2.3% of that of the ideal section, the deformation at midspan would not significantly increase. If the shear stiffness of the joint section continued to decrease to 0.36% of that of the ideal section, the deformation at midspan would be significant. Since the measured shear stiffness of the joint section of the girder specimen in this paper could only be reduced up to 78.3% of the stiffness of the ideal section, the deformation at midspan would not obviously increase even if there was an accumulation of shear deformation in multiple segmental joints.
- The finite element analysis on the Assistant Shipping Channel Bridge of Humen Bridge showed that the influence of the shear deformation at segmental joints on the deflection of LCCPC box girders was less than 1%, which could be ignored.
- In this paper, experiments were adopted to fill the knowledge gap in deducing shear stiffness only by hypothesis. In addition, experimental research on the shear creep of concrete is crucial to determine the long-term deflection of LCCPC box girders. Thus, it is recommended that relevant research be conducted to elucidate the effect of shear creep deformation.
Author Contributions
Funding
Data Availability Statement
Conflicts of Interest
References
- Bažant, Z.P.; Li, G.; Yu, Q.; Klein, G.; Křístek, V. Explanation of Excessive Long-Time Deflections of Collapsed Record-Span Box Girder Bridge in Palau. In Proceedings of the 8th International Conference on Creep, Shrinkage and Durability of Concrete and Concrete Structures, Ise-Shima, Japan, 30 September 2008. [Google Scholar]
- Bažant, Z.P.; Yu, Q.; Li, G. Excessive Long-Time Deflections of Prestressed Box Girders. I: Record-Span Bridge in Palau and Other Paradigms. J. Struct. Eng. 2012, 138, 676–686. [Google Scholar] [CrossRef]
- Bažant, Z.P.; Yu, Q.; Li, G. Excessive Long-Time Deflections of Prestressed Box Girders. II: Numerical Analysis and Lessons Learned. J. Struct. Eng. 2012, 138, 687–696. [Google Scholar] [CrossRef]
- Ferro, G.A.; Restuccia, L.; Falliano, D.; Devitofranceschi, A.; Gemelli, A. Collapse of Existing Bridges: From the Lesson of La Reale Viaduct to the Definition of a Partial Safety Coefficient of Variable Traffic Loads. J. Struct. Eng. 2022, 148, 04022181. [Google Scholar] [CrossRef]
- Liu, J.; YE, J.; CHEN, J. Study of the effect of segmental joint weak layers on deformation of long span cantilever-casting PC box girders. Ind. Constr. 2015, 45, 70–75. (In Chinese) [Google Scholar]
- Zhu, F. Calculation Theory of Structure and Supervision under Construction of Continuous Rigid Frame Bridge. Master’s Thesis, Dalian University of Technology, Dalian, China, 2003. (In Chinese). [Google Scholar]
- He, C. Influence of vertical joints on the post-construction deflection of continuous rigid frame bridges. J. Chongqing Jiaotong Univ. (Nat. Sci.) 2009, 28, 480–483. (In Chinese) [Google Scholar]
- He, P.; Zhou, Z.; Ji, G.; Fan, L. Quality of vertical joints in continuous rigid bridges and its Influence on the post-construction deflection of the bridges. J. Chongqing Jiaotong Univ. 2004, 23, 6–9. (In Chinese) [Google Scholar]
- Wang, R. Study on Shear Deformation of Segmental Joint and Its Influence on Pile-Soil-Bridge System. Ph.D. Thesis, Tianjin University, Tianjin, China, 2009. (In Chinese). [Google Scholar]
- Du, J. Study on Shear Deformation of Segmental Joint and Its Influence to Deflection of Continuous Rigid Bridge. Master’s Thesis, Southwest Jiaotong University, Chengdu, China, 2012. (In Chinese). [Google Scholar]
- Zhang, W. Effect of Segmental Joints in Cantilever Casting Concrete Bridges on Deflection. Ph.D. Thesis, Harbin Institute of Technology, Harbin, China, 2012. (In Chinese). [Google Scholar]
- Carpinteri, A. Structural Mechanics–A Unified Approach, 1st ed.; CRC Press: London, UK, 2017; pp. 394–423. [Google Scholar]
- Ansys. Available online: https://www.ansys.com/zh-cn (accessed on 25 November 2022).
- Bonopera, M.; Chang, K.C.; Lin, T.K.; Tullini, N. Influence of Prestressing on the Behavior of Uncracked Concrete Beams with a Parabolic Bonded Tendon. Struct. Eng. Mech. 2021, 77, 1–17. [Google Scholar] [CrossRef]
- Limongelli, M.P.; Siegert, D.; Merliot, E.; Waeytens, J.; Bourquin, F.; Vidal, R.; Le Corvec, V.; Gueguen, I.; Cottineau, L.M. Damage Detection in a Post Tensioned Concrete Beam—Experimental Investigation. Eng. Struct. 2016, 128, 15–25. [Google Scholar] [CrossRef]
- Li, S.; Yang, Y.; Pu, Q.; Yang, D.; Sun, B.; Li, X. Three-Dimensional Nonlinear Creep and Shrinkage Effects of a Long-Span Prestressed Concrete Box Girder Bridge. Struct. Concr. 2019, 20, 638–649. [Google Scholar] [CrossRef]













| Girder Specimens | B1 | B2 | B3 | B4 |
|---|---|---|---|---|
| Shear deformation at segmental joints | 0.0072 | 0.0090 | 0.0094 | 0.0091 |
| Deformation at midspan | 1.90 | 2.21 | 2.02 | 2.11 |
| Computation Model | Normal Stress of Lower Edge/MPa | Vertical Displacement/mm |
|---|---|---|
| ANSYS whole model | 0.573 | 0.1075 |
| ANSYS model with joints | 0.573 | 0.1075 |
| Computation Model | Number of Elements | Meshing Size of SOLID45 | Loading Method |
|---|---|---|---|
| ANSYS whole model | 11604 SOLID45 | 50 mm | Steel pad (200 mm × 200 mm) at midspan |
| ANSYS model with joints | 11604 SOLID45 and 528 COMBIN14 |
| Method | Spring Stiffness N/mm | Vertical Displacement /mm | Relative Error to the Measured Displacement | Lower Edge Normal Stress /MPa |
|---|---|---|---|---|
| 1. Whole model | — | 1.2422 | — | 8.902 |
| 2. Verification Model with Joints | 7.846 × 108 | 1.2422 | 0.18% | 8.898 |
| 3. Curve measured from FBG | 1.182 × 107 | 1.2530 | 1.05% | 8.895 |
| 4. From He et al. [8] | 2.795 × 106 | 1.3138 | 5.95% | 8.893 |
| 5. From Wang [9] | 7.846 × 109 | 1.2416 | 0.13% | 8.889 |
Disclaimer/Publisher’s Note: The statements, opinions and data contained in all publications are solely those of the individual author(s) and contributor(s) and not of MDPI and/or the editor(s). MDPI and/or the editor(s) disclaim responsibility for any injury to people or property resulting from any ideas, methods, instructions or products referred to in the content. |
© 2023 by the authors. Licensee MDPI, Basel, Switzerland. This article is an open access article distributed under the terms and conditions of the Creative Commons Attribution (CC BY) license (https://creativecommons.org/licenses/by/4.0/).
Share and Cite
Liu, J.; Huang, X.; Chen, J.; Wu, Q. Effect of Shear Deformation at Segmental Joints on the Short-Term Deflection of Large-Span Cantilever Cast Prestressed Concrete Box Girders. Buildings 2023, 13, 219. https://doi.org/10.3390/buildings13010219
Liu J, Huang X, Chen J, Wu Q. Effect of Shear Deformation at Segmental Joints on the Short-Term Deflection of Large-Span Cantilever Cast Prestressed Concrete Box Girders. Buildings. 2023; 13(1):219. https://doi.org/10.3390/buildings13010219
Chicago/Turabian StyleLiu, Jie, Xiangyu Huang, Juanjuan Chen, and Qiaoyun Wu. 2023. "Effect of Shear Deformation at Segmental Joints on the Short-Term Deflection of Large-Span Cantilever Cast Prestressed Concrete Box Girders" Buildings 13, no. 1: 219. https://doi.org/10.3390/buildings13010219
APA StyleLiu, J., Huang, X., Chen, J., & Wu, Q. (2023). Effect of Shear Deformation at Segmental Joints on the Short-Term Deflection of Large-Span Cantilever Cast Prestressed Concrete Box Girders. Buildings, 13(1), 219. https://doi.org/10.3390/buildings13010219

