Dynamics and Wear Prediction of Mechanisms Considering Multiple Clearances and Coatings
Abstract
1. Introduction
- (i).
- The research background and significance of this work are introduced, mainly including the current research on the dynamics of multi-clearance joint mechanisms, the effects of solid lubrication coatings on vibration reduction and wear resistance of mechanisms, as well as the common methods and improvement measures for wear calculation;
- (ii).
- The method for determining the contact state, including the spherical joint clearances, is briefly described. The variable stiffness coefficient and viscous damping coefficient of the coating are utilized to obtain the contact-impact force at various joint clearances, and a dynamic model of the mechanism with multiple spherical joint clearances is established;
- (iii).
- On the basis of solving the dynamics of the mechanism containing multiple clearances, in order to reduce the difficulty of calculating joint wear, an approximate calculation method for the contact area is proposed. The improved Archard wear model is used to calculate the joint wear of a mechanism containing multiple joint clearances;
- (iv).
- With a space four-bar mechanism as the research object, the acceleration of the actuator (slider) and the wear change of the clearance joint when there are multiple spherical joint clearances in the mechanism are analyzed in detail. On this basis, the dynamics and wear change of the mechanism before and after the addition of coating to the joint clearances are compared, and the results demonstrate the feasibility of using coatings to reduce vibration and wear of the mechanism;
- (v).
- The main research contents and innovations of this paper are summarized, and the solution for the dynamics of mechanisms considering spherical joint clearances and the effectiveness of coatings in reducing the wear of spherical joint clearances are concluded. This study can provide a feasible strategy to reduce vibration and increase the service life of the space deployable mechanism, considering joint clearances.
2. Dynamics of Mechanisms Containing Multiple Spherical Joint Clearances
2.1. Description: Spherical Joint Clearances
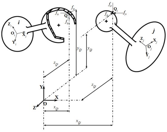
2.2. Transformation of Contact force between Spherical Joints
3. Wear of a Multi-Clearance Spherical Joint
3.1. Wear Model
3.2. Prediction of Multi-Clearance Wear
4. Numerical Examples
4.1. Mechanism Dynamics
- (1)
- Constraint equation for an O-point ideal rotating pair:
- (2)
- Constraint equation for an A-point ideal spherical joint:
- (3)
- Constraint equation for a B-point ideal spherical joint:
- (4)
- Constraint equation for sliding pairs:
4.2. Dynamic Model of Multi-Clearance Mechanism without Coating
- Dynamics of multi-clearance mechanisms without coating
- (i)
- The vector matrixes and joint constraint equations of various components in the global coordinate system are determined according to the model parameters and structural parameters of the mechanism considering joints with clearances, the coefficient matrixes in Equation (25) are determined, and they are sorted in MATLAB;
- (ii)
- For the solution of the dynamics of the mechanism, the velocity and acceleration of the mechanism at time t are determined according to the initial position and driving conditions of the mechanism. The obtained velocity and acceleration are taken as the position and velocity terms at time . Then, the calculation result of δ in Equation (4) is used to determine the contact states of the ball and shell in the spherical joint at a given time ;
- (iii)
- When the contact collision depth is reached , the ball and shell are in contact or collision state. By combining the variable stiffness coefficient considering coating in Table 1 and the viscous damping term, the normal contact force Fn can be obtained, and the tangential contact force Ft can be obtained according to the improved Coulomb friction model. See [19] for a detailed calculation;
- (iv)
- By converting the contact-impact force acting on the contact impact point to the centroid of the component through Equations (6) and (7), the contact-impact force F at the solution moment can be obtained;
- (v)
- Substitute the contact-impact force into the dynamic Equation (29) considering the spherical joint clearances, obtain the acceleration at moment , and determine the contact state between the ball and the shell at moment ;
- (vi)
- Repeat the above steps (ii–v) until the end of the simulation.
- 2.
- Calculation of joint wear of the multi-clearance mechanism without coating
4.3. Multi-Clearance Mechanism with Coating
- Dynamic simulation of the multi-clearance mechanism with coating
- 2.
- Calculation of joint wear of the multi-clearance mechanism with coating
5. Conclusions
- (1)
- After applying coatings to different spherical joint clearances, the acceleration amplitude of the slider decreases at different clearance sizes, and the reduction extent in the acceleration amplitude of the actuator varies. However, the vibration of the mechanism is alleviated, verifying the effectiveness of coating application in reducing the vibration of the mechanism considering spherical joint clearances;
- (2)
- By comparing the 3D gradient maps and polar coordinates of the wear depth, as well as the changes in maximum wear amount and wear area in each vector direction, it can be seen that after applying coating, the wear amount of the spherical joint clearance in each vector direction is significantly reduced, and the rotation angle wear area is slightly increased compared to when no coating is applied. This conclusion is consistent with the results in [18];
- (3)
- When the properties and geometric parameters of the coating materials used in the joints of the system with a multi-clearance mechanism are unchanged, the effect of coating on the dynamic results of the non-executing member is not obvious. In order to reduce the cost and shorten the working cycle, it can be given priority to add a solid lubrication coating at the joint of the actuator, which can provide ideas for the process design, lubrication, and vibration reduction strategy of the mechanism system;
- (4)
- The consideration of the effect of coating on the dynamics and wear calculation of multi-clearance mechanisms provides ideas for the vibration reduction and wear reduction of mechanisms under actual working conditions. Meanwhile, this research on the dynamics of multi-clearance mechanisms has laid a solid theoretical foundation for subsequent experiments on the dynamics of clearance mechanisms considering coatings.
Author Contributions
Funding
Data Availability Statement
Conflicts of Interest
References
- Yan, S.Z.; Xiang, W.W.K.; Huang, T.Q. Advances in Modeling of Clearance Joints and Dynamics of Mechanical Systems with Clearances. Acta Sci. Nat. Univ. Pekin. 2016, 4, 741–756. [Google Scholar]
- Flores, P. Modeling and simulation of wear in revolute clearance joints in multibody systems. Mech. Mach. Theory 2009, 44, 1211–1222. [Google Scholar] [CrossRef]
- Flores, P.; Lankarani, H.M. Spatial rigid-multibody systems with lubricated spherical clearance joints: Modeling and simulation. Nonlinear Dyn. 2009, 60, 99–114. [Google Scholar] [CrossRef]
- Flores, P. A parametric study on the dynamic response of planar multibody systems with multiple clearance joints. Nonlinear Dyn. 2010, 61, 633–653. [Google Scholar] [CrossRef]
- Muvengei, O.; Kihiu, J.; Ikua, B. Numerical study of parametric effects on the dynamic response of planar multi-body systems with differently located frictionless revolute clearance joints. Mech. Mach. Theory 2012, 53, 30–49. [Google Scholar] [CrossRef]
- Muvengei, O.; Kihiu, J.; Ikua, B. Dynamic analysis of planar rigid-body mechanical systems with two-clearance revolute joints. Nonlinear Dyn. 2013, 73, 259–273. [Google Scholar] [CrossRef]
- Varedi, S.M.; Daniali, H.M.; Dardel, M.; Fathi, A. Dynamic behavior analysis of a planar four bar linkage with three clearance joints. In Proceedings of the International Conference on Robotics and Mechatronics, Tehran, Iran, 15–17 October 2014; pp. 595–600. [Google Scholar]
- Wang, X.; Lin, W.; Ji, X.; Gao, Z.; Bai, X.; Guo, Y. Dynamic analysis of a planar multibody system with multiple revolute clearance joints. Proc. Inst. Mech. Eng. Part C J. Mech. Eng. Sci. 2018, 233, 3429–3443. [Google Scholar] [CrossRef]
- Geng, X.; Li, M.; Liu, Y.; Zheng, W.; Zhao, Z. Non-probabilistic kinematic reliability analysis of planar mechanisms with non-uniform revolute clearance joints. Mech. Mach. Theory 2019, 140, 413–433. [Google Scholar] [CrossRef]
- Tan, H.; Hu, Y.; Li, L. A continuous analysis method of planar rigid-body mechanical systems with two revolute clearance joints. Multibody Syst. Dyn. 2016, 40, 347–373. [Google Scholar] [CrossRef]
- Wang, T.C.; Chen, G.P.; Ma, F.; Sun, D.Y. Dynamic analysis of multibody systems with mixed clearance. J. Vib. Shock 2016, 35, 178–184. [Google Scholar]
- Yu, H.; Zhang, J.; Wang, H. Dynamic performance of over-constrained planar mechanisms with multiple revolute clearance joints. Proc. Inst. Mech. Eng. Part C J. Mech. Eng. Sci. 2017, 232, 3524–3537. [Google Scholar] [CrossRef]
- Song, N.; Peng, H.; Xu, X.; Wang, G. Modeling and simulation of a planar rigid multibody system with multiple revolute clearance joints based on variational inequality. Mech. Mach. Theory 2020, 154, 104053. [Google Scholar] [CrossRef]
- Kou, B.; Li, Z.; Zhang, Z.; Li, R. Tribological Properties of ZrO2 Coating on the Ball Joint of an Axial Piston Pump in High Wa-ter Based Emulsion Medium. Math. Probl. Eng. 2021, 2021, 9978006. [Google Scholar] [CrossRef]
- Ambrósio, J.; Verissimo, P. Improved bushing models for general multibody systems and vehicle dynamics. Multibody Syst. Dyn. 2009, 22, 341–365. [Google Scholar] [CrossRef]
- Rodrigues da Silva, M.; Marques, F.; Tavares da Silva, M.; Flores, P. A comparison of spherical joint models in the dynamic analysis of rigidmechani-cal systems ideal, dry, hydrodynamic and bushing approaches. Multibody Syst. Dyn. 2022, 56, 221–266. [Google Scholar] [CrossRef]
- Almomani, M.A.; Fares, M.M.; Almesidieen, E.M. Toward long live ceramic on ceramic hip joints in vitro investigation of squeak-ing of coated hip joint with layer by layer reinforced PVA coatings. De Gruyter 2022, 22, 522–535. [Google Scholar]
- Li, Y.; Yang, Y.; Li, M.; Liu, Y.; Huang, Y. Dynamics analysis and wear prediction of rigid-flexible coupling deployable solar array system with clearance joints considering solid lubrication. Mech. Syst. Signal Process. 2022, 162, 108059. [Google Scholar] [CrossRef]
- Jing, Q.; Liu, H. Dynamic analysis and wear calculation of space deployable mechanism considering spherical joints with clearance and coating. Proc. Inst. Mech. Eng. Part C J. Mech. Eng. Sci. 2023, 237, 2729–2752. [Google Scholar] [CrossRef]
- Zhuang, X.; Yu, T.; Liu, J.; Song, B. Kinematic reliability evaluation of high-precision planar mechanisms experiencing non-uniform wear in revolute joints. Mech. Syst. Signal Process. 2022, 169, 108748. [Google Scholar] [CrossRef]
- Wang, G.; Liu, H.; Deng, P. Dynamics Analysis of Spatial Multibody System with Spherical Joint Wear. J. Tribol. 2015, 137, 021605. [Google Scholar] [CrossRef]
- Zhuang, X.; Afshari, S.S.; Yu, T.; Liang, X. A hybrid model for wear prediction of a single revolute joint considering a time-varying lubrication condition. Wear 2020, 442–443, 203124. [Google Scholar] [CrossRef]
- Hou, Y.-L.; Deng, Y.-J.; Zeng, D.-X. Dynamic modelling and properties analysis of 3RSR parallel mechanism considering spherical joint clearance and wear. J. Central South Univ. 2021, 28, 712–727. [Google Scholar] [CrossRef]
- Jing, Q.; Liu, H.Z. Dynamic characteristics of linkage mechanism considering clearance of cylinder pair. J. Vib. Shock 2021, 40, 32–39. [Google Scholar]
- Jing, Q.; Liu, H.Z.; Wang, G.X. Analysis of the constraint reaction force in a mechanism system. J. Vib. Shock 2019, 38, 161–166. [Google Scholar]
- Flores, P.; Machado, M.; Seabra, E.; Tavares da Silva, M. A Parametric Study on the Baumgarte Stabilization Method for Forward Dynamics of Constrained Multibody Systems. J. Comput. Nonlinear Dyn. 2011, 6, 011019. [Google Scholar] [CrossRef]
- Archard, J.F. Contact and Rubbing of Flat Surfaces. J. Appl. Phys. 1953, 24, 981–988. [Google Scholar] [CrossRef]
- Zhu, A.; He, S.; Zhao, J.; Luo, W. A nonlinear contact pressure distribution model for wear calculation of planar revolute joint with clearance. Nonlinear Dyn. 2016, 88, 315–328. [Google Scholar] [CrossRef]
- Askari, E.; Flores, P.; Dabirrahmani, D.; Appleyard, R. Dynamic modeling and analysis of wear in spatial hard-on-hard couple hip replacements using multibody systems methodologies. Nonlinear Dyn. 2015, 82, 1039–1058. [Google Scholar] [CrossRef]




















| Contact Force | Variable Stiffness Coefficient | Viscous Damping Coefficient | Expression |
|---|---|---|---|
| Name | Length (m) | Mass (kg) | Moment of Inertia (kg·m2) | ||
|---|---|---|---|---|---|
| Ixx | Iyy | Izz | |||
| Crank | 0.14 | 1.3 | 0.0001 | 0.0001 | 0.0001 |
| Connecting rod | 0.38 | 1.2 | 0.00001 | 0.00001 | 0.00001 |
| Slider | - | 2.2 | - | - | - |
| Parameters | Name | Value | Parameters | Name | Value |
|---|---|---|---|---|---|
| Restitution coefficient cr | 0.7 | Actuating speed | 60 r/min | ||
| Radius of socket | 15 mm | Radius of ball | 14.75 mm | ||
| Linear wear coefficient [2] | 8 × 10−14 | Friction coefficient | Steel | 0.01 | |
| Thickness | Coating | 0.1 mm | MoS2 | 0.05 | |
| Base | 4.9 mm | Lead | 0.08 | ||
| Timespan | 1 s | PTEE | 0.167 | ||
| Initial time step | 1 × 10−5 s | Correction coefficients | α = β = 5 | ||
| Poisson’s ratio | Steel | v = 0.3 | Young’s modulus | Steel | 207 Gpa |
| MoS2 | v = 0.29 | MoS2 | 110 Gpa | ||
| Lead | v = 0.42 | Lead | 16.5 Gpa | ||
| PTEE | v = 0.4 | PTEE | 2.86 Gpa | ||
| Number of Clearance | Wear Direction | Max Wear Depth (m) | Max Wear Angle (deg) | Min Wear Angle (deg) | Wear Range (deg) |
|---|---|---|---|---|---|
| 1 | x | 7.5000 × 10−9 | 179.9386 | −179.9454 | 359.8840 |
| 1 | y | 7.2306 × 10−12 | 44.0792 | −4.9569 | 49.0361 |
| 1 | z | 5.1508 × 10−11 | 24.1878 | −21.4257 | 45.6135 |
| 2 | x | 8.3004 × 10−11 | 134.6607 | 0 | 134.6607 |
| 2 | y | 2.7420 × 10−11 | 46.7107 | −5.427 | 52.1377 |
| 2 | z | 1.2251 × 10−10 | 27.7638 | −22.6586 | 50.4224 |
| Number of Coating | Wear Direction | Max Wear Depth (m) | Max Wear Angle (deg) | Min Wear Angle (deg) | Wear Range (deg) |
|---|---|---|---|---|---|
| 1 | x | 2.0485 × 10−11 | 159.0376 | 0 | 159.0376 |
| 1 | y | 1.9297 × 10−12 | 46.7685 | −6.1449 | 52.9134 |
| 1 | z | 1.9763 × 10−11 | 27.5031 | −22.7086 | 50.2117 |
| 2 | x | 1.2828 × 10−11 | 93.3712 | −0.1231 | 93.4943 |
| 2 | y | 2.6656 × 10−12 | 48.5997 | −3.3626 | 51.9623 |
| 2 | z | 1.6656 × 10−11 | 28.0459 | −24.0083 | 52.0542 |
| Number of Coating | Wear Direction | Reduction of Max Wear Depth (m) | Percentage of Reduction | Reduction of Wear Range (deg) | Percentage of Increment |
|---|---|---|---|---|---|
| 1 | x | 6.25 × 10−11 | 75.32% | −24.38 | −18.10% |
| 1 | y | 2.55 × 10−11 | 92.96% | −0.78 | −1.49% |
| 1 | z | 1.03 × 10−10 | 83.87% | 0.21 | 0.42% |
| 2 | x | 7.02 × 10−11 | 84.55% | 41.17 | 30.57% |
| 2 | y | 2.48 × 10−11 | 90.28% | 0.18 | 0.34% |
| 2 | z | 1.06 × 10−10 | 86.40% | −1.63 | −3.24% |
Disclaimer/Publisher’s Note: The statements, opinions and data contained in all publications are solely those of the individual author(s) and contributor(s) and not of MDPI and/or the editor(s). MDPI and/or the editor(s) disclaim responsibility for any injury to people or property resulting from any ideas, methods, instructions or products referred to in the content. |
© 2023 by the authors. Licensee MDPI, Basel, Switzerland. This article is an open access article distributed under the terms and conditions of the Creative Commons Attribution (CC BY) license (https://creativecommons.org/licenses/by/4.0/).
Share and Cite
Jing, Q.; Liu, H. Dynamics and Wear Prediction of Mechanisms Considering Multiple Clearances and Coatings. Lubricants 2023, 11, 310. https://doi.org/10.3390/lubricants11070310
Jing Q, Liu H. Dynamics and Wear Prediction of Mechanisms Considering Multiple Clearances and Coatings. Lubricants. 2023; 11(7):310. https://doi.org/10.3390/lubricants11070310
Chicago/Turabian StyleJing, Qian, and Hongzhao Liu. 2023. "Dynamics and Wear Prediction of Mechanisms Considering Multiple Clearances and Coatings" Lubricants 11, no. 7: 310. https://doi.org/10.3390/lubricants11070310
APA StyleJing, Q., & Liu, H. (2023). Dynamics and Wear Prediction of Mechanisms Considering Multiple Clearances and Coatings. Lubricants, 11(7), 310. https://doi.org/10.3390/lubricants11070310
