An Efficient Data Transmission with GSM-MPAPM Modulation for an Indoor VLC System
Abstract
1. Introduction
- (1)
- An efficient GSM-MPAPM modulation with PWM dimming for an indoor VLC system.
- (2)
- An embedded hardware system, including a transmitter and a receiver, which were both based on the C8051F330 microcomputer. The key innovation of this paper was to employ the idea of GSM to convey MPAPM optical signals. Moreover, an embedded hardware system was designed to achieve the theoretical scheme.
2. Related Knowledge and Theory
2.1. MPAPM
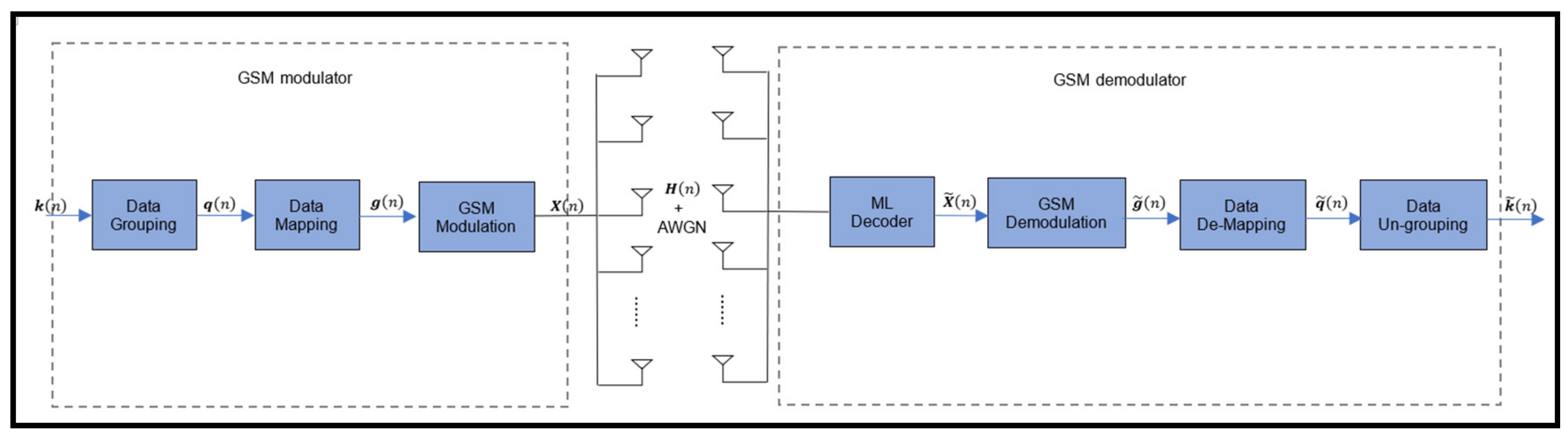
2.2. Generalized Spatial Modulation
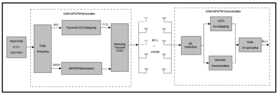
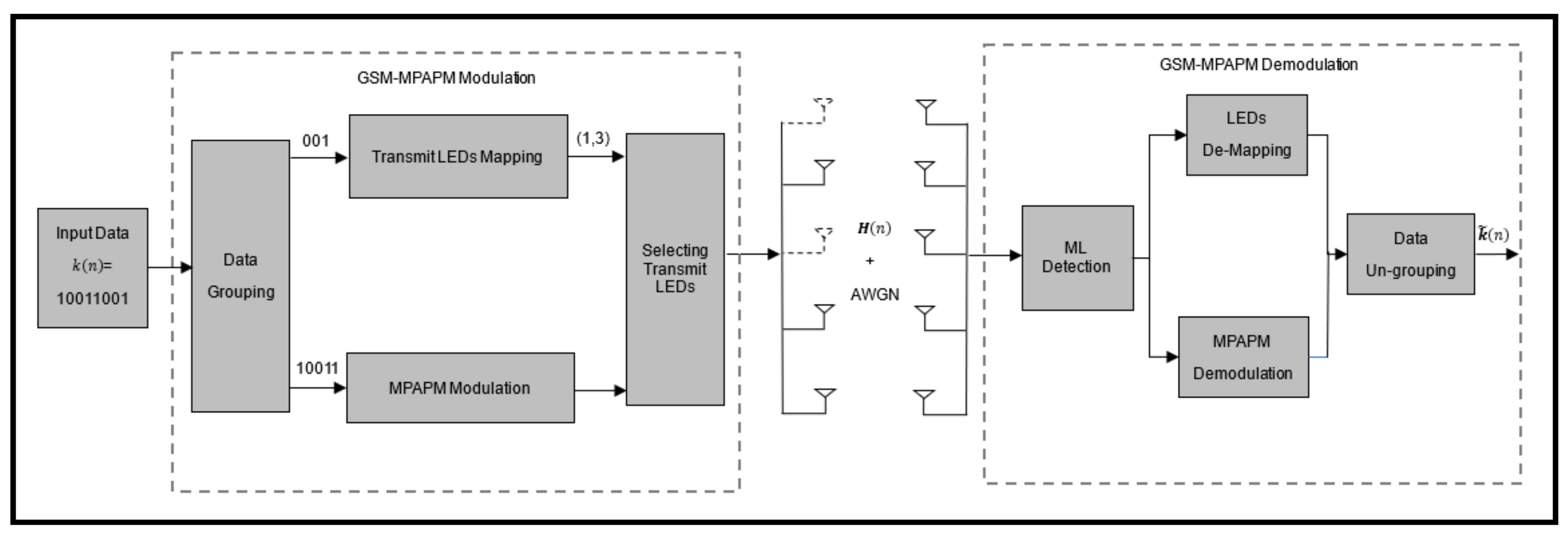
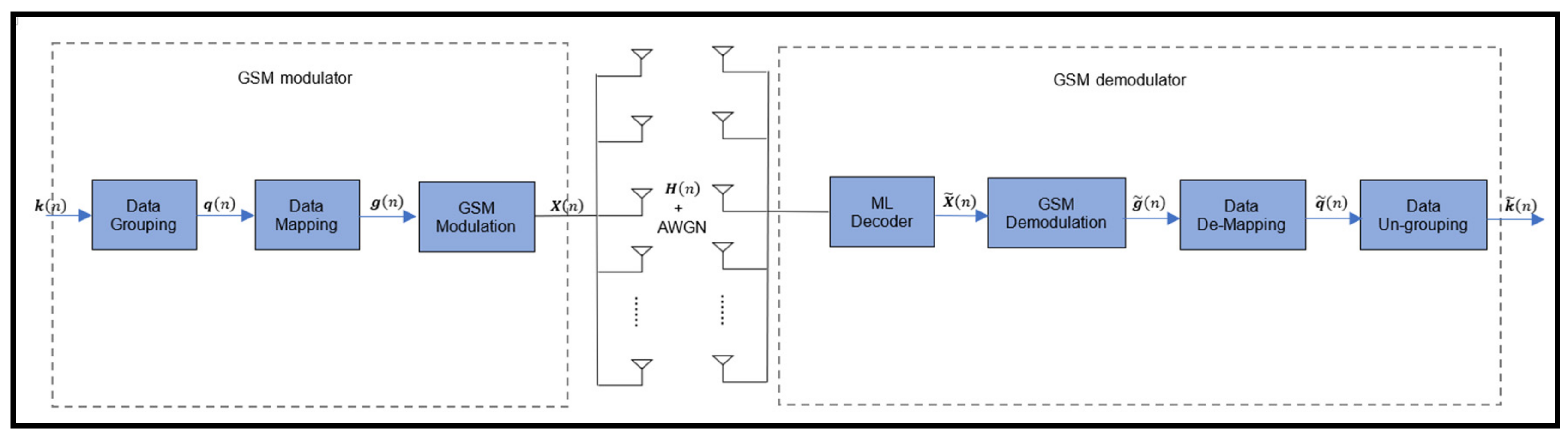
3. The VLC System Based on GSM-MPAPM
3.1. GSM-MPAPM
3.2. Information Bits Transmitted per Symbol
3.3. Dimming Strategy
4. System Design and Implementation
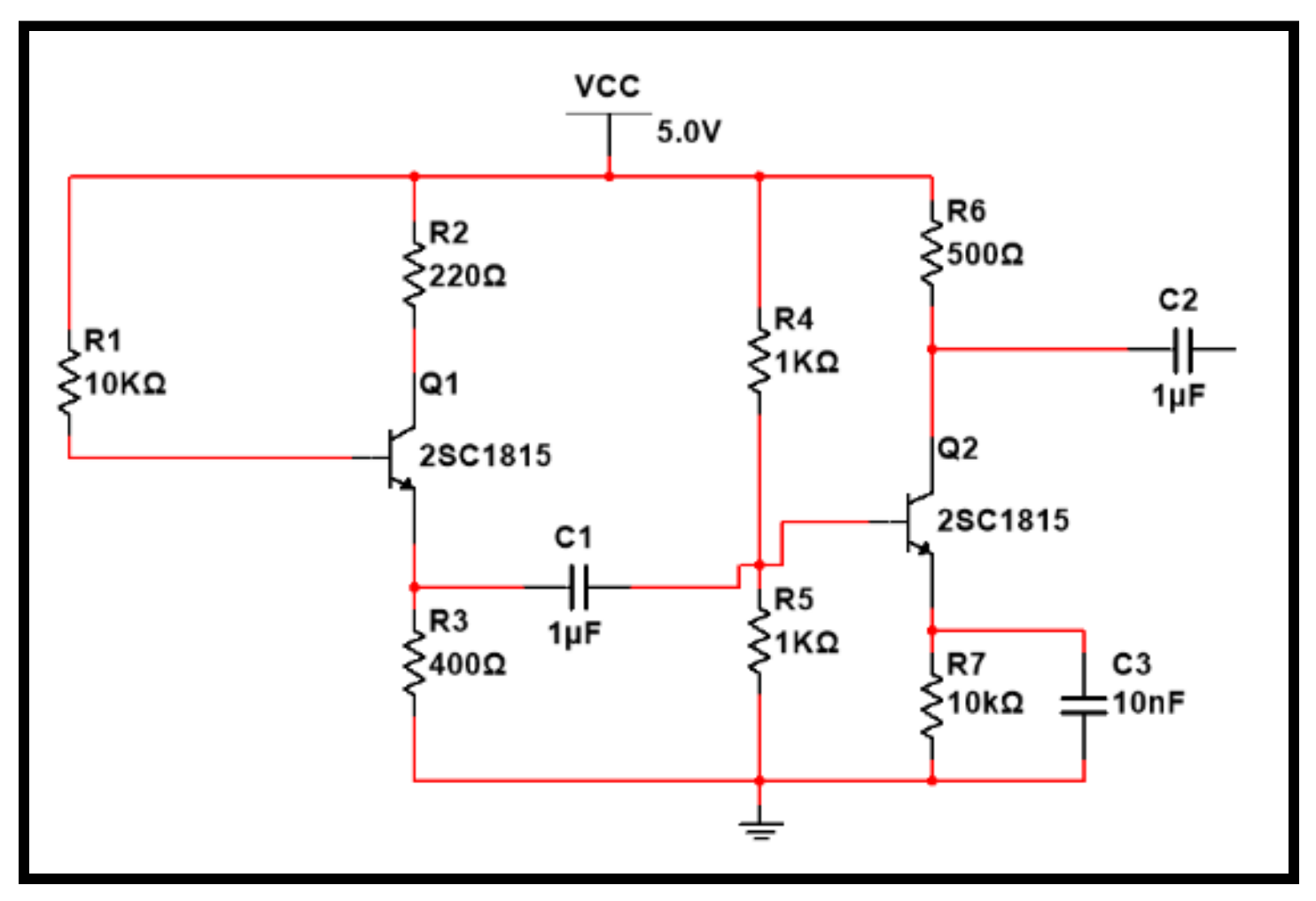
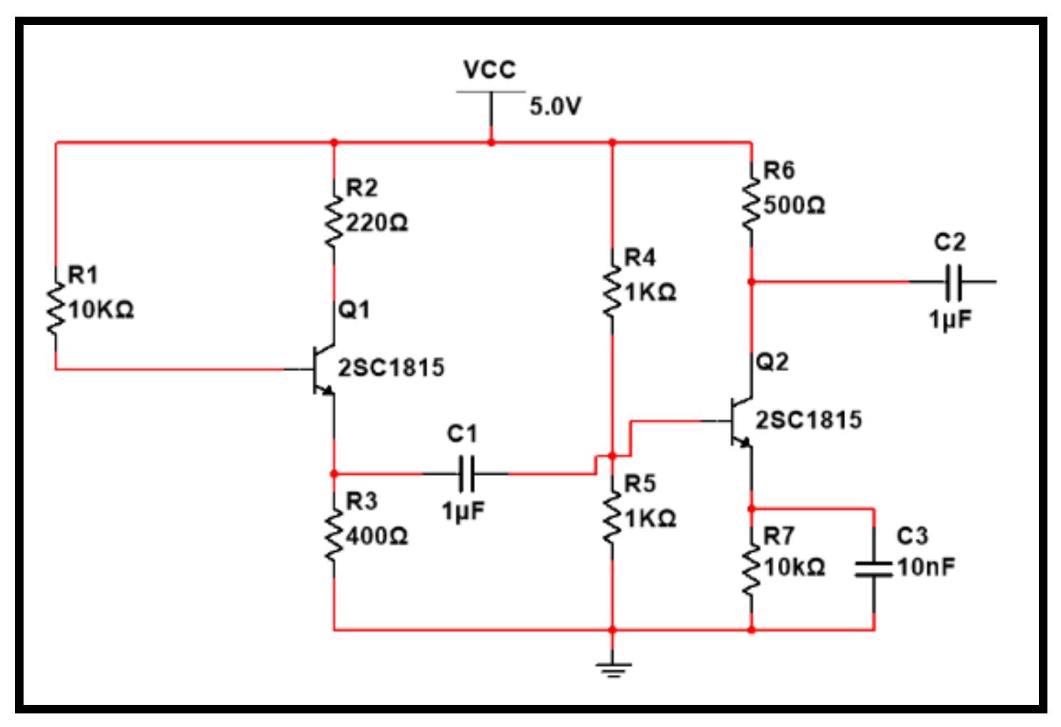
4.1. Design of the Transmitter
4.2. Frame Format
5. Results and Analysis
6. Conclusions
Author Contributions
Funding
Conflicts of Interest
References
- Elgala, H.; Mesleh, R.; Haas, H. Indoor Optical Wireless Communication: Potential and State-of-Art. IEEE Commun. Mag. 2011, 49, 56–62. [Google Scholar] [CrossRef]
- Grubor, J.; Randel, S.; Langer, K.D. Broadband Information Broadcasting Using LED-Based Interior Lighting. J. Light. Technol. 2008, 26, 3883–3892. [Google Scholar] [CrossRef]
- Lou, S.; Gong, C.; Wu, N. Joint Dimming and Communication Design for Visible Light Communication. IEEE Commun. Lett. 2017, 21, 1043–1046. [Google Scholar] [CrossRef]
- Jie, L.; Maite, B. Adaptive M-PAM for Multiuser MISO Indoor VLC Systems. In Proceedings of the 2016 IEEE Global Communications Conference, Washington, DC, USA, 4–8 December 2016; pp. 1–6. [Google Scholar]
- Thai-Chien, B.; Mauro, B.; Suwit, K. Theoretical Analysis of Optical Spatial Multiple Pulse Position Modulation. In Proceedings of the 2018 Global Communications Conference, Abu Dhabi, UAE, 9–13 December 2018; pp. 112–120. [Google Scholar]
- Mostafa, H.; Martin, J.; Peter, J. Visible Light Communication based on Offset Pulse Position Modulation Using High Power. In Proceedings of the 32nd General Assembly and Scientific Symposium of the International Union of Radio Science, Montreal, QC, Canada, 19–26 August 2017; pp. 223–228. [Google Scholar]
- Zhang, D.-F.; Zhu, Y.-J.; Zhang, Y.-Y. Multi-LED Phase-Shifted OOK Modulation Based Visible Light Communication Systems. IEEE Photonics Technol. Lett. 2013, 25, 2251–2254. [Google Scholar] [CrossRef]
- Yamga, G.M.; Ndjionge, A.R.; Ouahada, K. Low Complexity Clipped Frequency Shift Keying for Visible Light Communications. In Proceedings of the IEEE 7th International Conference on Adaptive Science & Technology, Accra, Ghana, 22–24 August 2018; pp. 62–70. [Google Scholar]
- Chumchewkul, D. Performance Evaluation of VPPM Visible Light Communications based on Simulation with Experiment’s Parameters. In Proceedings of the 15th International Conference on Electrical Engineering, Electronics, Computer, Telecommunications and Information Technology, Chiang Rai, Thailand, 18–21 July 2018; pp. 26–35. [Google Scholar]
- Zhang, M.; Zhang, Z. An optimum DC-Biasing for DCO-OFDM system. IEEE Commun. Lett. 2014, 18, 1351–1354. [Google Scholar] [CrossRef]
- Armstrong, J.; Lowery, A.J. Power efficient optical OFDM. Electron. Lett. 2006, 42, 370–372. [Google Scholar] [CrossRef]
- Su, S.; Chung, W.; Wu, C. Exploiting Entire GSSK Antenna Combinations in MIMO Systems. IEEE Commun. Lett. 2015, 19, 719–722. [Google Scholar] [CrossRef]
- Olanrewaju, H.; Thompson, J.; Popoola, W. Generalized Spatial Pulse Position Modulation for Optical Wireless Communications. In Proceedings of the 2016 IEEE 84th Vehicular Technology Conference, Montreal, QC, Canada, 18–21 September 2016; pp. 245–249. [Google Scholar]
- Qin, Y.L. Performance Analysis of MPPM Based Wireless Optical Communication System. Master’s Thesis, Xidian University of Electronic Technology, Xi’an, China, 2018. [Google Scholar]
- Effros, M.; Goldsmith, A.; Liang, Y. Generalizing Capacity: New Definitions and Capacity Theorems for Composite Channels. IEEE Trans. Inf. Theory 2010, 56, 3069–3087. [Google Scholar] [CrossRef][Green Version]
- Younis, A.; Serafimovski, N.; Mesleh, R. Generalised Spatial Modulation. In Proceedings of the 44th Asilomar Conference on Signals, Systems and Computers, Pacific Grove, CA, USA, 7–11 November 2010; pp. 1498–1502. [Google Scholar]
- Younis, A.; Basnayaka, D.A.; Hass, H. Performance Analysis for Generalised Spatial Modulation. Eur. Wirel. 2014, 45, 1–6. [Google Scholar]

















| Grouped Bits | LED Combinations |
|---|---|
| 000 | (1,2) |
| 001 | (1,3) |
| 010 | (1,4) |
| 011 | (1,5) |
| 100 | (2,3) |
| 101 | (2,4) |
| 110 | (2,5) |
| 111 | (3,4) |
| Information Bits | Mapping Rules | Information Bits | Mapping Rules | ||
|---|---|---|---|---|---|
| Front_4bits | 0000 | Transmit in time slot 1 | Front_4bits | 1000 | Transmit in time slot 9 |
| 0001 | Transmit in time slot 2 | 1001 | Transmit in time slot 10 | ||
| 0010 | Transmit in time slot 3 | 1010 | Transmit in time slot 11 | ||
| 0011 | Transmit in time slot 4 | 1011 | Transmit in time slot 12 | ||
| 0100 | Transmit in time slot 5 | 1100 | Transmit in time slot 13 | ||
| 0101 | Transmit in time slot 6 | 1101 | Transmit in time slot 14 | ||
| 0110 | Transmit in time slot 7 | 1110 | Transmit in time slot 15 | ||
| 0111 | Transmit in time slot 8 | 1111 | Transmit in time slot 16 | ||
| Middle_1bit | 0 | The amplitude is | |||
| 1 | The amplitude is | ||||
| Modulation Schemes | Bits Transmitted per Symbol (bits) |
|---|---|
| MPAM | |
| MPPM | |
| VPAPM | |
| VMPAPM | |
| GSM-MPAPM |
| The Dimming Coefficients | The Principle of Dimming Control |
|---|---|
| p1 = 0.2 | ![]() |
| p2 = 0.4 | ![]() |
| p3 = 0.6 | ![]() |
| p4 = 0.8 | ![]() |
© 2019 by the authors. Licensee MDPI, Basel, Switzerland. This article is an open access article distributed under the terms and conditions of the Creative Commons Attribution (CC BY) license (http://creativecommons.org/licenses/by/4.0/).
Share and Cite
Bao, J.-J.; Hsu, C.-L.; Tu, J.-F. An Efficient Data Transmission with GSM-MPAPM Modulation for an Indoor VLC System. Symmetry 2019, 11, 1232. https://doi.org/10.3390/sym11101232
Bao J-J, Hsu C-L, Tu J-F. An Efficient Data Transmission with GSM-MPAPM Modulation for an Indoor VLC System. Symmetry. 2019; 11(10):1232. https://doi.org/10.3390/sym11101232
Chicago/Turabian StyleBao, Jing-Jing, Chun-Liang Hsu, and Jih-Fu Tu. 2019. "An Efficient Data Transmission with GSM-MPAPM Modulation for an Indoor VLC System" Symmetry 11, no. 10: 1232. https://doi.org/10.3390/sym11101232
APA StyleBao, J.-J., Hsu, C.-L., & Tu, J.-F. (2019). An Efficient Data Transmission with GSM-MPAPM Modulation for an Indoor VLC System. Symmetry, 11(10), 1232. https://doi.org/10.3390/sym11101232




