An Integrated Hydrological–Hydrodynamic Model Based on GPU Acceleration for Catchment-Scale Rainfall Flood Simulation
Abstract
1. Introduction
2. Materials and Methods
2.1. Numerical Method
2.2. Accelerated Parallel Computing on GPUs
2.3. Assessment of Model Performance
2.4. High-Resolution Data and Rainfall Input
3. Results and Discussion
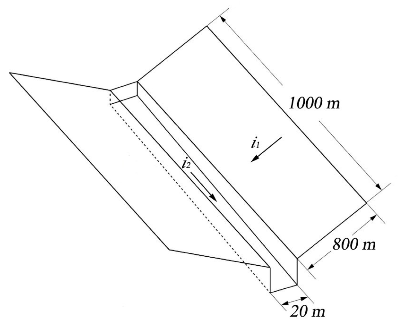
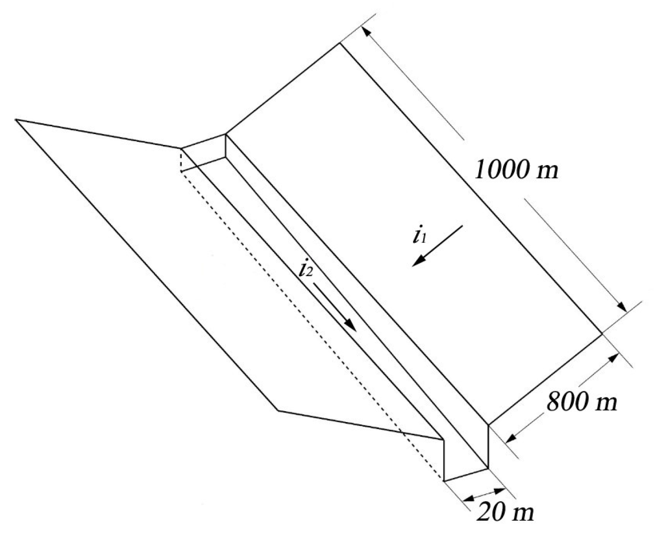
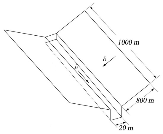
3.1. Simulation on Idealized V-Shape Catchment
3.2. Simulation on Experimental Catchment Under Artificial Rainfall Platform
3.3. Simulation on Actual Gully Catchment on Chinese Loess Plateau
3.3.1. Model Parameters
3.3.2. Model Performance Assessment
3.4. Discussion
4. Conclusions
- The model achieved high simulation accuracy, with NSE values of 0.956 and 0.78 in the experimental catchment and gully watershed, respectively. The proposed model indicated better simulation accuracy when validated against an experimental catchment under an artificial rainfall platform and an actual gully catchment on the Chinese Loess Plateau.
- Computational efficiency improved as the cell number in the computing domain increased, with RS ratios of up to 1.6 for two GPUs versus one GPU. Meanwhile, all simulations with a higher number of grid cells indicated a more significant advantage in accelerated computing performance for the established model in this study.
- The multiple-GPU implementation provided significant speedup over the single-GPU execution, particularly for large-scale and high-resolution rainfall flood simulations.
Author Contributions
Funding
Institutional Review Board Statement
Informed Consent Statement
Data Availability Statement
Acknowledgments
Conflicts of Interest
References
- Musselman, K.N.; Lehner, F.; Ikeda, K.; Clark, M.P.; Prein, A.F.; Liu, C.; Barlage, M.; Rasmussen, R. Projected increases and shifts in rain-on-snow flood risk over western North America. Nat. Clim. Change 2018, 8, 808–812. [Google Scholar] [CrossRef]
- Bubeck, P.; Dillenardt, L.; Alfieri, L.; Feyen, L.; Thieken, A.H.; Kellermann, P. Global warming to increase flood risk on European railways. Clim. Change 2019, 155, 19–36. [Google Scholar] [CrossRef]
- Zong, H.; Dai, Q.; Zhu, J. Ensemble predictions of rainfall-induced landslide risk under climate change in China Integrating Antecedent Soil-Wetness Factors. Atmosphere 2024, 15, 1013. [Google Scholar] [CrossRef]
- Doan, Q.V.; Chen, F.; Kusaka, H.; Dipankar, A.; Khan, A.; Hamdi, R.; Roth, M.; Niyogi, D. Increased risk of extreme precipitation over an urban agglomeration with future global warming. Earth’s Future 2022, 10, 1–12. [Google Scholar] [CrossRef]
- Rezvani, R.; RahimiMovaghar, M.; Na, W.; Reza Najafi, M. Accelerated lagged compound floods and droughts in northwest North America under 1.5 °C–4 °C global warming levels. J. Hydrol. 2023, 624, 129906. [Google Scholar] [CrossRef]
- CRED; UNDRR. The Human Cost of Disasters: An Overview of the Last 20 Years (2000–2019); Centre for Research on the Epidemiology of Disasters (CRED): Brussels, Belgium; United Nations Office for Disaster Risk Reduction (UNDRR): Geneva, Switzerland, 2020. [Google Scholar]
- Rong, Y.; Zhang, T.; Zheng, Y.; Hu, C.; Peng, L.; Feng, P. Three-dimensional urban flood inundation simulation based on digital aerial photogrammetry. J. Hydrol. 2020, 584, 124308. [Google Scholar] [CrossRef]
- Nearing, G.; Cohen, D.; Dube, V.; Gauch, M.; Gilon, O.; Harrigan, S.; Hassidim, A.; Klotz, D.; Kratzert, F.; Metzger, A.; et al. Global prediction of extreme floods in ungauged watersheds. Nature 2024, 627, 559–563. [Google Scholar] [CrossRef]
- Zhao, B.; Chen, E.; Dai, Q.; Zhu, S.; Zhang, J. Study on prediction of regional rainfall-induced landslides based on hydro-meteorological threshold. Acta Geod. Cartogr. Sin. 2022, 51, 2216–2225. [Google Scholar]
- Chen, J.; Shi, X.; Gu, L.; Wu, G.; Su, T.; Wang, H.M.; Kim, J.S.; Zhang, L.; Xiong, L. Impacts of climate warming on global floods and their implication to current flood defense standards. J. Hydrol. 2023, 618, 129236. [Google Scholar] [CrossRef]
- Jhong, Y.-D.; Chen, C.-S.; Jhong, B.-C.; Tsai, C.-H.; Yang, S.-Y. Optimization of LSTM parameters for flash Flood forecasting using genetic algorithm. Water Resour. Manag. 2024, 38, 1141–1164. [Google Scholar] [CrossRef]
- Rentschler, J.; Salhab, M.; Jafino, B.A. Flood exposure and poverty in 188 countries. Nat. Commun. 2022, 13, 3527. [Google Scholar] [CrossRef] [PubMed]
- Hasan, M.M.; Islam, M.N. Effectiveness of flood early warning for the Jamuna char-dwellers at Sirajganj District in Bangladesh. Prog. Disaster Sci. 2024, 24, 100373. [Google Scholar] [CrossRef]
- Dottori, F.; Todini, E. Testing a simple 2D hydraulic model in an urban flood experiment. Hydrol. Process. 2013, 27, 1301–1320. [Google Scholar] [CrossRef]
- Anand, J.; Gosain, A.K.; Khosa, R. Hydrological and hydrodynamic modelling for flood management: A case study of the Yamuna River Basin in Delhi. J. Hydrol.-Reg. Stud. 2024, 56, 101960. [Google Scholar] [CrossRef]
- Jodhani, K.H.; Patel, D.; Madhavan, N. A review on analysis of flood modelling using different numerical models. Mat. Proc. 2023, 80, 3867–3876. [Google Scholar] [CrossRef]
- Liang, Q.; Xia, X.; Hou, J. Catchment-scale high-resolution flash flood simulation using the GPU-based technology. Proc. Eng. 2016, 154, 975–981. [Google Scholar] [CrossRef]
- Qi, W.; Ma, C.; Xu, H.; Chen, Z.; Zhao, K.; Han, H. A review on applications of urban flood models in flood mitigation strategies. Nat. Hazards 2021, 108, 31–62. [Google Scholar] [CrossRef]
- Morales-Hernández, M.; García-Navarro, P.; Burguete, J.; Brufau, P. A conservative strategy to couple 1D and 2D models for shallow water flow simulation. Comput. Fluids 2013, 81, 26–44. [Google Scholar] [CrossRef]
- Lacasta, A.; Morales-Hernández, M.; Murillo, J.; García-Navarro, P. GPU implementation of the 2D shallow water equations for the simulation of rainfall/runoff events. Environ. Earth Sci. 2015, 74, 7295–7305. [Google Scholar] [CrossRef]
- Hou, J.; Guo, K.; Liu, F.; Han, H.; Liang, Q.; Tong, Y.; Li, T. Assessing Slope Forest Effect on Flood Process Caused by a Short-Duration Storm in a Small Catchment. Water 2018, 10, 1256. [Google Scholar] [CrossRef]
- Haque, M.M.; Seidou, O.; Mohammadian, A.; BA, K. Effect of rating curve hysteresis on flood extent simulation with a 2D hydrodynamic model: A case study of the Inner Niger Delta, Mali, West Africa. J. Afr. Earth Sci. 2021, 178, 104187. [Google Scholar] [CrossRef]
- Aureli, F.; Prost, F.; Mignosa, P.; Tomirotti, M. Validation of Synthetic Design Hydrographs through 2D hydrodynamic modelling. J. Hydrol. 2023, 622, 129727. [Google Scholar] [CrossRef]
- Xiang, M.; Zhang, S.; Wu, C.; Tang, C. A two-dimensional hydrodynamic urban flood model based on equivalent drainage of manholes. J. Hydroinform. 2024, 26, 519–533. [Google Scholar] [CrossRef]
- Xiong, Y.; Liang, Q.; Zheng, J.; Wang, G.; Tong, X. Simulation of the full-Process dynamics of floating vehicles driven by flash floods. Water Resour. Res. 2024, 60, e2023WR036739. [Google Scholar] [CrossRef]
- Xia, X.; Liang, Q.; Ming, X. A full-scale fluvial flood modelling framework based on a High-Performance Integrated hydrodynamic Modelling System (HiPIMS). Adv. Water Resour. 2019, 132, 103392. [Google Scholar] [CrossRef]
- Smith, L.S.; Liang, Q.; Quinn, P.F. Towards a hydrodynamic modelling framework appropriate for applications in urban food assessment and mitigation using heterogeneous computing. Urban Water J. 2015, 12, 67–78. [Google Scholar] [CrossRef]
- Rak, A.; Mewis, P.; Guthe, S. Accelerating flash flood simulations: An efficient GPU implementation for a slim shallow water solver. Environ. Modell. Softw. 2024, 177, 106030. [Google Scholar] [CrossRef]
- Wei, J.; Luo, X.; Liao, W.; Zhao, J.; Huang, H.; Wang, H. Enable high-resolution, real-time ensemble simulation and data assimilation of flood inundation using distributed GPU parallelization. J. Hydrol. 2023, 619, 129277. [Google Scholar] [CrossRef]
- Morales-Hernández, M.; Sharif, M.B.; Kalyanapu, A.; Ghafoor, S.K.; Dullo, T.T.; Gangrade, S.; Kao, S.-C.; Norman, M.R.; Evans, K.J. TRITON: A Multi-GPU open source 2D hydrodynamic flood model. Environ. Modell. Softw. 2021, 141, 105034. [Google Scholar] [CrossRef]
- Han, H.; Hou, J.; Jin, Z.; Luo, P.; Li, G.; Zhang, Y.; Gong, J.; Luo, D.; Yang, S. A GPU-based hydrodynamic numerical model for urban rainstorm inundation simulations. J. Hydroinform. 2024, 26, 1–19. [Google Scholar] [CrossRef]
- Ali, S.; Islam, A. Solution to Green–Ampt infiltration model using a two-step curve-fitting approach. Environ. Earth Sci. 2018, 77, 271. [Google Scholar] [CrossRef]
- Hou, J.; Liang, Q.; Simons, F.; Hinkelmann, R. A 2D well balanced shallow flow model for unstructured grids with novel slope source term treatment. Adv. Water Resour. 2013, 52, 107–131. [Google Scholar] [CrossRef]
- Hou, J.; Liang, Q.; Simons, F.; Hinkelmann, R. A stable 2D unstructured shallow flow model for simulations of wetting and drying over rough terrains. Comput. Fluids 2013, 82, 132–147. [Google Scholar] [CrossRef]
- Liang, Q.; Marche, F. Numerical resolution of well-balanced shallow water equations with complex source terms. Adv. Water Resour. 2009, 32, 873–884. [Google Scholar] [CrossRef]
- Singh, J.; Knapp, H.V.; Arnold, J.G.; Demissie, M. Hydrological modeling of the Iroquois River watershed using HSPF and SWAT. J. Am. Water Resour. Assoc. 2005, 41, 343–360. [Google Scholar] [CrossRef]
- Vatanchi, S.M.; Maghrebi, M.F. Uncertainty in Rating-Curves Due to Manning Roughness Coefficient. Water Resour. Manag. 2019, 33, 5153–5167. [Google Scholar] [CrossRef]
- Hou, J.; Han, H.; Qi, W.; Guo, K.; Li, Z.; Hinkelmann, R. Experimental investigation for impacts of rain storms and terrain slopes on low impact development effect in an idealized urban catchment. J. Hydrol. 2019, 579, 124176. [Google Scholar] [CrossRef]
- Imran, M.; Hou, J.; Wang, T.; Zhou, Q.; Li, D.; Khan, M.H.; Ullah, I.; Noor, R.S.; Umair, M.; Hussain, S. Flood characteristics and risk analysis in small watersheds on the Loess Plateau under extreme heavy rainfall. Nat. Hazards 2025, 121, 6857–6878. [Google Scholar] [CrossRef]











| Resolution | Cell Number | Runtime (1 GPU)/h | Runtime (2 GPUs)/h | RS Ratio (Times) |
|---|---|---|---|---|
| 1 m | 1.62 × 106 | 1.43 | 0.91 | 1.57× |
| 2 m | 4.05 × 105 | 0.33 | 0.26 | 1.27× |
| Cell Number/ Terrain Resolution | Execution Time on 1 GPU (h) | Execution Time on 2 GPUs (h) | Relative Speedup (RS) Ratio× |
|---|---|---|---|
| 700 × 165 /0.01 m | 0.63 | 0.59 | 1.1× |
| Grid Cell Resolution | Cell Number | Return Period (a) | Runtime on 1 GPU (s) | Runtime on 2 GPUs (s) | Acceleration Ratio Relative to Simulation Time |
|---|---|---|---|---|---|
| 5 m | 4.52 × 105 | 5 | 548 | 502 | 28.7 |
| 20 | 623 | 568 | 25.4 | ||
| 50 | 661 | 601 | 24.0 | ||
| 2 m | 2.83 × 106 | 5 | 4606 | 2884 | 5.0 |
| 20 | 5085 | 3266 | 4.4 | ||
| 50 | 5611 | 3669 | 3.9 |
Disclaimer/Publisher’s Note: The statements, opinions and data contained in all publications are solely those of the individual author(s) and contributor(s) and not of MDPI and/or the editor(s). MDPI and/or the editor(s) disclaim responsibility for any injury to people or property resulting from any ideas, methods, instructions or products referred to in the content. |
© 2025 by the authors. Licensee MDPI, Basel, Switzerland. This article is an open access article distributed under the terms and conditions of the Creative Commons Attribution (CC BY) license (https://creativecommons.org/licenses/by/4.0/).
Share and Cite
Ma, R.; Han, H.; Zhang, Z. An Integrated Hydrological–Hydrodynamic Model Based on GPU Acceleration for Catchment-Scale Rainfall Flood Simulation. Atmosphere 2025, 16, 809. https://doi.org/10.3390/atmos16070809
Ma R, Han H, Zhang Z. An Integrated Hydrological–Hydrodynamic Model Based on GPU Acceleration for Catchment-Scale Rainfall Flood Simulation. Atmosphere. 2025; 16(7):809. https://doi.org/10.3390/atmos16070809
Chicago/Turabian StyleMa, Ruixiao, Hao Han, and Zhaoan Zhang. 2025. "An Integrated Hydrological–Hydrodynamic Model Based on GPU Acceleration for Catchment-Scale Rainfall Flood Simulation" Atmosphere 16, no. 7: 809. https://doi.org/10.3390/atmos16070809
APA StyleMa, R., Han, H., & Zhang, Z. (2025). An Integrated Hydrological–Hydrodynamic Model Based on GPU Acceleration for Catchment-Scale Rainfall Flood Simulation. Atmosphere, 16(7), 809. https://doi.org/10.3390/atmos16070809

