Outdoor Radon and Its Progeny in Relation to the Particulate Matter during Different Polluted Weather in Beijing
Abstract
1. Introduction
2. Materials and Methods
2.1. Data Collection
2.2. Canonical Correlation Analysis
3. Results
3.1. Characteristics of Radon and Its Progeny Concentration
3.2. Characteristics of Particulate Matter Concentration and Meteorological Parameters
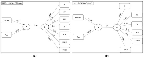
3.3. Relationships between Radon and Its Progeny Concentrations and Particulate Matter Concentrations and Meteorological Parameters
4. Discussion
5. Conclusions
- Outdoor radon and its progeny concentrations display a diurnal variation pattern with a maximum in the early morning and a minimum in the late afternoon. The diurnal variation intensity of radon concentration is significantly influenced by the intensity of atmospheric temperature. Radon concentrations do not show significant seasonal variations, but equilibrium equivalent radon concentrations are significantly lower in spring than in winter. During dust storm weather, the concentration of PM2.5 and the percentage of PM2.5 in PM10 in the air are notably lower compared to haze weather.
- Radon and its progeny concentrations are positively correlated with particulate matter concentrations, but the correlation is significantly stronger during haze weather than during dust storm weather. The disparity in the correlation between radon and its progeny and particulate matter concentration during different types of polluted weather is influenced by the concentration of PM2.5. Notably, a higher percentage of PM2.5 in PM10 was observed during haze weather than during dust storm weather.
- Particulate matter, mainly PM2.5, has a significant effect on the concentration of radon and its progeny. When particulate matter concentrations are elevated, the influence of meteorological parameters on radon and its progeny concentrations is less significant compared to the influence of particulate matter concentrations. Wind level and wind direction have significant negative impacts on radon and its progeny concentrations, particularly during the winter when haze events are frequent.
Supplementary Materials
Author Contributions
Funding
Institutional Review Board Statement
Informed Consent Statement
Data Availability Statement
Acknowledgments
Conflicts of Interest
References
- ICRP. Lung Cancer Risk from Radon and Progeny and Statement on Radon; ICRP Publication 115, Ann. ICRP 40(1); Elsevier: Amsterdam, The Netherlands, 2010. [Google Scholar]
- UNSCEAR. Sources and Effects of Ionizing Radiation, United Nations Scientific Committee on the Effects of Atomic Radiation; UNSCEAR 2000 Report to the General Assembly, with Scientific Annexes, Volume I: Sources; United Nations: New York, NY, USA, 2000. [Google Scholar]
- EEA. Air Quality in Europe 2022; European Environment Agency Report No. 05/2022; European Environment Agency: Copenhagen K, Denmark, 2022; Available online: https://www.eea.europa.eu/publications/air-quality-in-europe-2022 (accessed on 3 June 2023).
- Katsouyanni, K.; Touloumi, G.; Samoli, A.; Gryparis, A.; Le Tertre, A.; Monopolis, Y.; Rossi, G.; Zmirou, D.; Ballester, F.; Boumghar, A.; et al. Confounding and Effect Modification in the Short-Term Effects of Ambient Particles on Total Mortality: Results from 29 European Cities within the APHEA2 Project. Epidemiology 2001, 12, 521–531. Available online: http://www.jstor.org/stable/3703877 (accessed on 1 June 2023). [CrossRef]
- Tian, F.; Qi, J.; Wang, L.; Yin, P.; Qian, Z.; Ruan, Z.; Liu, J.; Liu, Y.; McMillin, S.E.; Wang, C.; et al. Differentiating the effects of ambient fine and coarse particles on mortality from cardiopulmonary diseases: A nationwide multicity study. Environ. Int. 2020, 145, 106096. [Google Scholar] [CrossRef]
- Chen, R.; Yin, P.; Meng, X.; Wang, L.; Liu, C.; Niu, Y.; Liu, Y.; Liu, J.; Qi, J.; You, J.; et al. Associations between coarse particulate matter air pollution and cause-specific mortality: A nationwide analysis in 272 Chinese cities. Environ. Heal. Perspect. 2019, 127, 017008. [Google Scholar] [CrossRef]
- WHO; Regional Office for Europe. Evolution of WHO Air Quality Guidelines: Past, Present and Future; World Health Organization, Regional Office for Europe: Geneva, Switzerland, 2017; Available online: https://apps.who.int/iris/handle/10665/341912 (accessed on 2 June 2023).
- Tokonami, S. Experimental verification of the attachment theory of radon progeny onto ambient aerosols. Health Phys. 2000, 78, 74–79. [Google Scholar] [CrossRef]
- Gao, X. A Preliminary Study on the Radioactive Activity of Atmospheric Aerosols. Shaanxi Environ. 1997, 4, 21–24. (In Chinese) [Google Scholar]
- Xi, H.; Wei, S.; Sha, C. Discussion on the Influence of Aerosols and the Change of Radon Concentration to Radon Daughter. Technol. Sq. 2014, 3, 18–21. (In Chinese) [Google Scholar] [CrossRef]
- Sun, Y. A Study of Correlation between Concentrations of Outdoor Radon Including Its Progenies and PM2.5 in Beijing Area. Master’s Thesis, China University of Geosciences, Beijing, China, 2017. [Google Scholar]
- Wang, M.; Pan, Z.; Liu, S.; Chen, L.; Liao, J. Validation of the Correlation between Outdoor Concentrations of PM2.5 and short-lived Radon Progenies. Chin. J. Radiol. Health 2017, 26, 133–136. (In Chinese) [Google Scholar] [CrossRef]
- Song, L. Studies on Distribution Characteristics of Radionuclides in the Fog Haze Weather. Master’s Thesis, Soochow University, Jiangsu, China, 2015. [Google Scholar]
- Zoran, M.; Savastru, D.; Dida, A. Assessing urban air quality and its relation with radon (222Rn). J. Radioanal. Nucl. Chem. 2016, 309, 909–922. [Google Scholar] [CrossRef]
- Zoran, M.A.; Savastru, R.S.; Savastru, D.M.; Penache, M.-C.V. Temporal trends of carbon monoxide (CO) and radon (222Rn) tracers of urban air pollution. J. Radioanal. Nucl. Chem. 2019, 320, 55–70. [Google Scholar] [CrossRef]
- Zoran, M.A.; Dida, M.R.; Zoran, A.; Zoran, L.F.; Dida, A. Outdoor 222Radon concentrations monitoring in relation with particulate matter levels and possible health effects. J. Radioanal. Nucl. Chem. 2013, 296, 1179–1192. [Google Scholar] [CrossRef]
- Zoran, M.; Dida, M.R.; Savastru, R.; Savastru, D.; Dida, A.; Ionescu, O. Ground level ozone (O3) associated with radon (222Rn) and particulate matter (PM) concentrations in Bucharest metropolitan area and adverse health effects. J. Radioanal. Nucl. Chem. 2014, 300, 729–746. [Google Scholar] [CrossRef]
- Kubiak, J.A.; Basińska, M. Analysis of the Radon Concentration in Selected Rooms of Buildings in Poznan County. Atmosphere 2022, 13, 1664. [Google Scholar] [CrossRef]
- Kazemi, K.V.; Mansouri, N.; Moattar, F.; Khezri, S.M. Characterization of indoor/outdoor PM10, PM2.5, PM1 and radon concentrations in Imam Khomeini hospital. Bulg. Chem. Commun. 2016, 48, 345–350. [Google Scholar]
- Adeoye, C.; Gupta, J.; Demers, N.; Adhikari, A. Variations of radon and airborne particulate matter near three large phosphogypsum stacks in Florida. Environ. Monit. Assess. 2021, 193, 284. [Google Scholar] [CrossRef]
- Elahi, E.; Khalid, Z.; Tauni, M.Z.; Zhang, H.; Lirong, X. Extreme weather events risk to crop-production and the adaptation of innovative management strategies to mitigate the risk: A retrospective survey of rural Punjab, Pakistan. Technovation 2022, 117, 102255. [Google Scholar] [CrossRef]
- Abbas, A.; Waseem, M.; Ullah, W.; Zhao, C.; Zhu, J. Spatiotemporal Analysis of Meteorological and Hydrological Droughts and Their Propagations. Water 2021, 13, 2237. [Google Scholar] [CrossRef]
- Zaady, E.; Offer, Z.Y.; Shachak, M. The content and contribution of deposited aeolian organic matter in a dry land ecosystem of the Negev Desert, Israel. Atmos. Environ. 2001, 35, 769–776. [Google Scholar] [CrossRef]
- Goudie, A.S. Desert dust and human health disorders. Environ. Int. 2014, 63, 101–113. [Google Scholar] [CrossRef]
- Tracerlab. ERS-RDM-2S Monitor for the Determination of the Radon/Thoron-Gas- & Progeny Concentration, Short-Version-2017/08; Tracerlab GmbH: Koeln, Germany, 2017. [Google Scholar]
- Wang, N.; Hu, M.; Zeng, W.; Yu, C.; Jia, B.; Yang, Z. Indoor and outdoor 222Rn and 220Rn and their progeny levels surrounding Bayan Obo mine, China. Nukleonika 2020, 65, 145–148. [Google Scholar] [CrossRef]
- GB/T 28591-2012; Wind Scale. General Administration of Quality Supervision, Inspection and Quarantine of the People’s Republic of China & Standardization Administration of the People’s Republic of China, Standards Press of China: Beijing, China, 2012. (In Chinese)
- Hardoon, D.R.; Szedmak, S.; Shawe-Taylor, J. Canonical Correlation Analysis: An Overview with Application to Learning Methods. Neural Comput. 2004, 16, 2639–2664. [Google Scholar] [CrossRef] [PubMed]
- Cheng, J.; Guo, Q.; Ren, T. Radon Levels in China. J. Nucl. Sci. Technol. 2002, 39, 695–699. [Google Scholar] [CrossRef]
- Gao, P.; Wang, Y.; Song, Z.Y.; Sun, X. Study on outdoor radon and its progeny concentration level and variation pattern in Beijing area. Chin. J. Radiol. Health 2020, 40, 698–701. [Google Scholar] [CrossRef]
- Čeliković, I.; Pantelić, G.; Vukanac, I.; Nikolić, J.K.; Živanović, M.; Cinelli, G.; Gruber, V.; Baumann, S.; Poncela, L.S.Q.; Rabago, D. Outdoor Radon as a Tool to Estimate Radon Priority Areas—A Literature Overview. Int. J. Environ. Res. Public Health 2022, 19, 662. [Google Scholar] [CrossRef] [PubMed]
- Mallone, S.; Stafoggia, M.; Faustini, A.; Gobbi, G.P.; Marconi, A.; Forastiere, F. Saharan Dust and Associations between Particulate Matter and Daily Mortality in Rome, Italy. Environ. Heal. Perspect. 2011, 119, 1409–1414. [Google Scholar] [CrossRef] [PubMed]
- Dement’eva, A.L.; Zhamsueva, G.S.; Zayakhanov, A.S.; Tsydypov, V.V.; Ayurzhanaev, A.A.; Azzayaa, D.; Oyunchimeg, D. Mass concentration of PM10 and PM2.5 fine-dispersed aerosol fractions in the Eastern Gobi Desert. Russ. Meteorol. Hydrol. 2013, 38, 80–87. [Google Scholar] [CrossRef]
- Chung, Y.; Kim, H.; Dulam, J.; Harris, J. On heavy dustfall observed with explosive sandstorms in Chongwon-Chongju, Korea in 2002. Atmos. Environ. 2003, 37, 3425–3433. [Google Scholar] [CrossRef]
- Hahnenberger, M.; Nicoll, K. Meteorological characteristics of dust storm events in the eastern Great Basin of Utah, U.S.A. Atmos. Environ. 2012, 60, 601–612. [Google Scholar] [CrossRef]
- Vanderstraeten, P.; Lénelle, Y.; Meurrens, A.; Carati, D.; Brenig, L.; Delcloo, A.; Offer, Z.; Zaady, E. Dust storm originate from Sahara covering Western Europe: A case study. Atmos. Environ. 2008, 42, 5489–5493. [Google Scholar] [CrossRef]
- Zhuo, W.; Furukawa, M.; Guo, Q.; Kim, Y.S. Soil radon flux and outdoor radon concentrations in East Asia. Int. Congr. Ser. 2005, 1276, 285–286. [Google Scholar] [CrossRef]
- Zhang, L.G.; Guo, Q.J.; Lida, T. Atmospheric radon levels in Beijing, China. Radiat. Prot. Dosim. 2004, 112, 449–453. [Google Scholar] [CrossRef]
- Kikaj, D.; Chambers, S.D.; Crawford, J.; Kobal, M.; Gregorič, A.; Vaupotič, J. Investigating the vertical and spatial extent of radon-based classification of the atmospheric mixing state and impacts on seasonal urban air quality. Sci. Total Environ. 2023, 872, 162126. [Google Scholar] [CrossRef] [PubMed]
- Natsagdorj, L.; Jugder, D.; Chung, Y.S. Analysis of dusts storms observed in Mongolia during 1937–1999. Atmos. Environ. 2003, 37, 1401–1411. [Google Scholar] [CrossRef]









| Air Quality | November 2015 to January 2016 (Winter) | March to April 2023 (Spring) |
|---|---|---|
| Excellent | 15 | 6 |
| Good | 10 | 13 |
| Pollution 1 | 37 | 13 |
| Proportion of polluted days | 59.68% | 40.63% |
| Location | PM2.5 | % of PM10 | Reference |
|---|---|---|---|
| Beijing | 186.5 | 36.2 | Present study |
| Rome | 86.0 | 47.3 | [32] |
| Mongolia | 700.0 | 36.3 | [33] |
| Korea | 294.0 | 10.0 | [34] |
| America | 55.7 | 13.1 | [35] |
| Belgium | 43.0 | 42.8 | [36] |
| Canonical Variation | Correlation | Eigenvalue | Wilks Statistic | Sig. |
|---|---|---|---|---|
| November 2015 to January 2016 (Winter) | ||||
| 1 | 0.80 | 1.75 | 0.33 | 0.00 |
| 2 | 0.29 | 0.09 | 0.92 | 0.68 |
| March to April 2023 (Spring) | ||||
| 1 | 0.81 | 1.85 | 0.32 | 0.00 |
| 2 | 0.31 | 0.11 | 0.90 | 0.74 |
Disclaimer/Publisher’s Note: The statements, opinions and data contained in all publications are solely those of the individual author(s) and contributor(s) and not of MDPI and/or the editor(s). MDPI and/or the editor(s) disclaim responsibility for any injury to people or property resulting from any ideas, methods, instructions or products referred to in the content. |
© 2023 by the authors. Licensee MDPI, Basel, Switzerland. This article is an open access article distributed under the terms and conditions of the Creative Commons Attribution (CC BY) license (https://creativecommons.org/licenses/by/4.0/).
Share and Cite
Yu, C.; Sun, Y.; Wang, N. Outdoor Radon and Its Progeny in Relation to the Particulate Matter during Different Polluted Weather in Beijing. Atmosphere 2023, 14, 1132. https://doi.org/10.3390/atmos14071132
Yu C, Sun Y, Wang N. Outdoor Radon and Its Progeny in Relation to the Particulate Matter during Different Polluted Weather in Beijing. Atmosphere. 2023; 14(7):1132. https://doi.org/10.3390/atmos14071132
Chicago/Turabian StyleYu, Cong, Yuan Sun, and Nanping Wang. 2023. "Outdoor Radon and Its Progeny in Relation to the Particulate Matter during Different Polluted Weather in Beijing" Atmosphere 14, no. 7: 1132. https://doi.org/10.3390/atmos14071132
APA StyleYu, C., Sun, Y., & Wang, N. (2023). Outdoor Radon and Its Progeny in Relation to the Particulate Matter during Different Polluted Weather in Beijing. Atmosphere, 14(7), 1132. https://doi.org/10.3390/atmos14071132

