An Improved Large Signal Model for 0.1 μm AlGaN/GaN High Electron Mobility Transistors (HEMTs) Process and Its Applications in Practical Monolithic Microwave Integrated Circuit (MMIC) Design in W band
Abstract
:1. Introduction
2. Model Description
2.1. Short Channel Effects
2.2. Large Signal Model up to W Band
3. Model Validation
3.1. Small Signal Characterization
3.2. The Large Signal Model Validation
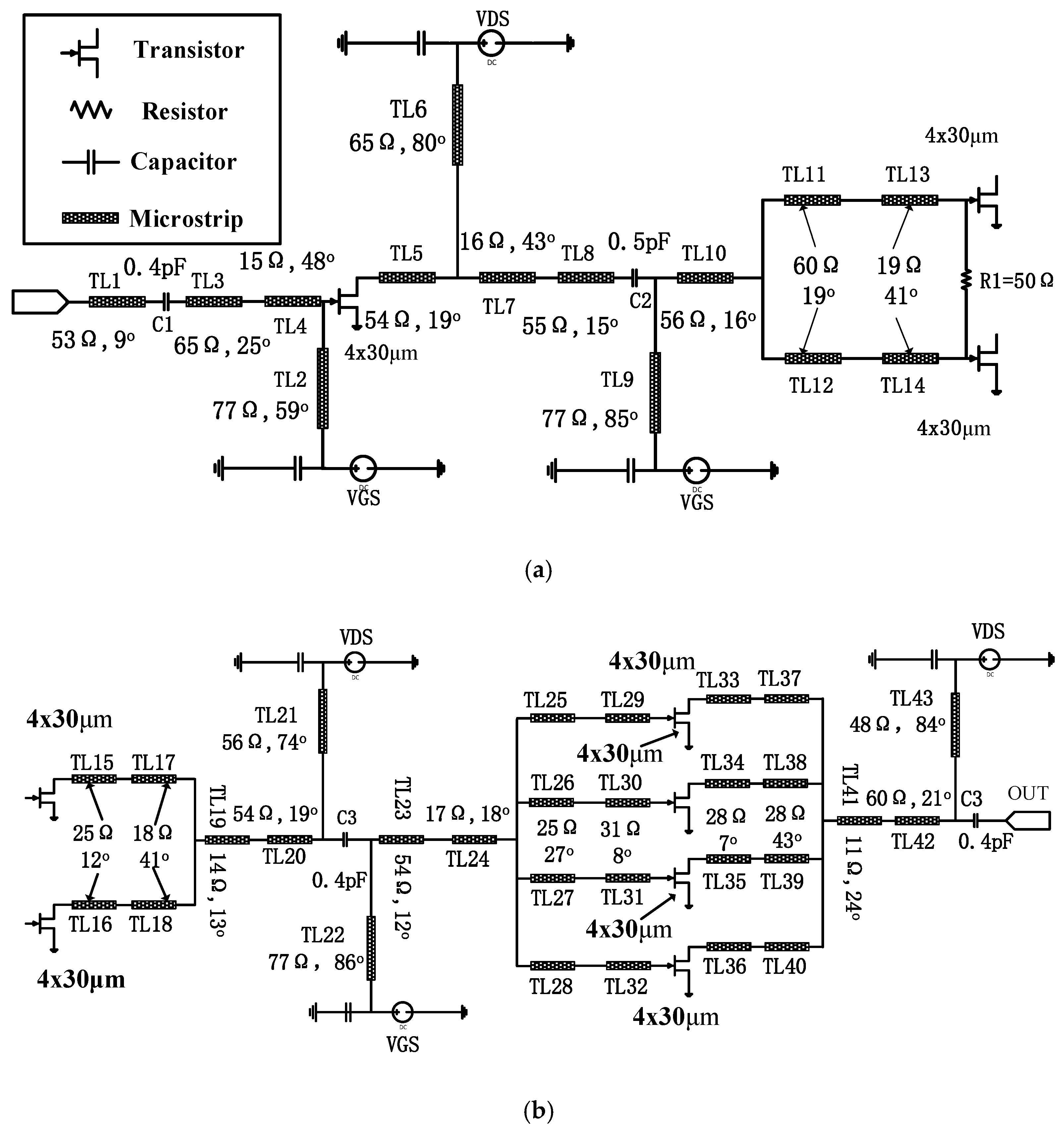
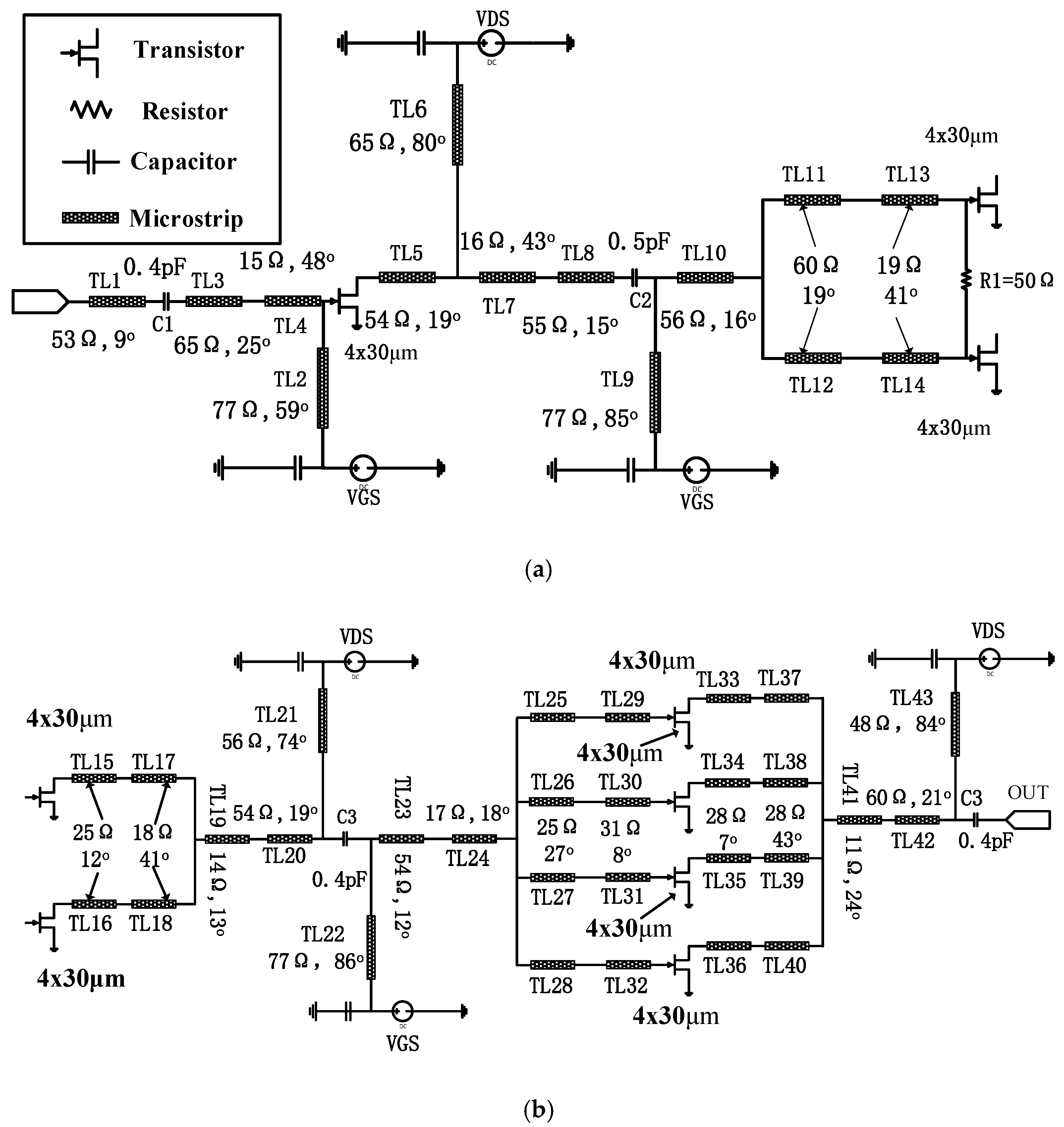
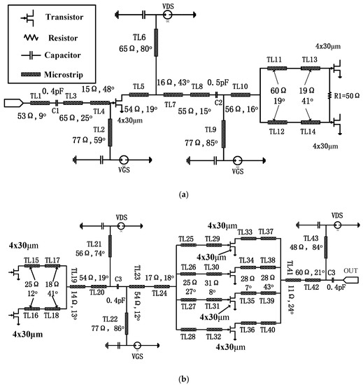
4. W Band MMIC Power Amplifier Design
5. Conclusions
Author Contributions
Funding
Conflicts of Interest
References
- Mishra, U.K.; Shen, L.; Kazior, T.E.; Wu, Y.F. Gan-based RF power devices and amplifiers. Proc. IEEE. 2008, 96, 287–305. [Google Scholar] [CrossRef]
- Shaobing, W.; Jianfeng, G.; Weibo, W.; Junyun, Z. W-band MMIC PA with ultrahigh power density in 100-nm AlGaN/GaN technology. IEEE Trans. Electron Devices 2016, 63, 3882–3886. [Google Scholar] [CrossRef]
- Wienecke, S.; Romanczyk, B.; Guidry, M.; Li, H.; Ahmadi, E.; Hestroffer, K.; Zheng, X.; Keller, S.; Mishra, U.K. N-polar gan cap mishemt with record power density exceeding 6.5 W/mm at 94 GHz. IEEE Electron Device Lett. 2017, 38, 359–362. [Google Scholar] [CrossRef]
- Xing, W.; Liu, Z.; Ranjan, K.; Ng, G.I.; Palacios, T. Planar nanostrip-channel Al2O3/InAIN/GaN MISHEMTs on Si with improved linearity. IEEE Electron Device Lett. 2018, 39, 947–950. [Google Scholar] [CrossRef]
- Romanczyk, B.; Wienecke, S.; Guidry, M.; Li, H.; Ahmadi, E.; Zheng, X.; Keller, S.; Mishra, U.K. Demonstration of constant 8 W/mm power density at 10, 30, and 94 GHz in state-of-the-art millimeter-wave N-polar GaN MISHEMTs. IEEE Trans. Electron Devices 2018, 65, 45–50. [Google Scholar] [CrossRef]
- Niida, Y.; Kamada, Y.; Ohki, T.; Ozaki, S.; Makiyama, K.; Minoura, Y.; Okamoto, N.; Sato, M.; Joshin, K.; Watanabe, K. 3.6 W/mm high power density W-band InAlGaN/GaN HEMT MMIC power amplifier. In Proceedings of the 2016 IEEE Topical Conference on Power Amplifiers for Wireless and Radio Applications (PAWR), Austin, TX, USA, 24–27 January 2016; pp. 24–26. [Google Scholar]
- Brown, A.; Brown, K.; Chen, J.; Hwang, K.C.; Kolias, N.; Scott, R. W-band GaN power amplifier MMICs. In Proceedings of the 2011 IEEE MTT-S International Microwave Symposium, Baltimore, MD, USA, 5–10 June 2011; pp. 1–4. [Google Scholar]
- Cheng, X.; Wang, Y. A surface-potential-based compact model for AlGaN/GaN MODFETs. IEEE Trans. Electron Devices 2011, 58, 448–454. [Google Scholar] [CrossRef]
- Khandelwal, S.; Chauhan, Y.S.; Fjeldly, T.A. Analytical modeling of surface-potential and intrinsic charges in AlGaN/GaN HEMT devices. IEEE Trans. Electron Devices 2012, 59, 2856–2860. [Google Scholar] [CrossRef]
- Deng, W.; Huang, J.; Ma, X.; Liou, J.J. An explicit surface potential calculation and compact current model for AlGaN/GaN HEMTs. IEEE Electron Device Lett. 2015, 36, 108–110. [Google Scholar] [CrossRef]
- Radhakrishna, U.; Choi, P.; Grajal, J.; Peh, L.S.; Palacios, T.; Antoniadis, D. Study of RF-circuit linearity performance of GaN HEMT technology using the MVSG compact device model. In Proceedings of the 2016 IEEE International Electron Devices Meeting (IEDM), San Francisco, CA, USA, 3–7 December 2016. [Google Scholar]
- Dambrine, G.; Cappy, A.; Heliodore, F.; Playez, E. A new method for determining the FET small-signal equivalent circuit. IEEE Trans. Microw. Theory Tech. 1988, 36, 1151–1159. [Google Scholar] [CrossRef]
- Jarndal, A.; Kompa, G. A new small-signal modeling approach applied to GaN devices. IEEE Trans. Microw. Theory Tech. 2005, 53, 3440–3448. [Google Scholar] [CrossRef]
- Jia, Y.; Xu, Y.; Xu, R.; Li, Y. An accurate parasitic parameters extraction method based on FW-EM for AlGaN/GaN HEMT up to 110 GHz. Int. J. Numer. Model. Electron. Netw. Devices Fields 2018, 31, e2270. [Google Scholar] [CrossRef]
- Wen, Z.; Xu, Y.; Chen, Y.; Tao, H.; Ren, C.; Lu, H.; Wang, Z.; Zheng, W.; Zhang, B.; Chen, T.; et al. A quasi-physical compact large-signal model for AlGaN/GaN HEMTs. IEEE Trans. Microw. Theory Tech. 2017, 65, 5113–5122. [Google Scholar] [CrossRef]
- Wu, Q.; Xu, Y.; Chen, Y.; Wang, Y.; Fu, W.; Yan, B.; Xu, R. A scalable multiharmonic surface-potential model of AlGaN/GaN HEMTs. IEEE Trans. Microw. Theory Tech. 2018, 66, 1192–1200. [Google Scholar] [CrossRef]
- Crupi, G.; Xiao, D.; Schreurs, D.M.M.P.; Limiti, E.; Caddemi, A.; Raedt, W.D.; Germain, M. Accurate multibias equivalent-circuit extraction for GaN HEMTs. IEEE Trans. Microw.Theory Tech. 2006, 54, 3616–3622. [Google Scholar] [CrossRef]
- Jardel, O.; Groote, F.D.; Reveyrand, T.; Jacquet, J.C.; Charbonniaud, C.; Teyssier, J.P.; Floriot, D.; Quere, R. An electrothermal model for AlGaN/GaN power HEMTs including trapping effects to improve large-signal simulation results on high VSWR. IEEE Trans. Microw. Theory Tech. 2007, 55, 2660–2669. [Google Scholar] [CrossRef]
- Liu, L.S.; Ma, J.G.; Ng, G.I. Electrothermal large-signal model of III–V FETs including frequency dispersion and charge conservation. IEEE Trans. Microw. Theory Tech. 2009, 57, 3106–3117. [Google Scholar]
- Zhao, X.; Xu, Y.; Jia, Y.; Wu, Y.; Xu, R.; Li, J.; Hu, Z.; Wu, H.; Dai, W.; Cai, S. Temperature-dependent access resistances in large-signal modeling of millimeter-wave AlGaN/GaN HEMTs. IEEE Trans. Microw. Theory Tech. 2017, 65, 2271–2278. [Google Scholar] [CrossRef]
- Wang, C.; Xu, Y.; Yu, X.; Ren, C.; Wang, Z.; Lu, H.; Chen, T.; Zhang, B.; Xu, R. An electrothermal model for empirical large-signal modeling of AlGaN/GaN HEMTs including self-heating and ambient temperature effects. IEEE Trans. Microw. Theory Tech. 2014, 62, 2878–2887. [Google Scholar] [CrossRef]
- Xu, Y.; Wang, C.; Sun, H.; Wen, Z.; Wu, Y.; Xu, R.; Yu, X.; Ren, C.; Wang, Z.; Zhang, B.; et al. A scalable large-signal multiharmonic model of AlGaN/GaN HEMTs and its application in C-band high power amplifier MMIC. IEEE Trans. Microw. Theory Tech. 2017, 65, 2836–2846. [Google Scholar] [CrossRef]
- Joshin, K.; Ozaki, S.; Ohki, T.; Okamoto, N.; Niida, Y.; Makiyama, K. Millimeter-wave GaN HEMT model with VDS dependence of CDS for power amplifier applications. In Proceedings of the 2014 Asia-Pacific Microwave Conference, Sendai, Japan, 4–7 November 2014; pp. 582–584. [Google Scholar]
- Cutivet, A.; Altuntas, P.; Defrance, N.; Okada, E.; Avramovic, V.; Lesecq, M.; Hoel, V.; Jaeger, J.C.D.; Boone, F.; Maher, H. Large-signal modeling up to W-band of AlGaN/GaN based high-electron-mobility transistors. In Proceedings of the 2015 10th European Microwave Integrated Circuits Conference (EuMIC), Paris, France, 7–8 September 2015; pp. 93–96. [Google Scholar]
- King, J.B.; Brazil, T.J. Nonlinear electrothermal GaN HEMT model applied to high-efficiency power amplifier design. IEEE Trans. Microw. Theory Tech. 2013, 61, 444–454. [Google Scholar] [CrossRef]
- Yuk, K.S.; Branner, G.R.; McQuate, D.J. A wideband multiharmonic empirical large-signal model for high-power GaN HEMTs with self-heating and charge-trapping effects. IEEE Trans. Microw. Theory Tech. 2009, 57, 3322–3332. [Google Scholar] [CrossRef]
- Wen, Z.; Xu, Y.; Wang, C.; Zhao, X.; Chen, Z.; Xu, R. A parameter extraction method for GaN HEMT empirical large-signal model including self-heating and trapping effects. Int. J. Numer. Model. Electron. Netw. Devices Fields 2017, 30, e2137. [Google Scholar] [CrossRef]

















© 2018 by the authors. Licensee MDPI, Basel, Switzerland. This article is an open access article distributed under the terms and conditions of the Creative Commons Attribution (CC BY) license (http://creativecommons.org/licenses/by/4.0/).
Share and Cite
Li, J.; Mao, S.; Xu, Y.; Zhao, X.; Wang, W.; Guo, F.; Zhang, Q.; Wu, Y.; Zhang, B.; Chen, T.; et al. An Improved Large Signal Model for 0.1 μm AlGaN/GaN High Electron Mobility Transistors (HEMTs) Process and Its Applications in Practical Monolithic Microwave Integrated Circuit (MMIC) Design in W band. Micromachines 2018, 9, 396. https://doi.org/10.3390/mi9080396
Li J, Mao S, Xu Y, Zhao X, Wang W, Guo F, Zhang Q, Wu Y, Zhang B, Chen T, et al. An Improved Large Signal Model for 0.1 μm AlGaN/GaN High Electron Mobility Transistors (HEMTs) Process and Its Applications in Practical Monolithic Microwave Integrated Circuit (MMIC) Design in W band. Micromachines. 2018; 9(8):396. https://doi.org/10.3390/mi9080396
Chicago/Turabian StyleLi, Junfeng, Shuman Mao, Yuehang Xu, Xiaodong Zhao, Weibo Wang, Fangjing Guo, Qingfeng Zhang, Yunqiu Wu, Bing Zhang, Tangsheng Chen, and et al. 2018. "An Improved Large Signal Model for 0.1 μm AlGaN/GaN High Electron Mobility Transistors (HEMTs) Process and Its Applications in Practical Monolithic Microwave Integrated Circuit (MMIC) Design in W band" Micromachines 9, no. 8: 396. https://doi.org/10.3390/mi9080396
APA StyleLi, J., Mao, S., Xu, Y., Zhao, X., Wang, W., Guo, F., Zhang, Q., Wu, Y., Zhang, B., Chen, T., Yan, B., Xu, R., & Li, Y. (2018). An Improved Large Signal Model for 0.1 μm AlGaN/GaN High Electron Mobility Transistors (HEMTs) Process and Its Applications in Practical Monolithic Microwave Integrated Circuit (MMIC) Design in W band. Micromachines, 9(8), 396. https://doi.org/10.3390/mi9080396

