Prediction of Areal Soybean Lodging Using a Main Stem Elongation Model and a Soil-Adjusted Vegetation Index That Accounts for the Ratio of Vegetation Cover
Abstract
1. Introduction
- Creation of a main stem elongation model using the main stem node number model of Nakano et al. [7]
- Creation of an areal main stem length estimation method using a soil-adjusted vegetation index that takes vegetation cover into account using UAV remote sensing
- Creation of an areal lodging prediction method by combining the main stem elongation model and the soil-adjusted vegetation index
2. Materials and Methods
2.1. Main Stem Elongation Modeling
2.1.1. Main Stem Elongation Model from Emergence Date to Blooming Stage (R1)
2.1.2. Main Stem Elongation Model from Blooming Stage (R1) to Peak Main Stem Length
2.1.3. Accuracy Verification of the Main Stem Elongation Model
2.2. Leaf Age Modeling
2.3. Method for Estimating Main Stem Length Using a Soil-Adjusted Vegetation Index That Takes Vegetation Cover into Account
2.3.1. Outline of the Experimental Plots
2.3.2. UAV Remote Sensing
2.3.3. Main Stem Length Research
2.3.4. Statistical Analysis
2.4. Creation of an Areal Lodging Prediction Method by Combining a Main Stem Elongation Model and a Soil-Adjusted Vegetation Index
2.4.1. Prediction Model for Lodging
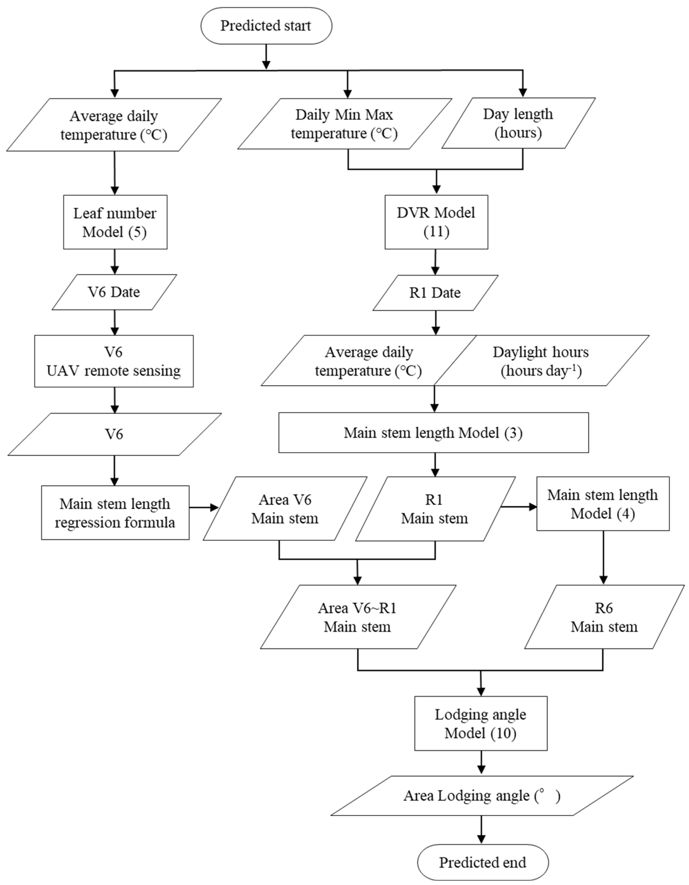
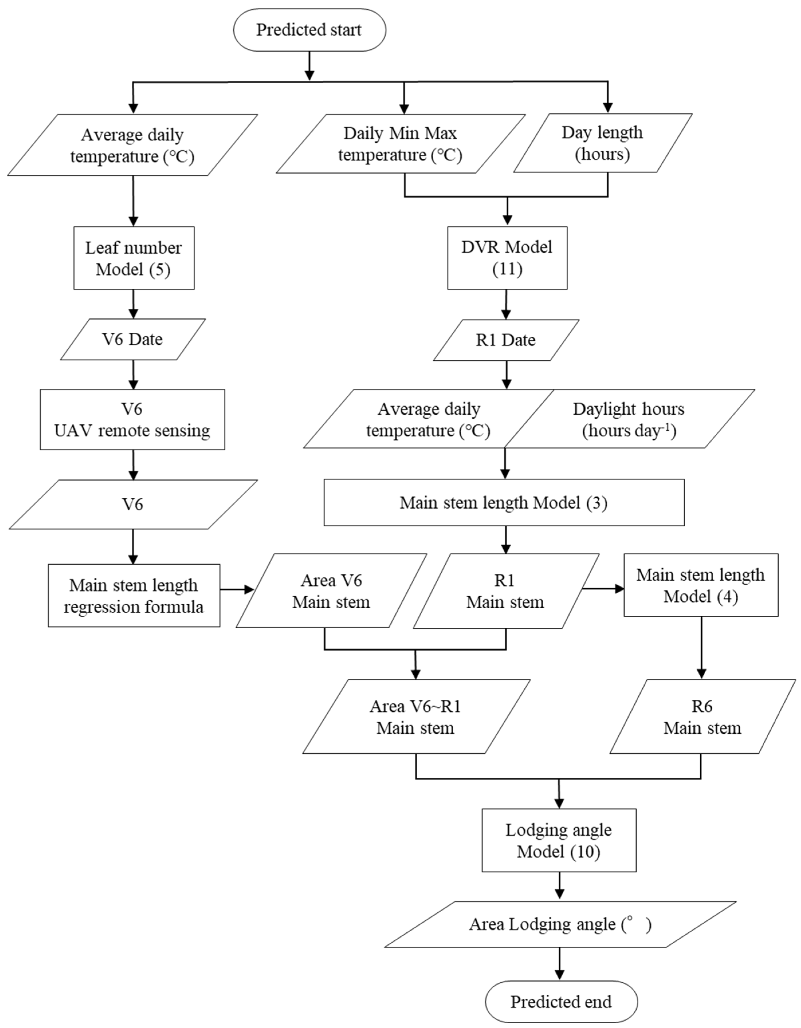
2.4.2. Areal Lodging Prediction Method
- The calendar day of V6 was predicted using the leaf age model (5).
- The main stem length at V6 was estimated areally using the vegetation index calculated by UAV remote sensing at V6.
- The main stem length at R1 was predicted by the main stem elongation model (3), and the main stem elongation from V6 to R1 was predicted areally from the difference, with the main stem length at V6 estimated in 1.
- The main stem length at R6 was predicted by substituting the main stem length of R1 predicted in 3 into the main stem elongation model (4).
- The lodging was predicted areally by substituting the main stem elongation from V6 to R1 predicted in 3 and the main stem length at R6 predicted in 4 into the lodging model (10).
3. Results
3.1. Creation and Verification of Accuracy of Main Stem Elongation Model
3.2. Creation and Accuracy Verification of the Leaf Age Model
3.3. Estimation of Main Stem Length Using a Soil-Adjusted Vegetation Index That Takes Vegetation Coverage into Account
3.4. Areal Lodging Prediction Method Combining Main Stem Elongation Model and Soil-Adjusted Vegetation Index
4. Discussion
4.1. Modeling of the Main Stem Length and Leaf Age
4.2. Estimation of the Main Stem Length by Soil-Adjusted Vegetation Index Considering Vegetation Cover
4.3. Areal Lodging Prediction by Combining the Main Stem Elongation Model and Soil-Adjusted Vegetation Index
5. Conclusions
Author Contributions
Funding
Data Availability Statement
Acknowledgments
Conflicts of Interest
References
- Saitoh, K.; Nishimura, K.; Kitahara, T. Effect of Lodging on Seed Yield of Field-Grown Soybean—Artificial Lodging and Lodging Preventing Treatments. Jpn. J. Crop Sci. 2012, 81, 27–32. [Google Scholar] [CrossRef]
- Uchikawa, O.; Miyazaki, M.; Tanaka, K. The relationship between lodgingof soybean and the combine harvesting loss in Fukuoka Prefecture in 2004. Rep. Kyushu Branch Crop Sci. Soc. Jpn. 2006, 72, 32–34. [Google Scholar]
- Hayashi, M.; Hamada, Y.; Tani, T.; Hiraiwa, K. Development of Pinching Machine and Effect of Pinching for Soybean. Res. Bull. Aichi Agric. Res. Cent. 2009, 40, 93–97. [Google Scholar]
- Kakiuchi, J. Effects of Pinching on Growth and Yield of Different Soybean Cultivars. Jpn. J. Crop Sci. 2021, 90, 414–422. [Google Scholar] [CrossRef]
- Raza, A.; Asghar, M.A.; Ahmad, B.; Bin, C.; Iftikhar Hussain, M.; Li, W.; Iqbal, T.; Yaseen, M.; Shafiq, I.; Yi, Z.; et al. Agro-Techniques for Lodging Stress Management in Maize-Soybean Intercropping System—A Review. Plants 2020, 9, 1592. [Google Scholar] [CrossRef]
- Konno, T.; Homma, K. Impact Assessment of Main Stem Elongation and Wind Speed on Lodging of Soybean Cultivar ‘Miyagishirome’. Res. Sq. 2023; preprints. [Google Scholar] [CrossRef]
- Nakano, S.; Purcell, L.C.; Homma, K.; Shiraiwa, T. Modeling Leaf Area Development in Soybean (Glycine max L.) Based on the Branch Growth and Leaf Elongation. Plant Prod. Sci. 2020, 23, 247–259. [Google Scholar] [CrossRef]
- Umezaki, T.; Matsumoto, S. Studies on Internode Elongation in Soybean Plants: I. Internode Elongation Patterns of the Main Stem in Four Late Soybean Cultivars. Jpn. J. Crop Sci. 1989, 58, 364–367. [Google Scholar] [CrossRef]
- Egli, D.B. The Relationship between the Number of Nodes and Pods in Soybean Communities. Crop Sci. 2013, 53, 1668–1676. [Google Scholar] [CrossRef]
- Morishita, M.; Hirano, T.; Miyamoto, Y. Effect of Sunshine Hours on Main Stem Length in Soybean. Bull. Wakayama Prefect. Agric. Exp. Stn. 1986, 11, 9–12. [Google Scholar] [CrossRef]
- Liu, X.; Rahman, T.; Song, C.; Su, B.; Yang, F.; Yong, T.; Wu, Y.; Zhang, C.; Yang, W. Changes in Light Environment, Morphology, Growth and Yield of Soybean in Maize-Soybean Intercropping Systems. Field Crops Res. 2017, 200, 38–46. [Google Scholar] [CrossRef]
- Feng, L.; Raza, M.A.; Li, Z.; Chen, Y.; Khalid, M.H.B.; Du, J.; Liu, W.; Wu, X.; Song, C.; Yu, L.; et al. The Influence of Light Intensity and Leaf Movement on Photosynthesis Characteristics and Carbon Balance of Soybean. Front. Plant Sci. 2019, 9, 1952. [Google Scholar] [CrossRef]
- Taki, S.; Kujira, Y. Effects of Different Soil Condition on Growth of Soybean Cv. Enrei. Hokuriku Crop Sci. 2009, 44, 41–45. [Google Scholar] [CrossRef]
- Morishita, M.; Ishitsuka, N. Estimation of Soil Properties Distribution Using UAV Observation and Machine Learning. J. Jpn. Agric. Syst. Soc. 2021, 37, 21–28. [Google Scholar] [CrossRef]
- Zhang, L.; Hashimoto, N.; Saito, Y.; Obara, K.; Ishibashi, T.; Ito, R.; Yamamoto, S.; Maki, M.; Homma, K. Validation of Relation between SPAD and Rice Grain Protein Content in Farmer Fields in the Coastal Area of Sendai, Japan. AgriEngineering 2023, 5, 369–379. [Google Scholar] [CrossRef]
- Yamamoto, S.; Homma, K.; Hashimoto, N.; Maki, M. Evaluation of Excess Soil Moisture Damage on Soybean Grown in Farmer’s Fields by UAV Remote-Sensing. Jpn. J. Crop Sci. 2019, 88, 48–49. [Google Scholar] [CrossRef]
- Gitelson, A.A.; Kaufman, Y.J.; Merzlyak, M.N. Use of a Green Channel in Remote Sensing of Global Vegetation from EOS-MODIS. Remote Sens. Environ. 1996, 58, 289–298. [Google Scholar] [CrossRef]
- Tambo, A.; Shimada, M.; Yoshifuji, A.; Imamoto, Y.; Nagahata, H.; Fujihara, Y.; Tsukaguchi, T. Analysis of Soybean Seed Yield Using Vegetation Index Captured with UAV. Jpn. J. Crop Sci. 2021, 90, 261–268. [Google Scholar] [CrossRef]
- Kamaki, S.; Nakamoto, S.; Hoh, D.; Inamura, T.; Inoue, H. Estimation of Dry Matter Weight of Soybean Using the New Vegetation Index. J. Crop Res. 2021, 66, 47–53. [Google Scholar] [CrossRef]
- Huete, A.R. A Soil-Adjusted Vegetation Index (SAVI). Remote Sens. Environ. 1988, 25, 295–309. [Google Scholar] [CrossRef]
- Qi, J.; Chehbouni, A.; Huete, A.R.; Kerr, Y.H.; Sorooshian, S. A Modified Soil Adjusted Vegetation Index. Remote Sens. Environ. 1994, 48, 119–126. [Google Scholar] [CrossRef]
- Takizawa, H. Relationship between Internode Length and Crop Management of Leading Soybean Variety in Miyagi Prefecture. Tohoku Agric. Res. 2006, 59, 73–74. [Google Scholar]
- Ministry of Agriculture, Forestry and Fisheries of Japan. Characteristics of Japanese Soybean Varieties. Available online: https://www.maff.go.jp/j/seisan/ryutu/daizu/d_ziten/attach/pdf/index-1.pdf (accessed on 1 June 2023).
- Fehr, W.R. Stages of Soybean Development. Iowa State Univ. Spec. Rep. 1977, 80, 1–12. [Google Scholar]
- Organization Miyagi Prefectural Furukawa Agricultural Experiment Station. Cropping Pattern Analysis Test of Paddy Rice, Soybeans and Wheat Crops in Miyagi Prefecture in 2005; Extraordinary Report of Organization Miyagi Prefectural Furukawa Agricultural Experiment Station; Organization Miyagi Prefectural Furukawa Agricultural Experiment Station: Miyagi, Japan, 2006; Volume 3. [Google Scholar]
- Organization Miyagi Prefectural Furukawa Agricultural Experiment Station. Cropping Pattern Analysis Test of Paddy Rice, Soybeans and Wheat Crops in Miyagi Prefecture in 2006; Extraordinary Report of Organization Miyagi Prefectural Furukawa Agricultural Experiment Station; Organization Miyagi Prefectural Furukawa Agricultural Experiment Station: Miyagi, Japan, 2007; Volume 4. [Google Scholar]
- Organization Miyagi Prefectural Furukawa Agricultural Experiment Station. Cropping Pattern Analysis Test of Paddy Rice, Soybeans and Wheat Crops in Miyagi Prefecture in 2007; Extraordinary Report of Organization Miyagi Prefectural Furukawa Agricultural Experiment Station; Organization Miyagi Prefectural Furukawa Agricultural Experiment Station: Miyagi, Japan, 2008; Volume 5. [Google Scholar]
- Organization Miyagi Prefectural Furukawa Agricultural Experiment Station. Cropping Pattern Analysis Test of Paddy Rice, Soybeans and Wheat Crops in Miyagi Prefecture in 2008; Extraordinary Report of Organization Miyagi Prefectural Furukawa Agricultural Experiment Station; Organization Miyagi Prefectural Furukawa Agricultural Experiment Station: Miyagi, Japan, 2009; Volume 6. [Google Scholar]
- Organization Miyagi Prefectural Furukawa Agricultural Experiment Station. Cropping Pattern Analysis Test of Paddy Rice, Soybeans and Wheat Crops in Miyagi Prefecture in 2009; Extraordinary Report of Organization Miyagi Prefectural Furukawa Agricultural Experiment Station; Organization Miyagi Prefectural Furukawa Agricultural Experiment Station: Miyagi, Japan, 2010; Volume 7. [Google Scholar]
- Organization Miyagi Prefectural Furukawa Agricultural Experiment Station. Cropping Pattern Analysis Test of Paddy Rice, Soybeans and Wheat Crops in Miyagi Prefecture in 2010; Extraordinary Report of Organization Miyagi Prefectural Furukawa Agricultural Experiment Station; Organization Miyagi Prefectural Furukawa Agricultural Experiment Station: Miyagi, Japan, 2011; Volume 8. [Google Scholar]
- Organization Miyagi Prefectural Furukawa Agricultural Experiment Station. Cropping Pattern Analysis Test of Paddy Rice, Soybeans and Wheat Crops in Miyagi Prefecture in 2011; Extraordinary Report of Organization Miyagi Prefectural Furukawa Agricultural Experiment Station; Organization Miyagi Prefectural Furukawa Agricultural Experiment Station: Miyagi, Japan, 2012; Volume 9. [Google Scholar]
- Organization Miyagi Prefectural Furukawa Agricultural Experiment Station. Cropping Pattern Analysis Test of Paddy Rice, Soybeans and Wheat Crops in Miyagi Prefecture in 2012; Extraordinary report of Organization Miyagi Prefectural Furukawa Agricultural Experiment Station; Organization Miyagi Prefectural Furukawa Agricultural Experiment Station: Miyagi, Japan, 2013; Volume 10. [Google Scholar]
- Organization Miyagi Prefectural Furukawa Agricultural Experiment Station. Cropping Pattern Analysis Test of Paddy Rice, Soybeans and Wheat Crops in Miyagi Prefecture in 2013; Extraordinary Report of Organization Miyagi Prefectural Furukawa Agricultural Experiment Station; Organization Miyagi Prefectural Furukawa Agricultural Experiment Station: Miyagi, Japan, 2014; Volume 11. [Google Scholar]
- Organization Miyagi Prefectural Furukawa Agricultural Experiment Station. Cropping Pattern Analysis Test of Paddy Rice, Soybeans and Wheat Crops in Miyagi Prefecture in 2014; Extraordinary Report of Organization Miyagi Prefectural Furukawa Agricultural Experiment Station; Organization Miyagi Prefectural Furukawa Agricultural Experiment Station: Miyagi, Japan, 2015; Volume 12. [Google Scholar]
- Organization Miyagi Prefectural Furukawa Agricultural Experiment Station. Cropping Pattern Analysis Test of Paddy Rice, Soybeans and Wheat Crops in Miyagi Prefecture in 2015; Extraordinary Report of Organization Miyagi Prefectural Furukawa Agricultural Experiment Station; Organization Miyagi Prefectural Furukawa Agricultural Experiment Station: Miyagi, Japan, 2016; Volume 13. [Google Scholar]
- Organization Miyagi Prefectural Furukawa Agricultural Experiment Station. Cropping Pattern Analysis Test of Paddy Rice, Soybeans and Wheat Crops in Miyagi Prefecture in 2016; Extraordinary Report of Organization Miyagi Prefectural Furukawa Agricultural Experiment Station; Organization Miyagi Prefectural Furukawa Agricultural Experiment Station: Miyagi, Japan, 2017; Volume 14. [Google Scholar]
- Organization Miyagi Prefectural Furukawa Agricultural Experiment Station. Cropping Pattern Analysis Test of Paddy Rice, Soybeans and Wheat Crops in Miyagi Prefecture in 2017; Extraordinary Report of Organization Miyagi Prefectural Furukawa Agricultural Experiment Station; Organization Miyagi Prefectural Furukawa Agricultural Experiment Station: Miyagi, Japan, 2018; Volume 15. [Google Scholar]
- Organization Miyagi Prefectural Furukawa Agricultural Experiment Station. Cropping Pattern Analysis Test of Paddy Rice, Soybeans and Wheat Crops in Miyagi Prefecture in 2018; Extraordinary Report of Organization Miyagi Prefectural Furukawa Agricultural Experiment Station; Organization Miyagi Prefectural Furukawa Agricultural Experiment Station: Miyagi, Japan, 2019; Volume 16. [Google Scholar]
- Organization Miyagi Prefectural Furukawa Agricultural Experiment Station. Cropping Pattern Analysis Test of Paddy Rice, Soybeans and Wheat Crops in Miyagi Prefecture in 2019; Extraordinary Report of Organization Miyagi Prefectural Furukawa Agricultural Experiment Station; Organization Miyagi Prefectural Furukawa Agricultural Experiment Station: Miyagi, Japan, 2020; Volume 17. [Google Scholar]
- Organization Miyagi Prefectural Furukawa Agricultural Experiment Station. Cropping Pattern Analysis Test of Paddy Rice, Soybeans and Wheat Crops in Miyagi Prefecture in 2020; Extraordinary Report of Organization Miyagi Prefectural Furukawa Agricultural Experiment Station; Organization Miyagi Prefectural Furukawa Agricultural Experiment Station: Miyagi, Japan, 2021; Volume 18. [Google Scholar]
- Organization Miyagi Prefectural Furukawa Agricultural Experiment Station. Cropping Pattern Analysis Test of Paddy Rice, Soybeans and Wheat Crops in Miyagi Prefecture in 2021; Extraordinary Report of Organization Miyagi Prefectural Furukawa Agricultural Experiment Station; Organization Miyagi Prefectural Furukawa Agricultural Experiment Station: Miyagi, Japan, 2022; Volume 19. [Google Scholar]
- Japan Meteorological Agency Download Historical Weather Data. Available online: https://www.jma.go.jp/jma/index.html (accessed on 1 June 2023).
- Rouse, J.W.; Haas, R.H.; Schell, J.A.; Deering, D.W.; Haas, R.H.; Schell, J.A.; Deering, D.W. Monitoring Vegetation Systems in the Great Plains with ERTS. In Proceedings of the Third Earth Resources Technology Satellite-1 Symposium, Washington, DC, USA, 10–14 December 1973; National Aeronautics and Space Administration: Washington, DC, USA, 1974; Volume 1. [Google Scholar]
- Otsu, N. A Threshold Selection Method from Gray-Level Histograms. IEEE Trans. Syst. Man Cybern. 1979, 9, 62–66. [Google Scholar] [CrossRef]
- Miyagi Prefecture Government Agricultural Administration Department. Growth Control Method of Soybean Variety “Miyagishirome” by Pinching Treatment. Available online: https://www.pref.miyagi.jp/soshiki/res_center/fukyugi96no1.html (accessed on 1 June 2023).
- Nakano, S.; Kumagai, E.; Shimada, S.; Sameshima, R.; Ohno, H.; Homma, K.; Shiraiwa, T. Modeling of Phenological Development Stages and Impact of Elevated Air Temperature on the Phenological Development of Soybean Cultivars in Japan. Jpn. J. Crop Sci. 2015, 84, 408–417. [Google Scholar] [CrossRef]
- Heatherly, L.G.; Smith, J.R. Effect of soybean stem growth habit on height and node number after beginning bloom in the Midsouthern USA. Crop Sci. 2004, 44, 1855–1858. [Google Scholar] [CrossRef]
- Torigoe, Y.; Shinji, H.; Kurihara, H. Studies on Developmental Morphology and Yield Determining Process in Soybeans: I. Relationship between Internode Elongation of the Main Stem and Branch Develoment. Jpn. J. Crop Sci. 1981, 50, 191–198. [Google Scholar] [CrossRef]
- Purevdorj, T.S.; Tateishi, R.; Ishiyama, T.; Honda, Y. Relationships between Percent Vegetation Cover and Vegetation Indices. Int. J. Remote Sens. 1998, 19, 3519–3535. [Google Scholar] [CrossRef]
- Ren, H.; Zhou, G.; Zhang, F. Using Negative Soil Adjustment Factor in Soil-Adjusted Vegetation Index (SAVI) for Aboveground Living Biomass Estimation in Arid Grasslands. Remote Sens. Environ. 2018, 209, 439–445. [Google Scholar] [CrossRef]
- Yamamoto, S.; Nomoto, S.; Hashimoto, N.; Maki, M.; Hongo, C.; Shiraiwa, T.; Homma, K. Monitoring Spatial and Time-Series Variations in Red Crown Rot Damage of Soybean in Farmer Fields Based on UAV Remote Sensing. Plant Prod. Sci. 2023, 26, 36–47. [Google Scholar] [CrossRef]
- Vieira, C.C.; Sarkar, S.; Tian, F.; Zhou, J.; Jarquin, D.; Nguyen, H.T.; Zhou, J.; Chen, P. Differentiate Soybean Response to Off-Target Dicamba Damage Based on UAV Imagery and Machine Learning. Remote Sens. 2022, 14, 1618. [Google Scholar] [CrossRef]











| Main Stem Length | Accumulated Temperature | Accumulated Daylight Hours | |
|---|---|---|---|
| (cm) | (°C) | (h) | |
| Maximum | 98.1 | 1430 | 373 |
| The third quartile | 67.5 | 1095 | 242 |
| Median | 41.0 | 885 | 171 |
| The first quartile | 26.6 | 660 | 138 |
| Minimum | 14.4 | 580 | 48 |
| Average | 47.8 | 891 | 189 |
| Standard deviation | 23.2 | 243 | 78 |
| n | 36 | 36 | 36 |
| Main Stem Node Number | Accumulated Temperature | |
|---|---|---|
| (Plant−1) | (°C) | |
| Maximum | 19.6 | 1620 |
| The third quartile | 17.4 | 1435 |
| Median | 14.1 | 1092 |
| The first quartile | 8.4 | 690 |
| Minimum | 5.4 | 580 |
| Average | 13.1 | 1081 |
| Standard deviation | 4.3 | 346 |
| n | 53 | 53 |
| Year | Field ID | Experimental Area (m−2) | Sowing Date | Standing Crop Density (Plants m−2) | N Top- Dressing (g m−2) | Application of MgO (g m−2) | Number of Examination Plots | n |
|---|---|---|---|---|---|---|---|---|
| 2018 | A | 650 | 6.5 | 13 | 0.0 | 0.0 | 1 | 2 |
| B | 390 | 6.5 | 9 | 0.0 | 0.0 | 1 | 2 | |
| 590 | 6.5 | 11 | 0.0 | 0.0 | 1 | 3 | ||
| 390 | 6.5 | 11 | 5.0 | 0.0 | 1 | 2 | ||
| 590 | 6.5 | 13 | 5.0 | 0.0 | 1 | 3 | ||
| C | 400 | 6.6 | 6 | 0.0 | 0.0 | 1 | 3 | |
| 270 | 6.6 | 9 | 0.0 | 0.0 | 1 | 2 | ||
| 2020 | A | 140 | 5.26 | 13 | 0.0 | 0.0 | 2 | 1 |
| 70 | 5.26 | 13 | 0.0 | 59.4 | 1 | 1 | ||
| 140 | 6.15 | 13 | 0.0 | 0.0 | 2 | 1 | ||
| 70 | 6.15 | 13 | 0.0 | 59.4 | 1 | 1 | ||
| D | 210 | 5.26 | 13 | 0.0 | 0.0 | 2 | 1 | |
| 100 | 5.26 | 13 | 0.0 | 59.4 | 1 | 1 | ||
| 210 | 6.15 | 13 | 0.0 | 0.0 | 2 | 1 | ||
| 100 | 6.15 | 13 | 0.0 | 59.4 | 1 | 1 | ||
| 210 | 6.25 | 13 | 0.0 | 0.0 | 2 | 1 | ||
| 100 | 6.25 | 13 | 0.0 | 59.4 | 1 | 1 | ||
| E | 70 | 6.15 | 13 | 0.0 | 0.0 | 2 | 1 | |
| 30 | 6.15 | 13 | 0.0 | 59.4 | 1 | 1 | ||
| F | 70 | 6.15 | 13 | 0.0 | 0.0 | 2 | 1 | |
| 30 | 6.15 | 13 | 0.0 | 59.4 | 1 | 1 | ||
| 2021 | A | 160 | 5.25 | 13 | 0.0 | 0.0 | 1 | 1 |
| 160 | 6.24 | 13 | 0.0 | 0.0 | 1 | 1 | ||
| D | 460 | 6.1 | 13 | 0.0 | 0.0 | 1 | 1 | |
| G | 460 | 6.1 | 13 | 0.0 | 0.0 | 1 | 1 |
| Main Stem Length of the Regression Line | |||||||||||||||
|---|---|---|---|---|---|---|---|---|---|---|---|---|---|---|---|
| R2 | Slope | Intercept | Formula | ||||||||||||
| Estimate ± SE | 95% Confidence Interval | Estimate ± SE | 95% Confidence Interval | ||||||||||||
| Upper Limits | Lower Limits | Lower Limits | Upper Limits | ||||||||||||
| SAVIvc | 0.78 | *** | 69.5 | ± | 5.1 | *** | 59.2 | 79.9 | 14.1 | ± | 2.4 | *** | 9.2 | 19.0 | y = 69.5x +14.1 |
| NDVI | 0.69 | *** | 120.7 | ± | 11.1 | *** | 98.4 | 143.0 | −51.5 | ± | 9.0 | *** | −69.4 | −33.5 | y = 120.7x − 51.5 |
| SAVI | 0.62 | *** | 78.6 | ± | 8.5 | *** | 61.5 | 95.6 | 13.1 | ± | 3.6 | *** | 5.8 | 20.4 | y = 78.6x +13.1 |
| MSAVI | 0.60 | *** | 63.1 | ± | 7.1 | *** | 48.9 | 77.3 | 20.3 | ± | 3.0 | *** | 14.3 | 26.3 | y = 63.1x +20.3 |
| Year | Place | Field | Date | Main Stem Length (cm) | Lodging Angle (°) | |||||||
|---|---|---|---|---|---|---|---|---|---|---|---|---|
| Sowing | Emergence | RS Operation | Model | Model | RS | Model | RS and Model | Model | Model | |||
| V6 | R1 | V6 | R1 | V6~R1 | R6 | R8 | ||||||
| (a) | (b) | (b-a) | ||||||||||
| 2019 | Osaki | A | 5/27 | 6/3 | 7/13 | 7/13 | 8/5 | 21.6 | 83.5 | 62.0 | 100.9 | 60.8 |
| D | 5/27 | 6/3 | 7/13 | 7/13 | 8/5 | 23.9 | 83.5 | 59.7 | 100.9 | 59.0 | ||
| A | 6/6 | 6/13 | 7/19 | 7/20 | 8/8 | 25.7 | 77.2 | 51.5 | 95.6 | 48.5 | ||
| D | 6/6 | 6/13 | 7/19 | 7/20 | 8/8 | 27.7 | 77.2 | 49.4 | 95.6 | 46.7 | ||
| A | 6/17 | 6/24 | 7/26 | 7/27 | 8/11 | 43.9 | 63.2 | 19.2 | 84.1 | 16.7 | ||
| D | 6/17 | 6/24 | 7/26 | 7/27 | 8/11 | 35.8 | 63.2 | 27.4 | 84.1 | 21.6 | ||
| 2022 | Osaki | A | 5/25 | 6/15 | 7/11 | 7/11 | 8/1 | 34.2 | 74.9 | 40.7 | 93.7 | 37.6 |
| E | 5/25 | 6/15 | 7/11 | 7/11 | 8/1 | 37.5 | 74.9 | 37.4 | 93.7 | 34.8 | ||
| A | 7/6 | 7/16 | 8/9 | 8/9 | 8/20 | 30.8 | 46.4 | 15.6 | 70.2 | 10.4 | ||
| F | 7/6 | 7/16 | 8/9 | 8/9 | 8/20 | 30.5 | 46.4 | 15.9 | 70.2 | 10.5 | ||
| Kurihara | - | 6/23 | 6/30 | 7/19 | 7/26 | 8/10 | 36.4 | 64.9 | 28.5 | 85.5 | 23.2 | |
Disclaimer/Publisher’s Note: The statements, opinions and data contained in all publications are solely those of the individual author(s) and contributor(s) and not of MDPI and/or the editor(s). MDPI and/or the editor(s) disclaim responsibility for any injury to people or property resulting from any ideas, methods, instructions or products referred to in the content. |
© 2023 by the authors. Licensee MDPI, Basel, Switzerland. This article is an open access article distributed under the terms and conditions of the Creative Commons Attribution (CC BY) license (https://creativecommons.org/licenses/by/4.0/).
Share and Cite
Konno, T.; Homma, K. Prediction of Areal Soybean Lodging Using a Main Stem Elongation Model and a Soil-Adjusted Vegetation Index That Accounts for the Ratio of Vegetation Cover. Remote Sens. 2023, 15, 3446. https://doi.org/10.3390/rs15133446
Konno T, Homma K. Prediction of Areal Soybean Lodging Using a Main Stem Elongation Model and a Soil-Adjusted Vegetation Index That Accounts for the Ratio of Vegetation Cover. Remote Sensing. 2023; 15(13):3446. https://doi.org/10.3390/rs15133446
Chicago/Turabian StyleKonno, Tomohiro, and Koki Homma. 2023. "Prediction of Areal Soybean Lodging Using a Main Stem Elongation Model and a Soil-Adjusted Vegetation Index That Accounts for the Ratio of Vegetation Cover" Remote Sensing 15, no. 13: 3446. https://doi.org/10.3390/rs15133446
APA StyleKonno, T., & Homma, K. (2023). Prediction of Areal Soybean Lodging Using a Main Stem Elongation Model and a Soil-Adjusted Vegetation Index That Accounts for the Ratio of Vegetation Cover. Remote Sensing, 15(13), 3446. https://doi.org/10.3390/rs15133446

