An Adaptive Control Model for Thermal Environmental Factors to Supplement the Sustainability of a Small-Sized Factory
Abstract
:1. Thermal Controls in Buildings
2. Simulation Framework
2.1. Geometries, Parameters, and Functions
2.2. Thermal and Comfort Rules
2.3. Adaptive Process
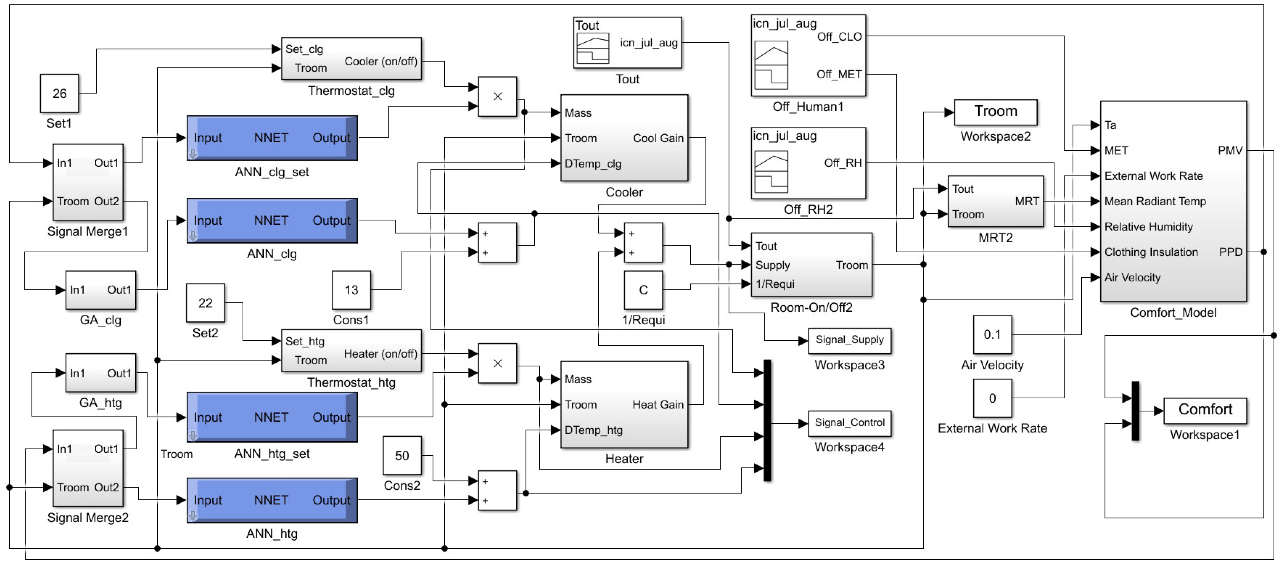
2.4. Simulation Block Model
3. Results
4. Discussion
5. Conclusions
Funding
Institutional Review Board Statement
Informed Consent Statement
Data Availability Statement
Conflicts of Interest
Nomenclature
| A | area (m2) |
| C | specific heat capacity (J/kg·°C) |
| D | depth or thickness (m) |
| hin, hout | convection heat transfer coefficient inside, outside (W/m2·°C) |
| k | thermal conductivity (W/m·°C) |
| ṁht | mass flow-rate from the thermal system (kg/h) |
| ṁin | mass flow-rate into the room (kg/h) |
| ṁout | mass flow-rate from the room (kg/h) |
| mrm | mass flow-rate inside the room (kg) |
| Qloss | heat loss by convection and transmission (J) |
| Qgain | heat gain by convection and transmission (J) |
| R | thermal resistance (°C/W) |
| t | time (h) |
| Tht | temperature of air from the thermal system (°C) |
| Tout | temperature of outdoor air (°C) |
| Trm | temperature of the room (°C) |
| Tset | temperature of the thermostat set-point (°C) |
| U | internal energy (J) |
| W | work (J) |
References
- Mckoy, D.; Tesiero, R.; Acquaah, Y.; Gokaraju, B. Review of HVAC Systems History and Future Applications. Energies 2023, 16, 6109. [Google Scholar] [CrossRef]
- Michailidis, M.; Michailidis, I.; Vamvakas, D.; Kosmatopoulos, E. Model-Free HVAC Control in Buildings: A Review. Energies 2023, 16, 7124. [Google Scholar] [CrossRef]
- Moon, J.; Ahn, J. Improving sustainability of ever-changing building spaces affected by users’ fickle taste: A focus on human comfort and energy use. Energy Build. 2020, 208, 109662. [Google Scholar] [CrossRef]
- Abuhussain, M.; Alotaibi, B.; Aliero, M.; Asif, M.; Alshenaifi, M.; Dodo, Y. Adaptive HVAC System Based on Fuzzy Controller Approach. Appl. Sci. 2023, 13, 11354. [Google Scholar] [CrossRef]
- Barbadilla-Martun, E.; Ragel-Bonilla, J.; Aparicio-Ruiz, P.; Guadix, J. Analysing the indoor temperature ranges for an efficient control of HVAC systems. Energy Build. 2023, 301, 113681. [Google Scholar] [CrossRef]
- Boukhelkhal, I.; Bourbia, F. Experimental Study on the Thermal Behavior of Exterior Coating Textures of Building in Hot and Arid Climates. Sustainability 2021, 13, 4175. [Google Scholar] [CrossRef]
- Alnuaimi, A.; Natarajan, S. The Energy Cost of Cold Thermal Discomfort in the Global Southu. Buildings 2020, 10, 93. [Google Scholar] [CrossRef]
- Fazzolari, M.; Alcala, R.; Nojima, Y.; Ishibuchi, H.; Herrera, F. A Review of the Application of Multiobjective Evolutionary Fuzzy Systems: Current Status and Further Directions. Fuzzy Syst. 2013, 21, 45–65. [Google Scholar] [CrossRef]
- Barone, G.; Buonomano, A.; Forzano, C.; Giuzio, G.; Palombo, A.; Russo, G. A new thermal comfort model based on physiological parameters for the smart design and control of energy-efficient HVAC systems. Renew. Sustain. Energy Rev. 2023, 173, 113015. [Google Scholar] [CrossRef]
- Du, X.; Gao, G.; Gao, F.; Zhou, Z. A Study on Modifying Campus Buildings to Improve Habitat Comfort—A Case Study of Tianjin University Campus. Sustainability 2023, 15, 14200. [Google Scholar] [CrossRef]
- Levic, B.; Dukanovic, L.; Ignjatovic, D. Approaches for Complex and Integrated Refurbishment to Improve Energy Efficiency and Spatial Comfort of the Existing Post-War Mass Housing Stock in Serbia. Sustainability 2023, 15, 13884. [Google Scholar] [CrossRef]
- Kull, T.; Thalfeldt, M.; Kurnitski, J. PI Parameter Influence on Underfloor Heating Energy Consumption and Setpoint Tracking in nZEBs. Energies 2020, 13, 68. [Google Scholar] [CrossRef]
- Turhan, C.; Atalay, A.; Akkurt, G. An Integrated Decision-Making Framework for Mitigating the Impact of Urban Heat Islands on Energy Consumption and Thermal Comfort of Residential Buildings. Sustainability 2023, 15, 9674. [Google Scholar] [CrossRef]
- Dafalla, M.; Al-Mahbashi, A. Improvement of Subsurface Thermal Characteristics for Green Parks. Appl. Sci. 2023, 13, 12508. [Google Scholar] [CrossRef]
- Skala, A.; Grela, J.; Laton, D.; Banczykm, K.; Markiewicz, M.; Ozadowicz, A. Implementation of Building a Thermal Model to Improve Energy Efficiency of the Central Heating System—A Case Study. Energies 2023, 16, 6830. [Google Scholar] [CrossRef]
- Ahn, J.; Cho, S. Anti-logic or common sense that can hinder machine’s energy performance: Energy and comfort control models based on artificial intelligence responding to abnormal indoor environments. Appl. Energy 2017, 204, 117–130. [Google Scholar] [CrossRef]
- Youssef, A.; Caballero, N.; Aerts, J. Development and comparison of adaptive data-driven models for thermal comfort assessment and control. Total Environ. Res. Themes 2023, 8, 100083. [Google Scholar] [CrossRef]
- Korea Electric Power Corporation. Policy of Electricity Tariff: Current Status of Electricity Usage. Available online: https://home.kepco.co.kr/kepco/EB/A/htmlView/EBAAHP002.do?menuCd=FN430102 (accessed on 11 August 2023).
- Korea Electric Power Corporation Energy Market Place. Information of Electricity Consumers: Electricity Transaction Contract between the Third Parties. Available online: https://en-ter.co.kr/ft/ppa/thpty/buyer/list.do (accessed on 18 May 2023).
- USEIA. CBECS Table E2 Major Fuel Consumption Intensities by End Use for Non Mall. USEIA. Available online: http://www.eia.doe.gov/emeu/cbecs (accessed on 18 May 2023).
- Ahn, J. Development of Energy Performance Metrics for Airport Terminal Buildings Using Multivariate Regression Modeling; North Carolina State University: Raleigh, NC, Canada, 2016. [Google Scholar]
- Ministry of Employment and Labor Reserved. Statistics DB: As Topics. Available online: http://laborstat.moel.go.kr/hmp/tblInfo/TblInfoList.do?menuId=0010001100101102&leftMenuId=0010001100101&vwCdVal=MT_PTITLE&upListVal=118_2 (accessed on 2 July 2023).
- Jung, K.; Choi, S.; Kulvatunyou, B.; Cho, H.; Morris, K. A reference activity model for smart factory design and improvement. Prod. Plan. Control 2017, 28, 108–122. [Google Scholar] [CrossRef]
- Resman, M.; Turk, M.; Herakovic, N. Methodology for planning smart factory. Procedia 2021, 97, 401–406. [Google Scholar] [CrossRef]
- Sufian, A.; Abdullar, B.; Ateeq, M.; Wah, R.; Clements, D. A roadmap towards the smart factory. In Proceedings of the 2019 12th International Conference on Developments in eSystems Engineering (DeSE), Kazan, Russia, 7–10 October 2019. [Google Scholar] [CrossRef]
- Rub, J.; Bahemia, H. A review of the literature on smart factory implementation. In Proceedings of the 2019 IEEE International Conference on Engineering, Technology and Innovation (ICE/ITMC), Valbonne Sophia-Antipolis, France, 17–19 June 2019. [Google Scholar] [CrossRef]
- Bendowska, K.; Zawadzki, P. Development and Verification of a Simulation Model of an Automated Assembly Line. Appl. Sci. 2023, 13, 10142. [Google Scholar] [CrossRef]
- Li, R.; Wang, X.; Wang, Z.; Zhu, Z.; Liu, Z. Multistage Quality Prediction Using Neural Networks in Discrete Manufacturing Systems. Appl. Sci. 2023, 13, 8776. [Google Scholar] [CrossRef]
- ASHRAE Standard 55-2004; Thermal Environmental Conditions for Human Occupancy. ASHRAE: Atlanta, GA, USA, 2004.
- Heselden, J.; Gautham, P. Heuristics and Rescheduling in Prioritised Multi-Robot Path Planning: A Literature Review. Machines 2023, 11, 1033. [Google Scholar] [CrossRef]
- Incropera, F.P.; DeWitt, D.P.; Bergman, T.L.; Lavine, A.S. Fundamentals of Heat and Mass Transfer; Wiley: New York, NY, USA, 2018. [Google Scholar]
- Engineering Toolbox. Recommended Indoor Temperatures Summer and Winter. Engineering Toolbox. 2016. Available online: http://www.engineeringtoolbox.com (accessed on 27 March 2023).
- National Institute of Building Science. Space Types. Whole Building Design Guide. 2018. Available online: https://www.wbdg.org/space-types (accessed on 15 October 2022).
- Marquez, A.; Carmona, A.; Antomarioni, S. A Process to Implement an Artificial Neural Network and Association Rules Techniques to Improve Asset Performance and Energy Efficiency. Energies 2019, 12, 3454. [Google Scholar] [CrossRef]
- Palladio, D.; Nardi, I.; Burati, C. Artificial Neural Network for the Thermal Comfort Index Prediction: Development of a New Simplified Algorithm. Energies 2020, 13, 4500. [Google Scholar] [CrossRef]
- Kim, S.; Ahn, J. Building Space Thermal Control Model Responding to Sharp Changes in Outdoor Temperature. Teh. Vjesn. 2023, 30, 815–823. [Google Scholar] [CrossRef]
- Instituto Tecnologoco de Aeronautica (Technological Institute of Aeronautics). Chapter 2—Artificial Neural Networks: Basic Concepts. Instituto Tecnologoco de Aeronautica. 23 April 1998. Available online: www.ele.ita.cta.br (accessed on 18 July 2023).
- Politechnika Wroclawska. Chapter 2 Introduction to Neural network. Politechnika Wroclawska. Available online: www.ii.pwr.edu.pl (accessed on 27 March 2023).
- Marasco, G.; Rosso, M.M.; Aiello, S.; Aloisio, A.; Cirrincione, G.; Chiaia, B.; Marano, G.C. Ground penetrating radar fourier pre-processing for deep learning tunnel defects’ automated classification. In Proceedings of the International Conference on Engineering Applications of Neural Networks, Chersonisos, Crete, Greece, 17–20 June 2022. [Google Scholar] [CrossRef]
- Gen, M.; Lin, L. Genetic algorithms and their applications. In Springer Handbook of Engineering Statistics; Pham, H., Ed.; Springer Handbooks; Springer: London, UK, 2023. [Google Scholar] [CrossRef]
- Alhijawi, B.; Awajan, A. Genetic algorithms: Theory, genetic operators, solutions, and applications. Evol. Intell. 2023, 16, 1–12. [Google Scholar] [CrossRef]














| Name/Property | Value | |
|---|---|---|
| Type of Building | Small Factory | |
| Size (Width × Depth × Height) | 14.75 m × 25.75 m × 7.35 m | |
| Roof | Size | 388.11 m2 |
| Thermal Resistance | 1.156 × 10−2 °C/W | |
| Wall | Size | 442.66 m2 |
| Thermal Resistance | 5.758 × 10−3 °C/W | |
| Doors and Windows | Size | 50.55 m2 |
| Thermal Resistance | 2.139 × 10−3 °C/W | |
| Controller | Monthly Energy Use (MWh) | Difference (%) |
|---|---|---|
| Thermostat | 340.10 | - |
| Adaptive | 331.40 | −2.81 |
| Controller | Monthly Average of PPD | Difference (%) |
|---|---|---|
| Thermostat | 40.20 | - |
| Adaptive | 33.62 | −16.37 |
| Controller | Monthly Average of PPD in Actual Working Hours | Difference (%) |
|---|---|---|
| Thermostat | 12.53 | - |
| Adaptive | 8.46 | −32.44 |
Disclaimer/Publisher’s Note: The statements, opinions and data contained in all publications are solely those of the individual author(s) and contributor(s) and not of MDPI and/or the editor(s). MDPI and/or the editor(s) disclaim responsibility for any injury to people or property resulting from any ideas, methods, instructions or products referred to in the content. |
© 2023 by the author. Licensee MDPI, Basel, Switzerland. This article is an open access article distributed under the terms and conditions of the Creative Commons Attribution (CC BY) license (https://creativecommons.org/licenses/by/4.0/).
Share and Cite
Ahn, J. An Adaptive Control Model for Thermal Environmental Factors to Supplement the Sustainability of a Small-Sized Factory. Sustainability 2023, 15, 16619. https://doi.org/10.3390/su152416619
Ahn J. An Adaptive Control Model for Thermal Environmental Factors to Supplement the Sustainability of a Small-Sized Factory. Sustainability. 2023; 15(24):16619. https://doi.org/10.3390/su152416619
Chicago/Turabian StyleAhn, Jonghoon. 2023. "An Adaptive Control Model for Thermal Environmental Factors to Supplement the Sustainability of a Small-Sized Factory" Sustainability 15, no. 24: 16619. https://doi.org/10.3390/su152416619
APA StyleAhn, J. (2023). An Adaptive Control Model for Thermal Environmental Factors to Supplement the Sustainability of a Small-Sized Factory. Sustainability, 15(24), 16619. https://doi.org/10.3390/su152416619
