Study on Reactor Power Control Strategies Based on Mode-C Operation and Control Mode
Abstract
1. Introduction
2. Research on Reactor Power Control Strategy Based on Single/Bivariate Control
2.1. Overall Strategy for Reactor Power Control in Mode-C
2.2. Bivariable Automatic Control Strategy
2.2.1. Reactor Coolant Average Temperature Control
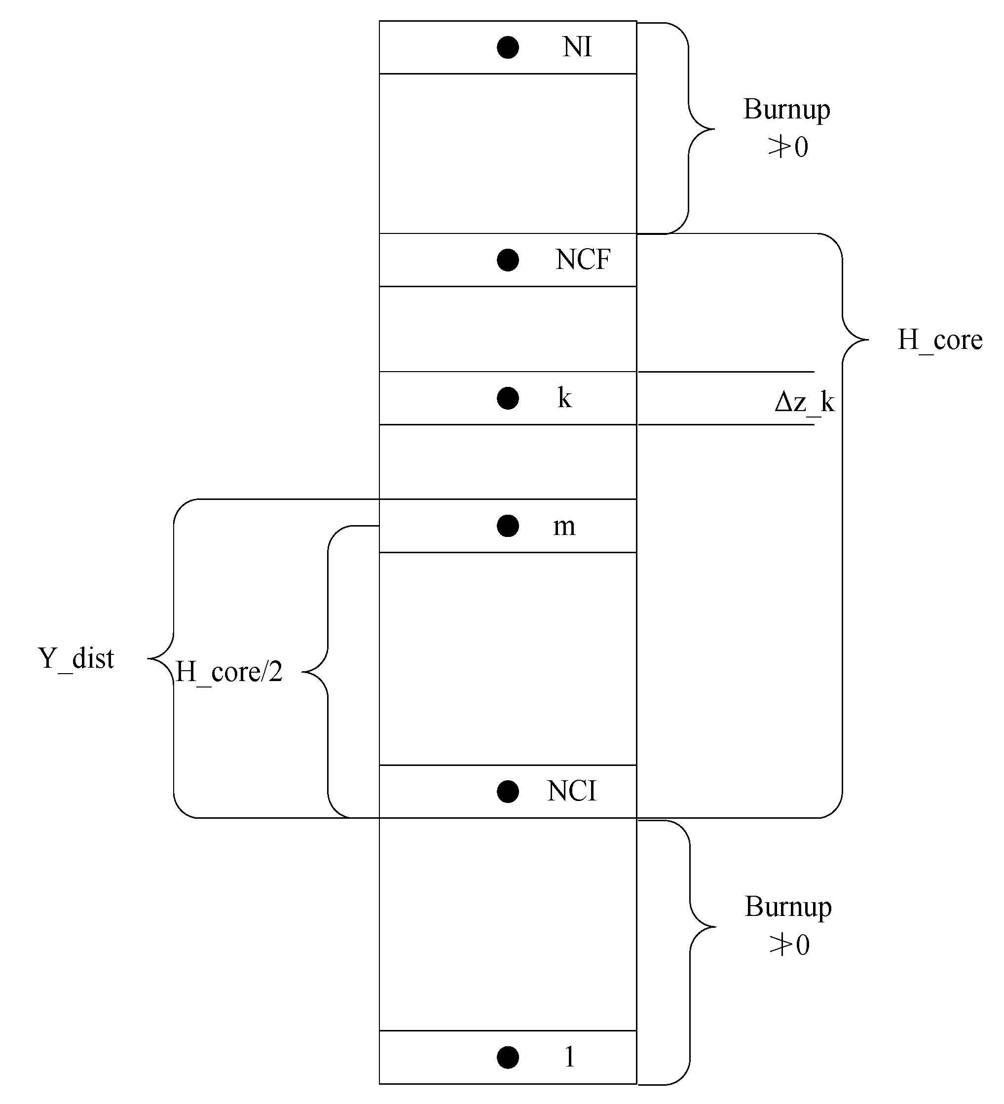
2.2.2. Core Axial Power Distribution Control
2.2.3. Interlocking of T Rod Group and AO Rod Group
2.3. Univariable Automatic Control Strategy
2.4. Single and Dual Variable Control Mode Switching
3. Research on the Simulation of Reactor Power Control Systems
3.1. Simulation Modeling
3.1.1. Simulation Platform Architecture
3.1.2. Synchronous Control of Subroutines
3.1.3. One-Dimensional Neutron Dynamics Model
3.2. Control Strategy Simulation Study
3.2.1. Verification of High and Low-Power Level Control Strategy
3.2.2. Overall Performance Verification of the Control System
4. Conclusions
- For the base load and other power plant operation modes that do not require frequent reactor power regulation, the reactor power control can adopt a univariate automatic mode in which only the AO rod bank regulates the reactor coolant average temperature, and the drive signal is the average temperature deviation signal.
- For load tracking and other power plant operation modes that require frequent reactor power regulation, the reactor power control can adopt a bivariable automatic control mode of the T rod group regulating the reactor coolant average temperature and the AO rod group regulating the core axial power distribution. The driving signals are the temperature deviation signal and ΔI deviation signal, respectively.
- The single and dual variable control modes of the reactor power control system can be switched manually or automatically, and the turbine load signal can be used as the switching signal during the automatic switching.
- The simulation results show that the reactor power control system proposed in this paper can meet the control requirements under different transient conditions. The change trend of the main parameters in the transient process is reasonable, and the percentage error of the main parameters in the primary and secondary loop of the reactor is within 4% after stabilization.
Author Contributions
Funding
Data Availability Statement
Conflicts of Interest
References
- Wang, J.C.; Zhang, T.; Zhang, J.C.; Liu, C.D.; Wang, X. Analysis and suggestion on nuclear power unit participating in grid peak regulation based on MODE-A. Northeast. Electr. Power Technol. 2016, 37, 57–62. [Google Scholar]
- Cui, H.M.; Zhou, J.M. Research on overall design of operation mode in PWR nuclear power plants. Nucl. Power Eng. 2020, 41, 203–207. [Google Scholar]
- Li, X.Y.; Liu, Q.W.; Li, Q.; Chen, L.; Liu, X.L.; Wang, S.Q.; Xie, Y.L.; Chen, Z. 177 Core nuclear design for HPR1000. Nucl. Power Eng. 2019, 40, 8–12. [Google Scholar]
- Meng, Q.; Wang, D.H. Analysis on power control system of nuclear power plant. South. Energy Constr. 2016, 3, 40–44. [Google Scholar]
- Yin, Z.T.; Yan, F.H. Analysis of physical characteristics of nuclear power plant load tracking based on MSHIM control mode. Sci. Technol. Vis. 2018, 36, 20–21. [Google Scholar]
- Franceschinia, F.; Petrovic, B. Advanced operational strategy for the IRIS reactor: Load follow through mechanical shim (MSHIM). Nucl. Eng. Des. 2008, 238, 3240–3252. [Google Scholar] [CrossRef]
- Morita, T.; Carlsen, B.W.; Kutz, J.P. Load follow operation with the MSHIM control system. Trans. Am. Nucl. Soc. 1988, 56, 73–75. [Google Scholar]
- Wang, K.P.; Lan, B.; Huang, X.Y.; Han, X.Z.; Zhao, C.Q.; Pan, X.Y. Mechanical shim mode analysis for large-scale advanced pressurized water reactor. High Power Laser Part. Beams 2017, 29, 101–108. [Google Scholar]
- Wang, J.Y.; Wang, C.; Liu, T.X. Study on effects of temperature-power curve on MSHIM strategy. Nucl. Power Eng. 2016, 37, 109–112. [Google Scholar]
- Gong, Z.H.; Liu, T.X.; Li, Q.; Jiang, Z.M.; Li, T.Y.; Zhou, J.M.; Cai, Y. Study on transition strategy of Mode-C from base load to load follow. Nucl. Power Eng. 2017, 38, 152–156. [Google Scholar]
- Liu, T.X.; LI, Q.; Wang, C.L.; Li, T.Y.; Xiao, P.; Jiang, Z.M.; Liu, X.L.; Ning, Z.H. Study on design technology of Mode-C operation and control strategy. At. Energy Sci. Technol. 2021, 55, 121–127. [Google Scholar]
- Li, T.Y.; Liu, T.X.; Wang, C.L.; Xiao, P.; Liao, H.K.; Wang, J.H. Research on the improvement of the load-following model with constant boron based on GENONE. Sci. Technol. Inf. 2023, 23, 66–69. [Google Scholar]
- Xin, S.F.; Li, X.Y.; Xu, L.J.; Peng, Q.; Huang, D.S. Analysis of control rod drop accident in Mode-C operation mode. Sci. Technol. Vis. 2024, 14, 117–119. [Google Scholar]
- Li, T.Y.; Xiao, P.; Wang, C.L.; Wang, J.H.; Xiang, H.Z. Analysis of neutronic parameters of rod ejection accident of MODE-C. Electron. Technol. 2024, 53, 28–31. [Google Scholar]
- Edwards, R.M.; Lee, K.Y.; Ray, A. Robust optimal-control of nuclear -reactors and power-plants. Nucl. Technol. 1992, 98, 137–148. [Google Scholar] [CrossRef]
- Na, M.G.; Upadhyaya, B.R.; Choi, J.I. Adaptive control for axial power distribution in nuclear reactors. Nucl. Sci. Eng. 1998, 129, 283–293. [Google Scholar] [CrossRef]
- Zhao, F.; Cheung, K.C.; Yeung, R.M.K. Optimal power control system of a research nuclear reactor. Nucl. Eng. Des. 2003, 219, 247–252. [Google Scholar] [CrossRef]
- Benitez-Read Jorge, S.; Perez-Cruz, J.H.; Ruan, D. Nuclear reactor power control using state feedback with fuzzy logic. Fuzzy Log. A Spectr. Theor. Pract. Issues 2007, 215, 299–315. [Google Scholar]
- Haggag, S.S.; Kotb, S.A. Neural network controller for the pressurized water reactor power control. ARAB J. Nucl. Sci. Appl. 2017, 50, 269–277. [Google Scholar]
- Sun, J.; Wang, P.F.; Yu, Y.; Zhang, R.; He, Z.X.; Chen, Z.; Wang, Y.B. Simulation study of mechanical shim control strategy for large pressurized water reactor. Nucl. Power Eng. 2019, 40, 105–111. [Google Scholar]
- Zhang, Y.; Chen, Z.; Li, Y.L.; Jin, Y. Optimization design for reactor power control system of HPR1000. J. Shanghai Jiao Tong Univ. 2019, 53, 55–60. [Google Scholar]
- Tai, Y.; Yan, B.; Liu, Y.; Tao, L. Load following process research of AP1000 based on the MSHIM control strategy. Tech. Autom. Appl. 2017, 36, 103–108. [Google Scholar]
- Liu, Y.; Wang, Z.; Kuang, H.B.; Bu, J.T.; Zhao, F.Y. Development of a dynamic simulation program of AP1000 reactor core. Nucl. Power Eng. 2014, 35, 173–176. [Google Scholar]








| Transient Condition | Percentage Error | ||||
|---|---|---|---|---|---|
| Nuclear Power | Average Temperature | Pressurizer Pressure | Pressurizer Level | Steam Generator Level | |
| 100%FP to 90%FP at −10%FP | 0.26% | 0.08% | 0.03% | 0.87% | 0.16% |
| 90%FP to 100%FP at +10%FP | 0.23% | 0.21% | 0.01% | 1.87% | 0.21% |
| 100%FP to 15%FP at −5%FP/min | 2.8% | 0.04% | 0.02% | 0.55% | 2.89% |
| 15%FP to 100%FP at +5%FP/min | 0.32% | 0.15% | 0.2% | 1.32% | 0.07% |
| Reactor trip from 100%FP | 0% | 0.25% | 0.67 | 3.2% | 0.1% |
Disclaimer/Publisher’s Note: The statements, opinions and data contained in all publications are solely those of the individual author(s) and contributor(s) and not of MDPI and/or the editor(s). MDPI and/or the editor(s) disclaim responsibility for any injury to people or property resulting from any ideas, methods, instructions or products referred to in the content. |
© 2025 by the authors. Licensee MDPI, Basel, Switzerland. This article is an open access article distributed under the terms and conditions of the Creative Commons Attribution (CC BY) license (https://creativecommons.org/licenses/by/4.0/).
Share and Cite
Zhang, Y.; Chen, Z.; Chu, Q.; Zhou, J. Study on Reactor Power Control Strategies Based on Mode-C Operation and Control Mode. Energies 2025, 18, 1140. https://doi.org/10.3390/en18051140
Zhang Y, Chen Z, Chu Q, Zhou J. Study on Reactor Power Control Strategies Based on Mode-C Operation and Control Mode. Energies. 2025; 18(5):1140. https://doi.org/10.3390/en18051140
Chicago/Turabian StyleZhang, Ying, Zhi Chen, Qing Chu, and Jixiang Zhou. 2025. "Study on Reactor Power Control Strategies Based on Mode-C Operation and Control Mode" Energies 18, no. 5: 1140. https://doi.org/10.3390/en18051140
APA StyleZhang, Y., Chen, Z., Chu, Q., & Zhou, J. (2025). Study on Reactor Power Control Strategies Based on Mode-C Operation and Control Mode. Energies, 18(5), 1140. https://doi.org/10.3390/en18051140

