Image Processing Technique for Enhanced Combustion Efficiency of Wood Pellets
Abstract
1. Introduction
2. Materials and Methods
2.1. Sample Preparation
2.2. Combustion Tests
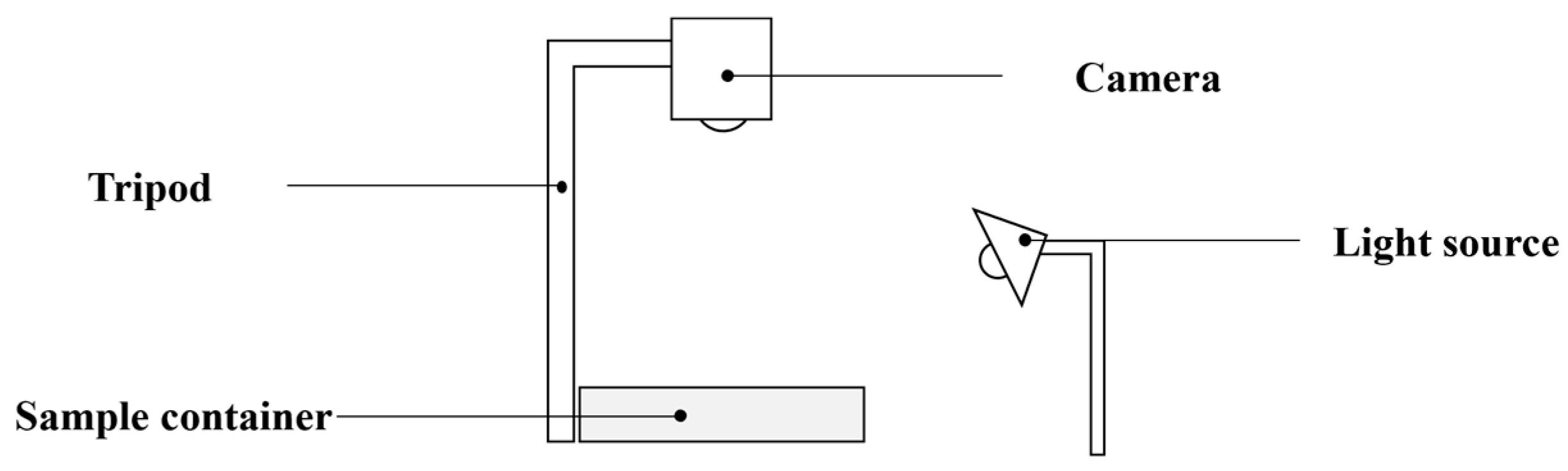
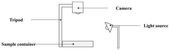
2.3. Dimensional Image Procesing Analysis
2.4. Statistical Analysis
3. Results and Discussions
3.1. Sample Characteristics
3.2. Combustion Tests’ Results
3.3. DIP Analysis
4. Conclusions
5. Patents
Author Contributions
Funding
Data Availability Statement
Acknowledgments
Conflicts of Interest
References
- European Commission. A Green Deal Industrial Plan for the Net-Zero Age. COM (2023) 62, ch II. Available online: https://eur-lex.europa.eu/legal-content/EN/TXT/?uri=CELEX%3A52023DC0062 (accessed on 1 November 2024).
- Thomson, H.; Liddell, C. The Suitability of Wood Pellet Heating for Domestic Households: A Review of Literature. Renew. Sustain. Energy Rev. 2015, 42, 1362–1369. [Google Scholar] [CrossRef]
- Sikkema, R.; Steiner, M.; Junginger, M.; Hiegl, W.; Hansen, M.T.; Faaij, A. The European Wood Pellet Markets: Current Status and Prospects for 2020. Biofuels Bioprod. Biorefining 2011, 5, 250–278. [Google Scholar] [CrossRef]
- Mola-Yudego, B.; Selkimäki, M.; González-Olabarria, J.R. Spatial Analysis of the Wood Pellet Production for Energy in Europe. Renew. Energy 2014, 63, 76–83. [Google Scholar] [CrossRef]
- Eurostat Data Browser. Roundwood, Fuelwood and Other Basic Products. Available online: https://ec.europa.eu/eurostat/databrowser (accessed on 29 November 2024).
- Piazzalunga, A.; Anzano, M.; Collina, E.; Lasagni, M.; Lollobrigida, F.; Pannocchia, A.; Fermo, P.; Pitea, D. Contribution of Wood Combustion to PAH and PCDD/F Concentrations in Two Urban Sites in Northern Italy. J. Aerosol Sci. 2013, 56, 30–40. [Google Scholar] [CrossRef][Green Version]
- Gualtieri, G.; Crisci, A.; Tartaglia, M.; Toscano, P.; Vagnoli, C.; Andreini, B.P.; Gioli, B. Analysis of 20-Year Air Quality Trends and Relationship with Emission Data: The Case of Florence (Italy). Urban. Clim. 2014, 10, 530–549. [Google Scholar] [CrossRef]
- ISO 17225-2:2021; Solid Biofuels—Fuel Specifications and Classes—Part 2: Graded Wood Pellets. ISO: Geneva, Switzerland, 2021.
- ISO 17829:2015; Solid Biofuels—Determination of Length and Diameter of Pellets. ISO: Geneva, Switzerland, 2015.
- Jägers, J.; Wirtz, S.; Scherer, V. An Automated and Continuous Method for the Optical Measurement of Wood Pellet Size Distribution and the Gravimetric Determination of Fines. Powder Technol. 2020, 367, 681–688. [Google Scholar] [CrossRef]
- Toscano, G.; Leoni, E.; Feliciangeli, G.; Duca, D.; Mancini, M. Application of ISO Standards on Sampling and Effects on the Quality Assessment of Solid Biofuel Employed in a Real Power Plant. Fuel 2020, 278, 118142. [Google Scholar] [CrossRef]
- Gilvari, H.; de Jong, W.; Schott, D.L. The Effect of Biomass Pellet Length, Test Conditions and Torrefaction on Mechanical Durability Characteristics According to ISO Standard 17831-1. Energy 2020, 13, 3000. [Google Scholar] [CrossRef]
- Lisowski, A.; Matkowski, P.; Dąbrowska, M.; Piątek, M.; Świętochowski, A.; Klonowski, J.; Mieszkalski, L.; Reshetiuk, V. Particle Size Distribution and Physicochemical Properties of Pellets Made of Straw, Hay, and Their Blends. Waste Biomass Valorization 2020, 11, 63–75. [Google Scholar] [CrossRef]
- Pradhan, P.; Arora, A.; Mahajani, S.M. Factors Affecting the Quality of Fuel Pellets Produced from Waste Biomass. IOP Conf. Ser. Earth Environ. Sci. 2020, 463, 012013. [Google Scholar] [CrossRef]
- Obaidullah, M.; Bram, S.; Verma, V.K.; De Ruyck, J. A Review on Particle Emissions from Small Scale Biomass Combustion. Int. J. Renew. Energy Res. 2012, 2, 147–159. [Google Scholar]
- Wöhler, M.; Jaeger, D.; Reichert, G.; Schmidl, C.; Pelz, S.K. Influence of Pellet Length on Performance of Pellet Room Heaters Under Real Life Operation Conditions. Renew. Energy 2017, 105, 66–75. [Google Scholar] [CrossRef]
- Mack, R.; Schön, C.; Kuptz, D.; Hartmann, H.; Brunner, T.; Obernberger, I.; Behr, H.M. Influence of Pellet Length, Content of Fines, and Moisture Content on Emission Behavior of Wood Pellets in a Residential Pellet Stove and Pellet Boiler. Biomass Convers. Biorefin. 2022, 14, 26827–26844. [Google Scholar] [CrossRef]
- Dahal, K.; Tissari, J.; Hartmann, H.; Schön, C.; Fraboulet, I.; Cea, B.; Kubesa, P.; Horak, J. Technical Report on Review of Particulate Emissions Produced from the Small-Scale Solid Fuel Combustion. 2022. Available online: https://www.researchgate.net/profile/Karna-Dahal/publication/374472110_Technical_report_on_review_of_particulate_emissions_produced_from_the_small-scale_solid_fuel_combustion/links/651f0b813ab6cb4ec6bdf517/Technical-report-on-review-of-particulate-emissions-produced-from-the-small-scale-solid-fuel-combustion.pdf?_tp=eyJjb250ZXh0Ijp7ImZpcnN0UGFnZSI6InB1YmxpY2F0aW9uIiwicGFnZSI6InB1YmxpY2F0aW9uIn19 (accessed on 2 November 2024).
- Igathinathane, C.; Melin, S.; Sokhansanj, S.; Bi, X.; Lim, C.J.; Pordesimo, L.O.; Columbus, E.P. Machine Vision Based Particle Size and Size Distribution Determination of Airborne Dust Particles of Wood and Bark Pellets. Powder Technol. 2009, 196, 202–212. [Google Scholar] [CrossRef]
- Chaloupková, V.; Ivanova, T.; Ekrt, O.; Kabutey, A.; Herák, D. Determination of Particle Size and Distribution Through Image-Based Macroscopic Analysis of the Structure of Biomass Briquettes. Energy 2018, 11, 331. [Google Scholar] [CrossRef]
- Pierdicca, R.; Balestra, M.; Micheletti, G.; Felicetti, A.; Toscano, G. Semi-Automatic Detection and Segmentation of Wooden Pellet Size Exploiting a Deep Learning Approach. Renew. Energy 2022, 197, 406–416. [Google Scholar] [CrossRef]
- Toscano, G.; Leoni, E.; De Francesco, C.; Ciccone, G.; Gasperini, T. The Application of Image Acquisition and Processing Techniques for the Determination of Wooden Pellet Length as an Alternative to ISO 17829. Resources 2023, 12, 125. [Google Scholar] [CrossRef]
- Ozgen, S.; Caserini, S.; Galante, S.; Giugliano, M.; Angelino, E.; Marongiu, A.; Hugony, F.; Migliavacca, G.; Morreale, C. Emission Factors from Small Scale Appliances Burning Wood and Pellets. Atmos. Environ. 2014, 94, 144–153. [Google Scholar] [CrossRef]
- ISO 21945:2020; Solid Biofuels—Simplified Sampling Method for Small Scale Applications. ISO: Geneva, Switzerland, 2020.
- ISO 18134-2:2024; Solid Biofuels—Determination of Moisture Content. Part 2: Simplified Method. ISO: Geneva, Switzerland, 2024.
- ISO 18122:2022; Solid Biofuels—Determination of Ash Content. ISO: Geneva, Switzerland, 2022.
- ISO 18125:2017; Solid Biofuels—Determination of Calorific Value. ISO: Geneva, Switzerland, 2017.
- ISO 16948:2015; Solid Biofuels—Determination of Total Content of Carbon, Hydrogen and Nitrogen. ISO: Geneva, Switzerland, 2015.
- ISO 16994:2016; Solid Biofuels—Determination of Total Content of Sulfur and Chlorine. ISO: Geneva, Switzerland, 2016.
- ISO 17831-1:2015; Solid Biofuels—Determination of Mechanical Durability of Pellets and Briquettes. Part 1: Pellets. ISO: Geneva, Switzerland, 2015.
- ISO 18846:2016; Solid Biofuels—Determination of Fines Content in Quantities of Pellets. ISO: Geneva, Switzerland, 2016.
- van Loo, S.; Koppejan, J. The Handbook of Biomass Combustion and Co-Firing; Earthscan: Oxford, UK, 2012; pp. 1–442. [Google Scholar] [CrossRef]
- Arranz, J.I.; Miranda, M.T.; Montero, I.; Sepúlveda, F.J.; Rojas, C.V. Characterization and Combustion Behaviour of Commercial and Experimental Wood Pellets in South West Europe. Fuel 2015, 142, 199–207. [Google Scholar] [CrossRef]
- Otsu, N. Threshold Selection Method from Gray-Level Histograms. IEEE Trans. Syst. Man. Cybern. 1979, SMC-9, 62–66. [Google Scholar] [CrossRef]
- Oh, S.M.; Park, J.; Yang, J.; Oh, Y.G.; Yi, K.W. Image Processing for Analysis of Carbon Black Pellet Size Distribution During Pelletizing: Carbon Black PSD (PSD: Pellet Size Distribution) by Image Processing. Measurement 2021, 174, 108963. [Google Scholar] [CrossRef]
- Nimitpaitoon, T.; Sajjakulnukit, B. Study on the Effects of Storage Conditions on Pretreated and Raw Biomass. Int. J. Adv. Appl. Sci. 2022, 9, 136–144. [Google Scholar] [CrossRef]
- Whittaker, C.; Shield, I. Factors Affecting Wood, Energy Grass and Straw Pellet Durability—A Review. Renew. Sustain. Energy Rev. 2017, 71, 1–11. [Google Scholar] [CrossRef]
- García-Maraver, A.; Popov, V.; Zamorano, M. A Review of European Standards for Pellet Quality. Renew. Energy 2011, 36, 3537–3540. [Google Scholar] [CrossRef]
- Yazdanpanah, F.; Sokhansanj, S.; Lau, A.K.; Lim, C.J.; Bi, X.; Melin, S. Airflow Versus Pressure Drop for Bulk Wood Pellets. Biomass Bioenergy 2011, 35, 1960–1966. [Google Scholar] [CrossRef]
- Thunman, H.; Leckner, B. Influence of Size and Density of Fuel on Combustion in a Packed Bed. Proc. Combust. Inst. 2005, 30, 2939–2946. [Google Scholar] [CrossRef]
- Cahyo, N.; Alif, H.H.; Aditya, I.A.; Saksono, H.D. Co-Firing Characteristics of Wood Pellets on Pulverized Coal Power Plant. IOP Conf. Ser. Mater. Sci. Eng. 2021, 1098, 062088. [Google Scholar] [CrossRef]
- Stubenberger, G.; Scharler, R.; Zahirović, S.; Obernberger, I. Experimental Investigation of Nitrogen Species Release from Different Solid Biomass Fuels as a Basis for Release Models. Fuel 2008, 87, 793–806. [Google Scholar] [CrossRef]
- Johansson, L.S.; Leckner, B.; Gustavsson, L.; Cooper, D.; Tullin, C.; Potter, A. Emission Characteristics of Modern and Old-Type Residential Boilers Fired with Wood Logs and Wood Pellets. Atmos. Environ. 2004, 38, 4183–4195. [Google Scholar] [CrossRef]
- Obernberger, I. Decentralized Biomass Combustion: State of the Art and Future Development. Biomass Bioenergy 1998, 14, 33–56. [Google Scholar] [CrossRef]
- Zheng, S.; Yang, Y.; Li, X.; Liu, H.; Yan, W.; Sui, R.; Lu, Q. Temperature and Emissivity Measurements from Combustion of Pine Wood, Rice Husk and Fir Wood Using Flame Emission Spectrum. Fuel Process. Technol. 2020, 204, 106423. [Google Scholar] [CrossRef]
- Li, J.; Biagini, E.; Yang, W.; Tognotti, L.; Blasiak, W. Flame Characteristics of Pulverized Torrefied-Biomass Combusted with High-Temperature Air. Combust. Flame 2013, 160, 2585–2594. [Google Scholar] [CrossRef]
- Matsuoka, R.; Maruyama, S. Eccentricity on an Image Caused by Projection of a Circle and a Sphere. ISPRS Ann. Photogramm. Remote Sens. Spat. Inf. Sci. 2016, 3, 19–26. [Google Scholar] [CrossRef]
- Kumar, P.; Belchamber, E.R.; Miklavcic, S.J. Pre-Processing by Data Augmentation for Improved Ellipse Fitting. PLoS ONE 2018, 13, e0196902. [Google Scholar] [CrossRef]
- Di, Y.; Li, M.Y.; Qiao, T.; Lu, N. Edge Detection and Mathematic Fitting for Corneal Surface with Matlab Software. Int. J. Ophthalmol. 2017, 10, 336–342. [Google Scholar] [CrossRef]








| Sample | MC | Ash | NCV | HCV | LCV | C | H | N | Cl | S | Db | Fines | L |
|---|---|---|---|---|---|---|---|---|---|---|---|---|---|
| % w.b. | % d.b. | J/g w.b. | J/g d.b. | J/g d.b. | % d.b. | % d.b. | % d.b. | % d.b. | % d.b. | % | % | mm | |
| Sp | 9.6 | 0.4 | 16,200 | 19,488 | 18,188 | 50.1 | 6.0 | 0.2 | 0.0 | 0.1 | 96.4 | 0.7 | 10.7 |
| Mp | 8.1 | 0.4 | 16,403 | 19,461 | 18,067 | 49.9 | 6.6 | 0.1 | 0.0 | 0.0 | 98.6 | 0.1 | 15.9 |
| Lp | 10.3 | 0.5 | 15,569 | 19,029 | 17,635 | 49.8 | 6.4 | 0.1 | 0.0 | 0.1 | 92.7 | 1.3 | 21.1 |
| Sample | F3 | F2 | F1 | |||||||||
|---|---|---|---|---|---|---|---|---|---|---|---|---|
| Gas | λ | CO | NOx | Gas | λ | CO | NOx | Gas | λ | CO | NOx | |
| °C | mg/m3 | mg/m3 | °C | mg/m3 | mg/m3 | °C | mg/m3 | mg/m3 | ||||
| Sp | 179 | 4.4 | 230.5 | 129.1 | 173.6 | 3.7 | 217 | 147.3 | 165.1 | 3.2 | 209.6 | 159.5 |
| (2.3) | (73) | (13.5) | (1.6) | (58.5) | (15.4) | (1.3) | (51.7) | (18.9) | ||||
| Mp | 174.9 | 4.8 | 225.9 | 77.9 | 168.9 | 4 | 215.9 | 87.8 | 161.5 | 3.5 | 215.8 | 93.8 |
| (2.7) | (122.8) | (11.1) | (2) | (90.9) | (12.4) | (2.0) | (76.9) | (13) | ||||
| Lp | 169.8 | 5.6 | 354.4 | 73.8 | 165.5 | 4.8 | 336.4 | 81.4 | 159.7 | 4 | 324.2 | 90.9 |
| (3.6) | (190.1) | (13.1) | (2.9) | (178) | (14.3) | (2.3) | (122.2) | (14.9) | ||||
| Sp2 | Mp2 | Lp2 | |||||||||||||
|---|---|---|---|---|---|---|---|---|---|---|---|---|---|---|---|
| Obj | Area | Bbx | Sol | Ec | Obj | Area | Bbx | Sol | Ec | Obj | Area | Bbx | Sol | Ec | |
| N. | 879 | 669 | 643 | ||||||||||||
| Mean | 276 | 632 | 0.87 | 0.80 | 321 | 702 | 0.89 | 0.83 | 502 | 1236 | 0.87 | 0.85 | |||
| St. Dev. | 305 | 1062 | 0.11 | 0.14 | 342 | 985 | 0.09 | 0.14 | 598 | 1892 | 0.11 | 0.14 | |||
| Min | 30 | 35 | 0.38 | 0.15 | 30 | 35 | 0.42 | 0.27 | 30 | 35 | 0.35 | 0.17 | |||
| Q1 25% | 79 | 120 | 0.84 | 0.73 | 92 | 143 | 0.86 | 0.75 | 106 | 168 | 0.83 | 0.78 | |||
| Q2 50% | 169 | 285 | 0.91 | 0.83 | 201 | 364 | 0.92 | 0.87 | 285 | 532 | 0.90 | 0.88 | |||
| Q3 75% | 351 | 725 | 0.94 | 0.91 | 436 | 819 | 0.94 | 0.94 | 661 | 1458 | 0.94 | 0.95 | |||
| Max | 1961 | 11,252 | 1.00 | 0.99 | 2841 | 8586 | 1.00 | 0.99 | 4410 | 17,018 | 1.00 | 0.99 | |||
| Length | Obj | Area | Bbx | Ec | Sol | |
|---|---|---|---|---|---|---|
| Length | 1 | |||||
| Obj | −0.92 | 1 | ||||
| Area | 0.94 | −0.73 | 1 | |||
| Bbox | 0.91 | −0.67 | 1.00 | 1 | ||
| Ec | 1.00 | −0.95 | 0.91 | 0.87 | 1 | |
| Sol | −0.22 | −0.19 | −0.54 | −0.61 | −0.14 | 1 |
Disclaimer/Publisher’s Note: The statements, opinions and data contained in all publications are solely those of the individual author(s) and contributor(s) and not of MDPI and/or the editor(s). MDPI and/or the editor(s) disclaim responsibility for any injury to people or property resulting from any ideas, methods, instructions or products referred to in the content. |
© 2024 by the authors. Licensee MDPI, Basel, Switzerland. This article is an open access article distributed under the terms and conditions of the Creative Commons Attribution (CC BY) license (https://creativecommons.org/licenses/by/4.0/).
Share and Cite
Gasperini, T.; Pizzi, A.; Olivi, L.; Toscano, G.; Ilari, A.; Duca, D. Image Processing Technique for Enhanced Combustion Efficiency of Wood Pellets. Energies 2024, 17, 6144. https://doi.org/10.3390/en17236144
Gasperini T, Pizzi A, Olivi L, Toscano G, Ilari A, Duca D. Image Processing Technique for Enhanced Combustion Efficiency of Wood Pellets. Energies. 2024; 17(23):6144. https://doi.org/10.3390/en17236144
Chicago/Turabian StyleGasperini, Thomas, Andrea Pizzi, Lucia Olivi, Giuseppe Toscano, Alessio Ilari, and Daniele Duca. 2024. "Image Processing Technique for Enhanced Combustion Efficiency of Wood Pellets" Energies 17, no. 23: 6144. https://doi.org/10.3390/en17236144
APA StyleGasperini, T., Pizzi, A., Olivi, L., Toscano, G., Ilari, A., & Duca, D. (2024). Image Processing Technique for Enhanced Combustion Efficiency of Wood Pellets. Energies, 17(23), 6144. https://doi.org/10.3390/en17236144

