Applicability Assessment of Viscoelastic Surfactants and Synthetic Polymers as a Base of Hydraulic Fracturing Fluids
Abstract
:1. Introduction
2. Materials and Methods
- “Linear” guar gel: guar polymer solution at a concentration of 3.5 kg/m3;
- “Crosslinked” guar gel: a solution of guar polymer at a concentration of 3.3 kg/m3 crosslinked by the addition of 2.4 L/m3 borate crosslinker with the inclusion of 2.0 L/m3 clay stabilizer, 2.5 L/m3 demulsifier, 2.0 L/m3 destruction activator, and 0.3 kg/m3 destructor (ammonium persulphuric acid);
- Non-polymer composition: 70.0 L/m3 solution of ampholytic surfactant (NEFTENOL-VES Pat. RU 2 746 499 Basic chemical compound oleylamidopropyl betaine (OAPB)) with the addition of 18.0 L/m3 of the RS-1 structuring reagent;
- Liquid based on synthetic polymer: solution of 8.0 L/m3 synthetic polymer (gelling agent PolyGel, based on partially hydrolyzed polyacrylamide (PHPA) suspension in hydrocarbon) with the addition of 2.0 L/m3 clay stabilizer, 2.5 L/m3 demulsifier, and 0.5 kg/m3 destructor (ammonium persulfate).
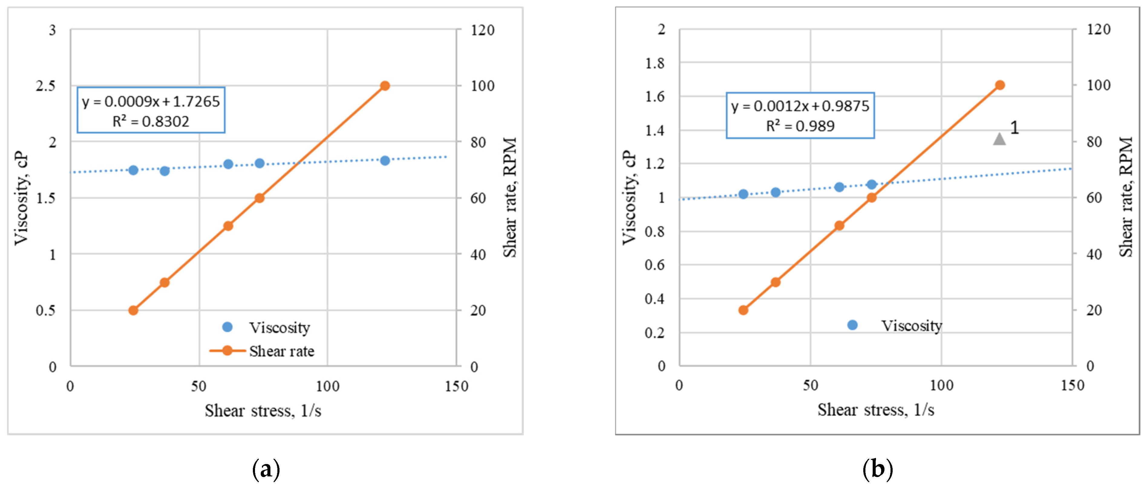
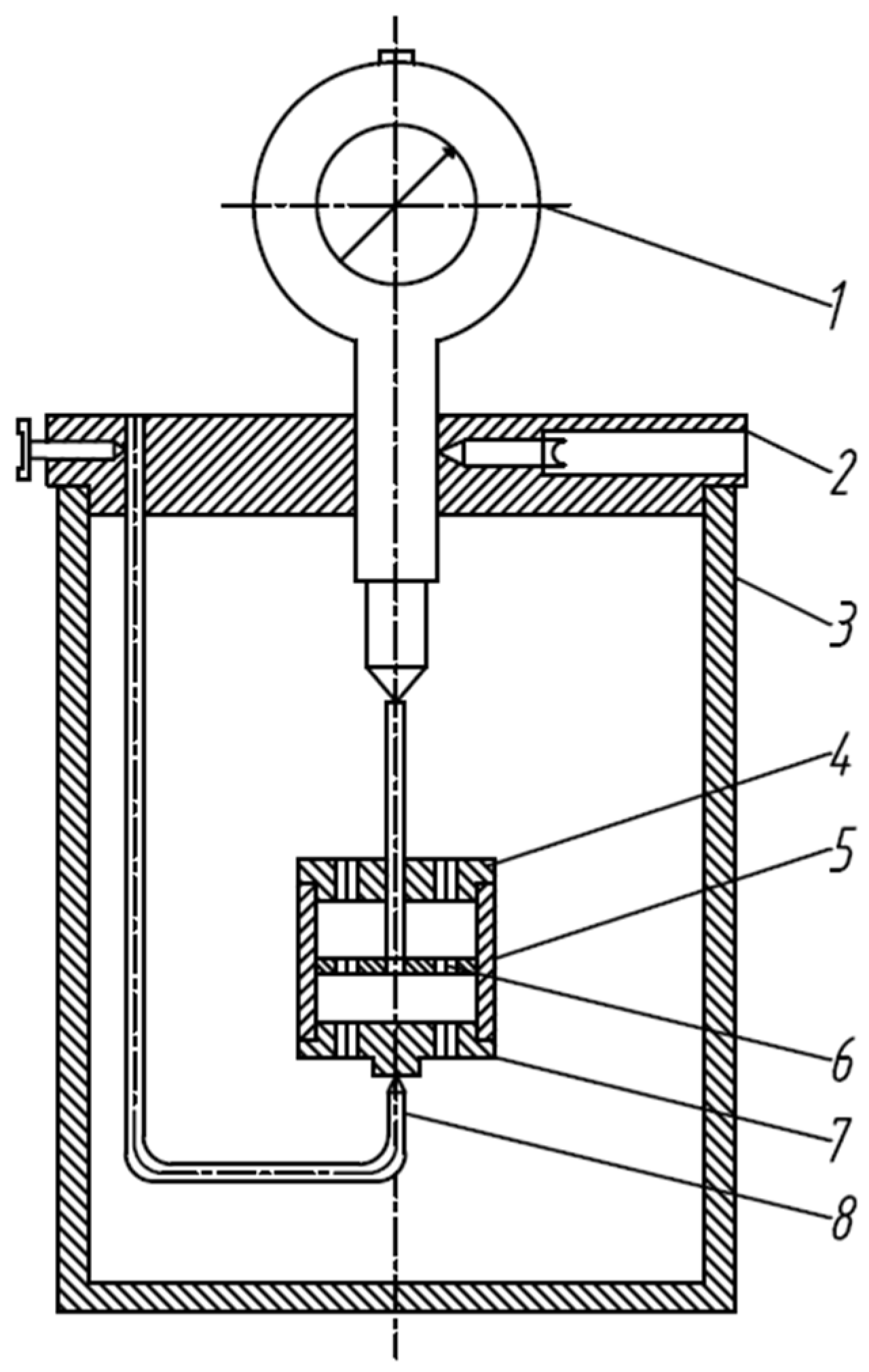
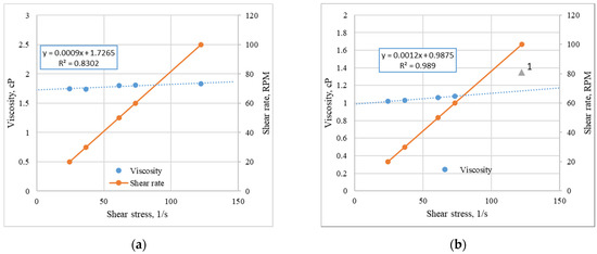
2.1. Rheological Investigation
2.2. Sand-Carrying and Sand-Holding Capacity
2.3. Rock Swelling Studies
- determining the swelling coefficients on the Zhigach–Yarov device;
- determining the linear deformation of a rock sample using a Zhigach–Yarov device or similar;
- determining the rock swelling in free volume by sedimentation stability of the suspension;
- determining the rock swelling using a capillary suction timer;
- determining the volumetric deformation of the compressed tablet;
- determining the stability of the core material in the roller furnace;
- studying the changes in the filtration-capacity properties of artificial (bulk) models or samples of natural cores.
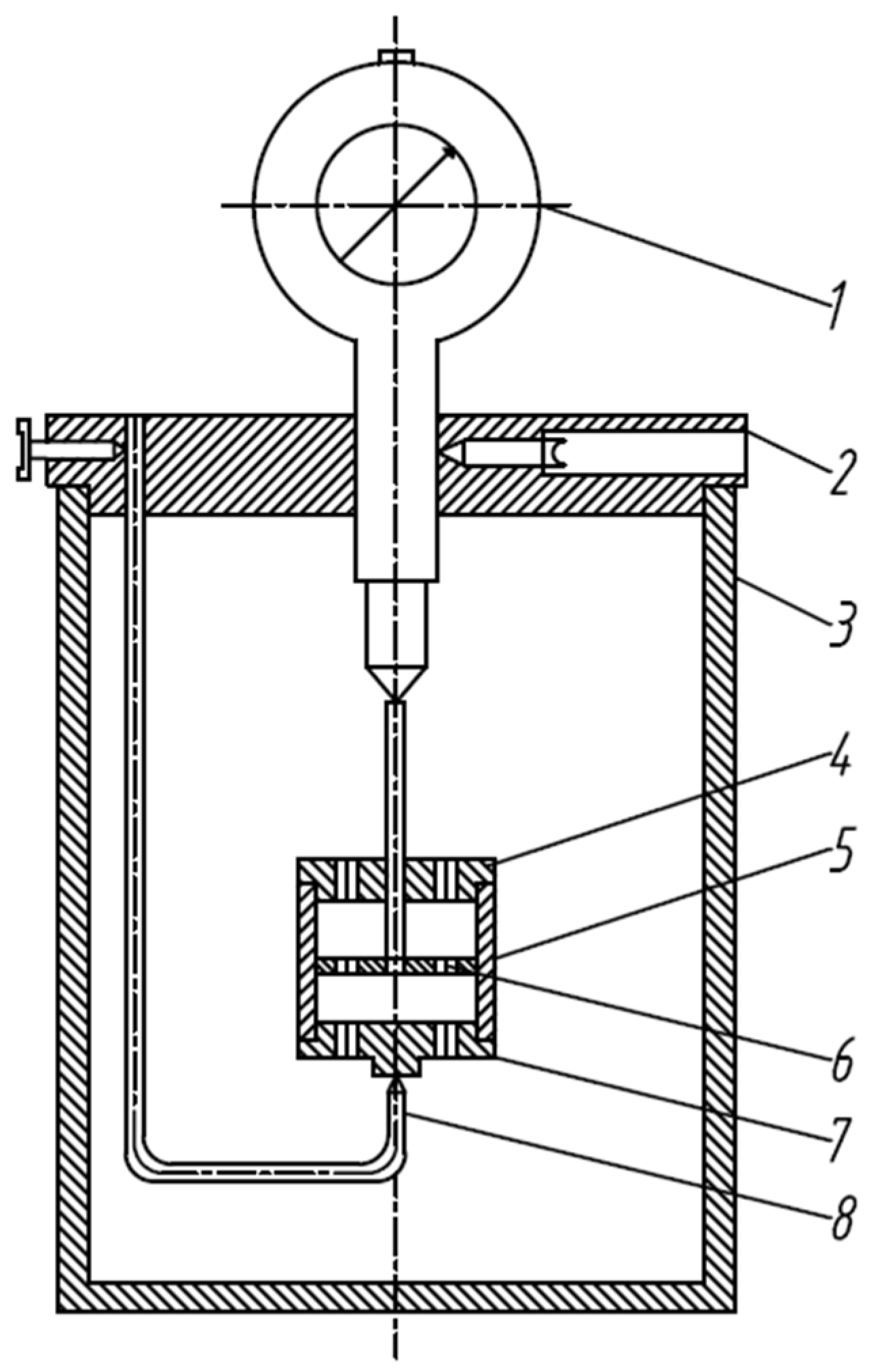
2.4. Zhigach–Yarov Method
2.5. Linear Deformation Method
2.6. Capillary Suction Timer (CST)
2.7. Visual Assessment of the Sedimentation Stability of the Suspension
2.8. Testing the Dynamic Stability of Core Samples
3. Results and Discussion
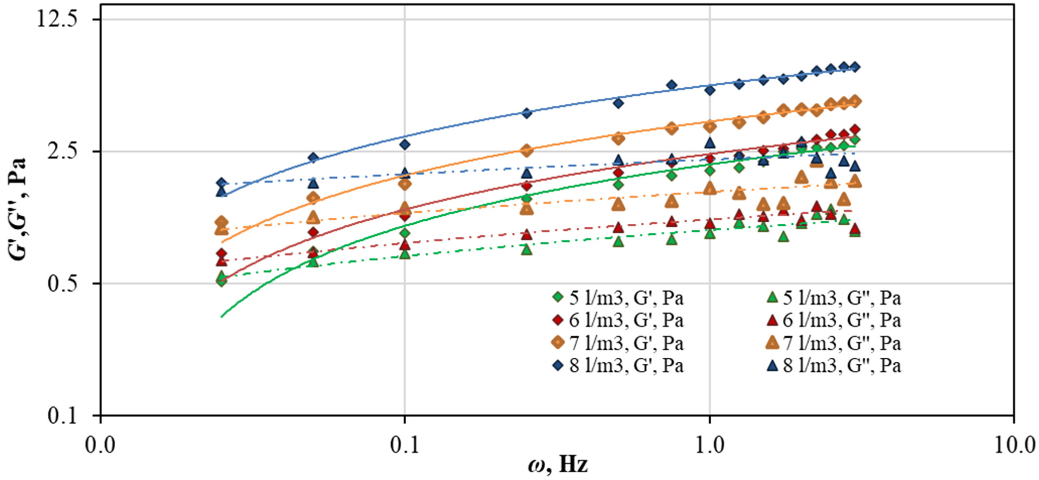
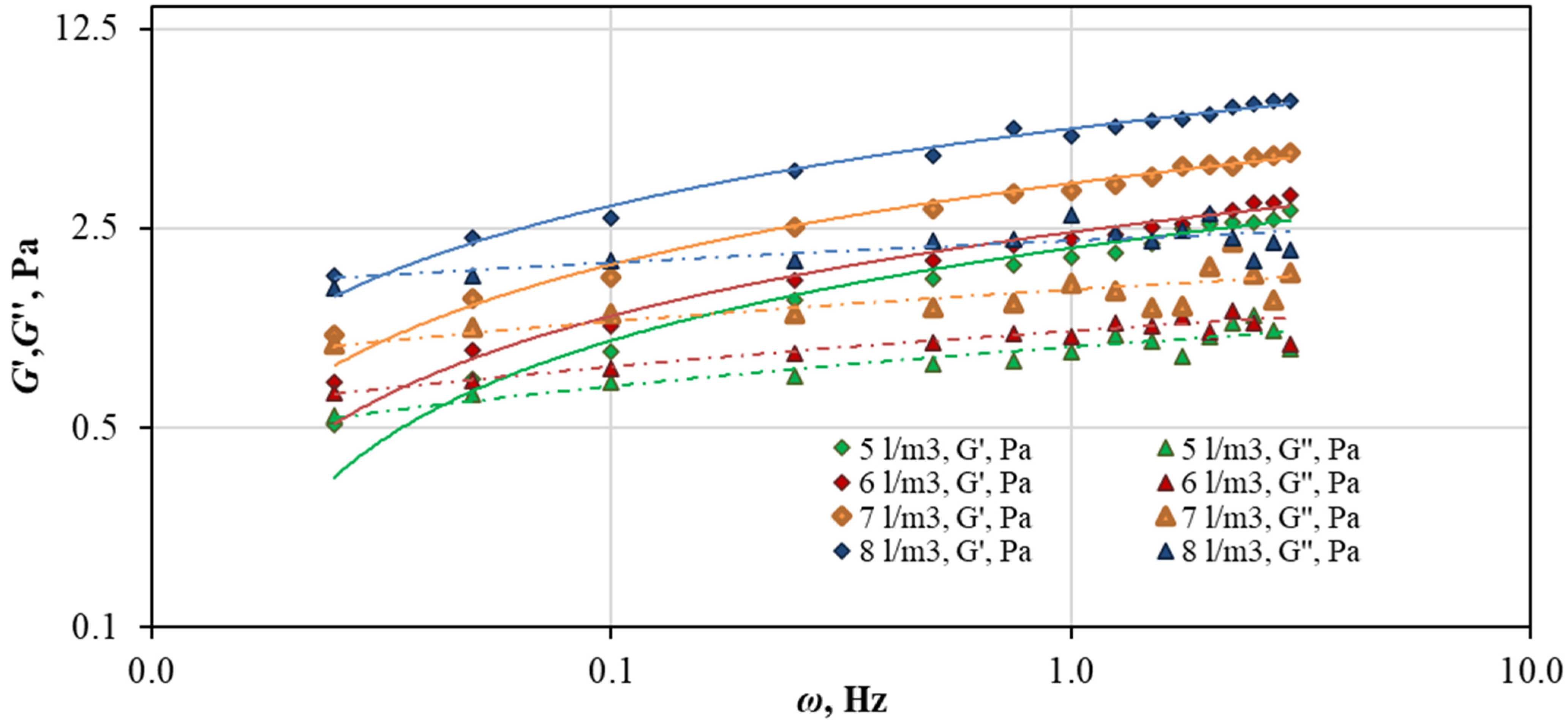
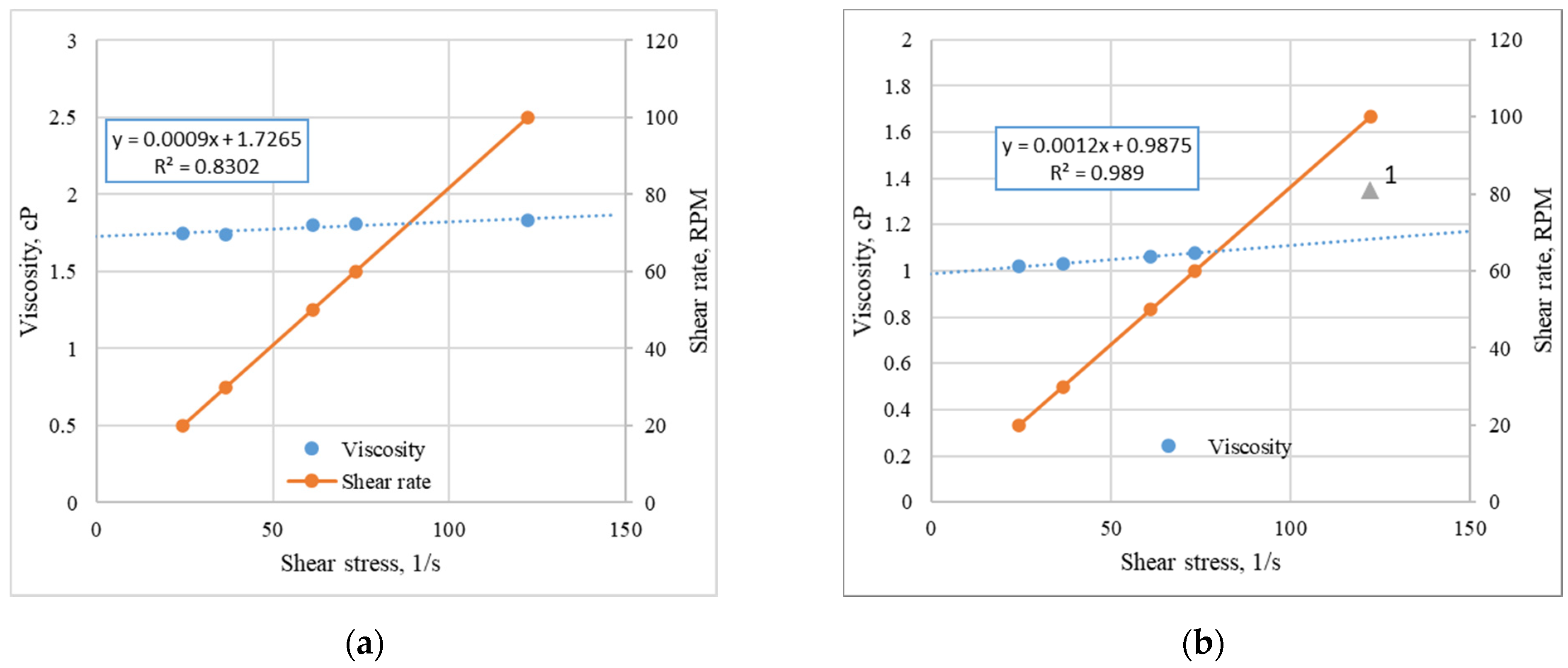
3.1. Investigation of the Structural and Mechanical Properties of Fracturing Fluids
3.2. Investigation of the Influence of Filtrates of Destroyed Liquids on the Rock
3.2.1. CST
3.2.2. Visual Assessment of the Sedimentation Stability of the Suspension
3.2.3. Testing the Dynamic Stability of Core Material
3.2.4. Measuring Swelling and Linear Expansion Coefficients on the Zhigach–Yarov Device
3.2.5. Comprehensive Assessment of the Influence of Fluids on the Rock
4. Conclusions
Author Contributions
Funding
Institutional Review Board Statement
Informed Consent Statement
Acknowledgments
Conflicts of Interest
References
- BP. Stratistical Review of World Energy. Stat. Rev. World Energy 2014, 67, 1–56. [Google Scholar]
- Khan, R.; Al-Nakhli, A.R. An Overview of Emerging Technologies and Innovations for Tight Gas Reservoir Development. In Proceedings of the SPE International Production and Operations Conference & Exhibition, Doha, Qatar, 14–16 May 2012. [Google Scholar]
- Al-Salem, K.M.; MohammedAli, M.A.; Lin, C. Tight oil reservoir development feasibility study using finite difference simulation and streamlines. In Proceedings of the SPE Saudi Arabia Section Technical Symposium, Al-Khobar, Saudi Arabia, 9–11 May 2009; pp. 1–6. [Google Scholar] [CrossRef]
- Du, J.; Liu, H.; Ma, D.; Fu, J.; Wang, Y.; Zhou, T. Discussion on effective development techniques for continental tight oil in China. Pet. Explor. Dev. 2014, 41, 217–224. [Google Scholar] [CrossRef]
- Bai, Y.; Cao, G.; Wei, G.; Nan, X.; Cheng, Q.; Du, T.; An, H. Mechanism of permeability and oil recovery during fracturing in tight oil reservoirs. Processes 2020, 8, 972. [Google Scholar] [CrossRef]
- Magadova, L.A.; Silin, М.А.; Gluschenko, V.N. Technological Aspects And Materials for Hydraulic Fracturing; National University of Oil and Gas «Gubkin University»: Moscow, Russia, 2012; ISBN 9785919610755. [Google Scholar]
- Hustak, C.; Dieva, R.; Baker, R.; MacIsaac, B.; Frankiw, K.; Clark, B. Waterflooding a multi-layered tight oil reservoir developed with hydraulically fractured horizontal wells. In Proceedings of the SPE Unconventional Resources Conference, Calgary, AB, Canada, 15–16 February 2017; pp. 56–74. [Google Scholar] [CrossRef] [Green Version]
- Kalam, S.; Alnuaim, S.A.; Rammay, M.H. Application of artificial intelligence for water coning problem in hydraulically fractured tight oil reservoirs. In Proceedings of the Offshore Technology Conference Asia, Kuala Lumpur, Malaysia, 22–25 March 2016; pp. 266–285. [Google Scholar] [CrossRef]
- Zhang, S.-C.; Lei, X.; Zhou, Y.-S.; Xu, G.-Q. Numerical simulation of hydraulic fracture propagation in tight oil reservoirs by volumetric fracturing. Pet. Sci. 2015, 12, 674–682. [Google Scholar] [CrossRef] [Green Version]
- Xu, L.; Zhang, S.; Wang, F.; Ma, X. Study on the productivity of the multi-stage fractured horizontal wells in tight oil reservoirs. Int. J. Oil Gas Coal Technol. 2019, 20, 243–265. [Google Scholar] [CrossRef]
- Wang, J.; Xu, J.; Wang, Y.; Li, H.; Liu, T.; Wen, X. Productivity of hydraulically-fractured horizontal wells in tight oil reservoirs using a linear composite method. J. Pet. Sci. Eng. 2018, 164, 450–458. [Google Scholar] [CrossRef]
- Howard, G.C.; Fast, C.R. Hydraulic Fracturing; SPE of AIME: Albany, NY, USA, 1970. [Google Scholar]
- Jennings, A.R., Jr. Fracturing Fluids—Then and Now. J. Pet. Technol. 1996, 48, 604–610. [Google Scholar] [CrossRef]
- Richtering, W. Rheology and shear induced structures in surfactant solutions. Curr. Opin. Colloid Interface Sci. 2001, 6, 446–450. [Google Scholar] [CrossRef]
- Suchfield, P.E.A. Hydraulic Fracturing in Subterranean Formations. Patent 5024276, 18 June 1991. [Google Scholar]
- Ely, J. Chapter 7: Fracturing fluids and additives. In Recent Advances in Hydraulic Fracturing; Gidley, J., Holditch, S., Nierode, D., Veatch, R., Jr., Eds.; Society of Petroleum Engineers: Richardson, TX, USA, 1989; ISBN 1555630200. [Google Scholar]
- Githens, C.J.; Burnham, J.W. Chemically Modified Natural Gum for Use in Well Stimulation. Soc. Pet. Eng. AIME J. 1977, 17, 5–10. [Google Scholar] [CrossRef]
- Fischer, C.C.; Navarrete, R.C.; Constien, V.G.; Coffey, M.D.; Asadi, M. Novel Application of Synergistic Guar/Non-Acetylated Xanthan Gum Mixtures in Hydraulic Fracturing. In Proceedings of the SPE International Symposium on Oilfield Chemistry, Houston, TX, USA, 13–16 February 2001; pp. 527–538. [Google Scholar] [CrossRef]
- Zheng, K.; Deng, Y.; Cao, H. Effect of hypergravity on the modification of xanthan gum. J. Dispers. Sci. Technol. 2021, 42, 1196–1203. [Google Scholar] [CrossRef]
- Reinoso, D.; Martín-Alfonso, M.J.; Luckham, P.F.; Martínez-Boza, F.J. Rheological characterisation of xanthan gum in brine solutions at high temperature. Carbohydr. Polym. 2019, 203, 103–109. [Google Scholar] [CrossRef] [PubMed]
- Aliu, A.O.; Guo, J.; Wang, S.; Zhao, X. Hydraulic fracture fluid for gas reservoirs in petroleum engineering applications using sodium carboxy methyl cellulose as gelling agent. J. Nat. Gas Sci. Eng. 2016, 32, 491–500. [Google Scholar] [CrossRef]
- Yang, Z.; Xu, Y.; Wang, X.; Duan, Y.; Che, M.; Lu, Y. Study and Application of Novel Cellulose Fracturing Fluid in Ordos Basin. IOP Conf. Ser. Earth Environ. Sci. 2018, 170, 022145. [Google Scholar] [CrossRef]
- Pica, N.E.; Terry, C.; Carlson, K. Optimization of apparent peak viscosity in carboxymethyl cellulose fracturing fluid: Interactions of high total dissolved solids, pH value, and crosslinker concentration. SPE J. 2017, 22, 615–621. [Google Scholar] [CrossRef]
- Wang, S.; Wang, Z. Enhance The Properties of Cellulose Fracturing Fluids by Cellulose Nanocrystals. Prepr. Res. Sq. 2021, 1–22. [Google Scholar] [CrossRef]
- Li, J.; Tellakula, R.; Rosencrance, S. Cross-Linked Acrylamide Polymer or Copolymer Gel and Breaker Compositions and Methods of Use. Patent 20160376494, 29 December 2016. [Google Scholar]
- Li, Y.; Wang, S.; Guo, J.; Gou, X.; Jiang, Z.; Pan, B. Reduced adsorption of polyacrylamide-based fracturing fluid on shale rock using urea. Energy Sci. Eng. 2018, 6, 749–759. [Google Scholar] [CrossRef]
- Fink, J.K. Hydraulic Fracturing Chemicals and Fluids Technology; Gulf Professional Publishing: Houston, TX, USA, 2013; ISBN 9780124114913. [Google Scholar]
- Fink, J.K. Fracturing Fluids. In Water-Based Chemicals and Technology for Drilling, Completion, and Workover Fluids; Fink, J.K., Ed.; Gulf Professional Publishing: Houston, TX, USA, 2015; pp. 115–178. ISBN 9780128025055. [Google Scholar]
- Fracturing fluids. In Petroleum Engineer’s Guide to Oil Field Chemicals and Fluids; Gulf Professional Publishing: Houston, TX, USA, 2015; pp. 567–651.
- Viswanathan, H.S.; Hyman, J.D.; Karra, S.; Carey, J.W.; Porter, M.L.; Rougier, E.; Currier, R.P.; Kang, Q.; Zhou, L.; Jimenéz-Martínez, J.; et al. Using Discovery Science To Increase Efficiency of Hydraulic Fracturing While Reducing Water Usage. In Hydraulic Fracturing: Environmental Issues; American Chemical Society: Washington, DC, USA, 2015; pp. 71–88. [Google Scholar]
- Georg, M.; Michael, D.; Frank, M.; Axel, B.; Frank-Andreas, W.; Elke, D.; Carsten, H.; Christoph, S.; Hartmut, G.; Georg, B.; et al. Environmental Impacts of Fracking Related to Exploration and Exploitation of Unconventional Natural Gas Deposits; Federal Environment Agency (Umweltbundesamt): Dessau-Roßlau, Germany, 2013; ISSN 1862-4804. [Google Scholar]
- Howarth, R.W.; Ingraffea, A.; Engelder, T. Should fracking stop? Nature 2011, 477, 271–275. [Google Scholar] [CrossRef]
- Pfunt, H.; Houben, G.; Himmelsbach, T. Numerical modeling of fracking fluid migration through fault zones and fractures in the North German Basin. Hydrogeol. J. 2016, 24, 1343–1358. [Google Scholar] [CrossRef]
- Taherdangkoo, R.; Tatomir, A.; Anighoro, T.; Sauter, M. Modeling fate and transport of hydraulic fracturing fluid in the presence of abandoned wells. J. Contam. Hydrol. 2019, 221, 58–68. [Google Scholar] [CrossRef]
- Taherdangkoo, R.; Tatomir, A.; Taylor, R.; Sauter, M. Numerical investigations of upward migration of fracking fluid along a fault zone during and after stimulation. Energy Procedia 2017, 125, 126–135. [Google Scholar] [CrossRef]
- Dogon, D.; Golombok, M. Self-regulating solutions for proppant transport. Chem. Eng. Sci. 2016, 148, 219–228. [Google Scholar] [CrossRef]
- Sullivan, P.F.; Gadiyar, B.; Morales, R.H.; Hollicek, R.; Sorrells, D.; Lee, J.; Fischer, D. Optimization of a Viscoelastic Surfactant (VES) fracturing fluid for application in high-permeability formations. In Proceedings of the SPE International Symposium and Exhibition on Formation Damage Control, Lafayette, LA, USA, 15–17 February 2006; pp. 753–760. [Google Scholar] [CrossRef]
- Rimmer, B.; MacFarlane, C.; Mitchell, C.; Wolfs, H.; Samuel, M. Fracture geometry optimization: Designs utilizing new polymer-free fracturing fluid and log-derived stress profile/rock properties. In Proceedings of the SPE International Symposium on Formation Damage Control, Lafayette, LA, USA, 23–24 February 2000; Volume 3, pp. 461–467. [Google Scholar] [CrossRef]
- Daeffler, C.; Perroni, D.; Makarychev-Mikhailov, S.; Mirakyan, A. Internal viscoelastic surfactant breakers from in-situ oligomerization. In Proceedings of the SPE International Conference on Oilfield Chemistry, Galveston, TX, USA, 8–9 April 2019. [Google Scholar] [CrossRef]
- Durairaj, R. Rheology—New Concepts, Applications and Methods; Durairaj, R., Ed.; InTech: London, UK, 2013; ISBN 978-953-51-0953-2. [Google Scholar]
- Al-Muntasheri, G.A. A critical review of hydraulic fracturing fluids over the last decade. In Proceedings of the SPE Western North American and Rocky Mountain Joint Regional Meeting, Denver, CO, USA, 16–18 April 2014. [Google Scholar] [CrossRef]
- Feng, Y.; Zhaolong, G.; Jinlong, Z.; Zhiyu, T. Viscoelastic surfactant fracturing fluid for underground hydraulic fracturing in soft coal seams. J. Pet. Sci. Eng. 2018, 169, 646–653. [Google Scholar] [CrossRef]
- Zhang, W.; Mao, J.; Yang, X.; Zhang, H.; Zhang, Z.; Yang, B.; Zhang, Y.; Zhao, J. Study of a novel gemini viscoelastic surfactant with high performance in clean fracturing fluid application. Polymers 2018, 10, 1215. [Google Scholar] [CrossRef] [PubMed] [Green Version]
- Lu, Y.; Yang, F.; Ge, Z.; Wang, Q.; Wang, S. Influence of viscoelastic surfactant fracturing fluid on permeability of coal seams. Fuel 2017, 194, 1–6. [Google Scholar] [CrossRef]
- Mao, J.; Yang, X.; Chen, Y.; Zhang, Z.; Zhang, C.; Yang, B.; Zhao, J. Viscosity reduction mechanism in high temperature of a Gemini viscoelastic surfactant (VES) fracturing fluid and effect of counter-ion salt (KCl) on its heat resistance. J. Pet. Sci. Eng. 2018, 164, 189–195. [Google Scholar] [CrossRef]
- Chieng, Z.H.; Mohyaldinn, M.E.; Hassan, A.M.; Bruining, H. Experimental investigation and performance evaluation of modified viscoelastic surfactant (VES) as a new thickening fracturing fluid. Polymers 2020, 12, 1470. [Google Scholar] [CrossRef]
- Yang, C.; Hu, Z.; Song, Z.; Bai, J.; Zhang, Y.; Luo, J.Q.; Du, Y.; Jiang, Q. Self-assembly properties of ultra-long-chain gemini surfactant with high performance in a fracturing fluid application. J. Appl. Polym. Sci. 2017, 134, 62–70. [Google Scholar] [CrossRef]
- Yang, X.; Mao, J.; Zhang, Z.; Zhang, H.; Yang, B.; Zhao, J. Rheology of Quaternary Ammonium Gemini Surfactant Solutions: Effects of Surfactant Concentration and Counterions. J. Surfactants Deterg. 2018, 21, 467–474. [Google Scholar] [CrossRef]
- Jennings, R. Use of field data in the analysis of the influence of proppants on apparent fracturing fluid viscosity. In Proceedings of the SPE Annual Technical Conference and Exhibition, New Orleans, LA, USA, 23–26 September 1990; pp. 261–269. [Google Scholar] [CrossRef]
- Fallahzadeh, S.H.; Hossain, M.M.; Cornwell, A.J.; Rasouli, V. Near wellbore hydraulic fracture propagation from perforations in tight rocks: The roles of fracturing fluid viscosity and injection rate. Energies 2017, 10, 359. [Google Scholar] [CrossRef] [Green Version]
- Zhang, S.; Li, X.; Gao, Q. Experimental study on shale fracturing effect and fracture mechanism under different fracturing fluid viscosity: A case study of Guanyinqiao Member shale in Xishui, Guizhou, China. AIP Adv. 2020, 10, 35022. [Google Scholar] [CrossRef] [Green Version]
- Vasudevan, S.; Willberg, D.M.; Wise, J.A.; Gorham, T.L.; Dacar, R.C.; Sullivan, P.F.; Boney, C.L.; Mueller, F. Field test of a novel low viscosity fracturing fluid in the Lost Hills Field, California. In Proceedings of the SPE Western Regional Meeting, Bakersfield, CA, USA, 26–30 March 2001; pp. 1–11. [Google Scholar] [CrossRef]
- Guo, J.; Ma, J.; Zhao, Z.; Gao, Y. Effect of fiber on the rheological property of fracturing fluid. J. Nat. Gas Sci. Eng. 2015, 23, 356–362. [Google Scholar] [CrossRef]
- Valaskova, M.; Martynková, S. Clay Minerals in Nature-Their Characterization, Modification and Application; Valaskova, M., Ed.; InTech: London, UK, 2012; ISBN 978-953-51-0738-5. [Google Scholar]
- McCoy, T.M.; King, J.P.; Moore, J.E.; Kelleppan, V.T.; Sokolova, A.V.; de Campo, L.; Manohar, M.; Darwish, T.A.; Tabor, R.F. The effects of small molecule organic additives on the self-assembly and rheology of betaine wormlike micellar fluids. J. Colloid Interface Sci. 2019, 534, 518–532. [Google Scholar] [CrossRef] [PubMed]
- Alzobaidi, S.; Da, C.; Tran, V.; Prodanović, M.; Johnston, K.P. High temperature ultralow water content carbon dioxide-in-water foam stabilized with viscoelastic zwitterionic surfactants. J. Colloid Interface Sci. 2017, 488, 79–91. [Google Scholar] [CrossRef] [PubMed] [Green Version]
- Velde, B.; Barré, P. Soils, Plants and Clay Minerals; Springer: Berlin/Heidelberg, Germany, 2010; ISBN 978-3-642-03498-5. [Google Scholar]
- Li, H.; Liu, Z.; Jia, N.; Chen, X.; Yang, J.; Cao, L.; Li, B. A New Experimental Approach for Hydraulic Fracturing Fluid Damage of Ultradeep Tight Gas Formation. Geofluids 2021, 2021, 6616645. [Google Scholar] [CrossRef]
- Li, Z.; Li, H.; Li, G.; Yu, H.; Jiang, Z.; Liu, H.; Hu, S.; Tang, B. The influence of shale swelling on casing deformation during hydraulic fracturing. J. Pet. Sci. Eng. 2021, 205, 108844. [Google Scholar] [CrossRef]
- Wang, G.; Huang, T.; Yan, S.; Liu, X. Experimental study of the fracturing-wetting effect of VES fracturing fluid for the coal seam water injection. J. Mol. Liq. 2019, 295, 111715. [Google Scholar] [CrossRef]
- Efremov, D.V.; Bannikova, I.A.; Bayandin, Y.V.; Krutihin, E.V.; Zhuravlev, V.A. Study of Viscoelastic Properties of Fluids for Hydraulic Fracturing. J. Phys. Conf. Ser. 2021, 1945, 012003. [Google Scholar] [CrossRef]
- ISO, 13503–1; Completion Fluids and Materials Part 1: Measurement of Viscous Properties of Completion Fluids. BSI Standards Publication Petroleum and Natural Gas Industries: London, UK, 2011.
- Anachkov, S.E.; Georgieva, G.S.; Abezgauz, L.; Danino, D.; Kralchevsky, P.A. Viscosity Peak due to Shape Transition from Wormlike to Disklike Micelles: Effect of Dodecanoic Acid. Langmuir 2018, 34, 4897–4907. [Google Scholar] [CrossRef]
- Agrawal, N.R.; Yue, X.; Feng, Y.; Raghavan, S.R. Wormlike Micelles of a Cationic Surfactant in Polar Organic Solvents: Extending Surfactant Self-Assembly to New Systems and Subzero Temperatures. Langmuir 2019, 35, 12782–12791. [Google Scholar] [CrossRef]
- Ranjbar, D.; Hatzikiriakos, S.G. Effect of Ionic Surfactants on the Viscoelastic Properties of Chiral Nematic Cellulose Nanocrystal Suspensions. Langmuir 2020, 36, 293–301. [Google Scholar] [CrossRef]
- Han, Y.; Wang, Y.; Meng, X.; Wang, Q.; Han, X. Wormlike micelles with a unique ladder shape formed by a C22-tailed zwitterionic surfactant bearing a bulky piperazine group. Soft Matter 2019, 15, 7644–7653. [Google Scholar] [CrossRef] [PubMed]
- Kuryashov, D.A.; Philippova, O.E.; Molchanov, V.S.; Bashkirtseva, N.Y.; Diyarov, I.N. Temperature effect on the viscoelastic properties of solutions of cylindrical mixed micelles of zwitterionic and anionic surfactants. Colloid J. 2010, 72, 230–235. [Google Scholar] [CrossRef]
- Dreiss, C.A. Wormlike micelles: Where do we stand? Recent developments, linear rheology and scattering techniques. Soft Matter 2007, 3, 956–970. [Google Scholar] [CrossRef] [PubMed]
- Kumars, R.; Kalur, G.C.; Ziserman, L.; Danino, D.; Raghavan, S.R. Wormlike micelles of a C22-tailed zwitterionic betaine surfactant: From viscoelastic solutions to elastic gels. Langmuir 2007, 23, 12849–12856. [Google Scholar] [CrossRef]
- Speight, J.G. Fracturing Fluids. In Handbook of Hydraulic Fracturing; John Wiley & Sons, Inc.: Hoboken, NJ, USA, 2016; pp. 165–194. [Google Scholar]
- Howard, P.R.; Hinkel, J.J.; Moniaga, N.C. Assessing Formation Damage from Migratory Clays in Moderate Permeability Formations. In Proceedings of the SPE International Symposium and Exhibition on Formation Damage Control, Lafayette, LA, USA, 15–17 February 2012; Volume 2, pp. 898–908. [Google Scholar]
- Maley, D.; Farion, G.; O’Neil, B. Non-Polymeric Permanent Clay Stabilizer for Shale Completions. In Proceedings of the SPE European Formation Damage Conference & Exhibition, Noordwijk, The Netherlands, 5–7 June2013; Volume 2, pp. 840–857. [Google Scholar]
- Savari, S.; Kumar, A.; Whitfill, D.L.; Miller, M.; Murphy, R.J.; Jamison, D.E. Engineered LCM Design Yields Novel Activating Material for Potential Application in Severe Lost Circulation Scenarios. In Proceedings of the North Africa Technical Conference and Exhibition, Cairo, Egypt, 15–17 April 2013; Volume 2, pp. 1226–1235. [Google Scholar]
- API RP 13I. Recommended Practice for Laboratory Testing Drilling Fluids; American Petroleum Institute: Washington, DC, USA, 2020. [Google Scholar]
- Fakoya, M.F.; Shah, S.N. Rheological properties of surfactant-based and polymeric nano-fluids. In Proceedings of the SPE/ICoTA Coiled Tubing & Well Intervention Conference & Exhibition, The Woodlands, TX, USA, 26–27 March 2013; pp. 321–337. [Google Scholar] [CrossRef]
- Rawat, A.; Tripathi, A.; Gupta, C. Case evaluating acid stimulated multilayered well performance in offshore carbonate reservoir: Bombay high. In Proceedings of the Offshore Technology Conference—Asia, Kuala Lumpur, Malaysia, 25–28 March 2014; pp. 2841–2848. [Google Scholar] [CrossRef]
- Niijjaawan, N.; Niijjaawan, R. Modern Approach to Maintenance in Spinning; Woodhead Publishing Limited: Sawston, UK, 2010; ISBN 978-0-85709-000-3. [Google Scholar]













| Fracturing Fluid Type | η 1 at 25 °С for 100 s–1, mPa·с | G′ 2, Pa | G″ 2, Pa | τR, s | ξ, nm | ʋ 3, cm/ min |
|---|---|---|---|---|---|---|
| “Linear” guar gel | 55 | 1.02 | 1.23 | - | - | 18.65 |
| “Cross-linked” guar gel | 760 | 3.11 | 1.28 | 8.23 | 114.09 | 0.24 |
| Non-polymer composition based on VES | 360 | 8.97 | 1.50 | 33.22 | 77.14 | 0.01 |
| Fluid based on synthetic polymer | 90 | 7.57 | 1.80 | 40.71 | 84.07 | 0.10 |
| “Linear” Guar Gel | “Crosslinked” Guar Gel | Non-Polymer Composition Based on VES | Liquid Based on Synthetic Polymer |
|---|---|---|---|
![]() | ![]() | ![]() | ![]() |
| Potassium Chloride Solution 10% | Potassium Chloride Solution 2% | Filtrate of Destroyed “Cross-Linked” Guar Gel | Filtrate of Destroyed Non-Polymer Composition Based on VES | Filtrate of Destroyed Liquid Based on Synthetic Polymer | Distilled Water | |
|---|---|---|---|---|---|---|
| Capillary suction time (CST) | 1 | 4 | 6 | 2 | 3 | 5 |
| Sedimentation stability of the suspension | 1 | 3 | 6 | 2 | 6 | 4 |
| Disintegration test by hot rolling | 4 | 5 | 3 | 1 | 2 | 6 |
| Swelling coefficients by the Zhigach–Yarov method | 3 | 4 | 1 | 2 | 5 | 6 |
| Linear swelling coefficients | 4 | 5 | 1 | 3 | 2 | 6 |
| Average score | 2.6 | 4.2 | 3.4 | 2 | 3.6 | 5.4 |
Publisher’s Note: MDPI stays neutral with regard to jurisdictional claims in published maps and institutional affiliations. |
© 2022 by the authors. Licensee MDPI, Basel, Switzerland. This article is an open access article distributed under the terms and conditions of the Creative Commons Attribution (CC BY) license (https://creativecommons.org/licenses/by/4.0/).
Share and Cite
Mihail, S.; Lyubov, M.; Denis, M.; Polina, K.; Sergei, B.; Andrey, F. Applicability Assessment of Viscoelastic Surfactants and Synthetic Polymers as a Base of Hydraulic Fracturing Fluids. Energies 2022, 15, 2827. https://doi.org/10.3390/en15082827
Mihail S, Lyubov M, Denis M, Polina K, Sergei B, Andrey F. Applicability Assessment of Viscoelastic Surfactants and Synthetic Polymers as a Base of Hydraulic Fracturing Fluids. Energies. 2022; 15(8):2827. https://doi.org/10.3390/en15082827
Chicago/Turabian StyleMihail, Silin, Magadova Lyubov, Malkin Denis, Krisanova Polina, Borodin Sergei, and Filatov Andrey. 2022. "Applicability Assessment of Viscoelastic Surfactants and Synthetic Polymers as a Base of Hydraulic Fracturing Fluids" Energies 15, no. 8: 2827. https://doi.org/10.3390/en15082827
APA StyleMihail, S., Lyubov, M., Denis, M., Polina, K., Sergei, B., & Andrey, F. (2022). Applicability Assessment of Viscoelastic Surfactants and Synthetic Polymers as a Base of Hydraulic Fracturing Fluids. Energies, 15(8), 2827. https://doi.org/10.3390/en15082827





