Structural Optimization of Self-Supporting Rectangular Converging-Diverging Tube Heat Exchanger
Abstract
:1. Introduction
2. Mathematical Model
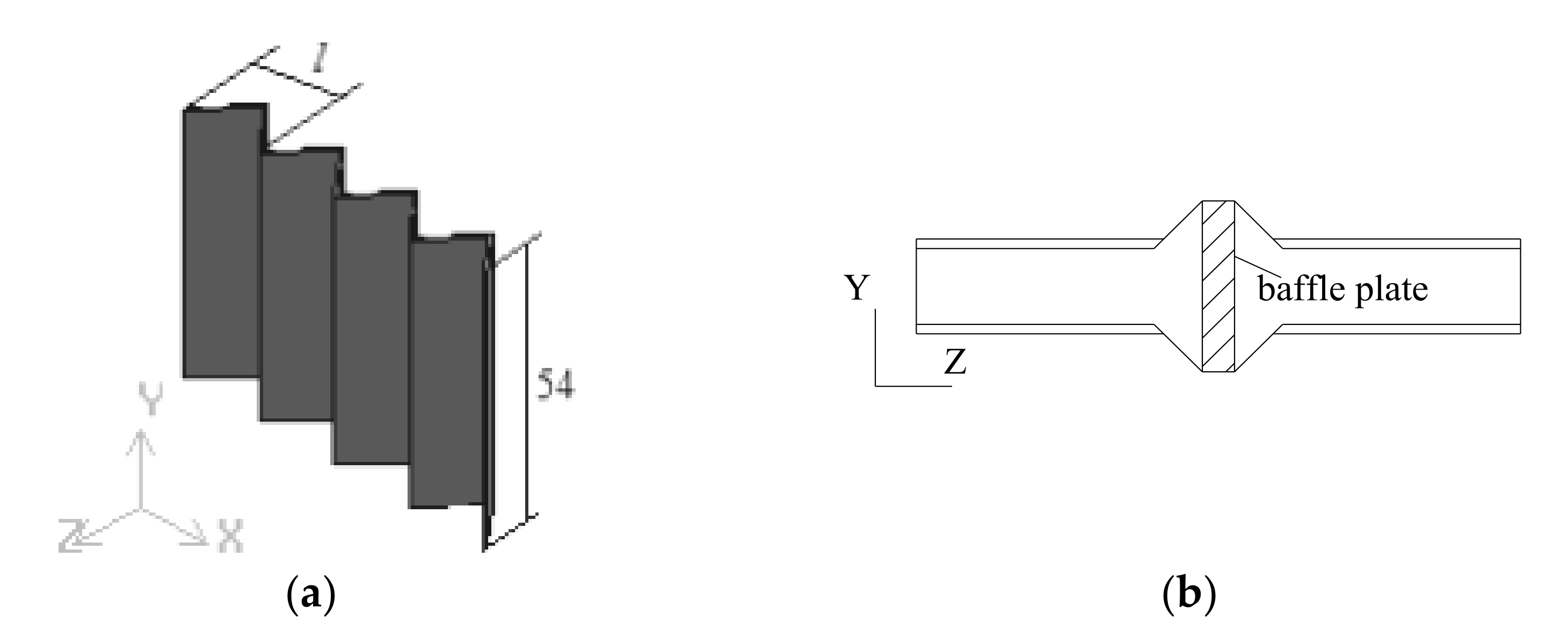
2.1. Physical Model
2.2. Governing Equations and Boundary Conditions
2.3. Solution Procedure
2.4. Numerical Methods
3. Results and Discussion
3.1. Meshing and Simulation Verification
3.2. The Influence of Opening Shape on Heat Transfer and Flow Resistance Performance
3.2.1. The Influence of the Opening Shape on Heat Transfer and Flow Resistance Performance
3.2.2. Analysis of Temperature Distribution and Heat Transfer Performance in the Channel
3.2.3. Analysis of Field Synergy Theory
3.3. The Influence of the Number of Holes on the Heat Transfer and Flow Resistance Performance
3.3.1. Velocity Distribution and Flow Resistance in the Channel
3.3.2. Temperature Distribution and Heat Transfer Performance Analysis in the Channel
3.3.3. Field Synergy Theory Analysis
3.3.4. The Comprehensive Heat Transfer Performance Analysis
4. Conclusions
- (1)
- The baseline configuration (without insert) was compared with two enhanced configurations (with inserts): a one-circle hole in the baffle plate (one-circle case) and a rectangle hole in the baffle plate (one-rectangle case). Compared with the baseline case, the airside Nusselt number (Nu) of the enhanced cases improved by 39.6~48.0% and 36.2~40.2%, with an associated friction factor (f) penalty increase 53.9–66.7% and 60.7–77.8%, respectively.
- (2)
- The baseline case was compared with three enhanced configurations: one-circle case, two-circle case, and three-circle case baffle plate. Compared with the baseline case, Nu of the enhanced cases improved by 39.6–48.0%,36.2–45.4%, and 35.0–44.2%, with an f penalty increase of 53.9–66.7%, 44.9–60.0%, and 43.8–60.0%, respectively. The overall performance was conducted by heat transfer enhancement factor (η). It was found that the one-circle case obtained the best overall performance.
- (3)
- The self-support of rectangular converging-diverging tube bundle heat exchanger greatly improved the load that the heat exchanger plate can bear, that is, it improved the strength of the heat exchanger. Furthermore, the addition of the insert can improve the heat transfer performance. Therefore, this kind of heat exchanger has certain advantages in industrial application.
Author Contributions
Funding
Conflicts of Interest
Nomenclature
| A | total heat transfer surface area (m2) | U | velocity vector |
| Cp | specific heat (J/kg K) | v | velocity in y-direction |
| de | hydraulic diameter (m) | w | velocity in z-direction |
| f | friction factor | Greek symbols | |
| h | heat transfer coefficient (W/m2 K) | the thermal enhancement factor | |
| L | the length of the computation in x-direction (m) | thermal conductivity (W/(m K)) | |
| m | mass flow rate (kg/s) | dynamic viscosity (Pa s) | |
| Nu | Nusselt number | the intersection angle (deg) | |
| Δp | air-side pressure drop (Pa) | density (kg/m3) | |
| Q | heat transfer capacity (W) | Subscripts | |
| Re | Reynolds number | b | baseline case |
| T | temperature (K) | in | inlet parameter |
| ΔT | log mean temperature difference (K) | m | mean value |
| ▽T | temperature gradient | out | outlet parameter |
| u | velocity in x-direction | w | tube wall |
| umax | velocity at the minimum area | ||
References
- Zheng, N.; Yan, F.; Zhang, K.; Zhou, T.; Sun, Z. A review on single-phase convective heat transfer enhancement based on multi-longitudinal vortices in heat exchanger tubes. Appl. Therm. Eng. 2019, 164, 114475. [Google Scholar] [CrossRef]
- Huang, Z.; Nakayama, A.; Yang, K.; Yang, C.; Liu, W. Enhancing heat transfer in the core flow by using porous medium insert in a tube. Int. J. Heat Mass Transf. 2010, 53, 1164–1174. [Google Scholar] [CrossRef]
- Fan, A.; Deng, J.; Nakayama, A.; Liu, W. Parametric study on turbulent heat transfer and flow characteristics in a circular tube fitted with louvered strip inserts. Int. J. Heat Mass Transf. 2012, 55, 5205–5213. [Google Scholar] [CrossRef]
- Zhang, X.; Liu, Z.; Liu, W. Numerical studies on heat transfer and friction factor characteristics of a tube fitted with helical screw-tape without core-rod inserts. Int. J. Heat Mass Transf. 2013, 60, 490–498. [Google Scholar] [CrossRef]
- Yang, D.; Khan, T.S.; Al-Hajri, E.; Ayub, Z.H.; Ayub, A.H. Geometric optimization of shell and tube heat exchanger with interstitial twisted tapes outside the tubes ap- plying CFD techniques. Appl. Therm. Eng. 2019, 152, 559–572. [Google Scholar] [CrossRef]
- Qi, C.; Luo, T.; Liu, M.; Fan, F.; Yan, Y. Experimental study on the flow and heat transfer characteristics of nanofluids in double-tube heat exchangers based on thermal efficiency assessment. Energy Convers. Manag. 2019, 197, 111877. [Google Scholar] [CrossRef]
- Amini, R.; Amini, M.; Jafarinia, A.; Kashfi, M. Numerical investigation on effects of using segmented and helical tube fins on thermal performance and efficiency of a shell and tube heat exchanger. Appl. Therm. Eng. 2018, 138, 750–760. [Google Scholar] [CrossRef]
- Bahiraei, M.; Rahmani, R.; Yaghoobi, A.; Khodabandeh, E.; Mashayekhi, R.; Amani, M. Recent research contributions concerning use of nanofluids in heat exchangers: A critical review. Appl. Therm. Eng. 2018, 133, 137–159. [Google Scholar] [CrossRef]
- Panahi, D.; Zamzamian, K. Heat transfer enhancement of shell-and-coiled tube heat exchanger utilizing helical wire turbulator. Appl. Therm. Eng. 2017, 115, 607–615. [Google Scholar] [CrossRef]
- Ebrahimi, A.; Hosseini, S.M.J.; Ranjbar, A.; Rahimi, M.; Bahrampoury, R. Melting process investigation of phase change materials in a shell and tube heat exchanger enhanced with heat pipe. Renew. Energy 2019, 138, 378–394. [Google Scholar] [CrossRef]
- Dong, Q.; Wang, Y.; Liu, M. Numerical and experimental investigation of shellside characteristics for RODbaffle heat exchanger. Appl. Therm. Eng. 2008, 28, 651–660. [Google Scholar] [CrossRef]
- Zhang, J.-F.; Li, B.; Huang, W.-J.; Lei, Y.-G.; He, Y.-L.; Tao, W.-Q. Experimental performance comparison of shell-side heat transfer for shell-and-tube heat exchangers with middle-overlapped helical baffles and segmental baffles. Chem. Eng. Sci. 2009, 64, 1643–1653. [Google Scholar] [CrossRef]
- Chen, Y.-P.; Sheng, Y.-J.; Dong, C.; Wu, J.-F. Numerical simulation on flow field in circumferential overlap trisection helical baffle heat exchanger. Appl. Therm. Eng. 2013, 50, 1035–1043. [Google Scholar] [CrossRef]
- Jian, W.; Huizhu, Y.; Wang, S.; Xu, S.; Yulan, X.; Tuo, H. Numerical investigation on baffle configuration improvement of the heat exchanger with helical baffles. Energy Convers. Manag. 2015, 89, 438–448. [Google Scholar] [CrossRef]
- Lei, Y.-G.; He, Y.-L.; Chu, P.; Li, R. Design and optimization of heat exchangers with helical baffles. Chem. Eng. Sci. 2008, 63, 4386–4395. [Google Scholar] [CrossRef]
- Peng, B.; Wang, Q.W.; Zhang, C.; Xie, G.N.; Luo, L.Q.; Chen, Q.Y.; Zeng, M. An Experimental Study of Shell-and-Tube Heat Exchangers with continuous helical baffles. J. Heat Transf. 2007, 129, 1425–1431. [Google Scholar] [CrossRef]
- Shirvan, K.M.; Mamourian, M.; Esfahani, J.A. Experimental investigation on thermal performance and economic analysis of cosine wave tube structure in a shell and tube heat exchanger. Energy Convers. Manag. 2018, 175, 86–98. [Google Scholar] [CrossRef]
- Yu, C.; Ren, Z.; Zeng, M. Numerical investigation of shell-side performance for shell and tube heat exchangers with two different clamping type anti-vibration baffles. Appl. Therm. Eng. 2018, 133, 125–136. [Google Scholar] [CrossRef]
- Wang, X.; Zheng, N.; Liu, Z.; Liu, W. Numerical analysis and optimization study on shell-side performances of a shell and tube heat exchanger with staggered baffles. Int. J. Heat Mass Transf. 2018, 124, 247–259. [Google Scholar] [CrossRef]
- Lei, Y.; Li, Y.; Jing, S.; Song, C.; Lyu, Y.; Wang, F. Design and performance analysis of the novel shell-and-tube heat exchangers with louver baffles. Appl. Therm. Eng. 2017, 125, 870–879. [Google Scholar] [CrossRef]
- Ma, L.; Wang, K.; Liu, M.; Wang, D.; Liu, T.; Wang, Y.; Liu, Z. Numerical study on performances of shell-side in trefoil-hole and quatrefoil-hole baffle heat exchangers. Appl. Therm. Eng. 2017, 123, 1444–1455. [Google Scholar] [CrossRef]
- Wang, X.; Liang, Y.; Sun, Y.; Liu, Z.; Liu, W. Experimental and numerical investigation on shell-side performance of a double shell-pass rod baffle heat exchanger. Int. J. Heat Mass Transf. 2019, 132, 631–642. [Google Scholar] [CrossRef]
- Deng, X.H.; He, Z.H.; Zhou, L. Rectangular Tube Bundle Heat Exchanger Adopting Swirl Plate Support and Its Intensified Heat-Conduction Method. CN Patent ZL200710029118.7, 11 July 2007. [Google Scholar]
- Hasim, F.; Yoshida, M.; Miyashita, H. Compound heat transfer enhancement by parallel converging-diverging plate inserted with twisted tapes. J. South China Univ. Technol. 2009, 37, 53–57. [Google Scholar]
- Deng, X.H.; He, Z.H.; Li, Z.W. Self-Supporting Rectangular Zoom Tube Bundle Heat Exchanger and Intensified Heat Transfer Method. CN Patent 200910215974.0, 31 December 2009. [Google Scholar]
- Jiao, F.; Deng, X.H. Heat transfer enhancement in shell side of self-support of rectangle converging-diverging tube bundle heat exchangers with different inserts. Heat Transf. Res. 2012, 43, 615–631. [Google Scholar] [CrossRef]
- Tao, W.Q.; He, Y.L.; Wang, Q.W.; Qu, Z.G.; Song, F.Q. A unified analysis on enhancing single phase convective heat transfer with field synergy principle. Int. J. Heat Mass Transf. 2002, 45, 4871–4879. [Google Scholar] [CrossRef]
- Chu, P.; He, Y.L.; Tao, W.Q. Three-dimensional numerical study of flow and heat transfer enhancement using vortex generators in fin-and-tube heat exchangers. J. Heat Transf. ASME 2009, 131, 091903. [Google Scholar] [CrossRef]
- He, Z.H. Study on Flow Resistance and Heat Transfer in Rectangle Tube Bundle Heat Exchanger; Guangzhou South China University and Technology: Guangzhou, China, 2010; pp. 46–48. [Google Scholar]
- Guo, Z.Y.; Li, D.Y.; Wang, B.X. A novel concept for convective heat transfer enhancement. Int. J. Heat Mass Transf. 1998, 41, 2221–2225. [Google Scholar] [CrossRef]
- Tao, W.Q.; Guo, Z.Y.; Wang, B.X. Field synergy principle for enhancing convective heat transfer—Its extension and numerical verifications. Int. J. Heat Mass Transf. 2002, 45, 3849–3856. [Google Scholar] [CrossRef]



















| Case | Hole Shape | Number of Digging Holes | Digging Hole Size |
|---|---|---|---|
| Baseline case | Without insert | - | - |
| BP case | Baffle plate without a hole | 0 | - |
| 1-Circle case | Round | 1 | R = 6 cm |
| 2-Circle case | Round | 2 | R = 6 cm |
| 3-Circle case | Round | 3 | R = 6 cm |
| 1 Rectangle case | Square | 1 | L = 6 cm |
Publisher’s Note: MDPI stays neutral with regard to jurisdictional claims in published maps and institutional affiliations. |
© 2022 by the authors. Licensee MDPI, Basel, Switzerland. This article is an open access article distributed under the terms and conditions of the Creative Commons Attribution (CC BY) license (https://creativecommons.org/licenses/by/4.0/).
Share and Cite
Jiao, F.; Wang, M.; Hu, M.; He, Y. Structural Optimization of Self-Supporting Rectangular Converging-Diverging Tube Heat Exchanger. Energies 2022, 15, 1133. https://doi.org/10.3390/en15031133
Jiao F, Wang M, Hu M, He Y. Structural Optimization of Self-Supporting Rectangular Converging-Diverging Tube Heat Exchanger. Energies. 2022; 15(3):1133. https://doi.org/10.3390/en15031133
Chicago/Turabian StyleJiao, Feng, Ming Wang, Meilin Hu, and Yongqing He. 2022. "Structural Optimization of Self-Supporting Rectangular Converging-Diverging Tube Heat Exchanger" Energies 15, no. 3: 1133. https://doi.org/10.3390/en15031133
APA StyleJiao, F., Wang, M., Hu, M., & He, Y. (2022). Structural Optimization of Self-Supporting Rectangular Converging-Diverging Tube Heat Exchanger. Energies, 15(3), 1133. https://doi.org/10.3390/en15031133

