Interoperability of Modular Multilevel and Alternate Arm Converters in Hybrid HVDC Systems †
Abstract
1. Introduction
2. Modular VSC Topologies
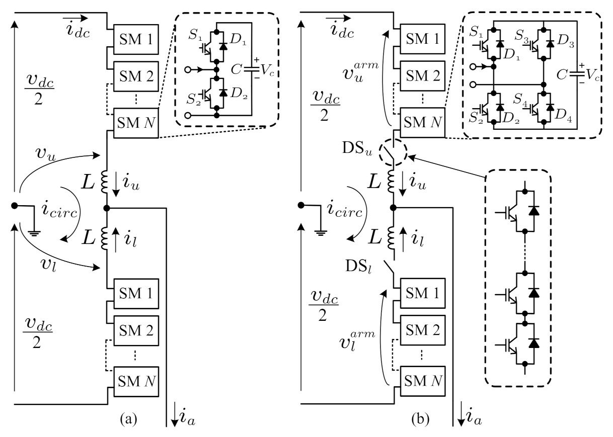
2.1. Modular Multilevel Converters
2.2. Alternate Arm Converters
3. The AAC-MMC Hybrid HVDC System
3.1. AAC Modeling and MMC Equivalence
3.2. HVDC System Control Hierarchy and Structure
4. Verification and Simulation Results
4.1. Steady-State Operation
4.2. Active and Reactive Power Control
4.3. AC Fault Ride Through
4.3.1. SLG Fault at the AAC
4.3.2. Three-Phase Fault at the AAC
4.3.3. Phase-to-Phase Fault at the MMC
4.4. DC Fault Handling Capability
4.5. Discussion
5. Conclusions
Author Contributions
Funding
Institutional Review Board Statement
Informed Consent Statement
Data Availability Statement
Conflicts of Interest
References
- Barnes, M.; Van Hertem, D.; Teeuwsen, S.P.; Callavik, M. HVDC Systems in Smart Grid. Proc. IEEE 2017, 105, 2082–2098. [Google Scholar] [CrossRef]
- Buigues, G.; Valverde, V.; Etxegarai, A.; Eguía, P.; Torres, E. Present and future multiterminal HVDC systems: Current status and forthcoming developments. RE&PQJ 2017, 1, 83–88. [Google Scholar]
- Pang, H.; Wei, X. Research on Key Technology and Equipment for Zhangbei 500kV DC Grid. In Proceedings of the IPEC, Niigata, Japan, 20–24 May 2018; pp. 2343–2351. [Google Scholar] [CrossRef]
- Cwikowski, O.; Wickramasinghe, H.R.; Konstantinou, G.; Pou, J.; Barnes, M.; Shuttleworth, R. MMC DC Fault Protection. IEEE Trans. Power Deliv. 2018, 33, 291–300. [Google Scholar] [CrossRef]
- Adam, G.P. Review of technologies for DC grids—Power conversion, flow control and protection. IET Power Electron. 2019, 12, 1851–1867. [Google Scholar] [CrossRef]
- Merlin, M.M.C.; Green, T.C.; Mitcheson, P.D.; Trainer, D.R.; Critchley, R.; Crookes, W.; Hassan, F. The Alternate Arm Converter: A New Hybrid Multilevel Converter With DC-Fault Blocking Capability. IEEE Trans. Power Deliv. 2014, 29, 310–317. [Google Scholar] [CrossRef]
- Li, G.; Liang, J.; Joseph, T.; An, T.; Lu, J.; Szechtman, M.; Andersen, B.R.; Zhuang, Q. Feasibility and Reliability Analysis of LCC DC Grids and LCC/VSC Hybrid DC Grids. IEEE Access 2019, 7, 22445–22456. [Google Scholar] [CrossRef]
- Gellings, C.W. A globe spanning super grid. IEEE Spectrum 2015, 52, 48–54. [Google Scholar] [CrossRef]
- Rao, H.; Zhou, Y.; Xu, S.; Cai, X.; Cao, W.; Xu, Y.; Ren, C. Key technologies of ultra-high voltage hybrid LCC-VSC MTDC systems. CSEE J. Power Energy Syst. 2019, 5, 365–373. [Google Scholar] [CrossRef]
- Szechtman, M.; Wess, T.; Thio, C.V. A benchmark model for HVDC system studies. In Proceedings of the International Conference on AC and DC Power Transmission, London, UK, 17–20 September 1991; pp. 374–378. [Google Scholar]
- CIGRE Working Group B4.57. Guide for the Development of Models for HVDC Converters in a HVDC Grid; e-cigre: Paris, France, 2014. [Google Scholar]
- Wickramasinghe, H.R.; Konstantinou, G.; Li, Z.; Pou, J. AAC-Based HVDC Model Compatible With the CIGRE B4 DC Grid Test System. IEEE Trans. Power Deliv. 2019, 34, 149–159. [Google Scholar] [CrossRef]
- An, T.; Zhou, X.; Han, C.; Wu, Y.; He, Z.; Pang, H.; Tang, G. A DC grid benchmark model for studies of interconnection of power systems. CSEE J. Power Energy Syst. 2015, 1, 101–109. [Google Scholar] [CrossRef]
- Sun, P.; Arrano-Vargas, F.; Wickramasinghe, H.R.; Konstantinou, G. Benchmark Models for HVDC Systems and DC-Grid Studies. In Proceedings of the ICPES 2019, Perth, Australia, 10–12 December 2019. [Google Scholar]
- Psaras, V.; Emhemed, A.; Adam, G.P.; Burt, G. Investigation of the impact of interoperability of voltage source converters on HVDC grid fault behaviour. In Proceedings of the 15th IET International Conference on AC and DC Power Transmission (ACDC 2019), Coventry, UK, 5–7 February 2019. [Google Scholar]
- Guo, D.; Rahman, M.; Adam, G.; Xu, L.; Emhemed, A.; Burt, G.; Audichya, Y. Interoperability of different VSC topologies in HVDC grids. In Proceedings of the IEEE ACDC-2019, Coventry, UK, 5–7 February 2018. [Google Scholar]
- D’Arco, S.; Endegnanew, A.G.; Guidi, G.; Suul, J.A. Interoperability of Modular Multilevel Converters and 2-level Voltage Source Converters in a Laboratory-Scale Multi-Terminal DC Grid. In Proceedings of the IPEC Niigata-ECCE Asia, Niigata, Japan, 20–24 May 2018; pp. 2003–2010. [Google Scholar] [CrossRef]
- Shen, Z.; Dinavahi, V. Comprehensive Electromagnetic Transient Simulation of AC/DC Grid With Multiple Converter Topologies and Hybrid Modeling Schemes. IEEE Power Energy Technol. Syst. J. 2017, 4, 40–50. [Google Scholar] [CrossRef]
- Adam, G.P.; Finney, S.J.; Williams, B. Interoperability of VSCs in dc grids. IET Gener. Transm. Distrib. 2013, 7, 1310–1317. [Google Scholar] [CrossRef]
- Rudion, K.; Orths, A.; Eriksen, P.B.; Styczynski, Z.A. Toward a Benchmark Test System for the Offshore Grid in the North Sea. In Proceedings of the IEEE PES General Meeting, Minneapolis, MN, USA, 25–29 July 2010; IEEE: Providence, RI, USA, 2010; pp. 1–8. [Google Scholar] [CrossRef]
- Debnath, S.; Jiangchao, Q.; Bahrani, B.; Saeedifard, M.; Barbosa, P. Operation, Control, and Applications of the Modular Multilevel Converter: A Review. IEEE Trans. Power Electron. 2015, 30, 37–53. [Google Scholar] [CrossRef]
- Konstantinou, G.; Pou, J.; Ceballos, S.; Darus, R.; Agelidis, V.G. Switching Frequency Analysis of Staircase-Modulated Modular Multilevel Converters and Equivalent PWM Techniques. IEEE Trans. Power Deliv. 2016, 31, 28–36. [Google Scholar] [CrossRef]
- Darus, R.; Pou, J.; Konstantinou, G.; Ceballos, S.; Picas, R.; Agelidis, V.G. A Modified Voltage Balancing Algorithm for the Modular Multilevel Converter: Evaluation for Staircase and Phase-Disposition PWM. IEEE Trans. Power Electron. 2015, 30, 4119–4127. [Google Scholar] [CrossRef]
- Pou, J.; Ceballos, S.; Konstantinou, G.; Agelidis, V.G.; Picas, R.; Zaragoza, J. Circulating Current Injection Methods Based on Instantaneous Information for the Modular Multilevel Converter. IEEE Trans. Ind. Electron. 2015, 62, 777–788. [Google Scholar] [CrossRef]
- Qingrui, T.; Zheng, X.; Lie, X. Reduced Switching-Frequency Modulation and Circulating Current Suppression for MMC. IEEE Trans. Power Deliv. 2011, 26, 2009–2017. [Google Scholar] [CrossRef]
- Wickramasinghe, H.R.; Konstantinou, G.; Pou, J.; Agelidis, V.G. Interactions Between Indirect DC-Voltage Estimation and Circulating Current Controllers of MMC-Based HVDC Transmission Systems. IEEE Trans. Power Syst. 2018, 33, 829–838. [Google Scholar] [CrossRef]
- Wickramasinghe, H.R.; Konstantinou, G.; Pou, J. Comparison of bipolar sub-modules for the alternate arm converter. Electric Power Syst. Res. 2017, 146, 115–123. [Google Scholar] [CrossRef]
- Farr, E.M.; Feldman, R.; Clare, J.C.; Watson, A.J.; Wheeler, P.W. AAC - Short-Overlap Mode Operation - Analysis and Design Parameter Selection. IEEE Trans. Power Electron. 2018, 33, 5641–5659. [Google Scholar] [CrossRef]
- Merlin, M.M.C.; Sanchez, D.S.; Judge, P.D.; Chaffey, G.; Clemow, P.; Green, T.C.; Trainer, D.R.; Dyke, K.J. The Extended Overlap AAC: A VSC with DC Fault Ride-Through Capability and a Compact Design. IEEE Trans. Power Electron. 2018, 33, 3898–3910. [Google Scholar] [CrossRef]
- Liu, S.; Saeedifard, M.; Wang, X. Zero-current Switching Control of the Alternate Arm HVDC Converter Station with an Extended Overlap Period. IEEE Trans. Ind. Electron. 2018, 1. [Google Scholar] [CrossRef]
- Merlin, M.M.C.; Green, T.C. Cell capacitor sizing in multilevel converters: Cases of the modular multilevel converter and alternate arm converter. IET Power Electron. 2015, 8, 350–360. [Google Scholar] [CrossRef]
- Wickramasinghe, H.R.; Konstantinou, G.; Pou, J. Gradient-Based Energy Balancing and Current Control for Alternate Arm Converters. IEEE Trans. Power Deliv. 2018, 33, 1459–1468. [Google Scholar] [CrossRef]
- Dragon, J.; Beites, L.F.; Callavik, M.; Eichhoff, D.; Hanson, J.; Marten, A.K.; Morales, A.; Sanz, S.; Schettler, F.; Westermann, D.; et al. Development of functional specifications for HVDC grid systems. In Proceedings of the IET ACDC, Birmingham, UK, 10–12 February 2015; pp. 1–8. [Google Scholar] [CrossRef]
- Merlin, M.M.C.; Judge, P.D.; Green, T.C.; Mitcheson, P.D.; Moreno, F.; Dyke, K. Alternate arm converter operation of the modular multilevel converter. In Proceedings of the Energy Conversion Congress and Exposition (ECCE), Pittsburgh, PA, USA, 14–18 September 2014; pp. 1924–1930. [Google Scholar]
- Farr, E.; Feldman, R.; Watson, A.; Clare, J.; Wheeler, P. A sub-module capacitor voltage balancing scheme for the Alternate Arm Converter (AAC). In Proceedings of the Power Electronics and Applications (EPE), 2013 15th European Conference, Lille, France, 2–6 September 2013; pp. 1–10. [Google Scholar]
- Mathew, E.C.; Shukla, A. Modulation, control and capacitor voltage balancing of alternate arm modular multilevel converter with DC fault blocking capability. In Proceedings of the APEC, Fort Worth, TX, USA, 16–20 March 2014; pp. 3329–3336. [Google Scholar]
- Wickramasinghe, H.R.; Konstantinou, G.; Ceballos, S.; Pou, J. Alternate Arm Converter Energy Balancing Under Parameter Variation. IEEE Trans. Power Electron. 2019, 34, 2996–3000. [Google Scholar] [CrossRef]
- Najmi, V.; Burgos, R.; Boroyevich, D. Design and control of modular multilevel alternate arm converter (AAC) with Zero Current Switching of director switches. In Proceedings of the ECCE, Montreal, QC, Canada, 20–24 September 2015; pp. 6790–6797. [Google Scholar]
- Wickramasinghe, H.R.; Konstantinou, G.; Pou, J. Extended ZCS Region of AAC-HVDC Systems through On-Load Tap Changer Coordination. IEEE Trans. Ind. Electron. 2020. [Google Scholar] [CrossRef]
- Hertem, D.V.; Gomis-Bellmunt, O.; Liang, J. Drivers for the development of HVDC grids. In HVDC Grids: For Offshore and Supergrid of the Future; Wiley-IEEE Press: New York, NY, USA, 2016; pp. 528–549. [Google Scholar] [CrossRef]












| Parameter | MMC [11] | AAC [12] |
|---|---|---|
| Rated Power | 800 MVA | 800 MVA |
| DC Voltage | ±200 kV | ±200 kV |
| Number of SMs per arm | 200 | 255 |
| SM Voltage | 2 kV | 1 kV |
| Stored Energy | 30 kJ/MVA | 11 kJ/MVA |
| SM Capacitance | 10 mF | 11.5 mF |
| Arm Inductance (p.u.) | 0.15 | 0.016 |
| Nominal Frequency | 50 Hz | 50 Hz |
| Nominal Operating Point (p.u.) | 0.9 | 1.15 |
| AC Voltage | 380 kV | 380 kV |
| Transformer Resistance (p.u.) | 0.006 | 0.006 |
| Transformer Leakage Inductance (p.u.) | 0.18 | 0.18 |
| Transformer Ratio | 0.995 | 0.778 |
| Short-circuit Power | 30 GVA | 30 GVA |
Publisher’s Note: MDPI stays neutral with regard to jurisdictional claims in published maps and institutional affiliations. |
© 2021 by the authors. Licensee MDPI, Basel, Switzerland. This article is an open access article distributed under the terms and conditions of the Creative Commons Attribution (CC BY) license (http://creativecommons.org/licenses/by/4.0/).
Share and Cite
Wickramasinghe, H.R.; Sun, P.; Konstantinou, G. Interoperability of Modular Multilevel and Alternate Arm Converters in Hybrid HVDC Systems. Energies 2021, 14, 1363. https://doi.org/10.3390/en14051363
Wickramasinghe HR, Sun P, Konstantinou G. Interoperability of Modular Multilevel and Alternate Arm Converters in Hybrid HVDC Systems. Energies. 2021; 14(5):1363. https://doi.org/10.3390/en14051363
Chicago/Turabian StyleWickramasinghe, Harith R., Pingyang Sun, and Georgios Konstantinou. 2021. "Interoperability of Modular Multilevel and Alternate Arm Converters in Hybrid HVDC Systems" Energies 14, no. 5: 1363. https://doi.org/10.3390/en14051363
APA StyleWickramasinghe, H. R., Sun, P., & Konstantinou, G. (2021). Interoperability of Modular Multilevel and Alternate Arm Converters in Hybrid HVDC Systems. Energies, 14(5), 1363. https://doi.org/10.3390/en14051363

