Gas/Liquid and Liquid/Liquid Solvent Extraction in Flow Analysis with the Chromatomembrane Cell
Abstract
:1. Introduction
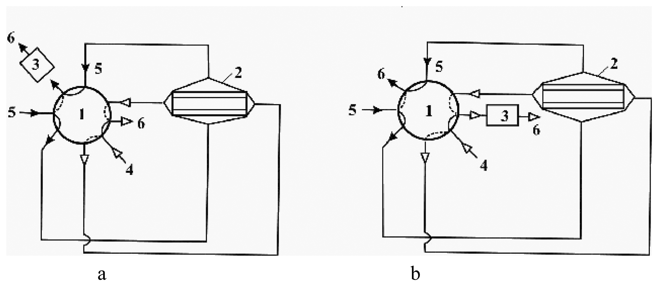
2. The Chromatomembrane Method
3. Application in Analytical Chemistry
3.1 Liquid/liquid solvent extraction
- -
- Chromatomembrane method coupled to photometric detection for the determination of phenol in water (phenol-index, the limit of detection is in the range of 5 μg per liter aqueous phase [8]. (R2 = 0,99 for calibration graph).
- -
- -
- Determination of nitrite traces with chromatomembrane extraction [17]
- -
- Monitoring of PAH and EOX in waste water. Flow based procedures with chromatomembrane cells coupled to gaschromatography and ion-chromatography respectively [18]. (LOD's for PAH: 1 - 2 μg l-1, R2 =0,999, LOD's for EOX: ∼ 0,5 mg l-1, R2 = 0,999, even the simultaneous detection of the three halogens is possible).
- -
- Photometric determination of anionic surfactants by separation from the aqueous phase with the chromatomembrane cell ((MBAS-Index) [19]) (LOD = 20 μg l-1 for dodecylsulfate, R2 = 0,998).
- -
- The chromatomembrane method used for sample preparations in the spectrophotometric determination of zinc and copper in pharmaceuticals (extraction of the Me(PAN)2 complexes) [20]) (LOD's = 40 μg l-1, R2 = 0,996).
3.2 Gas/liquid extraction
3.3 Liquid/gas extraction
4. Conclusion
- -
- small volumes of the contacting phases (100 – 200 μl)
- -
- fast adjustment of distribution equilibria because of the short distances to the phase boundary
- -
- uncomplicated phase separation
- -
- continuous extraction and preconcentration by varying the ratio of flux rates between 1 : 1 and 1 : 100.
- -
- preconcentration by using a “stopped flow mode”
- -
- fully automated sample pretreatment on request, i.e.: process analysis can be realized.
Acknowledgments
References
- Karlberg, B.; Thelander, S. Extraction based on the flow-injection principle: Part I. Description of the extraction system. Anal. Chim. Acta 1978, 98, 1–7. [Google Scholar]
- Bergamin, H.; Medeiros, J.X.; Reis, B.F.; Zagatto, E.A.G. Solvent extraction in continuous flow injection analysis. Anal. Chim. Acta 1978, 101, 9–16. [Google Scholar]
- Karlberg, B. Flow injection in theory and practice. Fresenius Z. Anal. Chem. 1988, 329, 660–662. [Google Scholar]
- Majors, R.E. Current trends and developments in sample preparation. LC GC International 1998, 8–16. [Google Scholar]
- Ruzicka, J.; Scampavia, L. From flow injection to bead injection. Analytical Chemistry News&Features 1999, 257A. [Google Scholar]
- Moskvin, L.N.; Simon, J. Flow injection analysis with the chromatomembrane – a new device for gaseous/liquid and liquid/liquid extraction. Talanta 1994, 41, 1765–1769. [Google Scholar]
- Moskvin, L.N. Chromatomembrane method for the continuous separation of substances. J. Chromatogr. A 1994, 669, 81–87. [Google Scholar]
- Erxleben, H.; Simon, J.; Moskvin, L.N.; Nikitina, T.G. Photometric determination of phenol with a flow-injection analyzer that includes a chromatomembrane-cell for sample preconcentration. J. Flow Injection Anal. 2001, 18, 39–42. [Google Scholar]
- Simon, J.; Moskvin, N.L. Does the chromatomembrane cell improve the quality of environmental analysis? Talanta 1999, 49, 985–988. [Google Scholar]
- Moskvin, N.L.; Moskvin, A.L. Chromatomembrane methods: novel automatization possibilities of substances' separation processes. LRA 1998, 10, 3–13. [Google Scholar]
- Simon, J.; Moskvin, N.L. From three stage procedures to chromatomembrane cells, advanced extraction procedures in flow analysis. Analytical Sciences 2001, 17 (Supplement), i425–i428. [Google Scholar]
- Simon, J.; Bloch, C.; Erxleben, H.; Kirchhoff, A. Die Chromatomembrane-Methode. GIT Spezial – Separation 1999, 1, 20–22. [Google Scholar]
- Erxleben, H.; Simon, J.; Moskvin, L.N.; Vladimirovna, L.O.; Nikitina, T.G. Automized procedures for the determination of ozone and ammonia contents in air by using the chromatomembrane method for gas-liquid extraction. Fresenius J. Anal. Chem. 2000, 366, 332–335. [Google Scholar]
- Wei, Y.; Oshima, M.; Simon, J.; Motomizu, S. The application of the chromatomembrane cell for the adsorptive sampling of nitrogen dioxide followed by continuous determination of nitrite using a micro-flow system. Talanta 2002, 57, 355–364. [Google Scholar]
- Moskvin, A.L.; Moskvin, L.N.; Moszhuchin, A.V.; Fomin, V.V. Extraction-chromatographic preconcentration with chromatomembrane separation of extract from aqueous phase for luminescence determination of oil products and phenols in natural water by flow analysis. Talanta 1999, 50, 113–120. [Google Scholar]
- Moskvin, A.L.; Moskvin, L.N.; Moszhuchin, A.V.; Fomin, V.V. Luminescence determination of oil products and phenols in natural water. J. Anal. Chem. 1999, 54, 324 – ibd. 2000, 55, 354. [Google Scholar]
- Nikonorov, V.V.; Moskvin, N.L. Flow injection determination of nitrite with chromatomembrane extraction preconcentration. J. Anal. Chem. 1998, 53, 948. [Google Scholar]
- Simon, J.; Kirchhoff, A.; Gültzow, O. Advanced sample pretreatment for the monitoring of polycyclic aromatic hydrocarbons and extractable organic halogens in waste water. Flow based procedures with chromatomembrane cells. Talanta 2002, 58, 1335–1341. [Google Scholar]
- Moskvin, L.N.; Simon, J.; Loeffler, P.; Michailova, N.V.; Nicolaevna, D.N. Photometric determination of anionic surfactants with a flow-injection analyzer that includes a chromatomembrane cell for sample preconcentration. Talanta 1996, 43, 819–824. [Google Scholar]
- Supriyanto, G.; Simon, J. The chromatomembrane method used for sample preparations in the spectrophotometric determination of zinc and copper in pharmaceuticals. Talanta 2005, 68, 318–322. [Google Scholar]
- Moskvin, L.N.; Nikitina, T.G. Membrane methods of substance separation in analytical chemistry. J. Anal. Chem. 2004, 59, 2–16. [Google Scholar]
- Loeffler, P.; Simon, J.; Katruzov, A.; Moskvin, N.L. Separation and determination of traces of ammonia in air by means of chromatomembrane cells. Fresenius J. Anal. Chem. 1995, 352, 613–614. [Google Scholar]
- Erxleben, H.; Moskvin, L.N.; Nikitina, T.G.; Simon, J. Determination of small quantities of nitrogen oxides in air by ion chromatography using a chromatomembrane cell for preconcentration. Fresenius J. Anal. Chem. 1998, 361, 324–325. [Google Scholar]
- Erxleben, H.; Simon, J.; Moskvin, L.N.; Vladimirovna, L.O.; Nikitina, T.G. Automized procedures for the determination of ozone and ammonia contents in air by using the chromatomembrane method for gas-liquid extraction. Fresenius J. Anal. Chem. 2000, 366, 332–335. [Google Scholar]
- Rodinkov, O.V.; Moskvin, L.N.; Vaskova, E.A. Photometric flow injection determination of formaldehyde in atmospheric air using chromatomembrane absorption. J. Flow Injection Anal. 2005, 22, 11–17. [Google Scholar]
- Moskvin, L.N.; Bulatov, A.V.; Grigorjev, G.L.; Koldobskij, G.I. Flow-injection photometric determination of arsenic microconcentrations in water media with chromatomembrane cell preconcentration by extraction. J. Flow Injection Anal. 2003, 20, 53–56. [Google Scholar]
- Wei, Y.L.; Oshima, M.; Simon, J.; Motomizu, S. Application of chromatomembrane cell to flow injection analysis of trace pollutant in ambient air. Analytical Sciences 2001, 17 (Suppl.), a325–a328. [Google Scholar]
- Wei, L.; Oshima, M.; Simon, J.; Moskvin, L.N.; Motomizu, S. Absorption, concentration and determination of trace amounts of air pollutants by flow injection method coupled with a chromatomembrane cell system: application to nitrogen dioxide determination. Talanta 2002, 58, 1343–1355. [Google Scholar]
- Sritharathikhun, P.; Oshima, M.; Wei, Y.; Simon, J.; Motomizu, S. On-line collection/ concentration and detection of sulfur dioxide in air by flow injection spectrophotometry coupled with a chromatomembrane cell. Analytical Sciences 2004, 20, 113–118. [Google Scholar]
- Rodinkov, O.V.; Moskvin, L.N.; Rathour, J.K. Features of dynamic chromatomembrane gas extraction from a stationary liquid phase. J. Anal. Chem. 2004, 59, 1073–1078. [Google Scholar]
- Moskvin, L.N.; Rodinkov, O.V. Continuous chromatomembrane headspace analysis. J. Chromatogr. A 1996, 725, 351–359. [Google Scholar]
- Bloch, C.; Simon, J.; Moskvin, N.L.; Rodinkov, O.V. The properties of chromatomembrane cells in flow systems coupled to gas chromatography – analysis of volatile organic compounds. Talanta 2000, 52, 123–128. [Google Scholar]
- Rondinkov, O.V.; Moskvin, N.L.; Zykin, I.A. Gas-chromatographic determination of gaseous hydrocarbons (C1 – C4) in aqueous solution using the continuous chromatomembrane gas extraction from a flow of the test solution. J. Anal. Chem. 2003, 58, 71. [Google Scholar]
- Moskvin, N.L.; Rodinkov, O.V.; Katruzov, A.N.; Grigorjev, G.L.; Khromov-Borisov, S.N. Dissolved oxygen removal from aqueous media by the chromatomembrane method. Talanta 1995, 42, 1707–1710. [Google Scholar]
- Reinke, R.; Simon, J. The online removal of dissolved oxygen from aqueous solutions used in voltammetric techniques by the chromatomembrane method. Anal. Bioanal. Chem. 2002, 374, 1256–1260. [Google Scholar]
- Colombo, C.; van den Berg, C. In-line deoxygenation for flow analysis with voltammetric detection. Anal. Chimica Acta 1998, 337, 229–240. [Google Scholar]
- Higuchi, K.; Motomizu, S. Intelligent devices for advanced chemical analysis using flow injection method. J. Flow Injection Anal. 1999, 16, 183–197. [Google Scholar]
- Higuchi, K. Approach to an improvement on the quality of environmental analysis using chromatomembrane cell. J. Flow Injection Anal. 1999, 16, 267–268. [Google Scholar]
- Kawakubo, S.; Yamane, T. Online separation and concentration in FIA. J. Flow Injection Anal. 2004, 21, 11–18. [Google Scholar]



© 2006 by MDPI ( http://www.mdpi.org). Reproduction is permitted for noncommercial purposes.
Share and Cite
Moskvin, L.N.; Simon, J. Gas/Liquid and Liquid/Liquid Solvent Extraction in Flow Analysis with the Chromatomembrane Cell. Sensors 2006, 6, 1321-1332. https://doi.org/10.3390/s6101321
Moskvin LN, Simon J. Gas/Liquid and Liquid/Liquid Solvent Extraction in Flow Analysis with the Chromatomembrane Cell. Sensors. 2006; 6(10):1321-1332. https://doi.org/10.3390/s6101321
Chicago/Turabian StyleMoskvin, Leonid N., and Juergen Simon. 2006. "Gas/Liquid and Liquid/Liquid Solvent Extraction in Flow Analysis with the Chromatomembrane Cell" Sensors 6, no. 10: 1321-1332. https://doi.org/10.3390/s6101321
APA StyleMoskvin, L. N., & Simon, J. (2006). Gas/Liquid and Liquid/Liquid Solvent Extraction in Flow Analysis with the Chromatomembrane Cell. Sensors, 6(10), 1321-1332. https://doi.org/10.3390/s6101321
