Next Article in Journal
Ovalbumin with Glycated Carboxyl Groups Shows Membrane-Damaging Activity
Next Article in Special Issue
Structural Characterization of Core Region in Erwinia amylovora Lipopolysaccharide
Previous Article in Journal
Tenebrio molitor Larvae Inhibit Adipogenesis through AMPK and MAPKs Signaling in 3T3-L1 Adipocytes and Obesity in High-Fat Diet-Induced Obese Mice
Previous Article in Special Issue
Identification and Characterization of Lipopolysaccharide Induced TNFα Factor from Blunt Snout Bream, Megalobrama amblycephala
 
 
Font Type:
Arial Georgia Verdana
Font Size:
Aa Aa Aa
Line Spacing:
Column Width:
Background:
Article

Comparative Genomics of the Aeromonadaceae Core Oligosaccharide Biosynthetic Regions

Department of Genética, Microbiología y Estadística, Universidad de Barcelona, Diagonal 643, 08071 Barcelona, Spain
*
Author to whom correspondence should be addressed.
Int. J. Mol. Sci. 2017, 18(3), 519; https://doi.org/10.3390/ijms18030519
Submission received: 7 February 2017 / Revised: 23 February 2017 / Accepted: 26 February 2017 / Published: 28 February 2017
(This article belongs to the Special Issue Lipopolysaccharides (LPSs))

Abstract

:
Lipopolysaccharides (LPSs) are an integral part of the Gram-negative outer membrane, playing important organizational and structural roles and taking part in the bacterial infection process. In Aeromonas hydrophila, piscicola, and salmonicida, three different genomic regions taking part in the LPS core oligosaccharide (Core-OS) assembly have been identified, although the characterization of these clusters in most aeromonad species is still lacking. Here, we analyse the conservation of these LPS biosynthesis gene clusters in the all the 170 currently public Aeromonas genomes, including 30 different species, and characterise the structure of a putative common inner Core-OS in the Aeromonadaceae family. We describe three new genomic organizations for the inner Core-OS genomic regions, which were more evolutionary conserved than the outer Core-OS regions, which presented remarkable variability. We report how the degree of conservation of the genes from the inner and outer Core-OS may be indicative of the taxonomic relationship between Aeromonas species.

Graphical Abstract

1. Introduction

Aeromonads are an heterogeneous group of Gram-negative bacteria emerging as important pathogens of both gastrointestinal and extraintestinal diseases in a great evolutionary range of animals: from fish to mammals, including humans [1]. In recent years, as our knowledge about Aeromonas taxonomy, biology and pathogenicity has increased, and the number of reported infections caused by these microorganisms in healthy and immunocompromised patients has also spiked [2]. Despite the fact that, in humans, the most common complications derived from these pathogens are mild and easily tractable, they can present a serious risk in immunocompromised patients, causing severe septicaemia and even death [3]. Therefore, increasing our knowledge on the virulence factors governing aeromonad pathogenicity is of crucial importance to prevent the increasing complications caused by these bacteria.
The virulence and pathogenicity of Aeromonas is multifactorial, varies between species and strains, and has been linked to, among others, toxins, flagella, secretion systems, outer-membrane proteins and capsules, and surface polysaccharides, such as lipopolysaccharides (LPSs) [4]. LPSs, also known as endotoxins, are an integral part of the outer membrane for the great majority of Gram-negative bacteria, covering approximately the 75% of its surface and playing a crucial role on its organization and structure [5]. Although the exposed sections of LPSs are highly variable between species—and sometimes even between strains—LPSs molecules follow the same structural architecture depicted in Figure 1: a hydrophobic lipid component, the lipid A, bound to a hydrophilic polysaccharide [5]. The polysaccharide is composed by the core oligosaccharide (Core-OS), and the more variable O-specific chain (O-antigen), which may be present (Smooth LPS) or not (Rough LPS). The Core-OS can be further subdivided into the inner core and outer core. On the one side, the inner core, containing a high proportion of unusual sugars, predominantly one to three 3-deoxy-d-manno-oct-2-ulosonic acid (Kdo) residues and two or three heptoses (Hep), tends to be evolutionarily conserved within and a taxonomic family or genus, and is the part bound to the lipid A [6]. On the other side, the outer core is usually formed by common sugars—as hexoses and hexosamines—present more variability, and this is the region bound to the O-antigen, if present [6].
While the Aeromonas LPS follows the same architectural pattern as the rest of Gram-negative bacteria, this molecule displays remarkable diversity across species of this genus. We previously reported the molecular structure of the LPS from wild-type A. hydrophila AH-1 [7], A. piscicola AH-3 (formerly A. hydrophila AH-3) [8] and A. salmonicida subsp. salmonicida [9]. Furthermore, we characterized the genes coding for the proteins taking part in the assembly of both the inner and outer LPS core of these species, which are located in three different genomic regions: the wa Regions 1 to 3 [8,9]. Roughly, wa Region 1 contains genes related to the outer core, whereas wa Regions 2 and 3 code for enzymes related to the inner core biosynthesis (Figure 1). To date, the conservation and characterization of these LPS biosynthetic regions, which may be a key factor governing pathogenicity, remains to be studied in the rest of Aeromonadaceae. In this article, we analyse the synteny of the three Core-OS biosynthesis gene clusters across all the publicly available Aeromonas genomes and predict, for the first time, a conserved inner LPS oligosaccharide core substructure in all the species of Aeromonas genus.

2. Results

A total of 170 genomes comprising a variable number of strains and biovars from the Aeromonas species A. allosaccharophila, A. aquatica, A. australiensis, A. bestiarum, A. bivalvium, A. caviae, A. dhakensis, A. diversa, A. encheleia, A. enteropelogenes, A. eucreophila, A. finlandiensis, A. fluvialis, A. hydrophila, A. jandaei, A. lacus, A. media, A. molluscorum, A. piscicola, A. popoffii, A. rivuli, A. salmonicida, A. sanarellii, A. schubertii, A. simiae, A. sobria, A. taiwanensis, A. tecta, A. veronii, and other uncharacterized strains (Aeromonas sp.) were retrieved from the National Center for Biotechnology Information genome database (Available online: https://www.ncbi.nlm.nih.gov/genome/). The complete list of genomes and strains used in this study is available at the Table S1. Using the sequence of the A. hydrophila ATCC7966 TetR, WaaA, and WaaC proteins, we located the wa Regions 1, 2, and 3, respectively, in each of the genome assemblies, thus confirming the conservation of these LPS biosynthetic regions inside Aeromonas.

2.1. Synteny of the wa Regions 2 and 3

The genomic wa Regions 2 and 3 were found in all the Aeromonadaceae genomes studied, highlighting the importance of a conserved inner Core-OS structure in this family. While no differences were found for wa Region 3—the genes waaC and kdkA were found highly conserved next to each other across all Aeromonas genomes studied—we identified four different genomic organizations regarding wa Region 2.
Overall, the synteny of the wa Region 2 gene cluster was predominantly conserved across most of the Aeromonas species, with waaF, waaE, wahF, and waaA positioned sequentially, as we previously described for A. piscicola AH-3 and A. salmonicida (Figure 2).
In the sequenced genomes of A. schubertii, A. diversa, and A. simiae strains, these genes were found split in two regions: waaF and waaE on one genomic site (wa Region 2.1); and wahF and waaA in another (wa Region 2.2) (Figure 2). It is worth mentioning that a fully closed genome from a species with this alternative genomic organization is not publicly available and, given the position of these regions in the ending part of unassembled contigs, we cannot rule out that this genomic distribution may be caused by an artefact in the genomic assembly. Although we did not detect major differences in the gene sequences of A. schubertii and A. diversa, the highly-conserved glycosyltransferase waaE is substituted in A. simiae by a gene which translated protein shows the same β-1-4-glucosyltransferase domain but less than 30% aminoacidic homology with WaaE. We named this gene, found in Aeromonas for the first time, wahX. The number of appearances and degree of conservation of wahX in Aeromonadaceae—together with the rest of genes discussed in this article—can be found in the Table 1.
The gene waaE codes for the l-glycero-d-manno-heptose β-1,4-d-glucosyltransferase, which catalyses the union of a Glc residue to the highly conserved l-α-d-HepI of the inner Core-OS not only in Aeromonas species (as A. piscicola [8] and A. salmonicida [9]), but also in other Enterobacteriaceae as Klebsiella pneumoniae and Serratia marcescens [10]. Thus, the substitution of this gene inside the Aeromonadaceae family is striking. Instead of with the rest of Aeromonas species, the protein sequence of wahX displays high homology with glycosyltransferases of other Proteobacteria, as Methylomarinum and Desulfovibrio. The chemical composition of the Desulfovibrio desulfuricans LPS polysaccharide chain was recently revealed [11], containing residues of Kdo, rhamnose, methylopentose-fucose, 3 hexoses-mannoses, glucose, and galactose, but the structure of this bacterium Core-OS chain, and thus the exact function of wahX, remains unknown for the time being.
We also detected major changes in the wa Region 2 of A. fluvialis, as well as in the evolutionary-related group of A. bivalvium, A. molluscorum, and A. rivuli. As in A. simiae, these species presented wahX instead of waaE. Furthermore, an insertion of six genes in A. fluvialis and four genes in A. bivalvium, A. molluscorum, and A. rivuli, between wahX and wahF was found in these genomes (Figure 2).
The four different subgroups of Aeromonas species as categorized by their wa Region 2 genomic organization correlate well with the asumed evolution of this genus. Colston et al. recently compared the genomes from 56 different strains to revise and improve the phylogenetic and taxonomic relationships between Aeromonas species [12]. Despite that the evolutionary reconstruction of the genus is still not completely resolved and varies depending on the gene set used for the phylogeny, their results clearly defined of eight major monophyletic groups inside Aeromonas. Supporting our findings, A. schubertii, A. diversa, and A. simiae on one side and A. bivalvium, A. molluscorum, and A. rivuli on the other were precisely classified as two of these eight major Aeromonas monophyletic groups.
However, the resemblance between alternative wa Region 2 Types 3 and 4 despite their differential evolutionary position is intriguing. While A. bivalvium, A. molluscorum, and A. rivuli are well-defined evolutionary-related species [13], the A. fluvialis genomic sequence is more related to species of the A. veronii monophyletic group (see [12]) both by DNA-DNA hybridization [14] and by in silico whole genome analyses [12]. Therefore, an in-depth study of horizontal gene transfer between these species may be warranted.

2.2. Synteny of the wa Region 1

Regarding wa Region 1, at least two glycosyltransferases were located next to tetR and hldD in all genomes. The A. diversa 2478-85, A. lacus AE122, A. salmonicida subsp. achromogenes AS03, and A. veronii VBF557 genomes were excluded from the analysis as the assembly of this region in these species was broken between different contigs. Thus, 166 genomes were analysed. Overall, we found considerable variability in the outer core genes of the wa Region 1 cluster across the available Aeromonas genomes, with at least 29 different genomic organizations containing different genes, based in their sequence homology, in the 166 analysed genomes. The complete assignment of wa Region 1 types to each strain can be found at the Table S1.
While the description and characterization of each of the outer LPS core biosynthetic clusters expands far beyond the scope of this article, we can provide a rough set of patterns describing the Aeromonadaceae wa Region 1 derived from our genome analysis, which are summarized in Figure 3. First, the wa Region 1, containing hldD, at least two glycosyltransferases and one gene coding for a protein with an O-antigen ligase domain (i.e., waaL in A. piscicola and A. salmonicida), was found upstream of tetR. We found two exceptions to this pattern: the A. media strains CECT 4232 and WS, which showed only one glycosyltransferase (wahY, characterized below) instead of more; and the species A. fluvialis, A. bivalvium, A. molluscorum, and A. rivuli, in which this genomic region was composed only by hldD and one glycosyltransferase (wahY), while the O-antigen ligase-domain containing gene was located in the previously mentioned genomic insertion of the wa Region 2 (Figure 2).
Despite presenting high sequence variability between species, all the O-antigen ligases from the different wa Region 1 genomic organizations shared 10 aminoacid positions that appear to be critical for its function: four glycines, three arginines, one serine, one tryptophan and one histidine residues (positions 123, 196, 245, 264, 268, 272, 286, 288, 318, and 329 for A. piscicola AH-3 WaaL) (Figure S1a). Furthermore, all putative O-antigen ligases presented between 8 and 11 predicted transmembrane domains, with 10 being the most common prediction (Figure S1b), as is characteristic for lipid-A-core, O-antigen ligases [8,15].
The second pattern that we found is the high conservation of WahA, the protein that links GlcNAc to the LPS outer Core-OS using UDP-GlcNAc as a substrate. A gene coding with a protein with high homology to wahA was found in 153 of the 166 Aeromonas genomes. It was absent in the genomes of A. bivalvium CECT 7113, A. caviae AE398, CECT 4221, and FDAARGOS_76, A. fluvialis LMG 24681, A. media CECT 4232 and WS, A. molluscorum 848, A. rivuli DSM 22539, A. salmonicida Y47, A. simiae CIP 107798, and A. veronii AVNIH1 and AVNIH2. Interestingly though, all these genomes shared the presence of a common glycosyltransferase next to hldD with high homology to others from Vibrio coralliilyticus. We named this gene wahY, and it was not present in any of Aeromonas genomes with wahA. Interestingly, wahY was presend in all the species with a wa Region 2 of the newly-described Types 3 and 4.
The importance of WahA remains in its bifunctional nature: it has two domains, one glycosyltransferase domain that catalyses the incorporation of GlcNAc to the LPS outer Core-OS; and one carbohydrate esterase domain deacetylates the GlcNAc residue to GlcN [16]. The gene wahA, is not only conserved in Aeromonas, but also in Vibrio cholerae and shilonii species. Thus, its substitution for wahY, which is annotated as type I glycosyltransferase in the online databases but shows no protein domains, technically negates the characteristic presence of GlcN in the outer Core-OS of these species.
Thirdly, the presence in the wa Region 1 of all genomes with wahA of a glycosyltransferase belonging to the inner LPS Core-OS biosynthesis. More importantly, when present in the genome, this gene was always found delimiting the end of the wa Region 1 cluster. We found two different gene sequences based on their homology: those that displayed high homology with wahE and were positioned contrary to the hldD direction; and those that displayed high homology to an uncharacterized glycosyltransferase, which we named wahZ, and were positioned in the same direction as hldD. Given the exclusivity of each of these genes in the genomes, we hypothesize that both genes code for a protein that catalyse the union of a carbohydrate (HepIV in the case of wahE) in the same position of the l-α-d-HepI.
An homolog of wahE was found on 101 of the 153 genomes with wahA, comprising the species A. aquatica, A. bestiarum, A. caviae, A. dhakensis, A. encheleia, A. enteropelogenes, A. eucreophila, A. hydrophila, A. jandaei, A. media, A. piscicola, A. popoffii, A. salmonicida, A. sanarellii, A. schubertii, A. taiwanensis, A. tecta, and some undefined sp. strains; while wahZ was found in 52 of the 153 genomes, comprising the species A. allosaccharophila, A. australiensis, A. diversa, A. enteropelogenes, A. finlandiensis, A. jandaei, A. sobria, A. veronii, and a few undefined Aeromonas sp. strains. In consequence, the presence of wahZ seems to be a defining characteristic of the A. veronii monophyletic group described by Colston et al. [12].

Most Common wa Region 1 Genomic Organizations and Notable Inconsistencies

A schematic representation of the six most common gene organizations for wa Region 1, depicting 122 of the 170 genomes, can be found at Figure 4. The most common wa Region 1 genomic structure, or Type 1, was the one described for A. piscicola AH-3 [8]. We found this organization in the genomes of the species A. bestiarum, A. dhakensis, A. hydrophila, A. piscicola, and A. schubertii. The second type of wa Region 1 (Type 2) that we found was that of A. salmonicida, including the subspecies masoucida, salmonicida, and smithia, but not pectinolytica or achromogenes. A group of A. caviae and A. media species, together with A. aquatica and A. sanarelli also showed common genes for this genomic region, which we assigned Type 3. The second most common genomic organization for this cluster, Type 4, comprised 23 different A. veronii strains, A. australiensis, and A. jandaei. The Type 5 wa Region 1—assigned to the genomic cluster found in A. enteropelogenes and A. finlandensis species—and Type 6—in A. popoffi—highlight the high recombination capacity of this region in the genus: both types present the same genomic architecture and high homology percentage between the genes, but wahZ is found in the Type 5 while wahE is found in the Type 6 wa Region 1.
Our results at the genomic level largely agree with the presumed evolution of the Aeromonas genus, and are corroborated by the published reports regarding LPS structure in the aforementioned species. For example, A. bestiarum presents the same wa Region 1 Type 1 than A. hydrophila and A. piscicola, and the mass spectrometry of the Core-OS from A. bestiarum Strain K296 (serotype O18) shows the identical Hep6Hex1HexN1Kdo1P1 structure that we characterized for A. piscicola AH-3 and A. hydrophila AH-1 [7,17]. Similarly, although the genome of the strain A. veronii strain Bs19 (serotype O16), is not available, the LPS chemical structure of this strain is Hep5Hex3HexN1Kdo1P1, that is, one more carbohydrate than the ones described for the Type 1 wa Region 1 [18]. Coinciding, the wa Region 1 of the majority of A. veronii (Type 4) is composed by one more gene than the ones described for Type 1. Moreover, given the chemical structure, we hypothesize that wahZ catalyses the union of a hexose to HepI.
However, the previous description of these wa Region 1 organizations also arise notable inconsistencies between taxonomic classifications in some species. Beyond the species mentioned above, the wa Region 1 Type 1 was also found the strains A. enteropelogenes LK14 (that according to the rest of A. enteropelogenes strains should be of Type 5), A. jandaei L14h (Type 4), and A. salmonicida strains CBA100 and subsp. pectonolytica 34meI (both Type 2). Of note, we previously pointed out that A. salmonicida subsp. pectinolytica presented a different outer LPS Core-OS than the rest of A. salmonicida species and similar to A. hydrophila, supporting this exception [19].
Similarly, A. hydrophila 4AK4 and A. hydrophila BWH65 present a Type 3 wa Region 1 instead of the Type 1 common for the rest of A. hydrophila species. A. hydrophila 4AK4 shows extreme resemblance to A. caviae (also Type 3 for some strains) in many areas, such as the—almost exclusive in aeromonads—production of poly(3-hydroxybutyrate-co-3-hydroxyhexanoate) [20] and the higher sequence homology of virulence factors to A. caviae than A. hydrophila [21]. In fact, A. hydrophila 4AK4 shows low average nucleotide identity (ANI) values with A. hydrophila and has been proposed to be a novel species relative to A. media [22], also represented in the Type 3 wa Region 1 organization. Likewise, A. hydrophila BWH65 shows high genome homology with A. hydrophila 4AK4, and both are found in the same branch as Aeromonas SSU (recently reclassified as A. dhakensis SSU) in the genomic blast-based dendogram of the A. hydrophila webpage in the NCBI genomes (Available online: https://www.ncbi.nlm.nih.gov/genome/1422).
Of note, notable variability between these regions was found in the species A. veronii, A. caviae, and A. media, which may indicate a higher recombination capacity or taxonomic nomenclature inconsistencies in this species.

2.3. Reconstruction of the Common Aeromonas Inner LPS Core-OS

Using the above information, we could reconstruct a common LPS inner core in the entire Aeromonas genus composed by three l-α-d-Heptoses and one α-Kdo-P, based on the conserved genes kdkA, waaA, waaC, waaF, and wahF (Figure 5). Moreover, with the exception of the species A. bivalvium, A. molluscorum, A. rivuli, A. fluvialis, and A. simiae, waaE was also found in all genomes. Similarly, only in eight strains (A. caviae strains AE398, CECT4221, and FDAARGOS76; A. media strains CECT 4232 and WS; A. salmonicida Y47; and A. veronii strains AVNIH1 and AVNIH2) more than in the aforementioned five species wahA was not found in the genome—all of them presented wahY. Thus, we consider waaE and wahA as highly conserved genes in aeromonads, and in consequence a high conservation of the hexose β-1,4-Glc linked to HepI, and of the α-1,7-GlcN linked to HepIII in the aeromonad LPS core (Figure 5). Furthermore, we found wahE to be well conserved across most of Aeromonas species except in the A. veronii monophyletic group, which presented the gene wahZ instead, suggesting that they may act in the carbohydrate same position.
Finally, it is worth mentioning that the absence of typical outer core homologs (as wahB/wasB, wahD/wasD) and waaE in A. bivalvium, A. fluvialis, A. molluscorum, A. rivuli, and A. simiae, suggests that either these species do not present O-antigen or their whole outer Core-OS may be entirely different than in the rest of Aeromonas. The presence O-antigen ligase domain-containing protein with similar homology in the wa Region 1 on A. simiae and wa Region 2 gene insertions of A. bivalvium, A. fluvialis, A. molluscorum, and A. rivuli supports the latter. To prove the presence of O-antigen in these species, we analysed the LPS profile gel of the species A. hydrophila AH-1, A. piscicola AH-3, and A. bivalvium 868ET by SDS-PAGE (Figure 6). The LPS profile gel confirmed the presence of O-antigen in A. bivalvium (and therefore, probably in the other species questioned) as well as a considerable difference in the LPS Core-OS size.

3. Discussion

Aeromonas are a ubiquitous, rod-shaped and flagellated genus of Gram-negative bacteria emerging as important animal pathogens, especially in mammals and fish. Despite once being subdivided into solely two subgroups, mesophilic (A. hydrophila) and psychrophilic (A. salmonicida) aeromonads [1], there are currently dozens of characterized Aeromonas species in the literature, not including subspecies or biovars (Available online: http://www.bacterio.net/aeromonas.html for a complete list).
However, the taxonomic and phylogenetic relationships of many of these species are still today a matter of debate: practical evidence for some of these species is still lacking [1]; different names have been found to be synonyms for the same species (e.g., A. enteropelogenes and A. trota [23,24]; and A. culicicola, A. ichthiosmia and A. veronii [23]); characterized species have been reclassified outside the Aeromonas genus (as A. sharmana [25]); and, historically, misclassifications in this family have been usual (e.g., A. hydrophila AH-3 was recently reclassified into A. piscicola AH-3 [26]). This taxonomic classification problem is further exacerbated by a considerably high genetic homologous recombination rate and horizontal gene transfer capacity, which in fact has been demonstrated to be an important driving force in the evolution of aeromonads [27]. When taking all of this together, it is not difficult to understand why the evolutionary reconstruction of this family is still not resolved. The importance of a correct classification of Aeromonas species resides not only in correctly knowledge of taxonomic evolution, but also in studying the pathogenic source and potential of Aeromonas species and strains.
As the virulence of Aeromonas species is multifactorial and depends on the specific virulence factors present on each strain as well as on environmental conditions [4], the description of common processes governing aeromonad pathogenicity is of crucial importance. The LPS, an important component of the Gram-negative membrane present in all aeromonads, also plays a key role in the adhesion and infectivity process, thus directly affecting their pathogenicity. Therefore, the study of the specific LPS biosynthesis routes and structure may be further exploited in, for example, the search for common treatments against Aeromonas species or specific inhibitors for characteristic strains. To this end, in this study, we compared the genomic structure of the three described locus for the LPS Core-OS biosynthesis—wa Regions 1, 2, and 3—in all publicly available Aeromonas genomes, covering 170 strains spawning 30 different Aeromonas species to study their degree of conservation.
As expected, the genes and genomic organizations of the inner core regions were more evolutionary conserved than the outer core region, but adding to our previously characterized wa Region 2 in A. piscicola and A. salmonicida, we describe three new genomic organizations for these regions affecting the species A. bivalvium, A. diversa, A. fluvialis, A. molluscorum, A. rivuli, A. schubertii, and A. simiae.
In contrast, the outer Core-OS biosynthetic region presented remarkable variability within Aeromonas. In fact, hldD (formerly rfaB, coding for ADP-l-glycero-d-manno-heptose 6-epimerase) was the only common gene of the wa Region 1 that we could locate in all analysed genomes. Therefore, we consider hldD as a good marker for wa Region 1 position. Despite the differences between species, we also found a gene coding for a O-antigen ligase domain-containing protein and at least two glycosyltransferases in the wa Region 1 of all Aeromonas species except A. bivalvium, A. fluvialis, A. molluscorum, and A. rivuli. We also detected high degree of conservation of wahA (in 154 of the 166 genomes analysed for wa Region 1), and the common presence of wahY in the 12 species lacking this gene (Table 1). Similar exclusivity patterns were found between wahE and wahZ, which appears to be an exclusive marker of the A. veronii monophyletic group. Furthermore, our results are supported by both genome-wide phylogenetic and chemical mass spectrometry studies in the literature.
We report that, while horizontal gene transfer—not involving only Aeromonas species but also other proteobacteria—seems to be a potential key process for the evolution of this regions, the genes of the LPS Core-OS are considerably well conserved throughout Aeromonas evolution. Therefore, these genomic regions can be useful when studying the taxonomic relationships between Aeromonas species.
Our study found notable inconsistencies between the conservation of the genomic organization and the taxonomy of specific strains, such as A. enteropelogenes LK14, A. hydrophila strains 4AK4 and BWH65, A. jandaei L14h, and A. salmonicida strains CBA100 and subsp. pectonolytica 34meI. Given that extensive scrutiny of at least two of these strains arise important criticism and suspicion about their taxonomic classification, an in-depth study of this species taxonomic classification may be necessary.
Finally, the recent reclassifications of several Aeromonas hydrophila species, as A. hydrophila AH-3 (now A. piscicola AH-3), led recently to a serious questioning if previous research involving pathogenic factors on strains of now different Aeromonas species was still applicable to A. hydrophila [28]. The results from this study support that the LPS Core-OS from A. hydrophila is identical to that of A. piscicola, and thus previous research regarding this virulence factor should be applicable to A. hydrophila.

4. Materials and Methods

We retrieved the 170 different genomes for the Aeromonas genus available on NCBI Genome website as of September 2016 (Table S1), regardless of their assembly completeness. To roughly locate the position of the LPS core biosynthetic regions in the genomes, we performed a local tblastn of A. hydrophila ATCC7966 tetR (wa Region 1), waaA (wa Region 2), and waaC (wa Region 3) in each genome assembly. Due to the incomplete annotation of some of the analysed genomes, the 16,000 bp region upstream of tetR, 10,000 bp region upstream of waaA, and 5,000 bp region downstream of waaC were reannotated in each genome. Gene prediction was performed with Glimmer v.3.0.2 [29] and hand-curated. Comparison of the genetic regions was performed using the CloVR Comparative Pipeline [30] and explored using Sybil [31].
The predicted protein sequence of one arbitrarily selected O-antigen ligase from each wa Region 1 genomic organization was retrieved and aligned with MUSCLE [32]. Prediction of the transmembrane domains was performed with TMHMM Server v2.0 [33].
Cultures of A. hydrophila AH-1, A. piscicola AH-3 and A. bivalvium 868ET where grown overnight in Tryptic Soy Agar at 30 °C, except for A. piscicola AH-3 which was grown at 25°C. LPS was obtained after proteinase K digestion of whole cells, separated by SDS-PAGE and visualized by silver staining as previously published [16].

5. Conclusions

We compared the LPS biosynthetic regions from 170 Aeromonas genomes and analysed the conservation of the genes taking part in the assembly of this cell-wall component. We describe high conservation of the genes related to the inner Core-OS biosynthesis, with only one organization for wa Region 3 and 4 different genomic organizations regarding the wa Region 2; and remarkable variability in the wa Region 1, composed roughly by genes affecting the outer Core-OS. Besides describing a common LPS Core-OS structure of all the Aeromonas sequenced to date, we also report how these regions can be useful for establishing evolutionary relationships between species.

Supplementary Materials

Supplementary materials can be found at www.mdpi.com/1422-0067/18/3/519/s1.

Acknowledgments

This work was partially funded by BIO2016-80329-P from the Spanish Ministerio de Economía y Competitividad, and from the Generalitat de Catalunya (Centre de Referència en Biotecnologia). We thank Maite Polo for her technical assistance and the Servicios Científico-Técnicos from the University of Barcelona.

Author Contributions

Gabriel Forn-Cuní, Susana Merino, and Juan M. Tomas conceived, designed, and performed the experiments; analysed the data; and wrote the paper.

Conflicts of Interest

The authors declare no conflict of interest.

Abbreviations

LPSLipopolysaccharide
Core-OSCore-OligoSaccharide
Kdo3-Deoxy-d-manno-oct-2-ulosonic acid
OALDCO-antigen Ligase Domain Containing gene
ANIAverage Nucleotide Identity

References

  1. Janda, J.M.; Abbott, S.L. The genus Aeromonas: Taxonomy, pathogenicity, and infection. Clin. Microbiol. Rev. 2010, 23, 35–73. [Google Scholar] [CrossRef] [PubMed]
  2. Igbinosa, I.H.; Igumbor, E.U.; Aghdasi, F.; Tom, M.; Okoh, A.I. Emerging Aeromonas species infections and their significance in public health. Sci. World J. 2012. [Google Scholar] [CrossRef] [PubMed]
  3. Parker, J.L.; Shaw, J.G. Aeromonas spp. clinical microbiology and disease. J. Infect. 2011, 62, 109–118. [Google Scholar] [CrossRef] [PubMed]
  4. Tomás, J.M. The main Aeromonas pathogenic factors. ISRN Microbiol. 2012, 2012, 256261. [Google Scholar] [CrossRef] [PubMed]
  5. Aquilini, E.; Tomás, J.M. Lipopolysaccharides (Endotoxins). In Reference Module in Biomedical Sciences; Caplan, M.J., Ed.; Elsevier: Amsterdam, The Netherlands, 2015. [Google Scholar]
  6. Holst, O. The structures of core regions from enterobacterial lipopolysaccharides—An update. FEMS Microbiol. Lett. 2007, 271, 3–11. [Google Scholar] [CrossRef] [PubMed]
  7. Merino, S.; Canals, R.; Knirel, Y.A.; Tomás, J.M. Molecular and chemical analysis of the lipopolysaccharide from Aeromonas hydrophila strain AH-1 (Serotype O11). Mar. Drugs 2015, 13, 2233–2249. [Google Scholar] [CrossRef] [PubMed]
  8. Jimenez, N.; Canals, R.; Lacasta, A.; Kondakova, A.N.; Lindner, B.; Knirel, Y.A.; Merino, S.; Regué, M.; Tomás, J.M. Molecular analysis of three Aeromonas hydrophila AH-3 (serotype O34) lipopolysaccharide core biosynthesis gene clusters. J. Bacteriol. 2008, 190, 3176–3184. [Google Scholar] [CrossRef] [PubMed]
  9. Jimenez, N.; Lacasta, A.; Vilches, S.; Reyes, M.; Vazquez, J.; Aquillini, E.; Merino, S.; Regué, M.; Tomás, J.M. Genetics and proteomics of Aeromonas salmonicida lipopolysaccharide core biosynthesis. J. Bacteriol. 2009, 191, 2228–2236. [Google Scholar] [CrossRef] [PubMed]
  10. Izquierdo, L.; Abitiu, N.; Coderch, N.; Hita, B.; Merino, S.; Gavin, R.; Tomás, J.M.; Regué, M. The inner-core lipopolysaccharide biosynthetic waaE gene: Function and genetic distribution among some Enterobacteriaceae. Microbiology 2002, 148, 3485–3496. [Google Scholar] [CrossRef] [PubMed]
  11. Lodowska, J.; Wolny, D.; Jaworska-Kik, M.; Kurkiewicz, S.; Dzierżewicz, Z.; Węglarz, L. The chemical composition of endotoxin isolated from intestinal strain of Desulfovibrio desulfuricans. Sci. World J. 2012. [Google Scholar] [CrossRef] [PubMed]
  12. Colston, S.M.; Fullmer, M.S.; Beka, L.; Lamy, B.; Gogarten, J.P.; Graf, J. Bioinformatic genome comparisons for taxonomic and phylogenetic assignments using Aeromonas as a test case. MBio 2014, 5, e02136. [Google Scholar] [CrossRef] [PubMed]
  13. Figueras, M.J.; Alperi, A.; Beaz-Hidalgo, R.; Stackebrandt, E.; Brambilla, E.; Monera, A.; Martinez-Murcia, A.J. Aeromonas rivuli sp. nov., isolated from the upstream region of a karst water rivulet. Int. J. Syst. Evol. Microbiol. 2011, 61, 242–248. [Google Scholar] [CrossRef] [PubMed]
  14. Alperi, A.; Martínez-Murcia, A.J.; Monera, A.; Saavedra, M.J.; Figueras, M.J. Aeromonas fluvialis sp. nov., isolated from a Spanish river. Int. J. Syst. Evol. Microbiol. 2010, 60, 72–77. [Google Scholar] [CrossRef] [PubMed]
  15. Abeyrathne, P.D.; Daniels, C.; Poon, K.K.H.; Matewish, M.J.; Lam, J.S. Functional characterization of WaaL, a ligase associated with linking O-antigen polysaccharide to the core of Pseudomonas aeruginosa lipopolysaccharide. J. Bacteriol. 2005, 187, 3002–3012. [Google Scholar] [CrossRef] [PubMed]
  16. Jimenez, N.; Vilches, S.; Lacasta, A.; Regué, M.; Merino, S.; Tomás, J.M. A bifunctional enzyme in a single gene catalyzes the incorporation of GlcN into the Aeromonas core lipopolysaccharide. J. Biol. Chem. 2009, 284, 32995–33005. [Google Scholar] [CrossRef] [PubMed]
  17. Turska-Szewczuk, A.; Lindner, B.; Komaniecka, I.; Kozinska, A.; Pekala, A.; Choma, A.; Holst, O. Structural and immunochemical studies of the lipopolysaccharide from the fish pathogen, Aeromonas bestiarum strain K296, serotype O18. Mar. Drugs 2013, 11, 1235–1255. [Google Scholar] [CrossRef] [PubMed]
  18. Turska-Szewczuk, A.; Duda, K.A.; Schwudke, D.; Pekala, A.; Kozinska, A.; Holst, O. Structural studies of the lipopolysaccharide from the fish pathogen Aeromonas veronii strain Bs19, serotype O16. Mar. Drugs 2014, 12, 1298–1316. [Google Scholar] [CrossRef] [PubMed]
  19. Merino, S.; Tomás, J.M. The Aeromonas salmonicida Lipopolysaccharide Core from Different Subspecies: The Unusual subsp. pectinolytica. Front. Microbiol. 2016, 7, 125. [Google Scholar] [CrossRef] [PubMed]
  20. Han, J.; Qiu, Y.-Z.; Liu, D.-C.; Chen, G.-Q. Engineered Aeromonas hydrophila for enhanced production of poly(3-hydroxybutyrate-co-3-hydroxyhexanoate) with alterable monomers composition. FEMS Microbiol. Lett. 2004, 239, 195–201. [Google Scholar] [CrossRef] [PubMed]
  21. Gao, X.; Jian, J.; Li, W.-J.; Yang, Y.-C.; Shen, X.-W.; Sun, Z.-R.; Wu, Q.; Chen, G.-Q. Genomic study of polyhydroxyalkanoates producing Aeromonas hydrophila 4AK4. Appl. Microbiol. Biotechnol. 2013, 97, 9099–9109. [Google Scholar] [CrossRef] [PubMed]
  22. Beaz-Hidalgo, R.; Hossain, M.J.; Liles, M.R.; Figueras, M.-J. Strategies to avoid wrongly labelled genomes using as example the detected wrong taxonomic affiliation for aeromonas genomes in the GenBank database. PLoS ONE 2015, 10, e0115813. [Google Scholar]
  23. Collins, M.D.; Martinez-Murcia, A.J.; Cai, J. Aeromonas enteropelogenes and Aeromonas ichthiosmia are identical to Aeromonas trota and Aeromonas veronii, respectively, as revealed by small-subunit rRNA sequence analysis. Int. J. Syst. Bacteriol. 1993, 43, 855–856. [Google Scholar] [CrossRef] [PubMed]
  24. Huys, G.; Denys, R.; Swings, J. DNA-DNA reassociation and phenotypic data indicate synonymy between Aeromonas enteropelogenes Schubert et al. 1990 and Aeromonas trota Carnahan et al. 1991. Int. J. Syst. Evol. Microbiol. 2002, 52, 1969–1972. [Google Scholar] [CrossRef] [PubMed]
  25. Martínez-Murcia, A.J.; Figueras, M.J.; Saavedra, M.J.; Stackebrandt, E. The recently proposed species Aeromonas sharmana sp. nov., isolate GPTSA-6T, is not a member of the genus Aeromonas. Int. Microbiol. 2007, 10, 61–64. [Google Scholar] [PubMed]
  26. Beaz-Hidalgo, R.; Alperi, A.; Figueras, M.J.; Romalde, J.L. Aeromonas piscicola sp. nov., isolated from diseased fish. Syst. Appl. Microbiol. 2009, 32, 471–479. [Google Scholar] [CrossRef] [PubMed]
  27. Ghatak, S.; Blom, J.; Das, S.; Sanjukta, R.; Puro, K.; Mawlong, M.; Shakuntala, I.; Sen, A.; Goesmann, A.; Kumar, A.; et al. Pan-genome analysis of Aeromonas hydrophila, Aeromonas veronii and Aeromonas caviae indicates phylogenomic diversity and greater pathogenic potential for Aeromonas hydrophila. Antonie Van Leeuwenhoek 2016, 109, 945–956. [Google Scholar] [CrossRef] [PubMed]
  28. Rasmussen-Ivey, C.R.; Figueras, M.J.; McGarey, D.; Liles, M.R. Virulence Factors of Aeromonas hydrophila: In the Wake of Reclassification. Front. Microbiol. 2016, 7, 1337. [Google Scholar] [CrossRef] [PubMed]
  29. Delcher, A.L.; Bratke, K.A.; Powers, E.C.; Salzberg, S.L. Identifying bacterial genes and endosymbiont DNA with Glimmer. Bioinformatics 2007, 23, 673–679. [Google Scholar] [CrossRef] [PubMed]
  30. Angiuoli, S.V.; Matalka, M.; Gussman, A.; Galens, K.; Vangala, M.; Riley, D.R.; Arze, C.; White, J.R.; White, O.; Fricke, W.F. CloVR: A virtual machine for automated and portable sequence analysis from the desktop using cloud computing. BMC Bioinform. 2011, 12, 356. [Google Scholar] [CrossRef] [PubMed]
  31. Riley, D.R.; Angiuoli, S.V.; Crabtree, J.; Dunning Hotopp, J.C.; Tettelin, H. Using Sybil for interactive comparative genomics of microbes on the web. Bioinformatics 2012, 28, 160–166. [Google Scholar] [CrossRef] [PubMed]
  32. Edgar, R.C. MUSCLE: Multiple sequence alignment with high accuracy and high throughput. Nucleic Acids Res. 2004, 32, 1792–1797. [Google Scholar] [CrossRef] [PubMed]
  33. Krogh, A.; Larsson, B.; von Heijne, G.; Sonnhammer, E.L. Predicting transmembrane protein topology with a hidden Markov model: Application to complete genomes. J. Mol. Biol. 2001, 305, 567–580. [Google Scholar] [CrossRef] [PubMed]
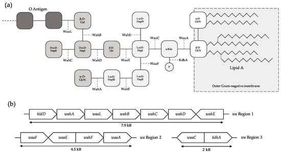
Figure 1. Structure and genomic organization of the Aeromonas piscicola AH-3 lipopolysaccharide (LPS). (a) Chemical structure of the A. piscicola AH-3 LPS. From clearer to darker, the carbohydrates of the inner core oligosaccharide, outer core oligosaccharide, and O-antigen (only the first two molecules) are shown. The name of the proteins catalysing each reaction is shown in each link between components; and (b) Genomic organization of the A. piscicola AH-3 genes coding for the proteins taking part in the LPS biosynthesis.
Figure 1. Structure and genomic organization of the Aeromonas piscicola AH-3 lipopolysaccharide (LPS). (a) Chemical structure of the A. piscicola AH-3 LPS. From clearer to darker, the carbohydrates of the inner core oligosaccharide, outer core oligosaccharide, and O-antigen (only the first two molecules) are shown. The name of the proteins catalysing each reaction is shown in each link between components; and (b) Genomic organization of the A. piscicola AH-3 genes coding for the proteins taking part in the LPS biosynthesis.
Ijms 18 00519 g001
Figure 2. Comparison of the wa Region 2 in Aeromonas. (a) The most common genomic organization for this region found in the majority of Aeromonas species, with waaF, waaE, wahF, and waaA positioned sequentially in a gene cluster; (b) In the species A. diversa, A. schubertii, and A. simiae, this cluster is divided in two different genomic regions. Moreover, A. simiae presents wahX instead of waaE, marked with an asterisk; (c) A gene insertion of six genes containing wahX, a gene coding for an O-antigen ligase domain-containing protein (OALDC, in orange), and two glycosyltransferases (in blue) between waaF and wahF is found in the species A. bivalvium, A. molluscorum, and A. rivuli. Hypothetical proteins with unknown function are shown in white; and (d) Similarly, in the A. fluvialis genome, there is a gene insertion of seven genes containing wahX, a gene coding for an O-antigen ligase domain-containing protein, and three glycosyltransferases between waaF and wahF.
Figure 2. Comparison of the wa Region 2 in Aeromonas. (a) The most common genomic organization for this region found in the majority of Aeromonas species, with waaF, waaE, wahF, and waaA positioned sequentially in a gene cluster; (b) In the species A. diversa, A. schubertii, and A. simiae, this cluster is divided in two different genomic regions. Moreover, A. simiae presents wahX instead of waaE, marked with an asterisk; (c) A gene insertion of six genes containing wahX, a gene coding for an O-antigen ligase domain-containing protein (OALDC, in orange), and two glycosyltransferases (in blue) between waaF and wahF is found in the species A. bivalvium, A. molluscorum, and A. rivuli. Hypothetical proteins with unknown function are shown in white; and (d) Similarly, in the A. fluvialis genome, there is a gene insertion of seven genes containing wahX, a gene coding for an O-antigen ligase domain-containing protein, and three glycosyltransferases between waaF and wahF.
Ijms 18 00519 g002
Figure 3. Schematic description of the different Aeromonas wa Region 1 types reported. (a) The gene hldD was found at the start of the wa Region 1 in all Aeromonas species. In A. salmonicida, a glycosyltransferase-coding gene (in blue) is present between hldD and wahA. A gene coding for an O-antigen ligase domain-containing was always found next to wahA, followed by a variable number of hypothetical genes and glycosyltransferases, and, finally, wahE; (b) Most of the species of the A. veronii monophyletic group present the same genomic architecture but with wahZ instead of wahE; and (c) In the species in which genome wahA is not present, wahY is found next to hldD, followed by a gene coding for an O-antigen ligase domain-containing protein (except in the species described above where this gene is found in the wa Region 2, marked with an asterisk) and a variable number of glycosyltransferases and hypothetical proteins. OALDC = O-antigen ligase domain containing gene.
Figure 3. Schematic description of the different Aeromonas wa Region 1 types reported. (a) The gene hldD was found at the start of the wa Region 1 in all Aeromonas species. In A. salmonicida, a glycosyltransferase-coding gene (in blue) is present between hldD and wahA. A gene coding for an O-antigen ligase domain-containing was always found next to wahA, followed by a variable number of hypothetical genes and glycosyltransferases, and, finally, wahE; (b) Most of the species of the A. veronii monophyletic group present the same genomic architecture but with wahZ instead of wahE; and (c) In the species in which genome wahA is not present, wahY is found next to hldD, followed by a gene coding for an O-antigen ligase domain-containing protein (except in the species described above where this gene is found in the wa Region 2, marked with an asterisk) and a variable number of glycosyltransferases and hypothetical proteins. OALDC = O-antigen ligase domain containing gene.
Ijms 18 00519 g003
Figure 4. Comparison of the six most common wa Region 1 genomic organization in Aeromonas. Common genes (hldD and wahA) in these genomic organizations are shown in green, O-antigen ligase domain containing proteins in orange, wahE in purple, wahZ in yellow, and both characterized and uncharacterized glycosyltransferases are shown in blue. (a) Type 1 wa Region 1, found in A. bestiarum, A. dhakensis, A. hydrophila, A. piscicola, and A. schubertii; (b) Type 2 wa Region 1, found in A. salmonicida species; (c) Type 3 wa Region 1, as in A. aquatica, A. caviae, A. media and A. sanarelli; (d) Type 4 wa Region 1, found in A. australiensis, A. jandaei, and A. veronii; (e) Type 5 wa Region 1, in A. enteropelogenes and A. finlandensis; and (f) Type 6 wa Region 1, as found in A. popoffi.
Figure 4. Comparison of the six most common wa Region 1 genomic organization in Aeromonas. Common genes (hldD and wahA) in these genomic organizations are shown in green, O-antigen ligase domain containing proteins in orange, wahE in purple, wahZ in yellow, and both characterized and uncharacterized glycosyltransferases are shown in blue. (a) Type 1 wa Region 1, found in A. bestiarum, A. dhakensis, A. hydrophila, A. piscicola, and A. schubertii; (b) Type 2 wa Region 1, found in A. salmonicida species; (c) Type 3 wa Region 1, as in A. aquatica, A. caviae, A. media and A. sanarelli; (d) Type 4 wa Region 1, found in A. australiensis, A. jandaei, and A. veronii; (e) Type 5 wa Region 1, in A. enteropelogenes and A. finlandensis; and (f) Type 6 wa Region 1, as found in A. popoffi.
Ijms 18 00519 g004
Figure 5. Reconstruction of the Aeromonadaceae common Core-OS. The enzymes found in all genomes are shown in black. WaaE and WahA (in blue), were also present in more than the 90% genomes analysed. Finally, WahE (in orange) is substituted by WahZ (although the carbohydrate linked is still unknown) in the species of the A. veronii monophyletic group.
Figure 5. Reconstruction of the Aeromonadaceae common Core-OS. The enzymes found in all genomes are shown in black. WaaE and WahA (in blue), were also present in more than the 90% genomes analysed. Finally, WahE (in orange) is substituted by WahZ (although the carbohydrate linked is still unknown) in the species of the A. veronii monophyletic group.
Ijms 18 00519 g005
Figure 6. LPS profiles of (a) A. hydrophila AH-1; (b) A. piscicola AH-3; and (c) A. bivalvium 868ET by SDS-PAGE.
Figure 6. LPS profiles of (a) A. hydrophila AH-1; (b) A. piscicola AH-3; and (c) A. bivalvium 868ET by SDS-PAGE.
Ijms 18 00519 g006
Table 1. Common genes of the wa Regions 1, 2, and 3, and their conservation in the analysed genomes.
Table 1. Common genes of the wa Regions 1, 2, and 3, and their conservation in the analysed genomes.
wa Genomic RegionGeneNumber of Genomes in Which AppearsConservation in Studied Aeromonas
1hldD166/166100%
O-antigen ligase166/166100%
wahA154/16693%
wahY13/1667%
wahE101/16661%
wahZ52/16631%
2waaA170/170100%
wahF170/170100%
waaE165/17097%
wahX5/1703%
waaF170/170100%
3waaC170/170100%
kdkA170/170100%

Share and Cite

MDPI and ACS Style

Forn-Cuní, G.; Merino, S.; Tomás, J.M. Comparative Genomics of the Aeromonadaceae Core Oligosaccharide Biosynthetic Regions. Int. J. Mol. Sci. 2017, 18, 519. https://doi.org/10.3390/ijms18030519

AMA Style

Forn-Cuní G, Merino S, Tomás JM. Comparative Genomics of the Aeromonadaceae Core Oligosaccharide Biosynthetic Regions. International Journal of Molecular Sciences. 2017; 18(3):519. https://doi.org/10.3390/ijms18030519

Chicago/Turabian Style

Forn-Cuní, Gabriel, Susana Merino, and Juan M. Tomás. 2017. "Comparative Genomics of the Aeromonadaceae Core Oligosaccharide Biosynthetic Regions" International Journal of Molecular Sciences 18, no. 3: 519. https://doi.org/10.3390/ijms18030519

APA Style

Forn-Cuní, G., Merino, S., & Tomás, J. M. (2017). Comparative Genomics of the Aeromonadaceae Core Oligosaccharide Biosynthetic Regions. International Journal of Molecular Sciences, 18(3), 519. https://doi.org/10.3390/ijms18030519

Note that from the first issue of 2016, this journal uses article numbers instead of page numbers. See further details here.

Article Metrics

Back to TopTop