Prefabricated Building Systems—Design and Construction
Definition
:1. Introduction
- Modular (volumetric) construction: manufacturing of fully self-contained units in an offsite facility to be transported to site to be assembled to form a complete structure.
- Panelised construction: manufacturing of flat panel units in an offsite facility to be transported to site to be assembled to form a complete structure.
- Hybrid prefab construction (semi-volumetric): combining both panelised and modular methods. Compact modular units (pods) are used for the highly serviced and more repeatable areas such as kitchens and bathrooms, with the remainder of the building constructed using panels or modules.
- The reduced need for labour, especially for skilled trades such as welding, enables the construction process to move away from being a labour-oriented operation to a more process-oriented manufacturing and assembly process. This allows construction projects to achieve reduced on-site congestion, waste and pollution.
- The prefab units, especially volumetric modules, can be removed from the main structure for future reuse or relocation. The reusability of prefab units contributes significantly to prefab buildings having a much lower life cycle energy [5].
- Enables construction to commence earlier than usual, as prefab panels or modules can be manufactured in the factory while onsite preparation and foundations works get underway concurrently.
- Prefab construction at present reduces construction time by at least 50% from a site-intensive building [6]. This ensures that the client of the project starts generating revenue much earlier than usual.
- The construction process is significantly less vulnerable to adverse weather, resulting in an even faster construction.
- 1
- Loadbearing modular structural systems—The perimeter wall structure of the module carries adequate stiffness and continuous connectivity to transfer the gravity loads to the modules below. The roof beams and floor beams are often assisted by stud columns to add stiffness to the walls. This wall stiffness contributes to resistance against racking actions that are experienced during temporary loading scenarios such as moving and handling inside factories, loading and unloading to and from trucks during transportation and during onsite lifting and handling. This system is only feasible for low-rise applications due to the nature of loadbearing systems.
- 2
- Corner-supported modular structural systems—Corner columns in the module take up the floor loads and transfer them to the columns below. This system is also capable of resisting horizontal loads such as earthquake and wind forces—as long as the connections are designed properly, with adequate stiffness, and complying to design standards—thus ideal for multi-storey applications. In most current modular applications, a structural system such as this, with columns and structural connections, is made from steel.
2. Approach to Structural Design in a DfMA (Design for Manufacturing and Assembly) Format
- Type A—
- Projects that were conceptualised from the early stages to be built as a prefab building.
- Type B—
- Projects that were initially conceptualised to be built with traditional construction methods (in situ) but are subsequently required to be built using prefab methods.
2.1. Modularisation
- 1
- Architectural constraints—The architectural space arrangements will dictate where possible modular splits can be drawn for a modular or flatpack design. Similarly, the locations and dimensions of architectural features such as windows, openings, facades, etc. will dictate where the panel boundaries can be located for a panelised design. A ‘Type A’ design, as discussed previously, will result in a fairly straightforward modularisation process, since an architect who has experience in prefab designs will have prepared architectural general arrangements (GAs) to allow for more efficient modular or panel splits. However, if prefabrication was not envisaged from the beginning (Type B), the splits would need to be carefully drawn around spaces and architectural features, considering how they might impact the rest of the manufacturing, transport, handling and installation processes.
- 2
- Transportation limitations—The capability of the fleet of trucks that a particular prefab builder has access to will dictate the maximum length of a module or panel. While, for example, in Australia, the maximum allowable length for transportation is 30 m (Table 1), most trucks can carry modules and panels up to about 16 m in length. The lane widths of the relevant arterial road network will reflect upon the allowed maximum width for transportation. This may not be a great concern for panels, since they are usually transported vertically. However, for modules, this is one of the main design limitations. A 5 m maximum is allowed in Australia (Table 1), and similar limits apply in other countries as well. Depending on a particular project, other dimensional and weight limits could very possibly apply to the design. Issues such as the condition of access roads, nearby obstructions and other applicable regulations and constraints (for example, heritage structures that cannot be demolished) can impose conditions on the dimensions of prefab units. Similarly, if the prefab units are to be shipped, the volumetric and weight constraints of the vessel will also apply, in addition to the transportation limitations that apply to the embarking and disembarking countries or regions.
- 3
- Lifting and handling limitations—Prefab units need to be designed to dimensions and weights that are practically feasible when it comes to lifting and handling both within the manufacturing facility as well as at the onsite installation. If modules are to be shipped, the lifting and handling limitations at ports will also apply. Depending on the fleet of lifting vehicles such as mobile cranes that are accessible to the prefab builder, and the site access conditions of the particular project site (which dictates the lifting angles and distances), the weight of each module and panel will need to be limited. At least a preliminary understanding of the lifting and handling strategy of a particular project needs to be developed for an efficient modularisation.
- 4
- Onsite installation—The sequence of installation and locations and access to structural connections are important parameters to be considered when dividing up a structure into modules or panels. One of the main intentions of a prefab structure is to reduce the necessity for skilled trades to be on site. Therefore, the onsite installation needs to reduce skilled activities such as welding to a minimum. The connections also need to be safely and conveniently accessible. The arrangement of prefab units needs to be carried out with these in mind.
- 5
- Manufacturing process—The modularisation activity needs to consider the dimensions of various activity stations of the manufacturing plant and its sequence of operations. The prefab units need to move around the facility from one station to the other without the need to restructure any of their geometries and without hindering the normal operations of the factory.
- 6
- Preliminary locations of structural columns and connections—A preliminary idea of the required structural design needs to be considered during the modularisation activity. The location of columns and their structural connections is a critical aspect of efficient modularisation. In contrast to a traditional structural design, the location of structural columns will not only relate to the eventual structure, but also to the structural integrity of a given prefab unit during its transportation, lifting and handling stages, since the lifting connectors should ideally be located on the structural columns.
- 7
- Preliminary locations and dimensions of service spaces (MEP)—A preliminary idea of the required spaces for mechanical, electrical and plumbing (MEP) services such as service ducts and ceilings and heavily serviced areas such as toilets and kitchens need to be known at the modularisation stage. Modular and panel splits will need to be arranged accordingly, and any necessary alterations could be sorted via a well-formed BIM platform or by communicating with the architects and building services engineers.
2.2. Structural Design
- 1
- Stability;
- 2
- Serviceability; and
- 3
- Strength.
3. Serviceability Design and Temporary Conditions
3.1. Deflections
3.2. Design for Transportation, Lifting and Handling
- Temporary loads; and
- Temporary support conditions.
3.2.1. Temporary Loads
3.2.2. Temporary Support Conditions
4. Strength Design for Ultimate Limit State
4.1. Gravity Loads (Vertical Loads)
4.2. Lateral Loads (Wind and Earthquake Loads)
- Stability—
- against overturning, uplift and/or sliding of the structure as a whole.
- Strength—
- capacity of the structural members in bending, shear, torsion, etc. are required to withstand without failure against wind loads applied under long return period winds (typically, 500- or 1000-year return period, decided according to the importance level and design life).
- Serviceability—
- where inter-storey and overall deflections are within acceptable limits. Wind accelerations also need to be checked for taller structures to ensure that the acceleration limits are within acceptable criteria for human perception of motion (typically, 25- or 50-year return period for deflections and 1- to 10-year return period for accelerations, decided according to the importance level and design life).
- 1
- Environmental wind studies—to study the wind effects on the surrounding environment caused by erecting a tall prefab building or a building with complex geometry (this study may also include a pedestrian wind comfort study for ground level and podium levels or terraces).
- 2
- Wind loads for the façade—to assess design wind pressures throughout the surface area of the building to design the cladding and façade system.
- 3
- Wind loads for the structure—to determine the design wind loads to design the lateral load-resisting structural system.
- Two distinct performance objectives were ‘serviceability’ (damage limitation), which is typically associated with an earthquake probability of 50% in 50 years, and ‘life safety’, which is typically associated with an earthquake probability of 10% in 50 years, are explicitly considered. The basic strength level of the design of the structure does not relate to the ‘life safety’ criteria as in most existing codes, but to the serviceability criteria. A third performance objective in the form of ‘collapse prevention’, which is typically associated with an earthquake probability of 2% in 50 years is considered in the design against shear, and for the seismic detailing of elements.
- Inelasticity is also explicitly considered in the analysis, but is restricted only to those members that are considered as seismic energy dissipating zones (plastic hinge zones—see Figure 11) by the structural engineer. The well-established capacity design principles are followed in selecting these zones [34].
- The confinement detailing of critical structural members is also performance-based, i.e., it is determined according to the post-yield deformation requirements predicted from the inelastic analysis [35].
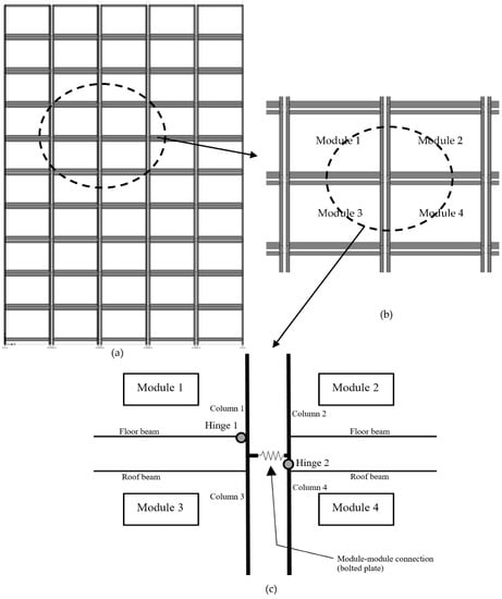
5. Design of Connections (with a Worked Example)
5.1. Serviceability Limit State Design of the Connection
- = Coefficient of friction between plies
- = Number of shear planes
- = Minimum pretension imparted on the bolts during installation
- = Factor for hole type (1.0 for standard holes, 0.85 for oversized holes and short slotted holes, and 0.70 for long slotted holes)
5.2. Strength Limit State Design of the Connection
- = Reduction factor for length of bolt line (bears a value of 1.0 for connections other than lap connections)
- = Minimum tensile strength of the bolt
- = Number of shear planes in the unthreaded region
- = Bolt shank area
- = Thickness of the ply
- = Minimum tensile strength of the ply
- = Bolt diameter
- = Minimum distance from the ply edge to the centre of the hole in the direction of the bearing load
- = nominal tension capacity of a bolt
- = design tensile force on a bolt
- = 0.8 for combined actions
6. Importance of Structural Detailing
7. Construction Technology
7.1. Factory-Based Fabrication (Offsite Manufacturing)
7.2. Importance of Prototyping
7.3. Prefab Foundations
7.4. Modular Building Services (MEP)
8. Conclusions and Prospects
Author Contributions
Funding
Acknowledgments
Conflicts of Interest
Entry Link on the Encyclopedia Platform
References
- Gunawardena, T.; Ngo, T.; Mendis, P.; Aye, L.; Crawford, R. Time-Efficient Post-Disaster Housing Reconstruction with Prefabricated Modular Structures. Open House Int. 2014, 39, 59–69. Available online: https://www.scopus.com/inward/record.uri?eid=2-s2.0-84929162675&partnerID=40&md5=b34c27beef2b3323975d693c4aa48046 (accessed on 17 December 2021). [CrossRef]
- Gunawardena, T.; Ngo, T.; Mendis, P.; Kumar, S. Performance of multi-storey prefabricated modular buildings with infill concrete walls subjected to earthquake loads. Concr. Aust. 2017, 43, 51–58. [Google Scholar]
- Navaratnam, S.; Ngo, T.; Gunawardena, T.; Henderson, D. Performance Review of Prefabricated Building Systems and Future Research in Australia. Buildings 2019, 9, 38. [Google Scholar] [CrossRef]
- Gunawardena, T.; Mendis, P.; Ngo, T.; Rismanchi, B.; Aye, L. Effective Use of Offsite Manufacturing for Public Infrastructure Projects in Australia. Presented at the International Conference on Smart Infrastructure and Construction 2019 (ICSIC), Cambridge, UK, 8–10 July 2019; Available online: https://www.icevirtuallibrary.com/doi/abs/10.1680/icsic.64669.267 (accessed on 17 December 2021).
- Aye, L.; Ngo, T.; Crawford, R.H.; Gammampila, R.; Mendis, P. Life cycle greenhouse gas emissions and energy analysis of prefabricated reusable building modules. Energy Build. 2012, 47, 159–168. [Google Scholar] [CrossRef]
- Lawson, R.M.; Ogden, R.G.; Bergin, R. Application of Modular Construction in High-Rise Buildings. J. Arch. Eng. 2012, 18, 148–154. [Google Scholar] [CrossRef]
- Gunawardena, T. Behaviour of Prefabricated Modular Buildings Subjected to Lateral Loads. 2016. Available online: http://hdl.handle.net/11343/123961 (accessed on 17 December 2021).
- Gunawardena, T.; Ngo, T.; Mendis, P.; Alfano, J. Innovative Flexible Structural System Using Prefabricated Modules. J. Arch. Eng. 2016, 22, 05016003. [Google Scholar] [CrossRef]
- Peiris, P.A.N.; Hui, F.K.P.; Ngo, T.; Duffield, C.; Garcia, M.G. A Case Study on Early Stage Adoption of Lean Practices in Prefabricated Construction Industry. In ICSECM 2019; Dissanayake, R., Mendis, P., Weerasekera, K., De Silva, S., Fernando, S., Eds.; Springer: Singapore, 2021; pp. 589–600. [Google Scholar]
- Sepasgozar, S.; Hui, F.; Shirowzhan, S.; Foroozanfar, M.; Yang, L.; Aye, L. Lean Practices Using Building Information Modeling (BIM) and Digital Twinning for Sustainable Construction. Sustainability 2020, 13, 161. [Google Scholar] [CrossRef]
- Hijazi, A.A.; Perera, S.; Calheiros, R.N.; Alashwal, A. Rationale for the Integration of BIM and Blockchain for the Construction Supply Chain Data Delivery: A Systematic Literature Review and Validation through Focus Group. J. Constr. Eng. Manag. 2021, 147, 03121005. [Google Scholar] [CrossRef]
- Nanayakkara, S.; Perera, S.; Senaratne, S.; Weerasuriya, G.T.; Bandara, H.M.N.D. Blockchain and Smart Contracts: A Solution for Payment Issues in Construction Supply Chains. Informatics 2021, 8, 36. Available online: https://www.mdpi.com/2227-9709/8/2/36 (accessed on 17 December 2021). [CrossRef]
- Rodrigo, M.N.N.; Perera, S.; Senaratne, S.; Jin, X. Potential Application of Blockchain Technology for Embodied Carbon Estimating in Construction Supply Chains. Buildings 2020, 10, 140. Available online: https://www.mdpi.com/2075-5309/10/8/140 (accessed on 17 December 2021). [CrossRef]
- Transporting Houses and Prefabricated Buildings. 2018. Available online: https://www.vicroads.vic.gov.au/business-and-industry/heavy-vehicle-industry/heavy-vehicle-road-safety/transporting-houses-and-prefabricated-buildings (accessed on 17 December 2021).
- Standards Australia. AS 3600:2018 Concrete Structures; Standards Australia: Sydney, NSW, Australia, 2018. [Google Scholar]
- Jayasinghe, T.; Gunawardena, T.; Mendis, P. Advancements in Concrete Technology for Offsite Manufactured Buildings and Infrastructure Systems. In Proceedings of the CONCRETE 2021, Concrete Institute of Australia’s Biennial National Conference, Perth, WA, Australia, 5–8 September 2021. [Google Scholar]
- Standards Australia. AS 1170.0:2002 Structural Design Actions General Principles; Standards Australia: Sydney, NSW, Australia, 2002. [Google Scholar]
- Standards Australia. AS 1170.1:2002 Structural Design Actions Permanent, Imposed and Other Actions; Standards Australia: Sydney, NSW, Australia, 2002. [Google Scholar]
- Standards Australia. AS 1170.2:2021 Structural Design Actions Wind Actions; Standards Australia: Sydney, NSW, Australia, 2021. [Google Scholar]
- Standards Australia. AS 1170.4:2007 Structural Design Actions, Part 4: Earthquake Actions in Australia; Standards Australia: Sydney, NSW, Australia, 2007. [Google Scholar]
- Annamalai, K.; Naiju, C.; Karthik, S.; Prashanth, M.M. Early Cost Estimate of Product during Design Stage Using Design for Manufacturing and Assembly (DFMA) Principles. Adv. Mater. Res. 2012, 622–623, 540–544. Available online: https://search.ebscohost.com/login.aspx?direct=true&AuthType=sso&db=edo&AN=ejs29232997&site=eds-live&scope=site&custid=s2775460 (accessed on 17 December 2021). [CrossRef]
- Jovicic, G.; Lukic, D.; Todic, V.; Milosevic, M.; Vukman, J. Design for manufacturing and assembly within design for excellence: Approaches, methods and methodologies. Tehnika 2014, 69, 233–242. [Google Scholar] [CrossRef]
- Leaney, P.; Wittenberg, G. Design for Assembling. Assem. Autom. 1992, 12, 8–17. [Google Scholar] [CrossRef]
- Standards Australia. AS 4100:2020 Steel Structures; Standards Australia: Sydney, NSW, Australia, 2020. [Google Scholar]
- Godbole, S.; Lam, N.; Mafas, M.; Fernando, S.; Gad, E.; Hashemi, J. Dynamic loading on a prefabricated modular unit of a building during road transportation. J. Build. Eng. 2018, 18, 260–269. [Google Scholar] [CrossRef]
- Godbole, S.; Lam, N.; Mafas, M.; Gad, E. Pounding of a modular building unit during road transportation. J. Build. Eng. 2020, 36, 102120. [Google Scholar] [CrossRef]
- Godbole, S.; Lam, N.; Muhinadeen, M.M.M. Vehicle–road interaction analysis for pounding between cargo and trailer-bed. Veh. Syst. Dyn. 2019, 59, 547–567. [Google Scholar] [CrossRef]
- Abu-Zidan, Y.; Mendis, P.; Gunawardena, T. Optimising the computational domain size in CFD simulations of tall buildings. Heliyon 2021, 7, e06723. [Google Scholar] [CrossRef] [PubMed]
- Abu-Zidan, Y.; Mendis, P.; Gunawardena, T. Impact of atmospheric boundary layer inhomogeneity in CFD simulations of tall buildings. Heliyon 2020, 6, e04274. [Google Scholar] [CrossRef]
- Gunawardena, T.; Ngo, T.; Mendis, P. Behaviour of Multi-Storey Prefabricated Modular Buildings under seismic loads. Earthq. Struct. 2016, 11, 1061–1076. [Google Scholar] [CrossRef]
- Gunawardena, T.; Ngo, T.; Mendis, P.; Aye, L.; Alfano, J. Structural performance under lateral loads of innovative prefabricated modular structures. In From Materials to Structures: Advancement through Innovation. In Proceedings of the 22nd Australasian Conference on the Mechanics of Structures and Materials, ACMSM 2012, Sydney, NSW, Australia, 11–14 December 2012; Taylor and Francis: London, UK, 2013; pp. 717–722. Available online: http://www.scopus.com/inward/record.url?eid=2-s2.0-84881164688&partnerID=MN8TOARS (accessed on 17 December 2021).
- Structural Engineers Association of California. Recommended Lateral Force Requirements and Commentary, 7th ed.; Structural Engineers Association of California: Sacramento, CA, USA, 1999. [Google Scholar]
- Kappos, A.; Panagopoulos, G. Performance-Based Seismic Design of 3D R/C Buildings Using Inelastic Static and Dynamic Analysis Procedures. ISET J. Earthq. Technol. 2004, 41, 141–158. [Google Scholar]
- Paulay, T.; Priestly, M.J.N. Seismic Design of Reinforced Concrete and Masonry Buildings; Wiley: New York, NY, USA, 1992. [Google Scholar]
- Menegon, S.J.; Wilson, J.L.; Lam, N.T.K.; McBean, P. RC walls in Australia: Seismic design and detailing to AS 1170.4 and AS 3600. Aust. J. Struct. Eng. 2018, 19, 67–84. [Google Scholar] [CrossRef]
- Gorenc, B.; Tinyou, R.; Syam, A. Steel Designers’ Handbook, 8th ed.; USNW Press: Kensington, NSW, Australia, 2012. [Google Scholar]
- AJAX. Fastener Handbook: Bolt Products; AJAX Fasteners: Braeside, VIC, Australia, 1999. [Google Scholar]
- Teodosio, B.; Baduge, K.S.K.; Mendis, P.; Heath, D.J. Prefabrication of substructures for single-detached dwellings on reactive soils: A review of existing systems and design challenges. Aust. J. Civ. Eng. 2019, 17, 120–133. [Google Scholar] [CrossRef]
- Samarasinghe, T.; Gunawardena, T.; Mendis, P.; Sofi, M.; Aye, L. Dependency Structure Matrix and Hierarchical Clustering based algorithm for optimum module identification in MEP systems. Autom. Constr. 2019, 104, 153–178. [Google Scholar] [CrossRef]
- Samarasinghe, T.; Mendis, P.; Aye, L.; Gunawardena, D.; Karunaratne, R. BIM and Modular MEP Systems for Super-Tall and Mega-Tall Buildings. 2017. Available online: http://hdl.handle.net/11343/197525 (accessed on 17 December 2021).
- Samarasinghe, T.; Mendis, P.; Aye, L.; Vassos, T. Applications of Design for Excellence in Prefabricated Building Services Systems. In Proceedings of the 7th International Conference on Sustainable Built Environment (ICSBE), Kandy, Sri Lanka, 16–18 December 2016. [Google Scholar]
- Jayalath, A.; Navaratnam, S.; Gunawardena, T.; Mendis, P.; Aye, L. Airborne and impact sound performance of modern lightweight timber buildings in the Australian construction industry. Case Stud. Constr. Mater. 2021, 15, e00632. [Google Scholar] [CrossRef]
- Caniato, M.; Bettarello, F.; Ferluga, A.; Marsich, L.; Schmid, C.; Fausti, P. Acoustic of lightweight timber buildings: A review. Renew. Sustain. Energy Rev. 2017, 80, 585–596. [Google Scholar] [CrossRef]
- Caniato, M.; Bettarello, F.; Ferluga, A.; Marsich, L.; Schmid, C.; Fausti, P. Thermal and acoustic performance expectations on timber buildings. Build. Acoust. 2017, 24, 219–237. [Google Scholar] [CrossRef]


















| Dimension | Maximum Limit |
|---|---|
| Width | 5.0 m |
| Height 1 | 5.0 m |
| Length | 30.0 m |
| Weight 2 | 43 tonnes |
| Dimension | Maximum Limit |
|---|---|
| Bottom and top plates of Columns 1 and 4 | 25 mm thick steel plates with a yield strength of 350 MPa |
| Bottom and top plates of Columns 2 and 3 | 6 mm thick steel plates with a yield strength of 350 MPa |
| Grade of bolts | Grade 8.8 with a yield strength of 660 MPa |
| Minimum tensile strength of grade 8.8 bolts | 800 MPa (AJAX, 1999) [37] |
| Washers | 4 mm thick stainless-steel (SS) washers |
Publisher’s Note: MDPI stays neutral with regard to jurisdictional claims in published maps and institutional affiliations. |
© 2022 by the authors. Licensee MDPI, Basel, Switzerland. This article is an open access article distributed under the terms and conditions of the Creative Commons Attribution (CC BY) license (https://creativecommons.org/licenses/by/4.0/).
Share and Cite
Gunawardena, T.; Mendis, P. Prefabricated Building Systems—Design and Construction. Encyclopedia 2022, 2, 70-95. https://doi.org/10.3390/encyclopedia2010006
Gunawardena T, Mendis P. Prefabricated Building Systems—Design and Construction. Encyclopedia. 2022; 2(1):70-95. https://doi.org/10.3390/encyclopedia2010006
Chicago/Turabian StyleGunawardena, Tharaka, and Priyan Mendis. 2022. "Prefabricated Building Systems—Design and Construction" Encyclopedia 2, no. 1: 70-95. https://doi.org/10.3390/encyclopedia2010006
APA StyleGunawardena, T., & Mendis, P. (2022). Prefabricated Building Systems—Design and Construction. Encyclopedia, 2(1), 70-95. https://doi.org/10.3390/encyclopedia2010006
