Improving Agricultural Tire Traction Performance Through Finite Element Analysis and Semi-Empirical Modeling
Abstract
1. Introduction
2. Materials and Methods
2.1. Finite Element Model Development
2.1.1. Tire Model and Geometry
2.1.2. Soil Model and Material Properties
2.2. Simulation Setup and Boundary Conditions
2.2.1. Load and Motion Conditions
- 35 kN (Light Vertical Load): Represents conditions where the tire operates under minimal weight, such as during sowing or light harrowing, resulting in lower soil engagement.
- 45 kN (Moderate Vertical Load): Reflects standard farming tasks, including medium-depth plowing and standard harrowing, where moderate vertical force is exerted on the tire.
- 55 kN (Heavy Vertical Load): Simulates high-load conditions typical of deep plowing and subsoiling, where increased vertical force is required for deeper soil penetration and enhanced traction.
2.2.2. Contact Definitions and Soil Deformation Constraints
2.3. Mesh Sensitivity and Convergence Analysis
2.4. Dynamic Simulation and Solver Configuration
2.5. Assumptions and Limitations
2.6. Performance Metrics Evaluation
2.6.1. Stress Distribution Analysis
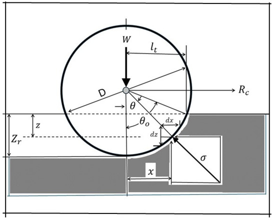
2.6.2. Traction Performance Analysis
- Prediction of Tire Motion Resistance
- 2.
- Prediction of Soil Thrust (Tractive Effort or Propelling Force)
- 3.
- Prediction of Traction/Drawbar Pull (Fd)
3. Results
3.1. Stress Distribution Trends at the Tire–Soil Interface
3.2. Effect of Lug Spacing on Traction Performance at Different Tire Loads
3.3. Influence of Tire Load on Traction Performance at Optimal Lug Spacing
4. Discussion
5. Conclusions
Author Contributions
Funding
Institutional Review Board Statement
Informed Consent Statement
Data Availability Statement
Conflicts of Interest
References
- Yong, R.N.; Fattah, E.A.; Skiadas, N. Vehicle Traction Mechanics; Elsevier: Amsterdam, The Netherlands, 2012. [Google Scholar]
- Wong, J.Y. Terramechanics and Off-Road Vehicles, 1st ed.; Elsevier Science: Amsterdam, The Netherlands, 1989. [Google Scholar]
- Wong, J.Y. Terramechanics and Off-Road Vehicle Engineering: Terrain Behaviour, Off-Road Vehicle Performance and Design; Butterworth-Heinemann: Oxford, UK, 2009. [Google Scholar]
- Wong, J.Y. Theory of Ground Vehicles; John Wiley & Sons: Hoboken, NJ, USA, 2022. [Google Scholar]
- Farah, F.M. Effect of Moisture Content and Tire Tread on Traction Performance on Sandy Loam. Ph.D. Thesis, Purdue University, West Lafayette, IN, USA, 1979. [Google Scholar]
- Li, H. Analysis of Off-Road Tire-Soil Interaction through Analytical and Finite Element Methods. Ph.D. Thesis, Technische Universität Kaiserslautern, Kaiserslautern, Germany, 2013. [Google Scholar]
- Li, H.; Schindler, C. Investigation of tire-soil interaction with analytical and finite element method. Mech. Based Des. Struct. Mach. 2013, 41, 293–315. [Google Scholar] [CrossRef]
- Boland, M.M.; Choi, Y.U.; Foley, D.G.; Gobel, M.S.; Sprague, N.C.; Guevara-Ocana, S.; Kuleshov, Y.A.; Stwalley, R.M., III. Reducing soil compaction from equipment to enhance agricultural sustainability. In Sustainable Crop Production—Recent Advances; IntechOpen: London, UK, 2022. [Google Scholar]
- Zabrodskyi, A. The Effect of Maintaining Operating Parameters of Agricultural Tires to Minimize Soil Compaction. Ph.D. Thesis, Vytautas Magnus University, Kaunas, Lithuania, 2023. [Google Scholar]
- Bekker, M.G. Introduction to Terrain Vehicle Systems; University of Michigan Press: Ann Arbor, MI, USA, 1969. [Google Scholar]
- Wong, J.Y.; Preston-Thomas, J. On the characterization of the shear stress-displacement relationship of terrain. J. Terramech. 1983, 19, 225–234. [Google Scholar] [CrossRef]
- Wong, J.Y.; Preston-Thomas, J. Parametric analysis of tracked vehicle performance using an advanced computer simulation model. Proc. Inst. Mech. Eng. 1986, 200, 101–114. [Google Scholar] [CrossRef]
- Xia, K. Finite element modeling of tire/terrain interaction: Application to predicting soil compaction and tire mobility. J. Terramech. 2011, 48, 113–123. [Google Scholar] [CrossRef]
- Taheri, S.; Sandu, C.; Taheri, S.; Pinto, E.; Gorsich, D. A technical survey on terramechanics models for tire–terrain interaction used in modeling and simulation of wheeled vehicles. J. Terramech. 2015, 57, 1–22. [Google Scholar] [CrossRef]
- Marjani, M. Development of FEA Wide-Base Truck Tire and Soil Interaction Models. Ph.D. Thesis, University of Ontario Institute of Technology, Ontario, ON, Canada, 2016. [Google Scholar]
- El-Sayegh, Z.; El-Gindy, M.; Johansson, I.; Öijer, F. Improved tire-soil interaction model using FEA-SPH simulation. J. Terramech. 2018, 78, 53–62. [Google Scholar] [CrossRef]
- He, R.; Sandu, C.; Osorio, J.E. Systematic tests for study of tire tractive performance on soft soil: Part II–Parameterization of terramechanics model and tire model. J. Terramech. 2019, 85, 77–88. [Google Scholar] [CrossRef]
- Tsitouridis, G. Terramechanics and Soil–Wheel Interactions for Road Vehicle Applications. Ph.D. Thesis, Loughborough University, Reading, UK, 2019. [Google Scholar]
- Zeng, H.; Zhao, C.; Chen, S.; Xu, W.; Zang, M. Numerical simulations of tire-soil interactions: A Comprehensive Review. Arch. Comput. Methods Eng. 2023, 30, 4801–4829. [Google Scholar] [CrossRef]
- Aliramezani, F.; Tashi, M. Enhanced vehicle performance through nonlinear finite element analysis of tyre-soil interaction. Mechatron. Intell. Transp. Syst. 2023, 2, 158–168. [Google Scholar] [CrossRef]
- Phakdee, S.; Phromjan, J.; Rugsaj, R.; Suvanjumrat, C. Experimental verification of mathematical models for tire-soil interaction. GEOMATE J. 2024, 26, 58–65. [Google Scholar] [CrossRef]
- Keller, T.; Ruiz, S.; Stettler, M.; Berli, M. Determining soil stress beneath a tire: Measurements and simulations. Soil Sci. Soc. Am. J. 2016, 80, 541–553. [Google Scholar]
- Ally, H.; Wang, X.; Wu, T.; Liu, T.; Ge, J. Numerical analysis of terrain variabilities and their impact on the traction performance of agricultural tire. Int. Inf. Inst. (Tokyo) Inf. 2024, 27, 169–185. [Google Scholar]
- Golanbari, B.; Mardani, A. An analytical model for stress estimation at the soil-tire interface using the dynamic contact length. J. Terramech. 2024, 111, 1–7. [Google Scholar] [CrossRef]
- Zaniewski, J.P.; Butler, B.G.; Cunningham, G.; Machemehl, R. Vehicle Operating Costs, Fuel Consumption, and Pavement Type Condition Factors; FHWA-PL-82-001; U.S. Federal Highway Administration: Washington, DC, USA, 1982.
- Zoz, F.M.; Grisso, R.D. Traction and Tractor Performance; ASAE Monograph No. 27; American Society of Agricultural Engineers: St. Joseph, MI, USA, 2003. [Google Scholar]
- Battiato, A.; Diserens, E. Influence of Tire Inflation Pressure and Wheel Load on the Traction Performance of a 65 kW MFWD Tractor on a Cohesive Soil. J. Agric. Sci. 2013, 5, 197. [Google Scholar]
- Lacour, S.; Burgun, C.; Perilhon, C.; Descombes, G.; Doyen, V. A Model to Assess Tractor Operational Efficiency from Bench Test Data. J. Terramech. 2014, 54, 1–18. [Google Scholar]
- Ranjbarian, S.; Askari, M.; Jannatkhah, J. Performance of Tractor and Tillage Implements in Clay Soil. Saudi Soc. Agric. Sci. 2017, 16, 154–162. [Google Scholar] [CrossRef]
- Jensen, T.A.; Antille, D.L.; Tullberg, J.N. Improving On-Farm Energy Use Efficiency by Optimizing Machinery Operations and Management: A Review. Agric. Res. 2025, 14, 15–33. [Google Scholar] [CrossRef]
- Pytka, J.A. Dynamics of Wheel–Soil Systems: A Soil Stress and Deformation-Based Approach; CRC Press: Boca Raton, FL, USA, 2012. [Google Scholar]
- Swamy, V.S.; Pandit, R.; Yerro, A.; Sandu, C.; Rizzo, D.M.; Sebeck, K.; Gorsich, D. Review of Modeling and Validation Techniques for Tire-Deformable Soil Interactions. J. Terramech. 2023, 109, 73–92. [Google Scholar]
- Jasoliya, D.; Untaroiu, A.; Untaroiu, C. A Review of Soil Modeling for Numerical Simulations of Soil-Tire/Agricultural Tools Interaction. J. Terramech. 2024, 111, 41–64. [Google Scholar]
- Wulfsohn, D.; Coordinators, T.R.W.C.; Wulfsohn, D.; Way, T.R.; Upadhyaya, S.K.; Chancellor, W.J. Traction Mechanics. Part VII. Factors That Influence Tractive Performance of Wheels, Tracks, and Vehicles. In Advances in Soil Dynamics Volume 3; ASABE: St. Joseph, MI, USA, 2009; pp. 209–252. [Google Scholar]
- Md-Tahir, H.; Zhang, J.; Zhou, Y.; Sultan, M.; Ahmad, F.; Du, J.; Ullah, A.; Hussain, Z.; Xia, J. Engineering Design, Kinematic and Dynamic Analysis of High Lugs Rigid Driving Wheel, a Traction Device for Conventional Agricultural Wheeled Tractors. Agriculture 2023, 13, 493. [Google Scholar] [CrossRef]
- Fanigliulo, R.; Biocca, M.; Grilli, R.; Fornaciari, L.; Gallo, P.; Benigni, S.; Mattei, P.; Pochi, D. Assessment of the Performance of Agricultural Tires Using a Mobile Test Bench. Agriculture 2022, 13, 87. [Google Scholar] [CrossRef]
- Alkhalifa, N.; Tekeste, M.Z.; Jjagwe, P.; Way, T.R. Effects of Vertical Load and Inflation Pressure on Tire-Soil Interaction on Artificial Soil. J. Terramech. 2024, 112, 19–34. [Google Scholar]
- Labuz, J.F.; Zang, A. Mohr–Coulomb failure criterion. In The ISRM Suggested Methods for Rock Characterization, Testing and Monitoring: 2007–2014; Springer International Publishing: Cham, Switzerland, 2014; pp. 227–231. [Google Scholar]
- Oh, W.T.; Vanapalli, S.K. Relationship between Poisson’s ratio and soil suction for unsaturated soils. In Proceedings of the 5th Asia-Pacific Conference on Unsaturated Soils, Bangkok, Thailand, 24–26 November 2011; Kasetsart University: Bangkok, Thailand, 2011; pp. 239–245. [Google Scholar]
- Kumar Thota, S.; Duc Cao, T.; Vahedifard, F. Poisson’s ratio characteristic curve of unsaturated soils. J. Geotech. Geoenviron. Eng. 2021, 147, 04020149. [Google Scholar] [CrossRef]
- Duncan, J.M.; Bursey, A. Soil modulus correlations. In Foundation Engineering in the Face of Uncertainty: Honoring Fred H. Kulhawy; ASCE: Reston, VA, USA, 2013; pp. 321–336. [Google Scholar]
- Mathew, A.K.; Tomer, S.K.; Lovely, K.M. Effect of soil-structure interaction in seismic analysis of framed structures using ANSYS. Int. J. Eng. Dev. Res. 2015, 3, 1–9. [Google Scholar]
- Lee, H.H. Finite Element Simulations with ANSYS Workbench 2021: Theory, Applications, Case Studies; SDC Publications: Mission, KS, USA, 2021. [Google Scholar]
- Contreras, U.; Li, G.; Foster, C.D.; Shabana, A.A.; Jayakumar, P.; Letherwood, M.D. Soil models and vehicle system dynamics. Appl. Mech. Rev. 2013, 65, 040802. [Google Scholar]
- Shao, X.; Yang, Z.; Mowafy, S.; Zheng, B.; Song, Z.; Luo, Z.; Guo, W. Load characteristics analysis of tractor drivetrain under field plowing operation considering tire-soil interaction. Soil Tillage Res. 2023, 227, 105620. [Google Scholar]
- Hong, S.J.; Park, S.J.; Kim, W.S.; Kim, Y.J.; Park, S.U. Analysis of the axle load of an agricultural tractor during plow tillage and harrowing. Korean J. Agric. Sci. 2016, 43, 665–669. [Google Scholar]
- Laursen, T.A. (Ed.) Computational Contact Mechanics; Springer: Berlin, Germany, 2006; Volume 2, p. 25. [Google Scholar]
- Johnson, K.L. Contact Mechanics; Cambridge University Press: Cambridge, UK, 1987. [Google Scholar]
- Madenci, E.; Guven, I. The Finite Element Method and Applications in Engineering Using ANSYS®; Springer: Cham, Switzerland, 2015. [Google Scholar]
- Fakhr, E.A.; Spitas, C. Finite element analysis of studded tyre performance on snow: A study of traction. Veh. Syst. Dyn. 2024, 62, 1380–1400. [Google Scholar]
- Umsrithong, A. Deterministic and Stochastic Semi-Empirical Transient Tire Models; Virginia Tech: Blacksburg, VA, USA, 2012. [Google Scholar]
- Bekker, M.G. Theory of Land Locomotion: The Mechanics of Vehicle Mobility; University of Michigan Press: Ann Arbor, MI, USA, 1956. [Google Scholar]
- Bekker, M.G. Off the Road Locomotion; University of Michigan Press: Ann Arbor, MI, USA, 1960. [Google Scholar]
- Bekker, M.G. Prediction of Design and Performance Parameters in Agro-Forestry Vehicles; National Research Council of Canada Report No. 22880; National Research Council of Canada: Ottawa, ON, Canada, 1983.
- Bekker, M.G. Parametric Analyses of Pneumatic Tires Update—Samples of Engineering Problems and Solutions in Off-Road Locomotion. SAE Trans. 1985, 94, 970–983. [Google Scholar]











| Parameter | Tire |
|---|---|
| Width (mm) | 760 |
| Diameter (mm) | 2228 |
| Lug angle | 45° |
| Lug height (mm) | 64 |
| Lug spacing (mm) | 90, 130, 170 |
| Clay Soil | Moisture Content (MC) | Density (Kg/m3) | Cohesion (kPa) | Internal Friction Angle (°) | External Friction Angle (δ) |
|---|---|---|---|---|---|
| Sample | 34.2% | 869 | 1.78 | 28.4 | 17.8 |
Disclaimer/Publisher’s Note: The statements, opinions and data contained in all publications are solely those of the individual author(s) and contributor(s) and not of MDPI and/or the editor(s). MDPI and/or the editor(s) disclaim responsibility for any injury to people or property resulting from any ideas, methods, instructions or products referred to in the content. |
© 2025 by the authors. Licensee MDPI, Basel, Switzerland. This article is an open access article distributed under the terms and conditions of the Creative Commons Attribution (CC BY) license (https://creativecommons.org/licenses/by/4.0/).
Share and Cite
Ally, H.; Wang, X.; Wu, T.; Liu, T.; Ge, J. Improving Agricultural Tire Traction Performance Through Finite Element Analysis and Semi-Empirical Modeling. Eng 2025, 6, 63. https://doi.org/10.3390/eng6040063
Ally H, Wang X, Wu T, Liu T, Ge J. Improving Agricultural Tire Traction Performance Through Finite Element Analysis and Semi-Empirical Modeling. Eng. 2025; 6(4):63. https://doi.org/10.3390/eng6040063
Chicago/Turabian StyleAlly, Halidi, Xiulun Wang, Tingting Wu, Tao Liu, and Jun Ge. 2025. "Improving Agricultural Tire Traction Performance Through Finite Element Analysis and Semi-Empirical Modeling" Eng 6, no. 4: 63. https://doi.org/10.3390/eng6040063
APA StyleAlly, H., Wang, X., Wu, T., Liu, T., & Ge, J. (2025). Improving Agricultural Tire Traction Performance Through Finite Element Analysis and Semi-Empirical Modeling. Eng, 6(4), 63. https://doi.org/10.3390/eng6040063

