Industrial Piping System: Design and Corrosion Protection
Abstract
1. Introduction
2. Recommendations for Industrial Layout and Projects
2.1. Layout
- Block Flow Diagram (BFD);
- Process Flow Diagram (PFD);
- Piping and Instrumentation Diagrams (P&IDs or PIDs);
- Equipment layout drawings;
- Plot plans;
- Isometric drawings;
- Control instrumentation drawings.
2.1.1. Classification of Risk Areas
2.1.2. Piping
2.1.3. Drains, Purgers, and Vents
2.1.4. Connections
2.1.5. Valves
2.1.6. Supports
2.2. Piping Project
2.2.1. Material Selection
2.2.2. Thermal Insulation
2.2.3. Flexibility
- The calculated stress range at any point due to system displacements must not exceed permissible limits;
- The calculated reaction forces must not be detrimental to supports or connected equipment;
- The calculated movement of the pipeline must be within any prescribed limits.
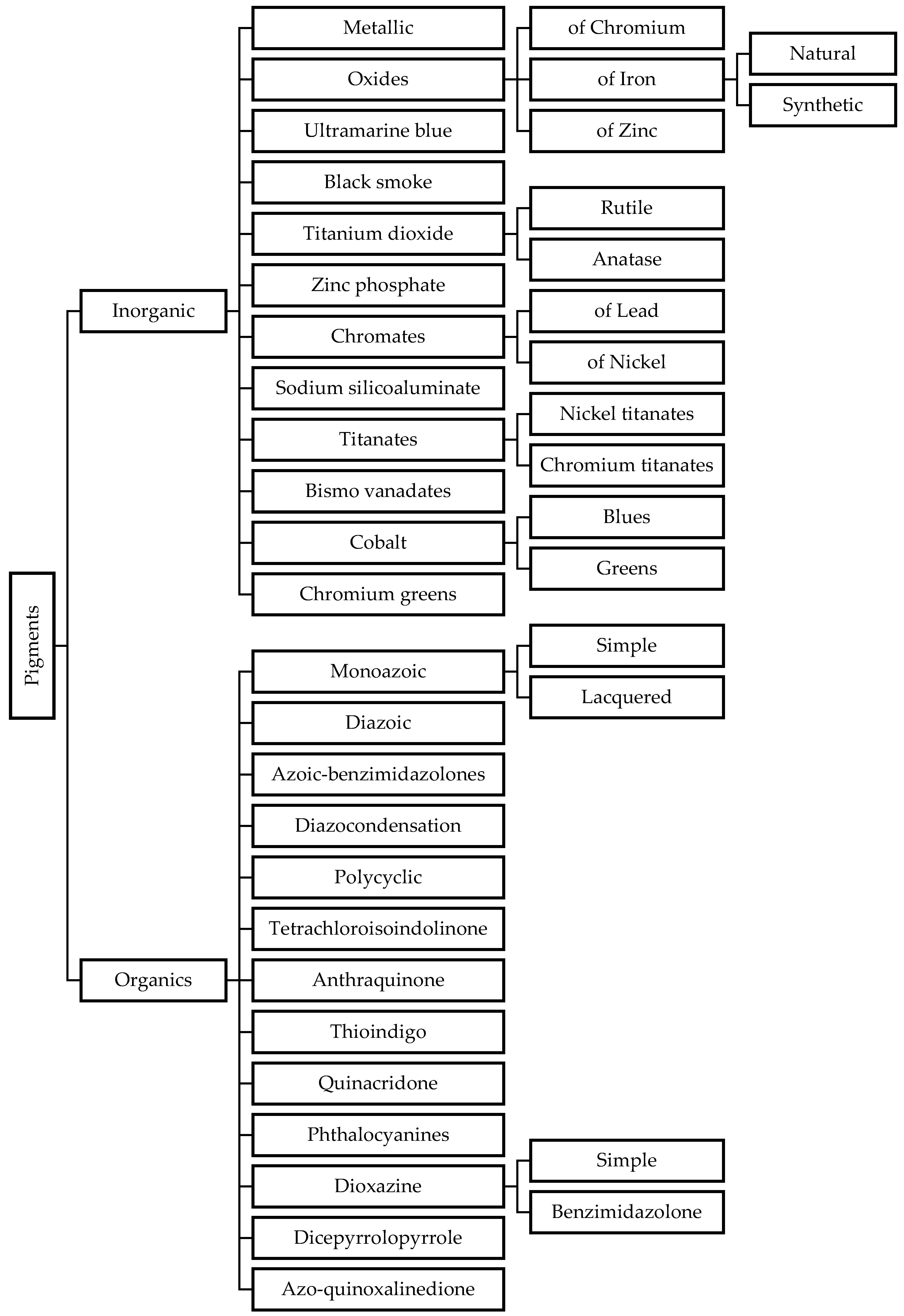
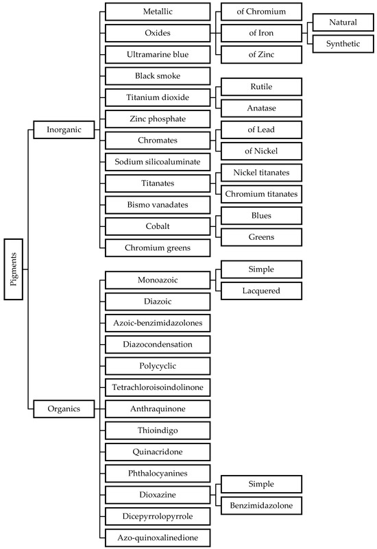
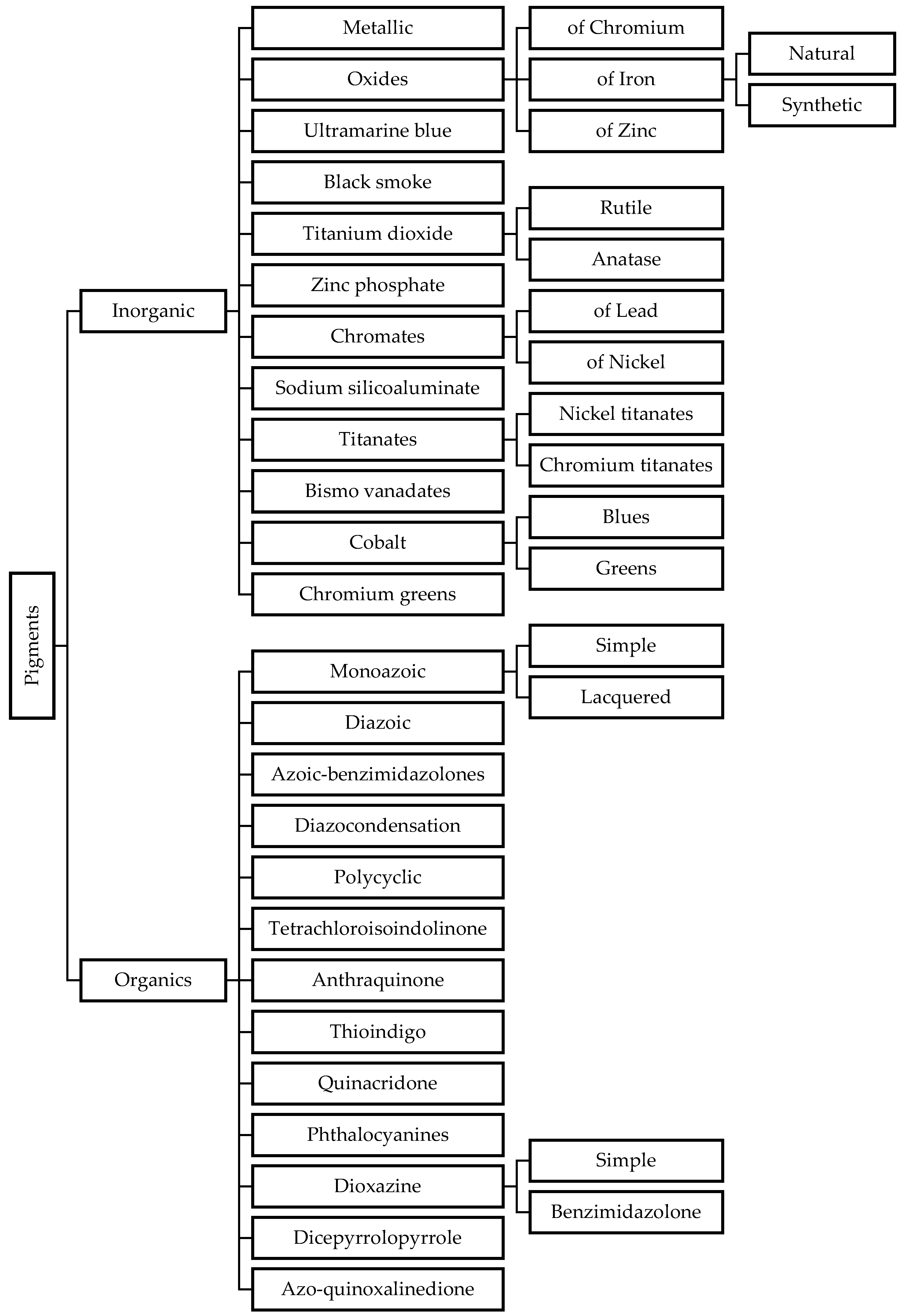
3. Corrosion Protection Mechanisms
3.1. Piping Coatings
Criteria for Selection and Development of Organic Coatings
4. Challenges and Future Perspectives
5. Conclusions
Author Contributions
Funding
Acknowledgments
Conflicts of Interest
Abbreviations
| ANSI | American National Standards Institute |
| API | American Petroleum Institute |
| ASME | American Society of Mechanical Engineers |
| ASTM | American Society for Testing and Materials |
| AWWA | American Water Works Association |
| BFD | Block Flow Diagram |
| CPS | Cyber-Physical Systems |
| EGIG | European Gas Pipeline Incident Data Group |
| FPSO | Floating Production Storage and Offloading |
| HSE | Health, Safety, and Environment |
| IFC | Issued for Construction |
| IFD | Issued for Design |
| IoT | Internet of Things |
| ISO | International Organization for Standardization |
| MIC | Microbiologically Influenced Corrosion |
| MSS | Manufacturers Standardization Society |
| NACE | National Association of Corrosion Engineers |
| NORSOK | Norsk Sokkels Konkurranseposisjon |
| NFPA | National Fire Protection Association |
| P&ID | Piping and Instrumentation Diagrams |
| Petrobras | Petróleo Brasileiro SA |
| P&ID | Piping and Instrumentation Diagrams |
| PDO | Petroleum Development Oman |
| PFD | Process Flow Diagram |
| PID | Piping and Instrumentation Diagrams |
| PIP | Process Industry Practice |
| PUF | Polyurethane Foam |
References
- Angelakis, A.N.; Passchier, C.W.; Valipour, M.; Krasilnikoff, J.A.; Tzanakakis, V.A.; Ahmed, A.T.; Baba, A.; Kumar, R.; Bilgic, E.; Capodaglio, A.G.; et al. Evolution of Tunneling Hydro-Technology: From Ancient Times to Present and Future. Hydrology 2023, 10, 190. [Google Scholar] [CrossRef]
- Campbell, J.W.P. The Development of Water Pipes: A Brief Introduction from Ancient Times until the Industrial Revolution. In Proceedings of the Eighth Annual Conference of the Construction History Society; Queens’ College: Cambridge, UK, 2021. [Google Scholar]
- Mazumder, R.K.; Salman, A.M.; Li, Y.; Yu, X. Reliability Analysis of Water Distribution Systems Using Physical Probabilistic Pipe Failure Method. J. Water Resour. Plan. Manag. 2019, 145, 04018097. [Google Scholar] [CrossRef]
- Telles, P.C.d.S. Tubulacoes Industriais: Materiais, Projeto e Montagem, 10th ed.; LTC: Rio de Janeiro, Brazil, 2018; ISBN 978-85-216-1289-6. [Google Scholar]
- Snider, B.; McBean, E.A. Improving Urban Water Security through Pipe-Break Prediction Models: Machine Learning or Survival Analysis. J. Environ. Eng. 2020, 146, 04019129. [Google Scholar] [CrossRef]
- Balekelayi, N.; Tesfamariam, S. Statistical Inference of Sewer Pipe Deterioration Using Bayesian Geoadditive Regression Model. J. Infrastruct. Syst. 2019, 25, 04019021. [Google Scholar] [CrossRef]
- Lee, J.; Park, C.Y.; Baek, S.; Han, S.H.; Yun, S. Risk-Based Prioritization of Sewer Pipe Inspection from Infrastructure Asset Management Perspective. Sustainability 2021, 13, 7213. [Google Scholar] [CrossRef]
- Kidam, K.; Hurme, M. Analysis of Equipment Failures as Contributors to Chemical Process Accidents. Process Saf. Environ. Prot. 2013, 91, 61–78. [Google Scholar] [CrossRef]
- Duguid, I. Take This Safety Database to Heart. Chem. Eng. 2001, 108, 80–84. [Google Scholar]
- Vílchez, J.A.; Sevilla, S.; Montiel, H.; Casal, J. Historical Analysis of Accidents in Chemical Plants and in the Transportation of Hazardous Materials. J. Loss Prev. Process Ind. 1995, 8, 87–96. [Google Scholar] [CrossRef]
- Instone, B.T. Losses in the Hydrocarbon Process Industries. In Proceedings of the 6th Int. Symposium Loss Prevention and Safety Promotion in the Chemical Industries, Oslo, Norway, 19–22 June 1989; pp. 118–119. [Google Scholar]
- Marsh Inc. Thirty-Year Review of One Hundred of the Largest Property Damage Losses in the Hydrocarbon-Chemical Industries; Marsh Inc.: New York, USA, 1987. [Google Scholar]
- Biezma, M.V.; Andrés, M.A.; Agudo, D.; Briz, E. Most Fatal Oil & Gas Pipeline Accidents through History: A Lessons Learned Approach. Eng. Fail. Anal. 2020, 110, 104446. [Google Scholar] [CrossRef]
- Fan, L.; Su, H.; Wang, W.; Zio, E.; Zhang, L.; Yang, Z.; Peng, S.; Yu, W.; Zuo, L.; Zhang, J. A Systematic Method for the Optimization of Gas Supply Reliability in Natural Gas Pipeline Network Based on Bayesian Networks and Deep Reinforcement Learning. Reliab. Eng. Syst. Saf. 2022, 225, 108613. [Google Scholar] [CrossRef]
- Wang, W.; Zhang, Y.; Li, Y.; Hu, Q.; Liu, C.; Liu, C. Vulnerability Analysis Method Based on Risk Assessment for Gas Transmission Capabilities of Natural Gas Pipeline Networks. Reliab. Eng. Syst. Saf. 2022, 218, 108150. [Google Scholar] [CrossRef]
- Moskovitch, Y.; Jagadish, H.V. Reliability at Multiple Stages in a Data Analysis Pipeline. Commun. ACM 2022, 65, 118–128. [Google Scholar] [CrossRef]
- Nahal, M.; Chateauneuf, A.; Sahraoui, Y. Reliability Analysis of Irregular Zones in Pipelines under Both Effects of Corrosion and Residual Stress. Eng. Fail. Anal. 2019, 98, 177–188. [Google Scholar] [CrossRef]
- Yu, W.; Huang, W.; Wen, K.; Zhang, J.; Liu, H.; Wang, K.; Gong, J.; Qu, C. Subset Simulation-Based Reliability Analysis of the Corroding Natural Gas Pipeline. Reliab. Eng. Syst. Saf. 2021, 213, 107661. [Google Scholar] [CrossRef]
- Al-Sabaeei, A.M.; Alhussian, H.; Abdulkadir, S.J.; Jagadeesh, A. Prediction of Oil and Gas Pipeline Failures through Machine Learning Approaches: A Systematic Review. Energy Rep. 2023, 10, 1313–1338. [Google Scholar] [CrossRef]
- Li, R.; Chen, B.-Q.; Guedes Soares, C. Design Equation of Buckle Propagation Pressure for Pipe-in-Pipe Systems. J. Mar. Sci. Eng. 2023, 11, 622. [Google Scholar] [CrossRef]
- Li, W.; Ye, Z.; Wang, Y.; Yang, H.; Yang, S.; Gong, Z.; Wang, L. Development of a Distributed MR-IoT Method for Operations and Maintenance of Underground Pipeline Network. Tunn. Undergr. Space Technol. 2023, 133, 104935. [Google Scholar] [CrossRef]
- Wong, B.; McCann, J.A. Failure Detection Methods for Pipeline Networks: From Acoustic Sensing to Cyber-Physical Systems. Sensors 2021, 21, 4959. [Google Scholar] [CrossRef] [PubMed]
- EGIG 11th Report of the European Gas Pipeline Incident Data Group; EGIG: Groningen, The Netherlands, 2020.
- Soomro, A.A.; Mokhtar, A.A.; Kurnia, J.C.; Lashari, N.; Sarwar, U.; Jameel, S.M.; Inayat, M.; Oladosu, T.L. A Review on Bayesian Modeling Approach to Quantify Failure Risk Assessment of Oil and Gas Pipelines due to Corrosion. Int. J. Press. Vessel. Pip. 2022, 200, 104841. [Google Scholar] [CrossRef]
- Farh, H.M.H.; Ben Seghier, M.E.A.; Zayed, T. A Comprehensive Review of Corrosion Protection and Control Techniques for Metallic Pipelines. Eng. Fail. Anal. 2022, 143, 106885. [Google Scholar] [CrossRef]
- PETROBRAS N-0057 H: Projeto Mecânico de Tubulações Industriais; LTC: Rio de Janeiro, Brazil, 2017.
- Barker, G.B. The Engineer’s Guide to Plant Layout and Piping Design for the Oil and Gas Industries; Gulf Professional Publishing: Woburn, MA, USA, 2017. [Google Scholar]
- Couper, J.R.; Penney, W.R.; Fair, J.R.; Walas, S.M. Chemical Process Equipment: Selection and Design, 3rd ed.; Butterworth-Heinemann: Woburn, MA, USA, 2010. [Google Scholar]
- Kumar Singh, A. Overview of Hazardous Locations. In Explosion-Proof Equipment in Hazardous Area; Springer Nature Singapore: Singapore, 2023; pp. 1–22. [Google Scholar]
- Oliver, E.; Rudrapada, G.; Sarada, S. Recommendations for Design Basis Approach to Fire Protection and Safety Systems for US Offshore Wind Industry. In Offshore Technology Conference; OTC: Richardson, TX, USA, 2023. [Google Scholar]
- Hasan, R.; Brownlee, R.; Mendler, R.; D’Souza, M. Expected Sources of Energies in Hazardous Spectrum and Their Control: Ensuring the Safe Use of Mobile Devices in the Work Environment. IEEE Ind. Appl. Mag. 2024, 30, 42–51. [Google Scholar] [CrossRef]
- NFPA NFPA 70; National Electrical Code (NEC). NFPA: Quincy, MA, USA, 2023.
- IEC 60079-10-1; Explosive Atmospheres—Part 10-1: Classification of Areas—Explosive Gas Atmospheres. IEC: Geneva, Switzerland, 2020.
- Stewart, M. Surface Production Operations; Professional Publishing: Woburn, MA, USA, 2021. [Google Scholar]
- ASME B31; Pressure Piping. ASME: New York, NY, USA, 2024.
- ASME B31.1; Power Piping. ASME: New York, NY, USA, 2022.
- ASME B31.3; Process Piping. ASME: New York, NY, USA, 2023.
- ASME B31.4; Pipeline Transportation Systems for Liquid Hydrocarbon and Other Liquids. ASME: New York, NY, USA, 2022.
- ASME B31.5; Refrigeration Piping and Heat Transfer Components. ASME: New York, NY, USA, 2023.
- ASME B31.8; Gas Transmission and Distribution Piping Systems. ASME: New York, NY, USA, 2022.
- ASME B31.9; Building Services Piping. ASME: New York, NY, USA, 2020.
- ASME B31.12; Hydrogen Piping and Pipelines. ASME: New York, NY, USA, 2024.
- ASME B31G; Manual for Determining the Remaining Strength of Corroded Pipelines. ASME: New York, NY, USA, 2023.
- Petrobras N-0108 E; Vents and Drains for Piping and Equipment. LTC: Rio de Janeiro, Brazil, 2014.
- PETROBRAS N-0116 E; Sistemas de Purga de Vapor em Tubulações e Equipamentos. LTC: Rio de Janeiro, Brazil, 2013.
- SMITH, P. The Fundamentals of Piping Design; Elsevier: Amesterdam, The Netherlands, 2023. [Google Scholar]
- ASME B16.1; Gray Iron Pipe Flanges and Flanged Fittings: Classes 25, 125, And 250. ASME: New York, NY, USA, 2020.
- ASME B16.5; Pipe Flanges and Flanged Fittings: NPS 1/2 Through NPS 24, Metric/Inch Standard. ASME: New York, NY, USA, 2020.
- ASME B16.24; Cast Copper Alloy Pipe Flanges, Flanged Fittings, And Valves: Classes 150, 300, 600, 900, 1500, And 2500. ASME: New York, NY, USA, 2021.
- ASME B16.36; Orifice Flanges. ASME: New York, NY, USA, 2020.
- ASME B16.42; Ductile Iron Pipe Flanges and Flanged Fittings: Classes 150 and 300. ASME: New York, NY, USA, 2021.
- ASME B16.47; Large Diameter Steel Flanges: NPS 26 Through NPS 60, Metric/Inch Standard. ASME: New York, NY, USA, 2020.
- ASME B16.48; Line Blanks. AWWA: Denver, CO, USA, 2020.
- AWWA C115; Flanged Ductile-Iron Pipe with Ductile-Iron or Gray-Iron Threaded Flanges. AWWA: Denver, CO, USA, 2020.
- AWWA C207; Steel Pipe Flanges for Waterworks Service, Sizes 4 in. Through 144 in. (100 MM Through 3600 MM). AWWA: Denver, CO, USA, 2023.
- MSS SP-44; Steel Pipeline Flanges. MSS: Alexandria, VA, USA, 2019.
- MSS SP-51; Class 150LW Corrosion Resistant Flanges and Cast Flanged Fittings. MSS: Alexandria, VA, USA, 2021.
- MSS SP-65; High Pressure Chemical Industry Flanges and Threaded Stubs for Use with Lens Gaskets. MSS: Alexandria, VA, USA, 2024.
- Aziz, A.S.B.A. The Basics of Chemical Plant Operations; Universiti College TATI: Kemaman, Malaysia, 2023. [Google Scholar]
- ASME B16.10; Face-to-Face and End-to-End Dimensions of Valves. AWWA: Denver, CO, USA, 2023.
- ASME B16.34; Valves-Flanged, Threaded, and Welding End. AWWA: Denver, CO, USA, 2021.
- API STD 526; Flanged Steel Pressure-Relief Valves. API: Washington, DC, USA, 2023.
- API STD 594; Check Valves: Flanged, Lug, Wafer, and Butt-Welding. API: Washington, DC, USA, 2022.
- API STD 599; Metal Plug Valves—Flanged, Threaded, and Welding Ends. API: Washington, DC, USA, 2020.
- API STD 600; Steel Gate Valves—Flanged and Butt-Welding Ends, Bolted Bonnets. API: Washington, DC, USA, 2024.
- API STD 602; Gate, Globe, and Check Valves for Sizes DN 100 (NPS 4) and Smaller for the Petroleum and Natural Gas Industries. API: Washington, DC, USA, 2024.
- API STD 603; Corrosion-Resistant, Bolted Bonnet Gate Valves—Flanged and Butt-Welding Ends. API: Washington, DC, USA, 2018.
- API STD 608; Metal Ball Valves—Flanged, Threaded, and Welding Ends. API: Washington, DC, USA, 2020.
- API STD 609; Butterfly Valves: Double-Flanged, Lug- and Wafer-Type, and Butt-Welding Ends. API: Washington, DC, USA, 2021.
- AWWA C500; Metal-Seated Gate Valves for Water Supply Service. AWWA: Denver, CO, USA, 2019.
- AWWA C504; Rubber-Seated Butterfly Valves. AWWA: Denver, CO, USA, 2023.
- MSS SP-42; Corrosion-Resistant Gate, Globe, Angle, and Check Valves with Flanged and Butt Weld Ends (Classes 150, 300, & 600). MSS: Alexandria, VA, USA, 2013.
- MSS SP-70; Gray Iron Gate Valves, Flanged and Threaded Ends. MSS: Alexandria, VA, USA, 2011.
- MSS SP-71; Gray Iron Swing Check Valves, Flanged and Threaded Ends. MSS: Alexandria, VA, USA, 2018.
- MSS SP-72; Ball Valves with Flanged or Butt-Welding Ends for General Service. MSS: Alexandria, VA, USA, 2010.
- MSS SP-80; Bronze Gate, Globe, Angle, and Check Valves. MSS: Alexandria, VA, USA, 2019.
- MSS SP-81; Stainless-Steel or Stainless-Steel-Lined, Bonnetless, Knife Gate Valves with Flanged Ends. MSS: Alexandria, VA, USA, 2021.
- MSS SP-85; Gray Iron Globe & Angle Valves, Flanged and Threaded Ends. MSS: Alexandria, VA, USA, 2011.
- MSS SP-88; Diaphragm Valves. MSS: Alexandria, VA, USA, 2021.
- MSS SP-105; Instrument Valves for Code Applications. MSS: Alexandria, VA, USA, 2023.
- MSS SP-58; Pipe Hangers and Supports–Materials, Design, Manufacture, Selection, Application, and Installation. MSS: Alexandria, VA, USA, 2018.
- Abajuo, C.; Nwamaghinna, N.; Osinjolu, T.; Court, J.-P.; Matteoli, F.; Paillusseau, C. Replacement of Structural Support on a Brownfield FPSO Using Cold Work: A Case Study on Bonga FPSO’s Pipe Support Replacement. In Offshore Technology Conference; OTC: Richardson, TX, USA, 2024. [Google Scholar]
- Mensah, A.; Sriramula, S. Probabilistic Finite Element-Based Reliability of Corroded Pipelines with Interacting Corrosion Cluster Defects. Int. J. Press. Vessel. Pip. 2024, 207, 105086. [Google Scholar] [CrossRef]
- Pialucha, T.; Pavlakovic, B.; Alleyne, D.; Cawley, P. Quantitative Measurement of Remnant Thickness in Corrosion under Pipe Supports. Insight—Non-Destr. Test. Cond. Monit. 2020, 62, 642–648. [Google Scholar] [CrossRef]
- Marzuki, M.; Turmizi, T.; Bukhari, B.; Juhan, J.; Ibrahim, A.; Khatami, A. Mechanical Properties Analysis of ASME SA-106 Grade B Pipe Material Welded Joints in Combination of SMAW and GTAW Welding. J. Polimesin 2023, 21, 140–145. [Google Scholar]
- Velasco, D.C.R.; Lopes, F.P.D.; Simonassi, N.T.; Vieira, C.M.F. Description of the Surface Preparation of Metallic Substrates by Rotating Blaster. Braz. J. Dev. 2022, 8, 24260–24271. [Google Scholar] [CrossRef]
- Li, L.; Niu, X.; Han, B.; Song, L.; Li, X. Microstructure and Properties of Laser Cladding Coating at the End of L415/316L Bimetal Composite Pipe. Int. J. Press. Vessel. Pip. 2022, 195, 104568. [Google Scholar] [CrossRef]
- Wang, H.; Wang, T.; Yang, S.; Gao, J.; Yu, Y.; Tao, H. Ductile Burst Behavior of High Pressure X100 Steel Pipe Considering Hydrogen Damage. Int. J. Hydrogen Energy 2024, 58, 362–379. [Google Scholar] [CrossRef]
- Bokde, R.D.; Bankar, V.H. Paper on Design and Analysis of Bending Furnace Using Light Diesel Oil as an Alternative Fuel. GRD J. Eng. 2019, 1, 64–77. [Google Scholar]
- Atal, S.; Dwivedi, D.; Tripathi, N.M. Corrosion under Insulation (CUI) in Oil and Gas Industries. In Functional Materials for the Oil and Gas Industry; CRC Press: Boca Raton, FL, USA, 2023; pp. 127–138. [Google Scholar]
- ASME B36.10M; Welded and Seamless Wrought Steel Pipe. ASME: New York, NY, USA, 2018.
- ASME B36.19M; Stainless Steel Pipe. ASME: New York, NY, USA, 2018.
- Azevedo, V.M.; Velasco, D.C.R.; Gusmão, L.C.B. Projeto de uma linha de vapor entre caldeira e turbina. Rev. FOCO 2024, 17, e5708. [Google Scholar] [CrossRef]
- Bahadori, A. Hazardous Area Classification in Petroleum and Chemical Plants: A Guide to Mitigating Risk, 1st ed.; CRC Press: Boca Raton, FL, USA, 2013. [Google Scholar]
- Petrobras N-0894; Design of Cold Insulation. LTC: Rio de Janeiro, Brazil, 2022.
- Petrobras N-0550; Projeto de Isolamento Térmico a Alta Temperatura. LTC: Rio de Janeiro, Brazil, 2024.
- Cosentino, L.; Fernandes, J.; Mateus, R. A Review of Natural Bio-Based Insulation Materials. Energies 2023, 16, 4676. [Google Scholar] [CrossRef]
- Malachy Udowo, V.; Yan, M.; Liu, F.; Ikeuba, A.I. Corrosion under Insulation of Pipeline Steel in Groundwater Containing Sulphate-Reducing Bacteria. Corros. Eng. Sci. Technol. 2023, 58, 549–560. [Google Scholar] [CrossRef]
- Wu, J.; Ghosh, S.; Gonuguntla, M.; Liu, F.; Jin, Y. A Review of Research Methods for Corrosion under Insulation. Corros. Rev. 2023, 41, 263–276. [Google Scholar] [CrossRef]
- Wang, Y.; Wang, C.; Gao, S.; Zheng, X.; Darkwa, J. The Impact of Thermal Insulation on Cooling Energy Consumption and Optimal Insulation Thickness for Underground Tunnel. Sustain. Energy Technol. Assess. 2021, 47, 101495. [Google Scholar] [CrossRef]
- Zhang, L.; Zou, Y.; Yang, Y.; Chen, X.; Dai, Y.; Zhou, C.; Xu, H. Design and Optimization of Thermal Insulation Structure for High-Temperature Pipeline inside the Lower Tank Wall. Ann. Nucl. Energy 2023, 192, 109988. [Google Scholar] [CrossRef]
- Hwang, S.-Y.; Kim, M.-S.; Lee, J.-H. Thermal Stress Analysis of Process Piping System Installed on LNG Vessel Subject to Hull Design Loads. J. Mar. Sci. Eng. 2020, 8, 926. [Google Scholar] [CrossRef]
- Becth, C., IV. Process Piping: The Complete Guide to the ASME B31.3, 4th ed.; ASME: New York, NY, USA, 2021. [Google Scholar]
- Zahid, U.; Khan, S.Z.; Khan, M.A.; Bukhari, H.J.; Ahmed, I.; Khan, K.A. A Methodology for Flexibility Analysis of Process Piping. Proc. Inst. Mech. Eng. Part E J. Process Mech. Eng. 2018, 232, 751–761. [Google Scholar] [CrossRef]
- Paz-Martínez-Viademonte, M.; Abrahami, S.T.; Hack, T.; Burchardt, M.; Terryn, H. A Review on Anodizing of Aerospace Aluminum Alloys for Corrosion Protection. Coatings 2020, 10, 1106. [Google Scholar] [CrossRef]
- Shaik, N.B.; Pedapati, S.R.; B A Dzubir, F.A. Remaining Useful Life Prediction of a Piping System Using Artificial Neural Networks: A Case Study. Ain Shams Eng. J. 2022, 13, 101535. [Google Scholar] [CrossRef]
- Velasco, D.C.R.; Oliveira, D.L.R.; Lopes, F.P.D.; Souza, D.; Vieira, C.M.F. Influence of the Use of Anti-Bubble Additives on the Permeability and Porosity of Anticorrosive Coatings. In TMS Annual Meeting & Exhibition; Springer Nature: Cham, Switzerland, 2024; pp. 109–116. [Google Scholar]
- ISO 12944-2; Paints and Varnishes—Corrosion Protection of Steel Structures by Protective Paint Systems: Part 2—Classification of Environments. ISO: Geneva, Switzerland, 2017.
- Al-Janabi, Y.T. An Overview of Corrosion in Oil and Gas Industry. In Corrosion Inhibitors in the Oil and Gas Industry; Wiley: Hoboken, NJ, USA, 2020; pp. 1–39. [Google Scholar]
- Hussein Farh, H.M.; Ben Seghier, M.E.A.; Taiwo, R.; Zayed, T. Analysis and Ranking of Corrosion Causes for Water Pipelines: A Critical Review. NPJ Clean Water 2023, 6, 65. [Google Scholar] [CrossRef]
- Oshin, T.A.; Fakinle, B.S.; Oyewole, O. The Role of Microbes in the Inhibition of the Atmospheric Corrosion of Steel Caused by Air Pollutants. Corros. Rev. 2023, 41, 635–647. [Google Scholar] [CrossRef]
- Pereira, A.A.; Neves, A.C.; Ladeira, D.; Caprace, J.-D. Corrosion Prediction of FPSOs Hull Using Machine Learning. Mar. Struct. 2024, 97, 103652. [Google Scholar] [CrossRef]
- Oluwatayo, M.; Atebe, O.; Okafor, F.; Nebo, O.; Etuk, O.; Nwaonu, S.; Akanni, J.; Onukwugha, P. Bonga FPSO: Corrosion Management in the First Deep Water FPSO in the Gulf of Guinea—A Methodical Approach to Inspections and Fabric Maintenance. In Offshore Technology Conference; OTC: Richardson, TX, USA, 2024. [Google Scholar]
- Gentil, V. Corrosão, 7th ed.; LTC: Rio de Janeiro, Brazil, 2022; ISBN 978-85-216-1804-1. [Google Scholar]
- Cao, B.S.; Wu, C.L.; Wang, L.; Zhang, S.; Zhang, C.H.; Sun, X.Y. Effect of Residual Stress and Phase Constituents on Corrosion-Cavitation Erosion Behavior of 304 Stainless Steel by Iso-Material Manufacturing of Laser Surface Melting. J. Mater. Res. Technol. 2023, 26, 6532–6551. [Google Scholar] [CrossRef]
- Ibrahimi, B.E.; Nardeli, J.V.; Guo, L. An Overview of Corrosion. Sustainable Corrosion Inhibitors I: Fundamentals, Methodologies, and Industrial Applications. Methodol. Ind. Appl. 2021, 1, 1–19. [Google Scholar]
- Maher, M.; Iraola-Arregui, I.; Ben Youcef, H.; Rhouta, B.; Trabadelo, V. The Synergistic Effect of Wear-Corrosion in Stainless Steels: A Review. Mater. Today Proc. 2022, 51, 1975–1990. [Google Scholar] [CrossRef]
- Ralls, A.M.; Menezes, P.L. Revealing the Fretting Corrosion Degradation Mechanisms of Friction Stir Processed Cold Spray Additively Manufactured Stainless Steel. Int. J. Adv. Manuf. Technol. 2024, 130, 2855–2876. [Google Scholar] [CrossRef]
- Behvar, A.; Aghayar, Y.; Avateffazeli, M.; Tridello, A.; Benelli, A.; Paolino, D.S.; Mohammadi, M.; Haghshenas, M. Synergistic Impact of Corrosion Pitting on the Rotating Bending Fatigue of Additively Manufactured 316L Stainless Steel: Integrated Experimental and Modeling Analyses. Int. J. Fatigue 2024, 188, 108491. [Google Scholar] [CrossRef]
- Fathyunes, L.; Mohtadi-Bonab, M.A. A Review on the Corrosion and Fatigue Failure of Gas Turbines. Metals 2023, 13, 701. [Google Scholar] [CrossRef]
- Matlakhov, A.N. Corrosão e Proteção dos Materiais; Matlakhova, L.A., Ed.; Paco Editorial: Jundiaí, Brazil, 2021. [Google Scholar]
- Tian, H.; Cui, Z.; Ma, H.; Zhao, P.; Yan, M.; Wang, X.; Cui, H. Corrosion Evolution and Stress Corrosion Cracking Behavior of a Low Carbon Bainite Steel in the Marine Environments: Effect of the Marine Zones. Corros. Sci. 2022, 206, 110490. [Google Scholar] [CrossRef]
- Knisz, J.; Eckert, R.; Gieg, L.M.; Koerdt, A.; Lee, J.S.; Silva, E.R.; Skovhus, T.L.; An Stepec, B.A.; Wade, S.A. Microbiologically Influenced Corrosion—More than Just Microorganisms. FEMS Microbiol. Rev. 2023, 47, fuad041. [Google Scholar] [CrossRef]
- Abilio, A.d.A.; Wolodko, J.D.; Eckert, R.B.; Skovhus, T.L. Development of an Expert System for Assessing Failures in Oil and Gas Pipelines Due to Microbiologically Influenced Corrosion (MIC). Eng. Fail. Anal. 2024, 163, 108426. [Google Scholar] [CrossRef]
- Hussain, A.K.; Seetharamaiah, N.; Pichumani, M.; Chakra, C.S. Research Progress in Organic Zinc Rich Primer Coatings for Cathodic Protection of Metals—A Comprehensive Review. Prog. Org. Coat. 2021, 153, 106040. [Google Scholar] [CrossRef]
- Nazari, M.H.; Zhang, Y.; Mahmoodi, A.; Xu, G.; Yu, J.; Wu, J.; Shi, X. Nanocomposite Organic Coatings for Corrosion Protection of Metals: A Review of Recent Advances. Prog. Org. Coat. 2022, 162, 106573. [Google Scholar] [CrossRef]
- Sharun, V.; Rajasekaran, M.; Kumar, S.S.; Tripathi, V.; Sharma, R.; Puthilibai, G.; Sudhakar, M.; Negash, K. Study on Developments in Protection Coating Techniques for Steel. Adv. Mater. Sci. Eng. 2022, 2022, 2843043. [Google Scholar] [CrossRef]
- Velasco, D.C.R.; Lopes, F.P.D.; Simonassi, N.T.; Vieira, C.M.F. Influência Da Incorporação de Resíduos Na Permeabilidade Ao Vapor de Água de Compósitos de Matriz Epoxídica/Influence of the Incorporation of Waste on the Water Vapor Permeability of Epoxide Matrix Composites. Braz. J. Dev. 2022, 8, 24272–24282. [Google Scholar] [CrossRef]
- Sheydaei, M. The Use of Plant Extracts as Green Corrosion Inhibitors: A Review. Surfaces 2024, 7, 380–403. [Google Scholar] [CrossRef]
- WIPO PatentScope. Available online: https://patentscope.wipo.int/ (accessed on 1 February 2025).
- Elsevier ScienceDirect. Available online: https://www.sciencedirect.com/ (accessed on 1 February 2025).
- Chen, T.; Shang, T.; Jiang, G.; Teng, H.; Liu, W.; He, X.; Zhou, X.; Liu, W.; Cheng, X.; Li, X.; et al. Effect of SO2 and NH3 on the Corrosion Failure of Zn-Al-Mg Coatings. Surf. Coat. Technol. 2024, 493, 131244. [Google Scholar] [CrossRef]
- Fayomi, O.S.I.; Akande, I.G.; Sode, A.A. Corrosion Prevention of Metals via Electroless Nickel Coating: A Review. J. Phys. Conf. Ser. 2019, 1378, 022063. [Google Scholar] [CrossRef]
- Verma, C.; Alameri, A.; Barsoum, I.; Alfantazi, A. Review on Corrosion-Related Aspects of Metallic Alloys Additive Manufactured with Laser Powder Bed-Fusion (LPBF) Technology. Prog. Addit. Manuf. 2024, 1–29. [Google Scholar] [CrossRef]
- Chakravarti, B.; Baker, B.A.; Maitra, D. Method for Making Clad Metal Pipe. US10112254B2, 2015. [Google Scholar]
- Zhang, W.; Xin, S.; Huang, Q.; Jiao, H. Study on the Thermal Control Performance of Mg-Li Alloy Micro-Arc Oxidation Coating in High-Temperature Environments. Surfaces 2024, 7, 969–978. [Google Scholar] [CrossRef]
- Bazli, L.; Yusuf, M.; Farahani, A.; Kiamarzi, M.; Seyedhosseini, Z.; Nezhadmansari, M.; Aliasghari, M.; Iranpoor, M. Application of Composite Conducting Polymers for Improving the Corrosion Behavior of Various Substrates: A Review. J. Compos. Compd. 2020, 2, 228–240. [Google Scholar] [CrossRef]
- Bubnova, O.; Khan, Z.U.; Wang, H.; Braun, S.; Evans, D.R.; Fabretto, M.; Hojati-Talemi, P.; Dagnelund, D.; Arlin, J.-B.; Geerts, Y.H.; et al. Semi-Metallic Polymers. Nat. Mater. 2014, 13, 190–194. [Google Scholar] [CrossRef]
- Xie, J.; Ewing, S.; Boyn, J.-N.; Filatov, A.S.; Cheng, B.; Ma, T.; Grocke, G.L.; Zhao, N.; Itani, R.; Sun, X.; et al. Intrinsic Glassy-Metallic Transport in an Amorphous Coordination Polymer. Nature 2022, 611, 479–484. [Google Scholar] [CrossRef]
- Bai, M.; Liu, T.; Liu, B.; Li, Y.; Yu, H.; Zhao, Y.; Yang, C.; Song, L.; Liu, W. Preparation and Properties of Polyurethane Cold Galvanizing Coatings with Phosphoric Acid Modified Zinc Powder. Surf. Coat. Technol. 2024, 489, 131128. [Google Scholar] [CrossRef]
- Lin, X.-Y.; Yu, Y.-H.; Tse, M.-M.; Cheng, S.-H.; Liu, Y.-H.; Lu, K.-L. Semiconductive (Cu–S)n Metal–Organic Framework Incorporated Polyimide Nanocomposite Coatings Forming an Oxide Barrier for Durable Anticorrosion Effects. Prog. Org. Coat. 2023, 180, 107562. [Google Scholar] [CrossRef]
- Riaz, U.; Nwaoha, C.; Ashraf, S.M. Recent Advances in Corrosion Protective Composite Coatings Based on Conducting Polymers and Natural Resource Derived Polymers. Prog. Org. Coat. 2014, 77, 743–756. [Google Scholar] [CrossRef]
- Jiang, C.; Wang, A.; Bao, X.; Ni, T.; Ling, J. A Review on Geopolymer in Potential Coating Application: Materials, Preparation and Basic Properties. J. Build. Eng. 2020, 32, 101734. [Google Scholar] [CrossRef]
- Azevedo, A.R.G.; Marvila, M.T.; Vieira, C.M.F. Película de Reparo e Proteção a Base de Tinta Geopolimérica Para Aplicação Em Substratos de Concreto. BR 10 2020 008058 0 A2 2020, 3 November 2021. [Google Scholar]
- Junior Linhares, J.A.; de Azevedo, A.R.G.; Marvila, M.T.; Teixeira, S.R.; Fediuk, R.; Vieira, C.M.F. Influence of Processing Parameters Variation on the Development of Geopolymeric Ceramic Blocks with Calcined Kaolinite Clay. Case Stud. Constr. Mater. 2022, 16, e00897. [Google Scholar] [CrossRef]
- Thomas, D.; Philip, E.; Sindhu, R.; Ulaeto, S.B.; Pugazhendhi, A.; Awasthi, M.K. Developments in Smart Organic Coatings for Anticorrosion Applications: A Review. Biomass Convers. Biorefinery 2022, 12, 4683–4699. [Google Scholar] [CrossRef]
- NORSOK M-501; Surface Preparation and Protective Coating. NORSOK: Lysaker, Norway, 2022.
- PETROBRAS N-2912 A; Novolac Epoxy Paint. LTC: Rio de Janeiro, Brazil, 2016.
- ISO 8501-1; Preparation of Steel Substrates before Application of Paints and Related Products—Visual Assessment of Surface Cleanliness—Part 1: Rust Grades and Preparation Grades of Uncoated Steel Substrates and of Steel Substrates after Overall Removal of Previous Coatings. ISO: Geneva, Switzerland, 2007.
- PDO SP-2217; Specification of Internal FBE and Liquid Coating Systems For Carbon Steel Piping and Line Pipes. Petroleum Development Oman: Muscat, Oman, 2017.
- PETROBRAS N-2843 C; Internal Coating of Pipes. LTC: Rio de Janeiro, Brazil, 2020.
- Faccini, M.; Bautista, L.; Soldi, L.; Escobar, A.M.; Altavilla, M.; Calvet, M.; Domènech, A.; Domínguez, E. Environmentally Friendly Anticorrosive Polymeric Coatings. Appl. Sci. 2021, 11, 3446. [Google Scholar] [CrossRef]
- McInerney, M.K.; Marsh, C.P.; Hock, V.F.; Beitelman, A.D.; Skaja, A.; Carlson, T.A. Use of Coatings on Hydraulic Steel Structures: Part 1-Overview and Field Survey; U.S. Army Corps of Engineers: Fort Belvoir, VA, USA, 2016. [Google Scholar]
- Baig, M.M.A.; Samad, M.A. Epoxy\Epoxy Composite\Epoxy Hybrid Composite Coatings for Tribological Applications—A Review. Polymers 2021, 13, 179. [Google Scholar] [CrossRef] [PubMed]
- Wang, Y.; Ou, B.; Zhu, P.; Niu, B.; Guo, Y.; Zhi, Q. High Mechanical Strength Aluminum Foam Epoxy Resin Composite Material with Superhydrophobic, Anticorrosive and Wear-Resistant Surface. Surf. Interfaces 2022, 29, 101747. [Google Scholar] [CrossRef]
- Ma, Y.; Ye, Y.; Wan, H.; Chen, L.; Zhou, H.; Chen, J. Chemical Modification of Graphene Oxide to Reinforce the Corrosion Protection Performance of UV-Curable Polyurethane Acrylate Coating. Prog. Org. Coat. 2020, 141, 105547. [Google Scholar] [CrossRef]
- Rabbani, S.; Bakhshandeh, E.; Jafari, R.; Momen, G. Superhydrophobic and Icephobic Polyurethane Coatings: Fundamentals, Progress, Challenges and Opportunities. Prog. Org. Coat. 2022, 165, 106715. [Google Scholar] [CrossRef]
- Qu, L.; Wang, Q.; Xu, S.; Wang, N.; Shi, Z. Chloride Corrosion Resistance of Double-Layer Anticorrosive Coating in Simulated Concrete Pore Solution. Constr. Build. Mater. 2021, 295, 123682. [Google Scholar] [CrossRef]
- Zhang, Z.; Liu, Y.; Yan, H.; Hu, C.; Huang, Y. Ultralong-Term Durable Anticorrosive Coatings by Integration of Double-Layered Transfer Self-Healing Ability, Fe Ion-Responsive Ability, and Active/Passive Functional Partitioning. ACS Appl. Mater. Interfaces 2024, 16, 1564–1577. [Google Scholar] [CrossRef]
- Ghosal, S.; Dey, R.; Duari, B. Evaluation of Coatings Suitability for Buried SS316L Pipelines. Prog. Color Color. Coat. 2023, 16, 361–375. [Google Scholar]
- Mohamed, M.G.; Ahmed, N.M.; Mohamed, W.S.; Mabrouk, M.R. Novel Water-Based Coatings of Acrylic-Polyurethane Reinforced with Mixed Metal Pigment for Oil and Gas Pipelines Protection. Prog. Org. Coat. 2020, 149, 105941. [Google Scholar] [CrossRef]
- Buyondo, K.A.; Kasedde, H.; Kirabira, J.B. A Comprehensive Review on Kaolin as Pigment for Paint and Coating: Recent Trends of Chemical-Based Paints, Their Environmental Impacts and Regulation. Case Stud. Chem. Environ. Eng. 2022, 6, 100244. [Google Scholar] [CrossRef]
- Fazenda, J.M.R. Tintas e Vernizes: Ciência e Tecnologia, ABRAFATI, 4th ed.; Blucher: São Paulo, Brazil, 2009. [Google Scholar]
- Cui, G.; Bi, Z.; Wang, S.; Liu, J.; Xing, X.; Li, Z.; Wang, B. A Comprehensive Review on Smart Anti-Corrosive Coatings. Prog. Org. Coat. 2020, 148, 105821. [Google Scholar] [CrossRef]
- Chowaniec, A.; Sadowski, Ł.; Żak, A. The Chemical and Microstructural Analysis of the Adhesive Properties of Epoxy Resin Coatings Modified Using Waste Glass Powder. Appl. Surf. Sci. 2020, 504, 144373. [Google Scholar] [CrossRef]
- Olivieri, F.; Castaldo, R.; Cocca, M.; Gentile, G.; Lavorgna, M. Mesoporous Silica Nanoparticles as Carriers of Active Agents for Smart Anticorrosive Organic Coatings: A Critical Review. Nanoscale 2021, 13, 9091–9111. [Google Scholar] [CrossRef]
- Ouarga, A.; Lebaz, N.; Tarhini, M.; Noukrati, H.; Barroug, A.; Elaissari, A.; Ben Youcef, H. Towards Smart Self-Healing Coatings: Advances in Micro/Nano-Encapsulation Processes as Carriers for Anti-Corrosion Coatings Development. J. Mol. Liq. 2022, 354, 118862. [Google Scholar] [CrossRef]
- Kalajahi, S.T.; Misra, A.; Koerdt, A. Nanotechnology to Mitigate Microbiologically Influenced Corrosion (MIC). Front. Nanotechnol. 2024, 6, 1340352. [Google Scholar] [CrossRef]
- Abdolahi, A.; Hamzah, E.; Ibrahim, Z.; Hashim, S. Application of Environmentally-Friendly Coatings Toward Inhibiting the Microbially Influenced Corrosion (MIC) of Steel: A Review. Polym. Rev. 2014, 54, 702–745. [Google Scholar] [CrossRef]
- Balakrishnan, A.; Govindaraj, S.; Dhaipule, N.G.K.; Thirumalaisamy, N.; Anne, R.S.; Sublime, N.; Philip, J. Enhancing Microbiologically Influenced Corrosion Protection of Carbon Steels with Silanized Epoxy-Biocide Hybrid Coatings. Environ. Sci. Pollut. Res. 2024, 31, 13302–13326. [Google Scholar] [CrossRef]
- Teixeira, S.C.; Silva, R.R.A.; de Oliveira, T.V.; Stringheta, P.C.; Pinto, M.R.M.R.; Soares, N.d.F.F. Glycerol and Triethyl Citrate Plasticizer Effects on Molecular, Thermal, Mechanical, and Barrier Properties of Cellulose Acetate Films. Food Biosci. 2021, 42, 101202. [Google Scholar] [CrossRef]
- Colomer, I.; Chamberlain, A.E.R.; Haughey, M.B.; Donohoe, T.J. Hexafluoroisopropanol as a Highly Versatile Solvent. Nat. Rev. Chem. 2017, 1, 88. [Google Scholar] [CrossRef]
- Du, K.; Xie, H.; Hu, G.; Peng, Z.; Cao, Y.; Yu, F. Enhancing the Thermal and Upper Voltage Performance of Ni-Rich Cathode Material by a Homogeneous and Facile Coating Method: Spray-Drying Coating with Nano-Al2O3. ACS Appl. Mater. Interfaces 2016, 8, 17713–17720. [Google Scholar] [CrossRef]
- Valencia, C.; Valencia, Y.; Tovar, C.D.G. Synthesis and Application of a Cationic Polyamine as Yankee Dryer Coating Agent for the Tissue Paper-Making Process. Polymers 2020, 12, 173. [Google Scholar] [CrossRef]
- NACE SP 0394; Application, Performance, and Quality Control of Plant-Applied Single-Layer Fusion-Bonded Epoxy External Pipe Coating. NACE: Houston, TX, USA, 2013.
- ASTM G17; Standard Test Method for Penetration Resistance of Pipeline Coatings (Blunt Rod). ASTM: West Conshohocken, PA, USA, 2020.
- ASTM D522/D522M; Standard Test Methods for Mandrel Bend Test of Attached Organic Coatings. ASTM: West Conshohocken, PA, USA, 2021.
- ASTM D4541; Standard Test Method for Pull-Off Strength of Coatings Using Portable Adhesion Testers. ASTM: West Conshohocken, PA, USA, 2022.
- ASTM G8; Standard Test Methods for Cathodic Disbonding of Pipeline Coatings. ASTM: West Conshohocken, PA, USA, 2019.
- ASTM G95; Standard Test Method for Cathodic Disbondment Test of Pipeline Coatings (Attached Cell Method). ASTM: West Conshohocken, PA, USA, 2021.
- ISO 21809-2; Petroleum and Natural Gas Industries—External Coatings for Buried or Submerged Pipelines Used in Pipeline Transportation Systems—Part 2: Single Layer Fusion-Bonded Epoxy Coatings. ISO: Geneva, Switzerland, 2014.
- ASTM G3; Standard Practice for Conventions Applicable to Electrochemical Measurements in Corrosion Testing. ASTM: West Conshohocken, PA, USA, 2019.
- ASTM G14; Standard Test Method for Impact Resistance of Pipeline Coatings (Falling Weight Test). ASTM: West Conshohocken, PA, USA, 2018.
- ASTM D4060; Standard Test Method for Abrasion Resistance of Organic Coatings by the Taber Abraser. ASTM: West Conshohocken, PA, USA, 2019.
- ASTM D1653; Standard Test Methods for Water Vapor Transmission of Organic Coating Films. ASTM: West Conshohocken, PA, USA, 2021.
- ASTM D870; Standard Practice for Testing Water Resistance of Coatings Using Water Immersion. ASTM: West Conshohocken, PA, USA, 2020.
- ASTM D2247; Standard Practice for Testing Water Resistance of Coatings in 100 % Relative Humidity. ASTM: West Conshohocken, PA, USA, 2020.
- ISO 2812-2; Paints and Varnishes—Determination of Resistance to Liquids—Part 2: Water Immersion Method. ISO: Geneva, Switzerland, 2018.
- ASTM D4587; Standard Practice for Fluorescent UV-Condensation Exposures of Paint and Related Coatings. ASTM: West Conshohocken, PA, USA, 2019.
- ASTM D6943; Standard Practice for Immersion Testing of Industrial Protective Coatings and Linings. ASTM: West Conshohocken, PA, USA, 2019.
- ASTM B117; Standard Practice for Operating Salt Spray (Fog) Apparatus. ASTM: West Conshohocken, PA, USA, 2019.
- NACE TM0185; Evaluation of Internal Plastic Coatings for Corrosion Control of Tubular Goods by Autoclave Testing. NACE: Houston, TX, USA, TX, 2006.
- ASTM D714; Test Method for Evaluating Degree of Blistering of Paints. ASTM: West Conshohocken, PA, USA, 2017.
- ASTM E1356; Standard Test Method for Assignment of the Glass Transition Temperatures by Differential Scanning Calorimetry. ASTM: West Conshohocken, PA, USA, 2016.
- Fragata, F.; Ordine, A.P.; Amorim, C.C.; Ferraz, O. Ensaios de aderência de esquemas de pintura pelo método de tração (pull-off)—Avaliação de fatores que influenciam os resultados. Corrosão Protecção Mater. 2008, 27, 122–129. [Google Scholar]
- ASTM D1475; Standard Test Method for Density of Liquid Coatings, Inks, and Related Products. ASTM: West Conshohocken, PA, USA, 2020.
- ASTM D4400; Standard Test Method for Sag Resistance of Paints Using a Multinotch Applicator. ASTM: West Conshohocken, PA, USA, 2018.
- ASTM D562; Standard Test Method for Consistency of Paints Measuring Krebs Unit (KU) Viscosity Using a Stormer-Type Viscometer. ASTM: West Conshohocken, PA, USA, 2018.
- ABNT NBR 15742; Pot-Life Determination of Paints and Varnishesvarnis. ABNT: Rio de Janeiro, Brazil, 2015.
- ASTM D2240; Standard Test Method for Rubber Property—Durometer Hardness. ASTM: West Conshohocken, PA, USA, 2021.
- ASTM D2369; Standard Test Method for Volatile Content of Coatings. ASTM: West Conshohocken, PA, USA, 2020.
- ISO 3233-1; Paints and Varnishes—Determination of Percentage Volume of Non-Volatile Matter—Part 1: Method Using a Coated Test Panel to Determine Non-Volatile Matter and to Determine Dry-Film Density by the Archimedes’ Principle. ISO: Geneva, Switzerland, 2019.
- ASTM E228; Standard Test Method for Linear Thermal Expansion of Solid Materials With a Push-Rod Dilatometer. ASTM: West Conshohocken, PA, USA, 2022.
- ASTM D1640/D1640M; Standard Test Methods for Drying, Curing, or Film Formation of Organic Coatings. ASTM: West Conshohocken, PA, USA, 2022.
- Gonyora, M.; Ventura-Medina, E. Investigating the Relationship between Human and Organisational Factors, Maintenance, and Accidents. The Case of Chemical Process Industry in South Africa. Saf. Sci. 2024, 176, 106530. [Google Scholar] [CrossRef]
- Jung, S.; Woo, J.; Kang, C. Analysis of Severe Industrial Accidents Caused by Hazardous Chemicals in South Korea from January 2008 to June 2018. Saf. Sci. 2020, 124, 104580. [Google Scholar] [CrossRef]
- Trávníček, P.; Tichá, Z.; Kotek, L. Statistical and Text Analysis of Major Accidents to the Environment in European Union. Process Saf. Progress. 2021, 40, 367–374. [Google Scholar] [CrossRef]
- Waqar, A.; Othman, I.; González-Lezcano, R.A. Challenges to the Implementation of BIM for the Risk Management of Oil and Gas Construction Projects: Structural Equation Modeling Approach. Sustainability 2023, 15, 8019. [Google Scholar] [CrossRef]
- Obradović, D.; Marenjak, S.; Šperac, M. Estimating Maintenance Costs of Sewer System. Buildings 2023, 13, 500. [Google Scholar] [CrossRef]
- Robaina, R.G.; Bastos, E.F.; Sousa, M.A.F.d.; Velasco, D.C.R.; Gallo, D.P. Projeto de Uma Rebobinadeira de Fita Poliéster Utilizada Na Fabricação de Dutos Flexíveis/Design of a Polyester Tape Rewinder Used in the Manufacturing of Flexible Pipelines. Braz. J. Dev. 2021, 7, 101676–101688. [Google Scholar] [CrossRef]
- Badakhsh, A.; Bhagavathy, S.M. Caveats of Green Hydrogen for Decarbonisation of Heating in Buildings. Appl. Energy 2024, 353, 122152. [Google Scholar] [CrossRef]
- Li, H.; Cao, X.; Liu, Y.; Shao, Y.; Nan, Z.; Teng, L.; Peng, W.; Bian, J. Safety of Hydrogen Storage and Transportation: An Overview on Mechanisms, Techniques, and Challenges. Energy Rep. 2022, 8, 6258–6269. [Google Scholar] [CrossRef]
- Risco-Bravo, A.; Varela, C.; Bartels, J.; Zondervan, E. From Green Hydrogen to Electricity: A Review on Recent Advances, Challenges, and Opportunities on Power-to-Hydrogen-to-Power Systems. Renew. Sustain. Energy Rev. 2024, 189, 113930. [Google Scholar] [CrossRef]
- Saborit, E.; García-Rosales Vazquez, E.; Storch de Gracia Calvo, M.D.; Rodado Nieto, G.M.; Martínez Fondón, P.; Abánades, A. Alternatives for Transport, Storage in Port and Bunkering Systems for Offshore Energy to Green Hydrogen. Energies 2023, 16, 7467. [Google Scholar] [CrossRef]
- Jia, G.; Lei, M.; Li, M.; Xu, W.; Li, R.; Lu, Y.; Cai, M. Hydrogen Embrittlement in Hydrogen-Blended Natural Gas Transportation Systems: A Review. Int. J. Hydrogen Energy 2023, 48, 32137–32157. [Google Scholar] [CrossRef]
- Zvirko, O.; Nykyforchyn, H.; Krechkovska, H.; Tsyrulnyk, O.; Hredil, M.; Venhryniuk, O.; Tsybailo, I. Evaluating Hydrogen Embrittlement Susceptibility of Operated Natural Gas Pipeline Steel Intended for Hydrogen Service. Eng. Fail. Anal. 2024, 163, 108472. [Google Scholar] [CrossRef]
- Ghomashchi, R. Green Energy Revolution and Substitution of Hydrocarbons with Hydrogen: Distribution Network Infrastructure Materials. Energies 2023, 16, 8020. [Google Scholar] [CrossRef]
- Ma, N.; Zhao, W.; Wang, W.; Li, X.; Zhou, H. Large Scale of Green Hydrogen Storage: Opportunities and Challenges. Int. J. Hydrogen Energy 2024, 50, 379–396. [Google Scholar] [CrossRef]
- Zhang, Z.; Khong, J.C.; Koe, B.; Luo, S.; Huang, S.; Qin, L.; Cipiccia, S.; Batey, D.; Bodey, A.J.; Rau, C.; et al. Multiscale Characterization of the 3D Network Structure of Metal Carbides in a Ni Superalloy by Synchrotron X-Ray Microtomography and Ptychography. Scr. Mater. 2021, 193, 71–76. [Google Scholar] [CrossRef]
- Rifai, D.; Abdalla, A.; Razali, R.; Ali, K.; Faraj, M. An Eddy Current Testing Platform System for Pipe Defect Inspection Based on an Optimized Eddy Current Technique Probe Design. Sensors 2017, 17, 579. [Google Scholar] [CrossRef]
- Peruń, G. Advances in Non-Destructive Testing Methods. Materials 2024, 17, 554. [Google Scholar] [CrossRef]








| Process Equipment | Kidam and Hurme [8] | Duguid [9] | Vílchez et al. [10] | Instone [11] | Marsh Inc. [12] | Mean |
|---|---|---|---|---|---|---|
| Piping system | 25 | 33 | 16 | 14 | 33 | 24 |
| Reactors | 14 | 9 | 14 | 5 | 10 | 10 |
| Storage tank | 14 | 20 | 2 | 14 | 17 | 13 |
| Pressure vessels | 10 | 9 | 18 | 3 | 5 | 9 |
| Heat transfer eq. | 8 | 11 | 6 | 19 | 4 | 10 |
| Separation eq. | 7 | - | - | 5 | 3 | 5 |
| Others + unknown | 22 | 18 | 44 | 40 | 28 | 30 |
| Sub-Contributors | N° Main Contributors | Human/Organizational | Contamination | Heat Transfer | Flow Related | Reaction | Layout | Fab. Const. & Inst. | Corrosion | Construction Material | Mechanical Failure | Static Electricity | External Factor | Vibration | Erosion | Utility Related | |
|---|---|---|---|---|---|---|---|---|---|---|---|---|---|---|---|---|---|
| Main Contributors | |||||||||||||||||
| Human/organizational | 12 | 3 | 3 | 2 | 2 | 3 | 1 | 1 | 1 | 1 | |||||||
| Contamination | 5 | 3 | 1 | 2 | 2 | 1 | 1 | ||||||||||
| Heat transfer | 7 | 3 | 4 | 1 | 2 | ||||||||||||
| Flow related | 9 | 6 | 2 | 2 | 1 | 1 | 1 | 1 | |||||||||
| Layout | 19 | 8 | 7 | 2 | 5 | 3 | 1 | 2 | 1 | 1 | |||||||
| Fab. const. & inst. | 17 | 4 | 4 | 1 | 1 | 2 | 5 | 6 | |||||||||
| Corrosion | 9 | 2 | 2 | 1 | 2 | 2 | 4 | 2 | |||||||||
| Construction material | 13 | 3 | 3 | 1 | 4 | 7 | 1 | 1 | 1 | ||||||||
| Utility related | 1 | 1 | 1 | ||||||||||||||
| Sub-contributor (total) | 92 | 29 | 12 | 10 | 14 | 10 | 6 | 13 | 13 | 6 | 8 | 2 | 4 | 8 | 6 | 1 | |
| Classification | Description |
|---|---|
| Class I | Flammable vapors and gases present |
| Class II | Combustible dust may be found |
| Class III | Presence of flammable fibers or particles |
| Division 1 | Flammable concentration exists under normal or frequent operating conditions |
| Division 2 | Flammable concentration exists under abnormal operating conditions |
| Zone 0 (if Class I) Zone 20 (if Class II ou III) | Location where the hazard is present for long periods of time |
| Zone 1 (if Class I) Zone 21 (if Class II ou III) | Location where flammable concentrations are likely to exist under normal operating conditions |
| Zone 2 (if Classe I) Zone 22 (if Classe II ou III) | Location where flammable concentrations are unlikely to occur and if they do, they will exist for short periods of time |
| Standard | Description |
|---|---|
| ASME B31.1 | Power Piping |
| ASME B31.3 | Process Piping |
| ASME B31.4 | Pipeline Transportation Systems for Liquid Hydrocarbon and Other Liquids |
| ASME B31.5 | Refrigeration Piping and Heat Transfer Components |
| ASME B31.8 | Gas Transmission and Distribution Piping Systems |
| ASME B31.9 | Building Services Piping |
| ASME B31.12 | Hydrogen Piping and Pipelines |
| Standard | Description |
|---|---|
| ASME B16.1 | Gray Iron Pipe Flanges and Flanged Fittings |
| ASME B16.5 | Pipe Flanges and Flanged Fittings |
| ASME B16.24 | Cast Copper Alloy Pipe Flanges, Flanged Fittings, and Valves |
| ASME B16.36 | Orifice Flanges |
| ASME B16.42 | Ductile Iron Pipe Flanges and Flanged Fittings |
| ASME B16.47 | Large Diameter Steel Flanges |
| ASME B16.48 | Line Blanks |
| AWWA C115 | Flanged Ductile-Iron Pipe with Ductile-Iron or Gray-Iron Threaded Flanges |
| AWWA C207 | Steel Pipe Flanges for Waterworks Service |
| MSS SP-44 | Steel Pipeline Flanges |
| MSS SP-51 | Class 150LW Corrosion Resistant Flanges and Cast Flanged Fittings |
| MSS SP-65 | High-Pressure Chemical Industry Flanges and Threaded Stubs for Use with Lens Gaskets |
| Standard | Description |
|---|---|
| ASME B16.10 | Face-to-Face and End-to-End Dimensions of Valves |
| ASME B16.34 | Valves-Flanged, Threaded, and Welding End |
| API 526 | Flanged Steel Pressure-relief Valves |
| API 594 | Check Valves: Flanged, Lug, Wafer, and Butt-welding |
| API 599 | Metal Plug Valves—Flanged, Threaded, and Welding Ends |
| API 600 | Steel Gate Valves—Flanged and Butt-welding Ends, Bolted Bonnets |
| API 602 | Gate, Globe, and Check Valves |
| API 603 | Corrosion-resistant, Bolted Bonnet Gate Valves—Flanged and Butt-welding Ends |
| API 608 | Metal Ball Valves—Flanged, Threaded, and Welding Ends |
| API 609 | Butterfly Valves: Double-flanged, Lug- and Wafer-type, and Butt-welding Ends |
| AWWA C500 | METAL-SEATED GATE VALVES FOR WATER SUPPLY SERVICE |
| AWWA C504 | RUBBER-SEATED BUTTERFLY VALVES |
| MSS SP-42 | Corrosion-Resistant Gate, Globe, Angle, and Check Valves with Flanged and Butt Weld Ends |
| MSS SP-70 | Gray Iron Gate Valves, Flanged and Threaded Ends |
| MSS SP-71 | Gray Iron Swing Check Valves, Flanged and Threaded Ends |
| MSS SP-72 | Ball Valves with Flanged or Butt-Welding Ends for General Service |
| MSS SP-80 | Bronze Gate, Globe, Angle, and Check Valves |
| MSS SP-81 | Stainless-Steel or Stainless-Steel-Lined, Bonnetless, Knife Gate Valves with Flanged Ends |
| MSS SP-85 | Gray Iron Globe and Angle Valves, Flanged and Threaded Ends |
| MSS SP-88 | Diaphragm Valves |
| MSS SP-105 | Instrument Valves for Code Applications |
| Insulation Classification | Application Examples | Material Examples |
|---|---|---|
| Low Temperature (up to 90 °C) | Refrigerators, Cold and Hot Water Systems, Storage Tanks | Cork, Expanded Polystyrene, 85% Magnesia, Mineral Fibers, Polyurethane, and Wood |
| Medium Temperature (90 °C to 325 °C) | Heating and Steam Raising Equipment, Steam Lines, Flue Ducts | Asbestos, Calcium Silicate, 85% Magnesia, and Mineral Fibers |
| High Temperature (Above 325 °C) | Super-heated Steam System, Oven Dryer, and Furnaces | Asbestos, Calcium Silicate, Mineral Fiber, Mica and Vermiculite-based Insulation, Fireclay- or Silica-based Insulation, and Ceramic Fiber |
| Degree of Corrosivity | Thickness Loss * (µm) | Mass Loss * (g/m2) | |
|---|---|---|---|
| C1 | Very low | ≤1.3 | ≤10 |
| C2 | Low | 1.3 to 25 | 10 to 200 |
| C3 | Medium | 25 to 50 | 200 to 400 |
| C4 | High | 50 to 80 | 400 to 650 |
| C5 | Very high | 80 to 200 | 650 to 1500 |
| CX | Extreme | 200 to 700 | 1500 to 5500 |
| Degree of Corrosivity | Thickness Loss * (µm) | Mass Loss * (g/m2) | |
|---|---|---|---|
| C1 | Very low | ≤0.1 | ≤0.7 |
| C2 | Low | 0.1 to 0.7 | 0.7 to 5 |
| C3 | Medium | 0.7 to 2.1 | 5 to 15 |
| C4 | High | 2.1 to 4.2 | 15 to 30 |
| C5 | Very high | 4.2 to 8.4 | 30 to 60 |
| CX | Extreme | 8.4 to 25 | 60 to 180 |
| Additive | Function |
|---|---|
| Antifoaming agents | Reduces foam formation during product processing and application |
| Anti-skin | Minimizes the formation of skins during storage and/or curing of coatings |
| Anti-sedimenting | Prevents the formation of hard, non-homogenizable sediment at the bottom of the packaging |
| Bactericide | Prevents the development of bacteria that cause putrefaction of liquid-phase plastic paints |
| Catalysts | Accelerates the curing process of a material |
| Coalescent | Reduces the minimum film formation temperature of aqueous products |
| Deaerators | Reduces the presence of voids in the coating |
| Deflocculators | Reduces the support capacity of particulates |
| Dispersant | Facilitates the dispersion of pigments and fillers, preventing their re-agglomeration |
| Thickener | Increases the viscosity of the coating |
| Fungicide | Prevents the development of fungi in the dry film |
| Insecticide | Ensures the elimination of insects in contact with the dry film |
| Wetting agent | Reduces the interfacial tension between the solid phase and the liquid phase |
| Plasticizer | Gives flexibility to the dry film |
| Preservatives | Acts to minimize the socio-environmental impacts of the coating and/or acts to protect the coating from various external factors |
| Rheological | Provide safe and practical means of regulating the fluidity of a resin |
| Drying agent | Reduce the drying, hardening, and/or curing time of the coating |
| Solvents | Solubilize and dissolve other materials |
| Surfactants | Improve the coating by controlling surface tension, stabilizing interfaces, and optimizing physical properties such as fluidity and spreading |
| Surface | Correct surface defects of the coating |
| Wetting | Accelerate the wetting process and reduce interfacial tension |
| Test | Standards |
|---|---|
| Cross section porosity | NACE SP 0394 |
| Interface porosity | NACE SP 0394 |
| Interface contamination | NACE SP 0394 |
| Penetration resistance | ASTM G17 |
| Flexibility | ASTM D522/D522M|NACE SP 0394 |
| Variation in gas pressure | PDO SP-2217 |
| Pull off | ASTM D4541 |
| Cathodic disbondment | ASTM G8/ASTM G95 |
| Strained coating, Cathodic disbondment | ISO 21809-2 |
| Electrochemical Impedance Spectroscopy | ASTM G3 |
| Impact resistance | ASTM G14|NACE SP 0394 |
| Abrasion resistance | ASTM D4060 |
| Water vapor permeability | ASTM D1653 |
| Water absorption | ASTM D870 |
| Water resistance | ASTM D2247|ISO 2812-2 |
| Accelerated weathering | ASTM D4587 |
| Chemical resistance | ASTM D6943 |
| Salt spray | ASTM B117 |
| Autoclave | NACE TM0185 & ASTM D714 |
| Differential Scanning Calorimetry | ASTM E1356 |
| Test | Standards |
|---|---|
| Specific mass | ASTM D1475 |
| Dry film roughness | PETROBRAS N-2843 C |
| Decay | ASTM D4400 |
| Consistency | ASTM D562 |
| Pot-Life | ABNT NBR 15742 |
| Hardness | ASTM D2240 |
| Solids by mass | ASTM D2369 |
| Solids by volume | ISO 3233-1 |
| Linear thermal expansion | ASTM E228 |
| Drying time/painting interval | ASTM D1640 |
Disclaimer/Publisher’s Note: The statements, opinions and data contained in all publications are solely those of the individual author(s) and contributor(s) and not of MDPI and/or the editor(s). MDPI and/or the editor(s) disclaim responsibility for any injury to people or property resulting from any ideas, methods, instructions or products referred to in the content. |
© 2025 by the authors. Licensee MDPI, Basel, Switzerland. This article is an open access article distributed under the terms and conditions of the Creative Commons Attribution (CC BY) license (https://creativecommons.org/licenses/by/4.0/).
Share and Cite
Velasco, D.C.R.; Gonçalves, V.P.D.; Oliveira, M.P.; Simonassi, N.T.; Lopes, F.P.D.; Vieira, C.M.F. Industrial Piping System: Design and Corrosion Protection. Surfaces 2025, 8, 18. https://doi.org/10.3390/surfaces8010018
Velasco DCR, Gonçalves VPD, Oliveira MP, Simonassi NT, Lopes FPD, Vieira CMF. Industrial Piping System: Design and Corrosion Protection. Surfaces. 2025; 8(1):18. https://doi.org/10.3390/surfaces8010018
Chicago/Turabian StyleVelasco, David Coverdale Rangel, Victor Paes Dias Gonçalves, Michel Picanço Oliveira, Noan Tonini Simonassi, Felipe Perissé Duarte Lopes, and Carlos Maurício Fontes Vieira. 2025. "Industrial Piping System: Design and Corrosion Protection" Surfaces 8, no. 1: 18. https://doi.org/10.3390/surfaces8010018
APA StyleVelasco, D. C. R., Gonçalves, V. P. D., Oliveira, M. P., Simonassi, N. T., Lopes, F. P. D., & Vieira, C. M. F. (2025). Industrial Piping System: Design and Corrosion Protection. Surfaces, 8(1), 18. https://doi.org/10.3390/surfaces8010018

