Next Article in Journal
Simulative Modeling of Psychologically Acceptable Architectural and Urban Environments Combining Biomimicry Approach and Concept of Architectural/Urban Genotype as Unifying Theories
Previous Article in Journal
The Impact of Geometric Modifications and the Signal Plan Optimization of Intersections in an Urban Area
 
 
Font Type:
Arial Georgia Verdana
Font Size:
Aa Aa Aa
Line Spacing:
Column Width:
Background:
Article

Designing for Climate Adaptation: A Case Study Integrating Nature-Based Solutions with Urban Infrastructure

1
Department of Architecture, University of the Basque Country/Euskal Herriko Unibertsitatea (UPV/EHU), 20018 Donostia-San Sebastián, Spain
2
Deusto Design Research Group, Faculty of Engineering, University of Deusto, 48007 Bilbao, Spain
3
Ikerbasque Basque Foundation for Science, 48007 Bilbao, Spain
*
Author to whom correspondence should be addressed.
Urban Sci. 2025, 9(3), 74; https://doi.org/10.3390/urbansci9030074
Submission received: 2 February 2025 / Revised: 27 February 2025 / Accepted: 4 March 2025 / Published: 7 March 2025

Abstract

Urban public space faces increasing challenges due to the accelerating impacts of climate change, necessitating a paradigm shift in how cities adapt their built environments. This paper presents a case study on integrating Nature-based Solutions(NbSs) with urban infrastructure, focusing on the design and development of Urban Oasis, a modular and multi-sensory urban furniture system. Urban Oasis functions as a climate adaptation tool, incorporating rain gardens to manage stormwater, mitigate urban heat island effects, and enhance biodiversity while integrating smart features such as climate sensors, irrigation systems, lighting, speakers, and electric vehicle chargers. Through a practice-based design methodology, the study explores how transdisciplinary collaboration can inform the development of adaptive, resilient, and equitable urban interventions. The findings demonstrate the potential of NbS-integrated urban infrastructure to address the complexities of climate adaptation while enhancing social, ecological, and technological resilience. The results, validated through an integrated design checklist, contribute to ongoing discussions on urban design frameworks, emphasizing a multi-layered and systemic approach that intertwines architecture, social innovation, multi-species design, and sensory engagement to reimagine public space for future climate resilience.

1. Introduction

Urban public space increasingly presents itself as a design challenge for cities due to the rapid social and technological transformations and the changing demands produced by climate change. While climate change is a holistic phenomenon occurring on a planetary scale, its effects are felt locally, close to citizens. These effects are perceived in outdoor spaces as much or more than indoors, forcing the search for immediate solutions and elevating the redesign of cities’ outdoor spaces to a level of urgency and prominence [1].
Adaptation strategies must address the inherent rigidity of the built environment, which is often characterized by a lack of flexibility. This inflexibility stems from urban structures and spatial configurations that were originally designed to accommodate the environmental and social demands of a pre-climate change era, thereby limiting their capacity to respond effectively to evolving climatic conditions within a given context. Urban buildings, streets, and squares are, by definition, difficult to adapt and repurpose. Furthermore, urban planning regulations with their long drafting and approval processes develop at a slow pace and cannot easily adapt to the fast-changing needs of society and natural environmental conditions in the context of a rapidly changing climate [2,3].
The lack of interdisciplinary collaboration in the formulation of urban strategies remains a significant barrier to the effective design and development of sustainable and liveable cities. Disciplinary fragmentation in urban planning and the absence of a long-term holistic vision hinders the transition toward more sustainable cities [4,5,6]. A multi-disciplinary approach to research and practice in urban design and architecture may be critical for effectively addressing these challenges. Lawrence [7] emphasizes the need for a transdisciplinary approach in urban design research and practice to address public health in cities. Collaboration among architects, urban planners, designers, sociologists, epidemiologists, and other professionals is essential to understanding and addressing the complex interactions between the built environment, human behaviour, and health in cities [1].
Urban resilience in architecture mainly focuses on mitigating the causes and the impact of climate change in the city; for instance, by monitoring energy consumption in buildings or reducing CO2 emissions in infrastructure and transportation. These actions are implemented through data-driven smart solutions or by improving buildings’ envelopes and facilities. However, they tend to skip the reflection on the long-term adaptation of urban space to climate change which is, on the contrary, urgent and critical for the preservation of organized human life. To date, climate change adaptation in the urban environment has primarily focused on the problem of increased solar radiation and temperature in public spaces. On a larger scale, adaptation is intended as disaster prevention and strategies to contrast sea-level rise. On a local scale, there is an urgent need to define urban intervention methods and processes that address climate change in a more holistic, multifaceted, and organized manner [8,9].
The example of climate shelters (i.e., public spaces that provide thermal comfort to the most vulnerable [10]) implemented in cities such as Barcelona and Bilbao [11,12] seems promising. However, mapping and repurposing existing buildings, parks, and spaces does not seem sufficient as a long-term solution [8]. At the same time, the use of Nature-based Solutions (NbS) is on the rise [13,14,15,16]. Again, it is still unclear how such solutions can be effective in the lack of long-term planning and evaluation of their integration with and impact on the local communities they are meant to serve [17,18,19]. Maladaptation is a concrete risk, and efforts made to prevent the effects of climate change end up making people and places even more vulnerable to such effects [20]. The definition of integrated frameworks for urban design that take into account the tangible as well as the intangible layers of the city (e.g., the interaction between humans and other species in a multisensory space where visual, olfactory, and auditory stimuli coexist) are being proposed as key components, moving forward, of successful climate adaptation [21,22,23,24].
In this article, we present the design process and definition of a novel modular solution for adaptive urban furniture. This concept solution—called Urban Oasis—consists of a multifunctional urban infrastructure that integrates rain gardens within paved urban areas to capture, filter, and manage rainwater for mitigating urban flooding and reducing heat island effects. The design of Urban Oasis also incorporates modular tubular supports that house functional features such as climate sensors, irrigation systems, lighting, and electric vehicle chargers, contributing to climate change adaptation and urban resilience. It is the main outcome of the research project “Urban Furniture for a Sustainable and Egalitarian City” [25], jointly funded by the Basque Government, the University of the Basque Country UPV/EHU, and the private company Transformados Metálicos Industriales S.L. (TRAMEINSA) between 2022 and 2024. The research project aligns with SDG11, “Sustainable Cities and Communities”, and is part of the University-Industry-Society funding programme. The two-year project involved the Architecture and Engineering departments of UPV/EHU along with invited artists and researchers.
During the project, the importance of climatic, environmental, and sustainable factors emerged from the collection of both quantitative and qualitative data (see [25] for further details), repositioning the research from an initial investigation on the possibilities of urban furniture in a changing urban realm to the definition of solutions for urban climate change adaptation. From the first phase of the research, a design checklist was the embryonic element of a framework that supports designers in the definition of more sustainable, equitable, and climate-adaptable urban solutions. In this article, we describe how Urban Oasis aligns with the design checklist and integrates the different tangible and intangible layers that concur in shaping our current—and future—experience of the urban space in the context of climate adaptation.

2. Materials and Methods: Practice-Based Research

The challenges highlighted in the previous section require renewed research methodologies that can inform the definition of efficient and effective strategies for climate change adaptation and the rethinking of public space design. Likely, if we do not change the way we ask questions, we will not find new answers. To this end, in our research, we adopted practice-based research as the reference framework to first formalize the guiding questions of the study and later guide the design of the new solution. Practice-based research and Research through Design (RtD) are methodological processes in urban and landscape design that involve formulating research questions and engaging in iterative design processes [26]. These methods include the testing of design alternatives to ensure the validity and robustness of the design outcomes. While urban designers and architects also refer to practice-led techniques when developing their projects (see [27] for an overview and [28,29] for an example of practice-led projects), it is to design as a discipline that we turned to and to the tools and methods developed over the decades to deal with the complexity of real-world problems [30]. Such an approach is, in our belief, of the utmost importance especially in the fields of architecture and urban design, as it vindicates practice-based research as a valid form of inquiry. In this sense, advocating for a designerly ways of knowing [31] in architecture and urban studies is key to systematically leverage the very act of designing as a research method and a legitimate way of inquiring and researching.
Table 1 illustrates the different relationships between traditional normative research and design as a form of research [32].
In the first phase of our research, we defined the theoretical framework for the design of solutions that address climate adaptation in urban space [1,25]. Through a qualitative and quantitative study which included keywords analysis, expert interviews, and case studies analysis, we defined a design checklist (see Section 2.2) as a tool to inform the conceptualization, design, and implementation of real-world solutions for climate adaptation in the city space. We conducted a series of preliminary design actions, both theoretical and practical, to situate the conceptualization of such solutions within the context of the Basque Country, Spain, where our research is grounded [33]. In this article, we describe in detail the second phase of the research by documenting the conceptualization, design, and technical definition of a novel urban furniture solution. This concept design solution (e.g., not yet implemented) called Urban Oasis and now registered as a Utility Model, is expected to be prototyped and tested in an upcoming phase of the project in the city of Bilbao, now at the forefront of research and public policies on the adaptation of the urban space to climate change and its threats [1]. We addressed the development of Urban Oasis as a practice-based research endeavour and specifically as a Research-through-Design project. In the specific case of climate change adaptation in the city space, where general long-term strategies must go hand in hand with short- and medium-term tactics, we believe that practice-led research, with its conjectural nature and iterative processes, can be highly effective.
Figure 1 recaps the different phases of the project according to the Double Diamond method (Discover, Define, Develop, Deliver, see Section 2.2) and how they fit within the development of our project (an initial phase of data collection, the open brief, the prototyping phase, and the design of the concept solution Urban Oasis, which we describe in this paper).
In particular, the first phase (which is expansive, aimed at investigating possible solutions) included several qualitative and quantitative methods (e.g., expert interviews, keyword analysis; see Figure 1, left side). In the following “contractive” stage of the process, we focused on defining the use case through sketching and prototyping and comparing with existing case studies (see [25] for a detailed recount). By applying the design checklist, we iteratively prototyped to define our concept solution, which is now a patented Utility Model, described in this paper. The next phase will involve the definition of the implementation parameters such as compliance with the city budget and urban regulations and the influence of the local climate, among others, toward a real-world testbed implementation.
In the sections below, we first briefly describe the conceptual framework against which the design process was conducted. Secondly, we describe in detail the design method of the Double Diamond and its phases (Discover, Define, Develop, and Deliver) and how they were adopted in our project.

2.1. Overlapping Layers: The Integrated Design Framework

The practice-led research described in this paper is a first design action toward the definition of a broader framework for designing climate adaptation in the urban space which the co-authors of this paper are developing [1]. The framework advocates for a transdisciplinary approach to urban space design in the light of the scarce results, to date, of climate adaptation (if not maladaptation, see [20]) designs and policies [34]. The framework is based on four layers that address the city space on a continuum from tangible (i.e., architecture and urban design solutions) to intangible (social innovation, multi-species approach, multi-sensory perception). As shown in Figure 2, while the layer of architecture and urban design is already well established, as it provides existing solutions to climate adaptation, the remaining three layers are still somewhat underexploited and are the expression of emerging research that sees the city as an organic (or post-organic) entity, fostering a holistic transdisciplinary approach to design solutions.
Layers work as parallel blankets of data; by overlapping them, we can identify how they interact with each other to build new patterns of events within the city [35]. As we will describe in Section 3, Urban Oasis stems from the interconnection of all the layers, thus providing a solution that is not only transdisciplinary but also transversal across the different dimensions of the framework. Urban Oasis incorporates urban furniture design into water gardens, an element already being implemented as an NbS for creating climate shelters in cities [36]. The combination of design and ecology makes it essential to approach the project in a transdisciplinary manner.

2.2. The Double Diamond Method and the Design Checklist

In this project, the design development followed the classical steps of the Design Thinking “Double Diamond” methodology (Figure 3). The Double Diamond was introduced by the Design Council [37], and it is widely used as a reference design method in a variety of contexts (e.g., services, analogue or digital products, public policies). The first phases, traditionally called Discover and Define, involve the integration of a state-of-the-art assessment with the accumulated knowledge and experience of the research team [38]. Typically, the material collected during the Discover phase will inform the definition of a descriptive brief of the project (the Define phase), which may include external clients’ or stakeholders’ requirements alongside external constraints or self-imposed limitations [39]. In this design-driven approach, the conjectural nature of design as a discipline is a key premise, and the designers’ own accumulated experience [38] and initial idea generators (the primary generators; see [40]) become integral to the workflow.
The Discover phase is expansive and opens several design possibilities, research questions, and goals. The following Define phase narrows them down to ensure the design is sufficiently valid [41]. In this project, the Discover and Define phases led to the definition of a Design Checklist (see [25] for further details) that identifies the following 12 key parameters for the design of the urban space that successful solutions should include:
  • Pedestrianization: Prioritize pedestrians by reducing car traffic and introducing lighter mobility options, enhancing urban liveability.
  • Applied Technology: Use smart systems (e.g., sensing, 3D printing) for efficient space, traffic, and waste management while fostering interaction between people and cities.
  • Universal Accessibility: Design inclusively by considering all abilities (including temporary disabilities and non-human entities) for equitable urban spaces.
  • Multifunctionality: Create adaptable spaces for recreation, culture, and commerce. Incorporate modular designs to ensure resilience during emergencies and efficient space use.
  • Durability: Use weather-resistant, vandal-proof materials for urban furniture to withstand climate uncertainties and ensure longevity.
  • Green Spaces: Integrate green areas to improve air quality, climate adaptation, and water cycle management, promoting ecological sustainability.
  • Liveability/Social Sustainability: Prioritize liveable urban spaces that enhance quality of life, addressing post-pandemic social and environmental challenges.
  • Sustainable Logistics: Plan efficient logistics with loading zones, decentralized hubs, and sustainable vehicles to support rising e-commerce and emergencies.
  • Modularity: Design flexible urban furniture for diverse uses, maximizing inclusivity, sustainability, and adaptability.
  • Urban Safety: Ensure perceived safety through lighting, open spaces, visibility, and secure mobility networks (e.g., bike lanes).
  • Cultural Identity: Preserve history and include local art to strengthen identity, promote belonging, and integrate diverse cultures.
  • Multimodality/Commerce: Balance pedestrian, cyclist, and PMV mobility with commercial needs through thoughtful design and conflict management.
During the project, the Design Checklist has been adopted as the guiding tool to validate the compliance of the different phases with our primary goal, which is to provide novel solutions for the climate adaptability of a sustainable and egalitarian city of the future.

2.3. Research Team

In the Develop and Deliver phases, we relied on a multidisciplinary team to implement the Design Checklist principles into the conceptualization and design of Urban Oasis. The team was composed of researchers in engineering with expertise in biomaterials and circular economy with an industrial focus; researchers in architecture with expertise in landscape, public space, and city studies; architects with expertise in urban furniture design, 3D modelling, and 3D design; an artist with expertise in fast prototyping and video production; and a modelling expert from the University of the Basque Country (UPV/EHU). To complement the development of the intangible layers of our approach to design (see Section 2.2), experts in soundscape studies, interaction design, and social innovation from the Design Research Group at the University of Deusto were engaged. The team also counted on an industrial partner, the company Transformados Metálicos, specializing in high-quality steel construction with a strong emphasis on sustainability. The project posed a significant challenge for the design team, as it involved creating a novel solution in a field where formal innovation (i.e., related to the formal appearance of a product vs. radical innovation of a product’s substantial characteristics and usage) is the common approach. With this project, our aim was to go beyond mere formality to pave the way for a potential paradigm shift in how public space and its components are designed to adapt to climate change.

2.4. Evolution and Development of the Idea

Once the design framework of reference (see Section 2.1) and the appropriate design tools (the Design Checklist, see Section 2.2) were defined, the team began to sketch and evaluate ideas and concepts. The third phase (Develop) is expansive and, as such, allows for the free contribution of ideas and generative drawing. The initial concepts that emerged aimed for a simple understated formal unit, i.e., the minimum formal element that would later be replicated as a system or network and installed at various points in the city to offer multiple solutions. We first explored simple components (such as ring-shaped elements; see Figure 4) that could cooperatively or parasitically anchor to existing city elements such as lampposts or trees to increase functionality while minimizing visual noise. Figure 4 shows some of the initial explorations. For further details, the reader can refer to [34].
This initial approach helped us make key design decisions such as working with metallic elements and sustainable materials and utilizing a production approach aligned with the manufacturing methods of the project’s industrial partner. In the following iteration of the Develop phase, the team deepened the study of the manufacturing process to explore the usage of steel tubes to create tree-like structures (see Figure 5) and ensure feasibility.
The original ring shape evolved into a trunk-like shape that could support the solution’s functional components by, similarly to a lamppost, grounding on the city’s pavement. The modular trunk structure can include solar panels and/or shading elements to create adaptable climate shelters as well as sensors, water sprinklers, colours and lighting, electric chargers, cameras, acoustic sensors and audio speakers, and other functional pieces along their length and at their ends. This maximizes the potential for the solution to integrate all four layers of our design framework, i.e., to consider multi-sensory elements both for data collection (e.g., acoustic sensors to measure the sound level or even identify sound sources; see [1]) and for multi-sensory design actions toward the improved wellbeing of residents [24].
To foster the transition between the urban environment and the natural world, the team speculated about removing the city pavement to reveal the primal forest beneath as a regenerative oasis, a hybrid and refreshing space in the city (Figure 6). This urban oasis would serve as the habitat where our modular elements can grow. Like a ubiquitous invasive rhizome (Figure 7), we envisioned perforations that, disregarding the boundaries between sidewalks and roads, can be shaped according to the needs of mobility, shelters, or other social, perceptual, and interspecies layers within the public realm.
This rhizome would establish symbiotic relationships with the roots of existing trees and the city’s underground infrastructure.
Each circular void houses a rain garden on which the modular steel elements are installed. The rain garden is meant to enhance the permeability of urban floorings. In addition to hosting functional elements and providing shelter (for instance, during heat waves) in its upper part, it is designed to minimize flood risks and improve the water cycle by increasing the porosity of the urban ground [42].
The final design of Urban Oasis is conceived as a network of points where each unit consists of a circular opening in the urban pavement with a rain garden (which is a typified NbS), a concealed foundation footing, and functional aerial elements (Figure 8).
The solution offers a sustainable urban furniture system distinguished by its modular design versatility and integration into city pavements through an opening where the concrete foundation that supports the aerial elements of the furniture is housed and connects to urban infrastructures (Figure 9).
The opening where the foundation is located has an approximate diameter of two metres and can be adjusted according to specific needs. The circular opening is cut into the pavement, finished around its perimeter, and accommodates the rain garden. The aerial elements (Figure 9) are made of hollow stainless-steel tubes with a diameter of 50 mm and a thickness of 2 mm, adjustable as needed. The pieces are predominantly curved and modular, allowing for multiple configurations using standard compound units. The joints are made using a stainless-steel connector piece. Power and data run through the interior of the tubes and at the top and along selected points of the tube shaft functional elements such as sensors (e.g., temperature, light, sound, presence), cameras, lights, speakers, supports for covering elements, electric vehicle chargers, and other functional components can be housed. The reader can refer to Figure 8 to see how each of the elements is integrated into the design of Urban Oasis. The system’s fundamental components (elements 1, 2, and 3 in Figure 8) are as follows:
  • Rain Garden: A circular opening in the city’s surface that houses the various elements required for a rain garden. It is designed with filtering components suited to the climatic conditions and features native plants. It includes a foundation for the aerial components of urban furniture design and connections to the city’s underground installations.
  • Aerial Modular Elements: Stainless-steel tubes anchored to the foundation within the rain garden (1). These tubes are designed with specific curves, diameters, and materials defined by the industrial partner of the project and combinable through custom-designed joints. They are manufactured to accommodate functional components (3).
  • Functional Components: These are installed along the tubes (2) or at their tip. They may include sensors, lights, cameras, chargers, sprinklers, and other elements. Additional features, such as canopies, shading covers, solar panels, or speakers, can also be integrated into these tubes.

3. Results: Urban Oasis—A Utility Model

At the time of writing, Urban Oasis has been formalized as an industrial solution in the form of a Utility Model, whose registration application has been submitted to the Spanish Patent and Trademark Office (number U202432323).

3.1. Justification of Innovation

The project’s innovation and q1 patentability are justified as a contribution to the advancement of knowledge and the industrial application of innovative solutions for public spaces, directly linked to urban adaptability to climate change. While patents related to rain garden systems and urban drainage solutions already exist, Urban Oasis introduces significant novelty through the integration of smart urban technology with urban landscaping and climate adaptation solutions. The differentiating aspect lies in the integration of functional aerial elements within the hollow stainless-steel tubes, which not only serve as the furniture’s structure but also house all the technological components (e.g., sensors, cameras, lights, electric chargers, speakers). These elements are not described in current patents, granting the solution a competitive edge and patentability. Similar solutions, such as the HydroPlanter™ [43], are designed to manage stormwater by retaining and slowly draining rainwater. A clear example is patent US20220268008A1 [44], which describes a modular rain gardening system designed to be installed on hard urban surfaces, with the ability to join modules and increase stormwater management capacity. This system focuses on the permeability of the urban surface and flood mitigation, concepts similar to those of the Urban Oasis.
However, the integration within the rain garden of state-of-the-art smart urban technology and the system’s ability to function both as urban landscaping and as part of the technological infrastructure of cities represent clear innovation. This approach combines sustainability elements with current demands for connectivity and urban services, reinforcing its feasibility as a patentable invention.
Urban Oasis can have significant applications across various industries, including the following:
  • Urban infrastructure and public furniture: The system can be adopted by cities to enhance public spaces, integrating NbS that improve stormwater management and reduce flooding risks. Its ability to house elements such as lights, cameras, speakers, and sensors enables the creation of smart urban infrastructure, facilitating environmental monitoring, safety, and efficient resource use in urban areas.
  • Real estate development and sustainable urbanization: In real estate development, this system can be integrated into urbanization projects aimed at meeting environmental regulations and sustainability goals. By providing both green infrastructure and functional furniture, it is ideal for residential and commercial complexes requiring sustainable drainage solutions and carbon footprint reduction through renewable energy use and smart technologies.
  • Transportation and electric mobility: The integrated electric chargers offer an innovative solution for cities aiming to promote the use of electric vehicles. This system can be installed in strategic locations such as parking lots, bus stops, or waiting points for scooters and electric bikes, supporting sustainable mobility infrastructure.
  • Smart and connected cities: Smart furniture equipped with sensors and data connectivity facilitates the collection of valuable information for connected cities [44], such as weather monitoring, noise levels, temperature, or air quality. This real-time monitoring capability allows cities to improve operational efficiency and enhance citizen experiences.
  • Urban regeneration and green infrastructures: The system can also play a key role in urban renewal projects, transforming degraded industrial or commercial areas into multifunctional green spaces. By improving soil permeability and reducing urban heat impacts, the system contributes to the environmental regeneration of cities.
Urban Oasis offers a multifunctional approach that not only addresses the environmental challenges of modern cities but also enhances technological connectivity and the efficiency of urban services. This makes it an integral solution for designing and developing sustainable cities, aligning with SDG11: Sustainable Cities and Communities.

3.2. Technical Description

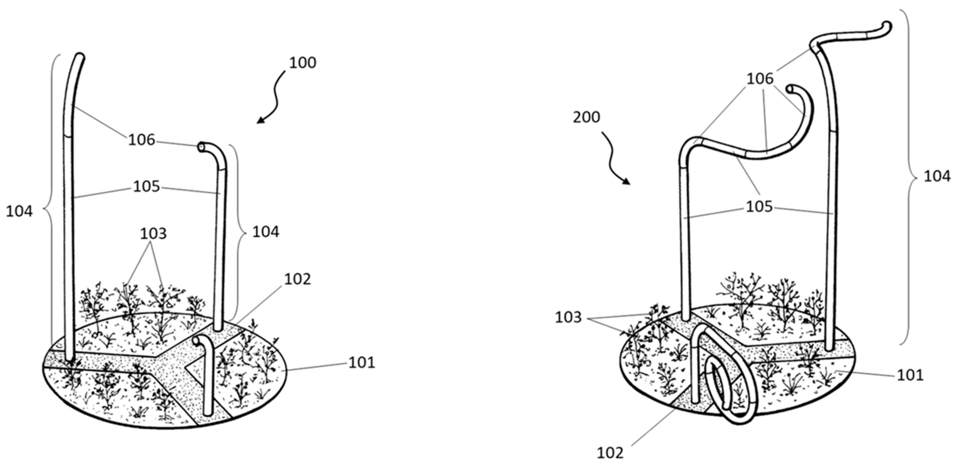
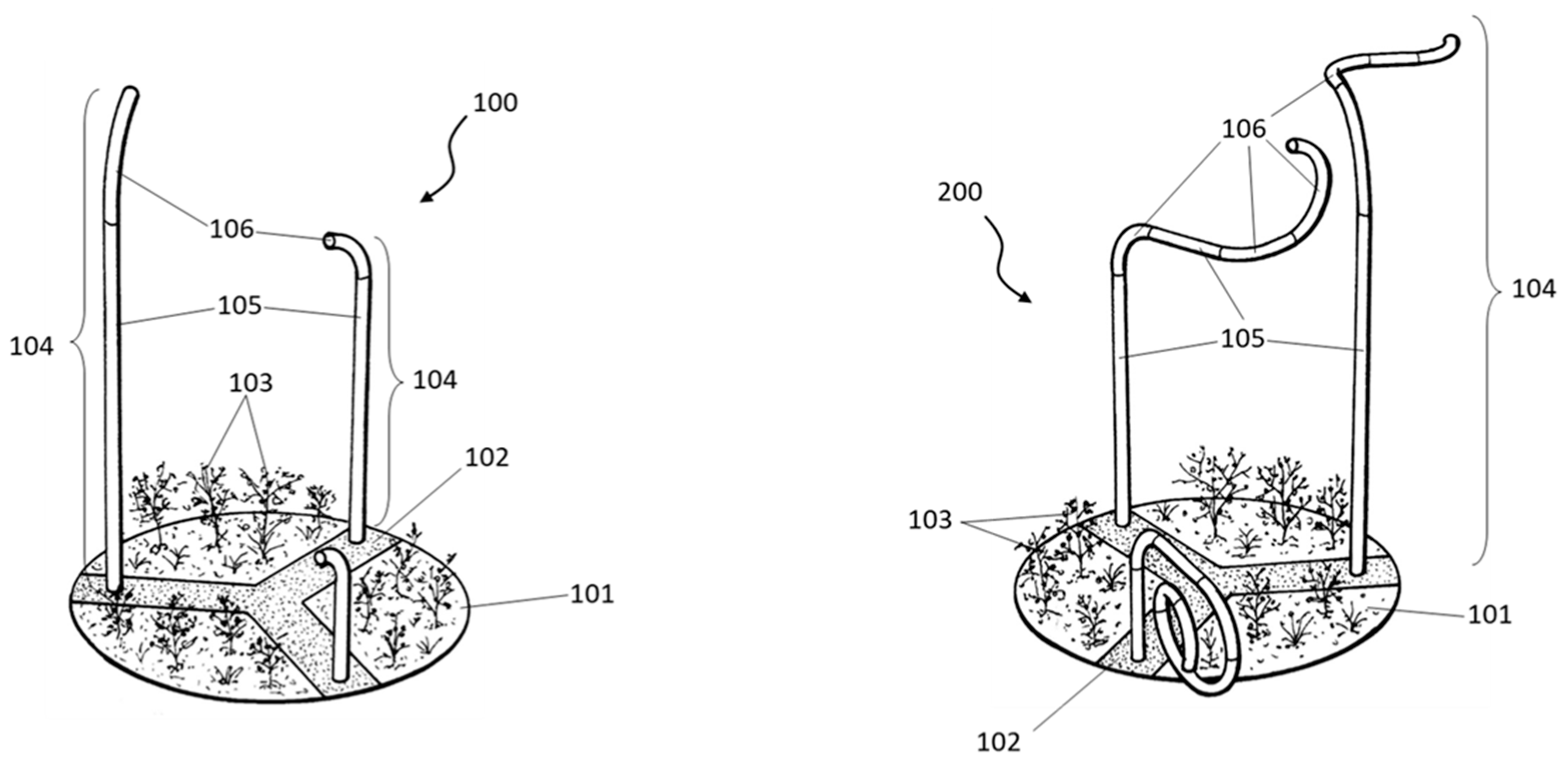
Figure 10 shows Urban Oasis’ infrastructure (100) with three different configurations of the hollow tubular supports (104). Each support includes at least one straight section (105) and at least one curved section (106). The length of each tubular section may vary, thereby creating supports of arbitrary shapes. The opening on the urban pavement that accommodates the rain garden is circular. However, other geometric shapes can be implemented in the design of the urban rain garden. The tubular supports are anchored at one of their ends to a foundation (102). This foundation extends from one edge of the circle defining the opening in the urban pavement where the rain garden is located to the opposite edge. In the arrangement shown in Figure 9, the foundation is Y-shaped, connecting points on the perimeter of the opening to a central area within it.
The part of the urban infrastructure not occupied by the foundation hosts the urban garden (101). The rain garden includes an outer layer with vegetation (103) and underlying layers of filtering material (to filter water entering the rain garden) that can extend beneath the foundation. The right side of Figure 10 shows a different configuration of Urban Oasis with supports of varying length and in different sequences. This variation allows for different shapes, optimizing the design for its intended urban functionality.
Figure 11 depicts a configuration of Urban Oasis where the tubular supports host different functional elements such as sensors, lights, speakers, and solar panels. In this arrangement, the foundation has a cross shape, with arms arranged transversely and a central connection point within the opening.
In this case, below the filtering layer (308), the connections to the urban sewage system are hosted, through which the excess water received by the urban rain garden can be evacuated.

4. Discussion

This article addresses key aspects of urban sustainability, adaptability, and multifunctionality through the design of an integrated solution that includes rain gardens and urban furniture. Starting from an investigation that aimed to answer the need for a paradigm shift in the design and implementation of urban furniture and public space elements for a more sustainable and egalitarian city, the research resulted in a new Utility Model (Urban Oasis) for the adaptation of cities to climate change. While theoretical and practical research in this field is advancing, the definition of specific usable and adaptive solutions validated in a real environment is still an unfulfilled need. We propose the use of modular and interactive Nature-based Solutions that aim to blend the artificial and human-centred with the natural and more-than-human to provide a holistic approach to the challenges posed by climate adaptation. While Urban Oasis is still in its concept phase (see Section 5), the goal of the next phase of the project is the manufacturing and implementation of the industrial prototype, as well as its evaluation in a real-world environment.
With this research, we also want to vindicate design as a valid form of research. The research was conducted following an iterative design-driven process validated through the lenses of a previously defined design checklist and against a design framework, currently in progress, that incorporates the overlapping tangible and intangible layers of the urban realm into the design of real-world solutions.
Below, we summarize how the design of Urban Oasis fulfils the design checklist and the interconnection of layers of the integrated design framework.

4.1. Alignment with the Design Checklist

Urban Oasis adheres to the key principles outlined in the Design Checklist, specifically as follows:
  • Pedestrianization: The design prioritizes pedestrian use by replacing conventional paved surfaces with permeable gardens, promoting walkable and green public spaces.
  • Applied Technology: Environmental sensors, motion detectors, and other embedded technologies enable the smart management of urban spaces, providing real-time data on environmental and social conditions.
  • Universal Accessibility: Modular designs allow inclusivity for users of all abilities, ensuring equal access and use.
  • Multifunctionality: The rain garden incorporates features for environmental monitoring, public utility (charging stations), and ecological integration, showcasing its adaptability for diverse urban contexts.
  • Durability: The use of stainless steel and other robust materials ensures longevity and resistance to climate-related challenges.
  • Green Spaces: By integrating rain gardens, the design contributes to ecological sustainability, improving air quality, managing water cycles, and enhancing urban biodiversity.
  • Liveability/Social Sustainability: The inclusion of seating areas and water points within a rain garden design encourages the use of these spaces for social interaction and leisure, enhancing community engagement [45].
  • Sustainable Logistics: The design integrates with urban infrastructure to ensure efficiency in water and energy usage, supporting broader sustainability goals.
  • Modularity: Its scalable and reversible components allow adaptation to various urban environments, creating a flexible system suitable for long-term use.
  • Urban Safety: Enhanced lighting and open design improve visibility and perceived safety for urban users.
  • Cultural Identity: The customizable design respects local esthetics and integrates with community-specific cultural elements.
  • Multimodality/Commerce: The modular system balances pedestrian, cyclist, and commercial needs, enhancing the overall functionality of public spaces.

4.2. Interconnection of Layers

The proposed design integrates and connects the tangible and intangible layers of the Integrated Design Framework. Tangible layers, such as architecture and urban furniture, serve as the foundation, while intangible layers (social innovation, more-than-human components, and multisensory design) enhance the system’s inclusivity, functionality, and ecological integration. The design’s transversality is achieved by stitching together the layers conceptually and physically. For example, the following can be observed:
  • Social innovation is incorporated by creating an inclusive adaptable space for diverse users based on the principle that a healthy shared environment “protects communities from exposure to environmental harms and is conducive to the physical, mental and social well-being of its inhabitants” [24].
  • More-than-human components [46] are addressed via green infrastructure that supports urban biodiversity and ecological health. Rain gardens attract various species such as bugs, butterflies, birds, and bees, creating an urban solution to the declining population of beneficial species in human environments due to habitat loss.
  • Functional elements that support multisensory design (e.g., speakers, lights) can be used to enhance human and non-human resident populations’ connection to the urban environment, improving quality of life. For instance, soundscape design can be integrated to leverage the restorative power of sound and create a healthier environment for individuals and society. Additionally, ongoing research shows that natural soundscapes can improve perceived comfort in urban space [47].
  • The phyto-purification system becomes an element of interest at both perceptive and didactive levels [48]. The rain garden is a miniature ecosystem that reproduces the natural water cycle, becoming an educational tool to raise awareness among younger generations of its importance in climate adaptation.
  • The system leverages Nature-based Solutions (NbS) as a core strategy to address climate adaptation challenges in urban environments. Rain gardens serve as ecological hubs that improve water management, reduce heat island effects, and enhance urban biodiversity [14]. This approach offers an alternative to traditional hard infrastructure, promoting sustainability and resilience while integrating seamlessly with existing urban networks.

5. Conclusions

This research underscores the importance of a transdisciplinary approach to urban design, combining architecture, engineering, ecology, and social sciences to develop innovative solutions for climate change adaptation. The Urban Oasis rain garden exemplifies how multifunctional and modular urban infrastructure can address the complexities of urban environments while adhering to sustainability principles. By integrating tangible and intangible layers within the urban fabric, the proposed rain garden design goes beyond conventional solutions, handling not only environmental challenges but also social and technological needs. Its modular and scalable nature enhances widespread application across various urban contexts, making it a versatile tool for cities aiming to achieve SDG11: “Sustainable Cities and Communities”.
As evidenced by the diversity of parameters considered in the design ofUrban Oasis, innovations in NbSs must bring together various forms of knowledge and expertise. A promising path forward is to adopt design approaches that are inherently synthetic and systemic. This requires integrating nature-based solutions into planning, policy, and implementation in a way that transcends disciplinary silos, drawing on expertise from ecologists, engineers, landscape architects, social scientists, urban planners, and economists [49].

5.1. Limitations

As stated, at the moment of writing, Urban Oasis reached the stage of a fully designed patented Utility Model. A “real-world” prototype will be manufactured and implemented in a testbed context in a forthcoming phase of the project (see Section 5.2). In this phase, prior to the technical implementation of Urban Oasis, we turned to similar validated cases to assess the performance of our solution, such as the work conducted by Burszta-Adamiak and colleagues in the Polish city of Wroclaw [50]. The hydrological performance of the rain garden was evaluated in a city with a mild climate and considerable annual rainfall, similar to Bilbao, Spain, where our research takes place. In the Burszta-Adamiak work, the rain garden spans 7.6 m2 with a maximum depth of 0.3 m. The top layer, 0.05 m deep, consists of 10–25 mm gravel, which helps minimize evaporation from the underlying soil. Below this, the vegetation layer contains dark brown soil rich in organic matter. Its composition includes 58% coarse sand, 23% medium sand, 8% fine sand, 8% fine gravel, and 3% silt based on sieve analysis. The bulk density is 1477 g/cm³, while the soil skeleton’s bulk density is 1207 g/cm³. The bottom layer is made of gravel, identical to the top layer. This bioretention system lacks a conventional underdrain, similarly to Urban Oasis. During rainfall, the filtering medium reaches saturation, filling the pore space and basin before excess water overflows. This design is common for small rain gardens, like Urban Oasis. Beyond water management, the rain garden enhances esthetics. Its vegetation has withstood both drought and flooding over long periods. The garden mainly features perennial plants, including great burnet (Sanguisorba officinalis), narrow-leaved Oman (Inula ensifolia), “Venusta” (Filipendula rubra), and viper’s bugloss (Echium vulgare).
Considering the above and using an Urban Oasis model with a diameter of two metres and a catchment area of 3.14 m2 (π × r2, where r = 1) as an example, the expected retention capacity with a similar substrate and planting can be estimated using the following formula:
Retention Volume = Catchment Area × Maximum Ponding Depth × Porosity
where
  • Area of rainwater inflow = 3.14 m2;
  • Maximum ponding depth = 0.3 m;
  • Estimated porosity = 0.35 (typical for sandy and gravelly soils);
  • Calculation: Retention Volume = 3.14 × 0.3 × 0.35 = 0.33 m3;
  • Converting to litres: 0.33 × 1000 = 330 L.
Therefore, it can be stated that an Urban Oasis rain garden with a catchment area of 3.14 m2 and a maximum ponding depth of 0.3 m can retain approximately 330 L of water before overflowing. This estimation considers the porosity of the filtering medium, which allows for water infiltration and storage within the soil structure.

5.2. Future Steps

The next steps in the development of Urban Oasis will take place during a forthcoming phase of the project. Specifically, the solution will be prototyped at full scale in collaboration with the industrial partner of the project. After an in vitro technical testing phase, the prototype will be implemented in vivo at a pilot location in Bilbao, Basque Country, where the project takes place. At the moment of writing, we have identified several locations within the city which share similar characteristics, for instance, Plaza Eugenio Olabarrieta in Ribera de Deustu, Eskurtze Parkea in Iralabarri, Jardines de Gernika in Miribilla, and Parque Hermanitas de los Pobres in Atxuri. These are locations in the hearts of neighbourhoods, where Urban Oasis will help create places of social and environmental interest in the various districts of Bilbao. The periods of heaviest rainfall occur in autumn and spring, making them the chosen seasons for testing the prototypes. During these seasons, it will also be possible to observe the effect that the different stages of vegetation in each period have on water absorption. Moreover, the chosen locations will serve to test the functionality, durability, and user interaction of the prototype, as they are places where a need for public use activation has been identified. The research team will apply evaluation protocols previously developed for the real-world evaluation of interactive urban furniture designed and developed by the first author, such as in [51]. The design of the solution and the overall user experience will be iteratively refined based on empirical findings to ensure long-term feasibility and impact. The final goal of the project is the real-world implementation at scale of Urban Oasis in the city of Bilbao. At-scale industrialization and scalability to other contexts (e.g., other cities in Spain and elsewhere) will be planned in the future.
This research highlights the critical role of integrated design frameworks and practice-based research in creating more liveable, equitable, and climate-resilient cities.

6. Patents

The result of the research presented in this article is formalized as an industrial solution in the form of a Utility Model, whose registration application has been submitted to the Spanish Patent and Trademark Office (number U202432323).

Author Contributions

Conceptualization, J.S., S.L. and A.L.; methodology, J.S. and A.L.; writing—original draft preparation, J.S., S.L. and A.L.; writing—review and editing, J.S., S.L. and A.L.; visualization, J.S. All authors have read and agreed to the published version of the manuscript.

Funding

This work was funded under the 2022 University-Business-Society funding programme from the University of the Basque Country with identification code number US22/21. S.L.’s work is partially funded by the Marie Skłodowska-Curie Cofund Programme of the European Commission (H2020-MSCA-COFUND-2020-101034228-WOLFRAM2). The funders had no involvement in the study design, data analysis, decision to publish, or preparation of the manuscript.

Data Availability Statement

Online video on Urban Oasis concept solution: https://vimeo.com/1013052973 (accessed on 25 February 2025).

Acknowledgments

The authors wish to thank the company Transformados Metálicos S.L. for their support and advice throughout the project.

Conflicts of Interest

The authors declare that the research was conducted in the absence of any commercial or financial relationships that could be construed as a potential conflict of interest.

Abbreviations

The following abbreviations are used in this manuscript:
LCALife Cycle Assessment
NbSNature-based Solution
RtDResearch through Design

References

  1. Lenzi, S.; Sádaba, J.; Retegi, A. Designing Climate Adaptation in the Urban Space: The Need for a Transdisciplinary Approach. Front. Sustain. Cities 2025, in review.
  2. Rius-Ulldemolins, J.; Klein, R. From top-down urban planning to culturally sensitive planning? Urban renewal and artistic activism in a neo-bohemian district in Barcelona. J. Urban Aff. 2020, 44, 524–544. [Google Scholar] [CrossRef]
  3. Yang, Q.; Song, Y.; Cai, Y. Blending Bottom-Up and Top-Down Urban Village Redevelopment Modes: Comparing Multidimensional Welfare Changes of Resettled Households in Wuhan, China. Sustainability 2020, 12, 7447. [Google Scholar] [CrossRef]
  4. Semeraro, T.; Nicola, Z.; Lara, A.; Cucinelli, F.S.; Aretano, R. A Bottom-Up and Top-Down Participatory Approach to Planning and Designing Local Urban Development: Evidence from an Urban University Center. Land 2020, 9, 98. [Google Scholar] [CrossRef]
  5. Jeličić, J.A.; Rapaić, M.; Kapetina, M.; Medić, S.; Ecet, D. Urban planning method for fostering social sustainability: Can bottom-up and top-down meet? Results Eng. 2021, 12, 100284. [Google Scholar] [CrossRef]
  6. Lang, D.J.; Wiek, A.; Bergmann, M.; Stauffacher, M.; Martens, P.; Moll, P.; Swilling, M.; Thomas, C.J. Transdisciplinary research in sustainability science: Practice, principles, and challenges. Sustain. Sci. 2012, 7 (Suppl. 1), 25–43. [Google Scholar] [CrossRef]
  7. Lawrence, R.J. Co-Benefits of Transdisciplinary Planning for Healthy Cities. Urban Plan. 2022, 7, 61–74. [Google Scholar] [CrossRef]
  8. Amorim-Maia, A.T. Creating Inclusive and Effective Climate Shelters. Policy Brief. BCNUEJ. 2023. Available online: https://tinyurl.com/3hzevenh (accessed on 16 January 2025).
  9. Lwasa, S.; Seto, K.C.; Bai, X.; Blanco, H.; Gurney, K.R.; Kılkış, Ş.; Lucon, O.; Murakami, J.; Pan, J.; Sharifi, A.; et al. Urban systems and other settlements. In IPCC, 2022: Climate Change 2022: Mitigation of Climate Change. Contribution of Working Group III to the Sixth Assessment Report of the Intergovernmental Panel on Climate Change; Shukla, P.R., Skea, J., Slade, R., Al Khourdajie, A., van Diemen, R., McCollum, D., Pathak, M., Some, S., Vyas, P., Fradera, R., et al., Eds.; Cambridge University Press: Cambridge, UK; New York, NY, USA, 2022. [Google Scholar] [CrossRef]
  10. López Plazas, F.; Crespo Sánchez, E.; Llorca Pérez, R.; Santacana Albanilla, E. Schools as climate shelters: Design, implementation and monitoring methodology based on the Barcelona experience. J. Clean. Prod. 2023, 432, 139588. [Google Scholar] [CrossRef]
  11. Amorim-Maia, A.T.; Anguelovski, I.; Connolly, J.; Chu, E. Seeking refuge? The potential of urban climate shelters to address intersecting vulnerabilities. Landsc. Urban Plan. 2023, 238, 104836. [Google Scholar] [CrossRef]
  12. Florido, F. What Are Climate Shelters? CREAF 2022. Available online: https://www.creaf.cat/en/articles/what-are-climate-shelters (accessed on 24 January 2025).
  13. Kabisch, N.; Korn, H.; Stadler, J.; Bonn, A. Nature-Based Solutions to Climate Change Adaptation in Urban Areas: Linkages between Science, Policy and Practice; Springer: Cham, Switzerland, 2017. [Google Scholar]
  14. Frantzeskaki, N.; McPhearson, T. Mainstream Nature-Based Solutions for Urban Climate Resilience. BioScience 2022, 72, 113–115. [Google Scholar] [CrossRef]
  15. Pineda-Pinto, M.; Frantzeskaki, N.; Nygaard, C.A. The potential of nature-based solutions to deliver ecologically just cities: Lessons for research and urban planning from a systematic literature review. Ambio 2022, 51, 167–182. [Google Scholar] [CrossRef]
  16. Schrodi, S.; Briegel, F.; Argus, M.; Christen, A.; Brox, T. Climate-sensitive Urban Planning through Optimization of Tree Placements. arXiv 2023, arXiv:2310.05691. [Google Scholar]
  17. Walker, S.E.; Smith, E.A.; Bennett, N.; Bannister, E.; Narayana, A.; Nuckols, T.; Pineda Velez, K.; Wrigley, J.; Bailey, K. Defining and conceptualizing equity and justice in climate adaptation. Glob. Environ. Change 2024, 87, 102885. [Google Scholar] [CrossRef]
  18. Brousseau, J.J.; Stern, M.J.; Pownall, M.; Hansen, L.J. Understanding how justice is considered in climate adaptation approaches: A qualitative review of climate adaptation plans. Local Environ. 2024, 29, 1644–1663. [Google Scholar] [CrossRef]
  19. Olazabal, M.; Loroño-Leturiondo, M.; Amorím-Maia, A.T.; Lewis, W.; Urrutia, J. Integrating science and the arts to deglobalize climate change adaptation. Nat. Commun. 2024, 15, 2971. [Google Scholar] [CrossRef] [PubMed]
  20. Schipper, E.L.F. Maladaptation: When Adaptation to Climate Change Goes Very Wrong. One Earth 2020, 3, 409–414. [Google Scholar] [CrossRef]
  21. Verma, P.; Singh, P.; Raghubanshi, A.S.; Singh, R. Urban Ecology: Emerging Patterns and Social-Ecological Systems; Elsevier: Amsterdam, The Netherlands, 2020. [Google Scholar] [CrossRef]
  22. Xiao, J.; Aletta, F.; Radicchi, A.; McLean, K.; Shiner, L.E.; Verbeek, C. Recent advances in smellscape research for the built environment. Front. Psychol. 2021, 12, 700514. [Google Scholar] [CrossRef]
  23. Tabassum, M. Understanding urban green spaces through lenses of sensory experience: A case study of neighborhood parks in Dhaka city. Senses Soc. 2024, 1–33. [Google Scholar] [CrossRef]
  24. Arana, U.R. Multispecies soundscapes: A more-than-human approach. In Proceedings of the InterNoise Conference 2024, Nantes, France, 25–29 August 2024; pp. 2743–2749. [Google Scholar] [CrossRef]
  25. Sádaba, J.; Alonso, Y.; Latasa, I.; Luzarraga, A. Towards Resilient and Inclusive Cities: A Framework for Sustainable Street-Level Urban Design. Urban Sci. 2024, 8, 264. [Google Scholar] [CrossRef]
  26. Cortesão, J.; Lenzholzer, S. Research Through Design in Urban and Landscape Design Practice. J. Urban Des. 2022, 27, 617–633. [Google Scholar] [CrossRef]
  27. Fraser, M. (Ed.) Design Research in Architecture: An Overview; Ashgate Publishing: Farnham, UK, 2013. [Google Scholar]
  28. O’Donnell, E.C.; Thorne, C.R. Drivers of future urban flood risk. Philos. Trans. R. Soc. A Math. Phys. Eng. Sci. 2020, 378, 20190216. [Google Scholar] [CrossRef]
  29. Thorne, C.; Lawson, E.; Ozawa, C.; Hamlin, S.; Smith, L. Overcoming uncertainty and barriers to adoption of Blue-Green Infrastructure for urban flood risk management. J. Flood Risk Manag. 2018, 11, S960–S972. [Google Scholar] [CrossRef]
  30. Sádaba, J.; Arratible, A. From intuition to inquiry: Reframing architecture’s role in design research. VLC Arquitectura 2025, 12. in press. [Google Scholar]
  31. Cross, N. Designerly ways of knowing. Des. Stud. 1982, 3, 221–227. [Google Scholar] [CrossRef]
  32. Stappers, P.J.; Giaccardi, E. Research through Design. In The Encyclopedia of Human-Computer Interaction, 2nd ed.; Soegaard, M., Friis-Dam, R., Eds.; The Interaction Design Foundation: Copenhagen, Denmark, 2017; pp. 1–94. [Google Scholar]
  33. Sádaba, J.; Alonso, Y.; Latasa, I.; Collantes, E. Framing the Scope for Transdisciplinary Research in Architecture and Urban Design: A Work-in-Progress on the Future of Streets. Blucher Des. Proc. 2023, 1, 1–16. [Google Scholar] [CrossRef]
  34. Dilling, L.; Prakash, A.; Zommers, Z.; Ahmad, F.; Singh, N.; de Wit, S.; Nalau, J.; Daly, M.; Bowman, K. Is adaptation success a flawed concept? Nat. Clim. Change 2019, 9, 572–574. [Google Scholar] [CrossRef]
  35. Maki, F. Investigations in Collective Form; Washington University School of Architecture: St. Louis, MO, USA, 1964. [Google Scholar]
  36. Goodwin, S.; Olazabal, M.; Castro, A.J.; Pascual, U. Measuring the contribution of nature-based solutions beyond climate adaptation in cities. Glob. Environ. Chang. 2024, 89, 102939. [Google Scholar] [CrossRef]
  37. Design Council. The Double Diamond. 2005. Available online: https://www.designcouncil.org.uk/our-resources/the-double-diamond/ (accessed on 1 February 2025).
  38. Schön, D.A. The Reflective Practitioner: How Professionals Think in Action; Basic Books: New York, NY, USA, 1983. [Google Scholar]
  39. Rowe, P.G. Design Thinking; MIT Press: Cambridge, MA, USA, 1987. [Google Scholar]
  40. Darke, J. The Primary Generator and the Design Process. Des. Stud. 1979, 1, 36–44. [Google Scholar] [CrossRef]
  41. Simon, H.A. The Sciences of the Artificial; MIT Press: Cambridge, MA, USA, 1969. [Google Scholar]
  42. Monachese, A.P.; Gómez-Villarino, M.T.; López-Santiago, J.; Sanz, E.; Almeida-Ñauñay, A.F.; Zubelzu, S. Challenges and Innovations in Urban Drainage Systems: Sustainable Drainage Systems Focus. Water 2025, 17, 76. [Google Scholar] [CrossRef]
  43. Hydro Planter. Available online: https://greenblue.com/es/ (accessed on 25 February 2025).
  44. Illman, S. Modular Rain Garden System. 2020. Available online: https://tinyurl.com/44u9v966 (accessed on 25 February 2025).
  45. Wang, M.; Zhuang, J.; Sun, C.; Wang, L.; Zhang, M.; Fan, C.; Li, J. The Application of Rain Gardens in Urban Environments: A Bibliometric Review. Land 2024, 13, 1702. [Google Scholar] [CrossRef]
  46. Cameron, F.R. From Sustainable Development to Sustaining Practices for Human, More-than and Other-than Human Worlds. Mus. Int. 2023, 75, 214–221. [Google Scholar] [CrossRef]
  47. Nitidara, N.P.A.; Sarwono, J.; Suprijanto, S.; Soelami, F.N. The multisensory interaction between auditory, visual, and thermal to the overall comfort in public open space: A study in a tropical climate. Sustain. Cities Soc. 2022, 78, 103622. [Google Scholar] [CrossRef]
  48. Izembart, H.; Le Boudec, B. Waterscapes: El Tratamiento de Aguas Residuales Mediante Sistemas Vegetales; Editorial Gustavo Gili: Barcelona, Spain, 2003. [Google Scholar]
  49. European Commission: Directorate-General for Research and Innovation. The Vital Role of Nature-Based Solutions in a Nature Positive Economy; Publications Office of the European Union: Brussels, Belgium, 2022; Available online: https://data.europa.eu/doi/10.2777/307761 (accessed on 15 February 2025).
  50. Burszta-Adamiak, E.; Biniak-Pieróg, M.; Dąbek, P.B.; Sternik, A. Rain Garden Hydrological Performance—Responses to Real Rainfall Events. Sci. Total Environ. 2023, 887, 164153. [Google Scholar] [CrossRef] [PubMed]
  51. Gómez-Carmona, O.; Sádaba, J.; Casado-Mansilla, D. Enhancing street-level interactions in smart cities through interactive and modular furniture. J. Ambient. Intell. Humaniz. Comput. 2022, 13, 5419–5432. [Google Scholar] [CrossRef]
Figure 1. Schematic representation of the different stages of the research. At the moment, we are in the Concept Solution/Deliver phase, where from an expansion phase of experimenting with different prototypes, we defined a concept solution prior to manufacturing and real-world implementation.
Figure 1. Schematic representation of the different stages of the research. At the moment, we are in the Concept Solution/Deliver phase, where from an expansion phase of experimenting with different prototypes, we defined a concept solution prior to manufacturing and real-world implementation.
Urbansci 09 00074 g001
Figure 2. Integrated Design Framework. Integrated future solutions are multi-layered, i.e., they combine architecture and urban design with social innovation, multisensory analysis, and more-than-human and multispecies design.
Figure 2. Integrated Design Framework. Integrated future solutions are multi-layered, i.e., they combine architecture and urban design with social innovation, multisensory analysis, and more-than-human and multispecies design.
Urbansci 09 00074 g002
Figure 3. The Design Thinking Double Diamond design methodology, with four phases, Discover, Define, Develop and Deliver which lead from the conceptualization to the production or implementation of a new product or service. Source: The Design Council.
Figure 3. The Design Thinking Double Diamond design methodology, with four phases, Discover, Define, Develop and Deliver which lead from the conceptualization to the production or implementation of a new product or service. Source: The Design Council.
Urbansci 09 00074 g003
Figure 4. Initial sketching phase of the future solution, with the ring-shaped element as the embryonic foundation component. Specific sites of the city of Bilbao were also identified where the solution could be piloted.
Figure 4. Initial sketching phase of the future solution, with the ring-shaped element as the embryonic foundation component. Specific sites of the city of Bilbao were also identified where the solution could be piloted.
Urbansci 09 00074 g004
Figure 5. First round of prototyping with cardboard and steel elements.
Figure 5. First round of prototyping with cardboard and steel elements.
Urbansci 09 00074 g005
Figure 6. Concept development for Urban Oasis as a void that connects the urban space with its underground foundational roots.
Figure 6. Concept development for Urban Oasis as a void that connects the urban space with its underground foundational roots.
Urbansci 09 00074 g006
Figure 7. Sketches of Urban Oasis as a rhizomatic solution that connects the anthropic above-ground realm of the city space with its ancestral underground roots.
Figure 7. Sketches of Urban Oasis as a rhizomatic solution that connects the anthropic above-ground realm of the city space with its ancestral underground roots.
Urbansci 09 00074 g007
Figure 8. Urban Oasis consists of a circular opening in the urban pavement with a rain garden, a concealed foundation footing, and functional aerial elements. Numbers from 1 to 11 describe the combinable individual elements that compose the solution.
Figure 8. Urban Oasis consists of a circular opening in the urban pavement with a rain garden, a concealed foundation footing, and functional aerial elements. Numbers from 1 to 11 describe the combinable individual elements that compose the solution.
Urbansci 09 00074 g008
Figure 9. First sketch of instructions to assemble and ground Urban Oasis in the city space. Different elements (sensors, multimodal displays, electric charges) can be added to the aerial stainless-steel tube as appropriate.
Figure 9. First sketch of instructions to assemble and ground Urban Oasis in the city space. Different elements (sensors, multimodal displays, electric charges) can be added to the aerial stainless-steel tube as appropriate.
Urbansci 09 00074 g009
Figure 10. Description of the technical components of Urban Oasis as per the patent application.
Figure 10. Description of the technical components of Urban Oasis as per the patent application.
Urbansci 09 00074 g010
Figure 11. A different configuration of Urban Oasis, with the tubular supports hosting different functional elements (sensors, lights, speakers, solar panels, and so on).
Figure 11. A different configuration of Urban Oasis, with the tubular supports hosting different functional elements (sensors, lights, speakers, solar panels, and so on).
Urbansci 09 00074 g011
Table 1. Differences between traditional forms of scientific enquiry and design-driven research. The tension between the two approaches is analyzed according to the purpose, result, orientation, and outcome of the research [32].
Table 1. Differences between traditional forms of scientific enquiry and design-driven research. The tension between the two approaches is analyzed according to the purpose, result, orientation, and outcome of the research [32].
ResearchDesign
PurposeGeneral knowledgeSpecific solution
ResultAbstractedSituated
OrientationLong termShort term
OutcomeTheoryRealization
Disclaimer/Publisher’s Note: The statements, opinions and data contained in all publications are solely those of the individual author(s) and contributor(s) and not of MDPI and/or the editor(s). MDPI and/or the editor(s) disclaim responsibility for any injury to people or property resulting from any ideas, methods, instructions or products referred to in the content.

Share and Cite

MDPI and ACS Style

Sádaba, J.; Luzarraga, A.; Lenzi, S. Designing for Climate Adaptation: A Case Study Integrating Nature-Based Solutions with Urban Infrastructure. Urban Sci. 2025, 9, 74. https://doi.org/10.3390/urbansci9030074

AMA Style

Sádaba J, Luzarraga A, Lenzi S. Designing for Climate Adaptation: A Case Study Integrating Nature-Based Solutions with Urban Infrastructure. Urban Science. 2025; 9(3):74. https://doi.org/10.3390/urbansci9030074

Chicago/Turabian Style

Sádaba, Juan, Arantzazu Luzarraga, and Sara Lenzi. 2025. "Designing for Climate Adaptation: A Case Study Integrating Nature-Based Solutions with Urban Infrastructure" Urban Science 9, no. 3: 74. https://doi.org/10.3390/urbansci9030074

APA Style

Sádaba, J., Luzarraga, A., & Lenzi, S. (2025). Designing for Climate Adaptation: A Case Study Integrating Nature-Based Solutions with Urban Infrastructure. Urban Science, 9(3), 74. https://doi.org/10.3390/urbansci9030074

Article Metrics

Back to TopTop