Next Article in Journal
Updated Review on the Available Methods for Measurement and Prediction of the Mass Transfer Coefficients in Bubble Columns
Previous Article in Journal
Transonic Aerodynamic Performance Analysis of a CRM Joined-Wing Configuration
 
 
Font Type:
Arial Georgia Verdana
Font Size:
Aa Aa Aa
Line Spacing:
Column Width:
Background:
Article

Features of Supersonic Flow Around a Blunt Body in the Area of Junction with a Flat Surface

1
Ioffe Institute, Politekhnicheskaya 26, St. Petersburg 194021, Russia
2
Institute of Physics and Mechanics, Peter the Great Saint-Petersburg Polytechnic University, Politekhnicheskaya 29, St. Petersburg 195251, Russia
*
Author to whom correspondence should be addressed.
Fluids 2025, 10(2), 28; https://doi.org/10.3390/fluids10020028
Submission received: 27 November 2024 / Revised: 14 January 2025 / Accepted: 23 January 2025 / Published: 26 January 2025

Abstract

This work studies the influence of a growing boundary layer on the process of supersonic flow around an aerodynamic body. The task is to select and implement in an experiment the parameters of a supersonic flow and to study the flow pattern near the surface of an aerodynamic body at different viscosity values for the incoming flow. Visualization of the shock wave configuration in front of the body and studying the change in the pressure field in the flow region under these conditions is the main goal of this work. The experiment was carried out on an experimental stand created on the basis of a shock tube. The aerodynamic body under study (a semi-cylinder pointed along a circle or an ellipse) was placed in a supersonic nozzle. The model was clamped by lateral transparent walls, which were simultaneously a source of boundary layer growth and the viewing windows for visualizing the flow. For selected modes with Reynolds numbers from 8200 to 45,000, schlieren flow patterns and pressure distribution fields near the surface of the streamlined models and the plate of the growing boundary layer were obtained. The data show a complex, unsteady flow pattern realized near the model which was caused by the viscous-inviscid interaction of the boundary layer with the bow shock wave near the wall.

1. Introduction

The development of supersonic rocket and aircraft construction contributes to the intensification of research into supersonic flows in order to improve the basic characteristics of aircraft, such as aerodynamic drag and lift, as well as the process of growing boundary layers and the probability of separation. The relevance of the development of supersonic aerodynamics and flow control processes contributes to the development of both the experimental base [1,2,3] and methods of aerodynamic research [4,5,6], as well as the mathematical apparatus for numerical modeling of flow processes [7,8,9]. Supersonic flow around protrusions, connections to various elements, and bends in the aircraft body require special attention since they worsen the main flow characteristics, create additional areas for flow turbulization, and form separated zones, which increases the weight of the aircraft, since increased loads on these elements require reinforced fastening.
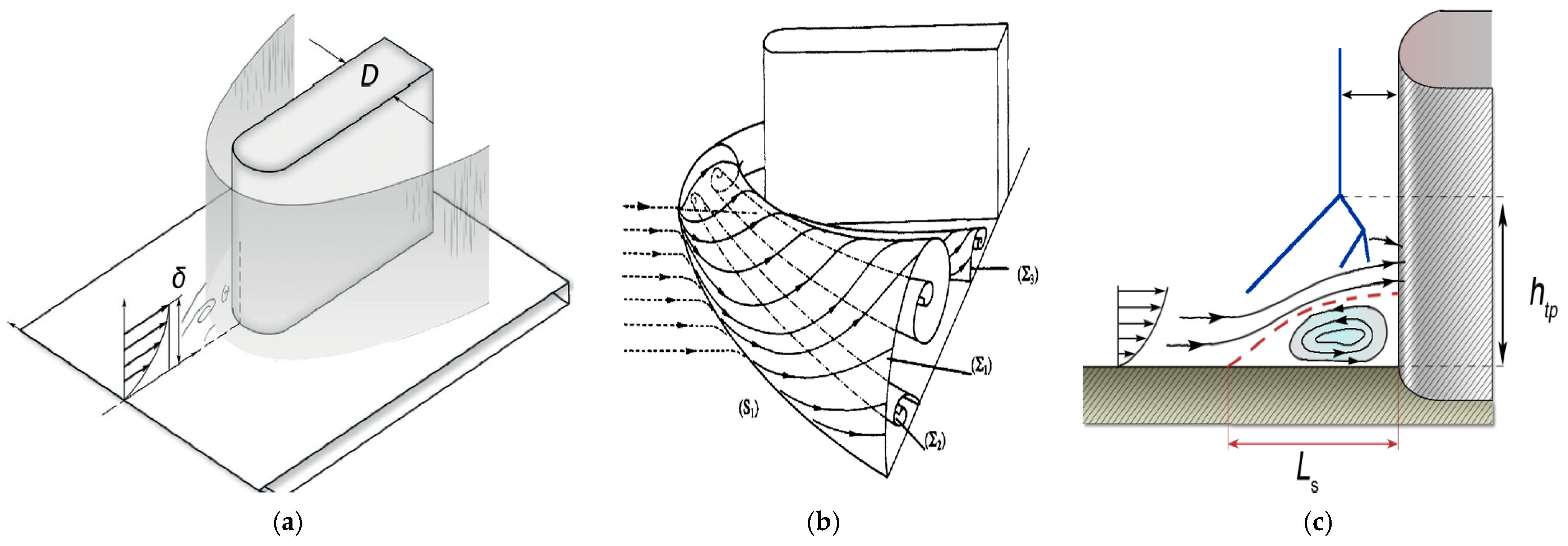
One of the most frequently considered model problems in the literature is supersonic flow past a blunt body mounted on a plate [10,11,12,13,14,15,16,17,18,19,20,21]. The problem statement is presented in Figure 1a. A blunt body is located on a plate streamlined by a supersonic flow. The head shock wave arising in front of the body is a three-dimensional surface of the density gradient. The growing boundary layer, which also has a three-dimensional structure, flows onto the shock wave. In this problem, the effects of viscous-inviscid interaction are clearly manifested; the unfavorable pressure gradient created by the bow shock wave lifts off the boundary layer, and a recirculation bubble forms in front of the leading edge. The protrusion of the recirculation zone creates a separation shock which intersects with the bow shock wave. This intersection point is called the “triple point” because a λ-shaped shock-wave configuration is formed there. The flow behind the shock wave degenerates into a series of three-dimensional vortices which are heterogeneous in structure. As a result, an extended separation region with a chain of vortices is formed in front of the body, each of which becomes a “head” of a horseshoe-shaped vortex enveloping the body, the ends of which extend downstream in both directions (Figure 1b). At some distance downstream, the vortices degenerate and are carried away by the main flow. The separation zone induces oblique compression waves that intersect the bow shock, which leads to curvature of the bow shock in the interaction region. These processes strongly influence the flow structure, aerodynamic drag and the parameters of the impact on the body surface.
Figure 1c illustrates the general structure of the flow in the symmetry plane. It can be seen that during the flow process, the boundary layer swirls into a vortex, which sucks in gas in the area where the body connects to the plate. The vortex structure is flown around by a supersonic flow, resulting in the formation of a triple shock wave configuration, discussed in detail in [17]. The height of the triple point (htp) and the size of the vortex region (Ls) depend on the flow parameters, including the viscosity.
The emergence and development of horseshoe-shaped vortices and the general picture of the flow around a blunt body with a shock wave structure, arising as a result of the growth of the boundary layer, is presented in [18]. The three-dimensional nature of the problem posed and the influence of low-frequency pressure unsteadiness due to vortex fluctuations on the process of such flows were shown in [19]. The interaction of a boundary layer with a blunt body with two wedge angles, as a model of a reentry vehicle at high Mach numbers, was studied with experimental and numerical methods in [20], and an improvement in the aerodynamic characteristics and a decrease in the effect of the boundary layer in such a configuration were shown. The features of the flow around and the influence of the boundary layer on the flow structure of a blunt body in the transverse direction of the jet were considered in [21].
A new approach to the study was demonstrated in [22], where the deployment of a convolutional neural network (CNN) was notably successful, providing a robust framework for the analysis and prediction of wall pressure changes based on collected experimental data by using a contactless schlieren imaging system to predict wall pressures in fluid dynamics, specifically within the context of high-speed shock wave and boundary layer interactions.
This paper examines the features of the supersonic flow of a viscous gas near a blunt body and the long flat surface on which it is located. In a viscous medium, a boundary layer grows on the surface, flowing onto an obstacle. It interacts with the bow shock wave formed during supersonic flow around the body. The main task is to study the three-dimensional effects in such viscous-inviscid interactions. The problem is urgent; similar situations arise in many places on the surface of a supersonic aircraft, such as the joining of the wing and tail unit to the fuselage or the attachment of nacelles to engines. An uneven impact on these elements from the flow and boundary layer can cause an increase in the load, leading to destruction. Reducing such loads will allow optimizing the costs of materials for the manufacture and fastening of such elements on an aircraft body, thereby reducing its weight. In addition, reducing the likelihood of turbulization and boundary layer separation is necessary for flight safety. Research at this stage is carried out using experimental methods to obtain new validation data which will subsequently make it possible to simulate the entire flow process, including three-dimensional effects.

2. The Experiment Arrangement

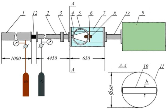
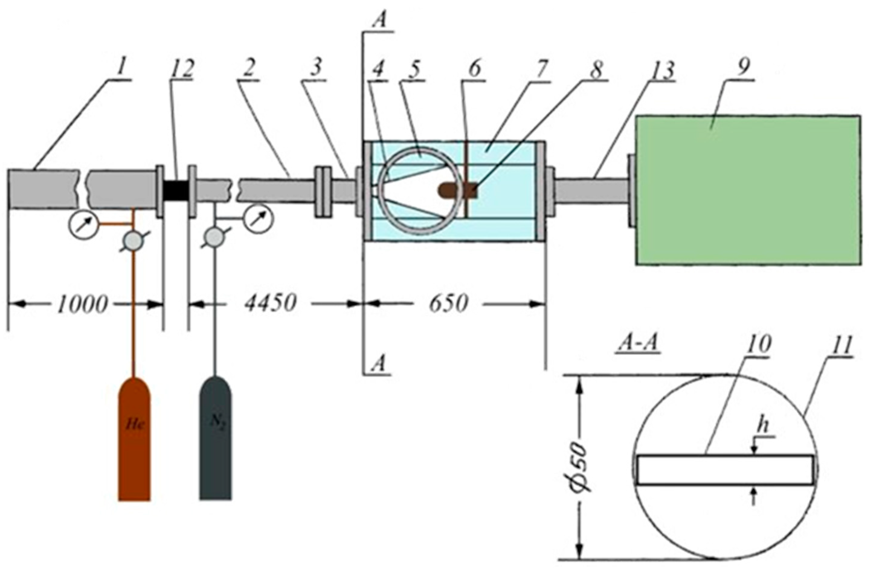
The experimental part of this work was carried out with an experimental set-up created on the basis of a shock tube (see Figure 2). At the end of the low-pressure chamber, there was a working chamber with a supersonic reflective flat nozzle with an angle of inclination to the axis of 15° and a width of 40 mm, in which at a distance of 290 mm from the nozzle entrance, the studied blunt semi-cylindrical model is fixed in its axis. The model was oriented horizontally and sandwiched between the side viewing windows of the working chamber, one of which was the surface of the boundary layer growth; we will conventionally call it a plate. The shock-compressed flow in the shock tube was decelerated at the end of the tube and entered the nozzle through the inlet slot with braking parameters. The height of the nozzle inlet section was 6 mm, providing a supersonic flow with a Mach number of M = 5 for nitrogen and M = 7.2 for xenon around the model.
The low-pressure chamber was separated from the working chamber by a thin Mylar diaphragm, which allowed the working chamber to be pumped out to a pressure of 70 mTorr, thereby reducing the nozzle startup time to 180 μs, while the time of stationary flow around the model was about 400–500 μs. The volume of the working chamber, the distance to the walls and the dimensions of the model were selected so as to avoid the formation of reflected gas-dynamic discontinuities in the area where the body was located in the stationary phase of the flow.
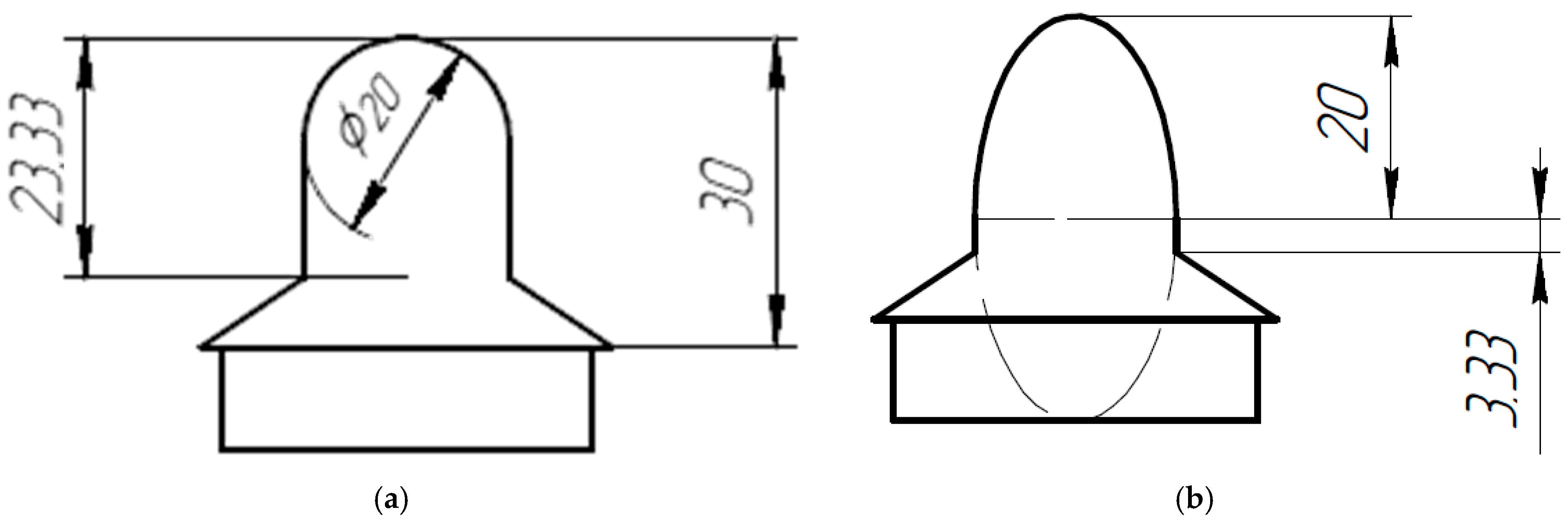
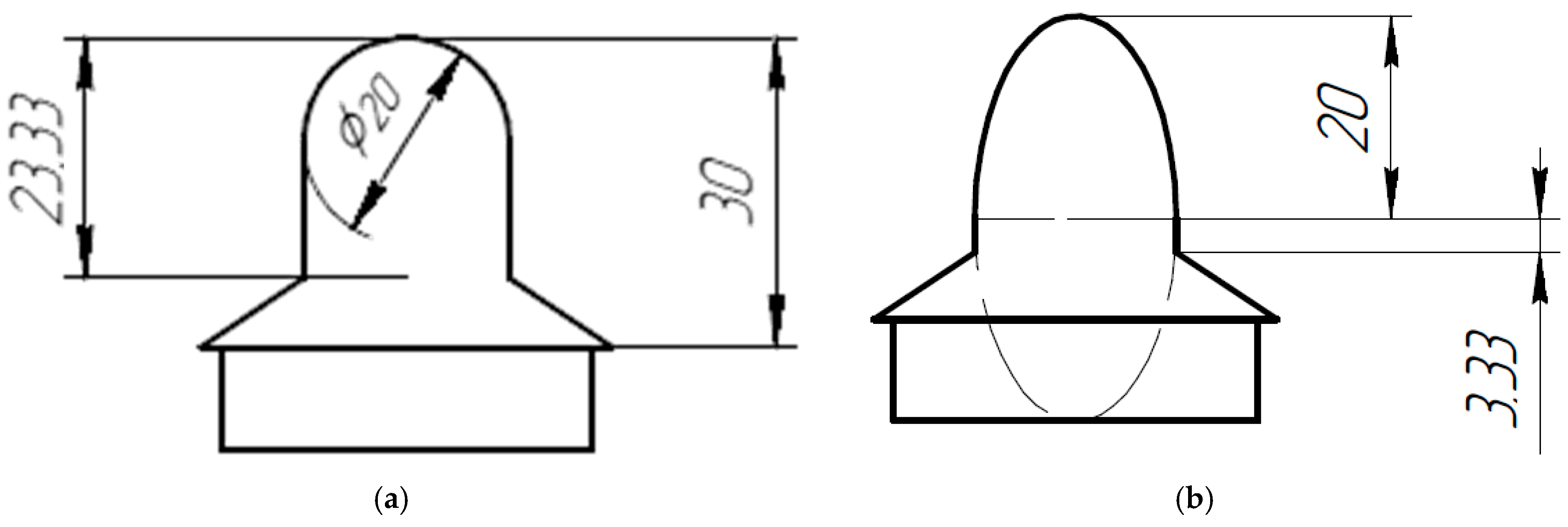
The work investigated the flow around two models: semi-cylinders blunted along a circle and along an ellipse (see Figure 3). The depth of the models was 40 mm. The front and rear surfaces of the model were planes pressed against the viewing windows. Three piezoelectric sensors were installed in the model as shown in Figure 4, using the example of an elliptical model to study the pressure distribution on the surface of the models near the plane of growth of the boundary layer. The first sensor (I) measured the pressure at a distance of 3 mm from the plane, and the next two (II and III) measured it at distances of 11.5 mm and 20 mm, respectively. For this purpose, inclined channels with a diameter of 2 mm were formed in the model, extending onto the frontal surface. The arrangement of sensors and channels inside the model is shown in Figure 4b.
The pressure distribution was also measured on the plate. For this purpose, a special side insert was created instead of a sight glass with built-in pressure sensors. For the experiment, PCB Piezotronics pressure sensors (series 113) were used, measuring the pressure in the range of 0–7 atm with an accuracy of 7 Pa and a signal rise time of less than 1 μs. A photograph of the channel with a model, which was blunted around the circumference, and a side insert are shown in Figure 5. The sensors were located along the axis of the nozzle as it approached the model (3, 4, and 5) and at the side surface (6). The distance from sensor 5 to the front edge of the body was 3 mm, while for sensor 4 it was 33 mm, and for sensor 3, it was 52 mm. Sensors 1 and 2, located at a considerable distance from the surface of the model, were not involved in this work. The photograph was taken through the side viewing window in the transverse direction of the flow of the nozzle, and the flow direction was from right to left.
To visualize the flow of the model, a schlieren system was used, the diagram of which is shown in Figure 6. Photography was carried out through the side viewing windows. In this case, the side insert was replaced with optical glass. A semiconductor laser with a pulse duration of about 30 ns was used as a light source. The picture was fixed to the matrix of a digital camera. The moment of taking schlieren photographs could be changed, and flow patterns could be obtained at different moments of the flow. The shooting angle was the same as that in Figure 5, which produced a two-dimensional picture of the flow. In Figure 7, a photograph of the working chamber with the supersonic nozzle and investigated model located inside can see seen. In addition, the experiment measured the speed and Mach number of the incident shock wave before entering the nozzle using pressure sensors located at a fixed distance of 35 mm in the measuring sector (see Figure 1 and Figure 7).
When choosing the operating modes of the shock tube for research, the time of stationary flow, the viscosity of the working medium and the minimum density at which visualization via the schlieren method was possible were taken into account. Four modes were selected, differing both in the composition of the working gas and its viscosity, namely the dynamic Reynolds number. Two modes (1 and 2) with a working gas of nitrogen at Reynolds numbers differing by a factor of 2 and two modes (3 and 4) with a heavier working gas, xenon, with Reynolds numbers differing by a factor of 5 were implemented. The main flow parameters in the selected modes, calculated using the ideal theory, are given in Table 1.
Numerical modeling of the flow configuration presented in this paper with an analysis of the interaction of the growing boundary layer with the bow shock wave is given in [23].

3. Experimental Results in Selected Modes and Preliminary Remarks

Figure 8 shows schlieren pictures of two moments of stationary flow around the models, blunted along a circle and along an ellipse for mode 1 with a relatively high flow viscosity (Re = 30,000). The shooting time was counted from the beginning of the flow around the models, and it is indicated in the caption under the figure. For the rounded model, the bifurcation of the bow shock wave was clearly visible almost from the beginning of the flow.
In fact, a three-dimensional effect was observed, namely the curvature of the shock wave surface and its approach to the body in the area of the junction with the horizontal plate. Over time, the distortion intensified, and at the periphery, the distorted region of the density gradient of the shock wave surface became broadened and unstable. For the elliptical model, this effect was less pronounced; distortions of the shock wave surface at the same instances of time were barely noticeable.
Oscillograms of the pressure near the plate for the same mode are presented in Figure 9. The zero time count began from the moment the flow began. Sensor numbers are shown in the figure. As it approached the body, the pressure increased. In addition, the heterogeneity of the flow increased, which is evident from the increased signal oscillations. At sensor 6, located behind the bow shock wave, the pressure fluctuations were the strongest. The dotted line on the graph indicates the calculated pressure in the area where the model was located in its absence, without taking into account the growth of the boundary layers.
Figure 10 shows pressure oscillograms near the model when moving away from the plate, which were obtained for a round shape (Figure 10a) and for an elliptical shape (Figure 10b). A characteristic feature for both forms is that the pressure at the sensor (I) near the plate was lower than the pressure at a distance from the plate. For the elliptical shape in this mode, this characteristic was less pronounced. The dotted line in Figure 10a shows the calculated pressure at the frontal point of the body without taking into account the boundary layers. It can be seen that the pressure at the model away from the plate (sensor III) was close to this value.
A similar picture was observed for mode 2 in nitrogen with a lower Reynolds number (Re = 14,000) (Figure 11, Figure 12 and Figure 13). One can see the distortion of the head wave, an increase in pressure on the plate, and a large difference between the pressures on the model near the plate and at a distance from it. Although the Reynolds number in this mode was two times lower than that in mode 1, the viscosity was sufficient for active growth of the boundary layer and vortex formation. The distortion of the wave in the round model began almost from the beginning of stationary flow, while in the elliptical model, the shock wave began to distort later.
Xenon, as a heavier gas, allows one to visualize the flow pattern at relatively low densities and Reynolds numbers for the medium. Figure 14, Figure 15, Figure 16, Figure 17, Figure 18 and Figure 19 show experimental data obtained in modes 3 and 4 with xenon as the working gas and two Reynolds numbers. In such a flow, the head shock wave was located further from the model compared with the air. At the initial stage of the flow, shock wave distortion was not visible (see Figure 14a and Figure 17a), but at the further stationary flow, the wave curvature appeared and intensified, which was visible for both the round and elliptical models. The shock wave surface near the plate was unstable, which is visible thanks to its wave-like blur.
For mode 4, the distortions were weakly noticeable due to the extreme sensitivity of the schlieren method in this mode, but the blurring of the density gradient as it flowed around was clearly visible, which indicates an unstable position of the shock wave. The photographs of mode 4 clearly show the intrinsic glow of the xenon plasma, which was ionized during braking near the body. The glow was extremely bright, as it was observed despite the collimators used to reduce extraneous light when taking schlieren pictures.
The pressure oscillograms for modes 3 and 4 were characterized by an even greater difference in pressures in the model near the plate and at a distance from it, and the large difference remained for the elliptical model. Moreover, the pressures at the second and third sensors practically coincided, especially at the initial stage of the flow. Mode 3 was characterized by stronger pressure fluctuations near the plate. The dotted line on the oscillograms also shows the calculated pressures without taking into account viscosity. Oscillations at times greater than 350–400 μs were possibly associated with the arrival of the driver gas.

4. Vertical Arrangement of the Model

The curvature of the shock wave surface in the area of the connection with the plate was clearly visible in the schlieren flow patterns when a cylindrical model with a diameter of 10 mm, streamlined by a supersonic flow, was positioned vertically (i.e., parallel to the viewing windows and perpendicular to the laser radiation of the schlieren system) (see Figure 20). With this configuration, the plate on which the body was attached was placed along the axis of symmetry of the nozzle, and the model was located at the same distance of 290 mm from the nozzle entrance as in the experiments with a horizontal body. Figure 21 shows the schlieren patterns for four selected modes in the steady-state flow stage.
At a distance from the plate, the head wave had a smooth surface, located for nitrogen at a distance of 2 mm from the body and for xenon at a distance of 2.5 mm from the body. As it approached the plate, the shock wave surface began to curve, a triple shock wave configuration with a lateral attached shock occurred, and the head shock wave in the docking area was practically laying on the body. The triple point at modes with a lower Reynolds number occurred further from the plate. The wave surface approaching the leading edge of the body indicates a strong drop in pressure in this area. The sensitivity of the schlieren system was not enough to visualize the vortex structure arising under the triple point, but the occurrence of a lateral attached shock indicates the formation of a horseshoe-shaped vortex, and the height of the triple point and the size of the region under the lateral shock show its size.

5. Analysis of the Experimental Data and Discussion

When analyzing the experimental data, the distributions of static pressure on the plate in the stationary stage of flow as the flow approached the model for different flow regimes, shown in Figure 22, were obtained, where L is the distance to the model. All dependencies were characterized by an increase in pressure in front of the body due to flow deceleration. This was most pronounced for mode 1, where the static pressure was higher.
Figure 23 shows the pressure distribution on the model in different modes as it moved away from the plate for two steady flow times, namely 100 μs and 200 μs after the start of the flow, where H is the distance from the plate. The round model (solid lines) was characterized by low pressure near the plate, and then the pressure increased, while far from plate, it decreased to a level close to the calculated one, which is shown by the horizontal black dotted line. The trend persisted throughout the stationary flow. As the flow progressed, the pressure on the model increased, and the pressure difference for the second and third sensors increased. For the xenon modes (Figure 23c,d), the pressure reached the calculated value faster. The pressure drops in the elliptical model (dashed lines) were weaker, and at the beginning of the steady flow, a smooth increase in pressure was observed on the leading edge as it moved away from the surface of the plate. Also, the pressure near the junction with the plate was almost an order of magnitude lower than the calculated one.
The pressure decreasing at the model’s surface can be explained by the formation of horseshoe-shaped vortices at the surface of the body, which entrained part of the gas from the region between the shock wave and the model, thereby reducing the pressure near its surface but increasing the pressure near the plate surface in the vortex body. Visualization of the boundary layers and vortexes at such Mach numbers and flow densities is a difficult task, but it can be argued that the distortions of the shock wave surface near the plate, which are clearly visible in the schlieren images, occurred due to the interaction of it with the growing boundary layer.

6. Conclusions

The process of supersonic flow around a model fixed on a plate with a growing boundary layer was experimentally investigated in the work. The studies were carried out with a supersonic nozzle at different Reynolds numbers for the flow from two perspectives: when the boundary layer growth surface was the side wall of the nozzle and when a plate with a fixed body was placed on the nozzle axis. New data on the pressure distribution near the plate-body junction zone were obtained both along the plate and on the body in the braking region. In addition, schlieren flow patterns were obtained, visualizing the shape of the head shock wave surface from two perspectives and two forms of body blunting: rounded and elliptical.
Investigations showed that such viscous-inviscid interaction led to a decrease in pressure near the body surface between the shock wave and the model in the area of its docking with the plate. In contrast, the pressure on the plate increased as the flow approached the body.
Experimental schlieren patterns showed a complex picture of interaction between the bow shock wave and the growing boundary layer, in which, due to interaction of horseshoe-shaped vortices arising in front of the body near the surface of the plate with the bow shock wave surface, a three-shock configuration and a curvature of the bow shock surface toward the model formed in the junction area. The shock wave configuration in the docking area ceased to be stationary and became unstable and wave-like. This flow pattern was observed both in a medium with large Reynolds numbers of 30,000–50,000 and with relatively small ones of 8000–15,000. In a less viscous medium, distortion of the shock wave surface began later.
A comparison of experimental data for different forms of bluntness of the body (round and elliptical) showed that the shape of the nose of the body affected the flow picture around the body and the distribution of pressure at the surface of the leading edge. When near the elliptical model, the shock wave curvature and pressure drops as one moved away from the plate are lower, although a strong decrease in pressure in the area where the body joined the plate was observed for both forms.
An uneven distribution of the pressure force Fp along the leading edge of the model can lead to the occurrence of torque Fm, as shown in Figure 24a, and the occurrence of additional load on the attach element. In addition, a change in the shape of the shock wave leads to unevenness in the aerodynamic drag of the model. For specific parts of the aircraft, this indicates the need for additional fastening and an increase in the weight of the aircraft. In addition, the unsteadiness of the vortex structure can lead to separation of the boundary layers and unwanted impulses.
To restore the shape of the shock wave and reduce pressure unevenness, it is necessary to increase the gas pressure in the area where the body meets the surface. For this purpose, plasma-dynamic effects can be used [24] for organizing a gas discharge zone in the docking area, as shown in Figure 24b. The creation of a surface discharge with a gas discharge current I in the region between the shock wave and the body leads to an increase in pressure in front of the body and displacement of the shock wave. The shape of the shock wave surface and the pressure field, as well as the distribution of aerodynamic resistance, can be leveled. Additionally, one can adjust the load through the shape of the part. As shown by a comparison of the flow process in models of two shapes, namely blunted along a circle and along an ellipse, the more elongated shape of the model has smaller pressure drops at the leading edge.

Author Contributions

Conceptualization, E.V.K. and P.A.P.; methodology, T.A.L., N.A.M. and K.I.B.; formal analysis and investigation, T.A.L., E.V.K., P.A.P. and N.A.M.; experiments, T.A.L. and K.I.B.; writing—original draft preparation, T.A.L. and E.V.K. All authors have read and agreed to the published version of the manuscript.

Funding

This research received no external funding.

Data Availability Statement

The data presented in this study are available on request from the corresponding author.

Conflicts of Interest

The authors declare no conflicts of interest.

References

  1. Leibowitz, M.G. Hypervelocity Shock Tunnel Studies of Blunt Body Aerothermodynamics in Carbon Dioxide for Mars Entry. Ph.D. Thesis, California Institute of Technology, Pasadena, CA, USA, 2020. [Google Scholar] [CrossRef]
  2. Ivanov, I.A.; Kotov, M.A.; Kryukov, I.A.; Ruleva, L.B.; Solodovnikov, S.I. Investigation of gas dynamic parameters of the conical nozzle block functioning in the Hypersonic Aerodynamic Shock Tube. J. Phys. Conf. Ser. 2018, 1009, 012037. [Google Scholar] [CrossRef]
  3. Clarke, J.; Di Mare, L.; Mc Gilvray, M. Spatial Transformations for Reacting Gas Shock Tube Experiments. AIAA J. 2023, 61, 8. [Google Scholar] [CrossRef]
  4. Lawson, J.M. Focused Laser Differential Interferometry. Ph.D. Thesis, California Institute of Technology, Pasadena, CA, USA, 2021. [Google Scholar] [CrossRef]
  5. Grossir, G.; Van Hove, B.; Paris, S.; Rambaud, P.; Chazot, O. Free-stream static pressure measurements in the Longshot hypersonic wind tunnel and sensitivity analysis. Exp. Fluids 2016, 57, 64. [Google Scholar] [CrossRef]
  6. Navarro, J.D.; Velasquez, C.J.; La Londe, E.J.; Hoffman, E.N.; Combs, C.S.; Restrepo, D. Flow Control of Hypersonic Shock-Wave/Boundary-Layer Interactions Using Phononic Metamaterials. In Proceedings of the AIAA SCITECH Forum, Orlando, FL, USA, 8–12 January 2024. AIAA paper 2024-0031. [Google Scholar]
  7. Hildebrand, N.; Choudhari, M.; Duan, L. Direct Numerical Simulations of acoustic disturbances in various rectangular nozzle configurations. In Proceedings of the AIAA SCITECH Forum, Orlando, FL, USA, 8–12 January 2020. AIAA paper 2020-0587. [Google Scholar]
  8. Kotov, M.A.; Ruleva, L.B.; Solodovnikov, S.I.; Surzhikov, S.T. Experimental and numerical study of supersonic flow over two blunted wedges. J. Phys. Conf. Ser. 2017, 815, 012025. [Google Scholar] [CrossRef]
  9. Shufan, Z.; Graham, V.C.; Suo, Y.; Zakery, R.C.; Portoni, P.; Zelasko, T.; Wadhams, T.P. Computational and experimental investigation of near-field sonic boom of a HTV-2 type hypersonic boost gliding vehicle. In Proceedings of the AIAA SCITECH Forum, Orlando, FL, USA, 8–12 January 2024. AIAA paper 2024-0671. [Google Scholar]
  10. Lakshmanan, B.; Tiwari, S.N. Investigation of three-dimensional separation at wing/body junctions in supersonic flows. J. Aircr. 1994, 31, 64–71. [Google Scholar] [CrossRef]
  11. Tutty, O.R.; Roberts, G.T.; Schuricht, P.H. High-speed laminar flow past a fin–body junction. J. Fluid Mech. 2013, 737, 19–55. [Google Scholar] [CrossRef]
  12. Mortazavi, M.; Knight, D. Simulation of Hypersonic-Shock-Wave–Laminar-Boundary-Layer Interaction over Blunt Fin. AIAA J. 2019, 57, 3506–3523. [Google Scholar] [CrossRef]
  13. Borovoy, V.; Mosharov, V.; Radchenko, V.; Skuratov, A. The shock-waves interference in the flow around a cylinder mounted on a blunted plate. In Proceedings of the 7th European Conference for Aeronautics and Aerospace Sciences, Milan, Italy, 3–6 July 2017; pp. 1–8. [Google Scholar]
  14. Kolesnik, E.V.; Smirnov, E.M. Numerical Analysis of Vortex Structures and Heat Transfer in a Supersonic Flow Past the Junction of a Blunt-Fin Body and a Plate. Tech. Phys. 2020, 65, 174–181. [Google Scholar] [CrossRef]
  15. Kolesnik, E.; Smirnov, E.; Smirnovsky, A. RANS-based numerical simulation of shock wave/turbulent boundary layer interaction induced by a blunted fin normal to a flat plate. Comput. Fluids 2022, 247, 105622. [Google Scholar] [CrossRef]
  16. Westkaemper, J.C. Turbulent boundary-layer separation ahead of cylinders. AIAA J. 2012, 6, 1352–1356. [Google Scholar] [CrossRef]
  17. Keshavan, N.R. Separation of Turbulent Boundary Layer on a Lifting Cylinder. AIAA J. 2012, 12, 252–253. [Google Scholar] [CrossRef]
  18. Clemens, N.T.; Narayanaswamy, V. Low-frequency unsteadiness of shock wave/turbulent boundary layer interactions. Annu. Rev. Fluid Mech. 2014, 46, 469–492. [Google Scholar] [CrossRef]
  19. Houwing, A.F.P.; Smith, D.R.; Fox, J.S.; Danehy, P.M.; Mudford, N.R. Laminar boundary layer separation at a fin-body junction in a hypersonic flow. Shock Waves 2001, 11, 31–42. [Google Scholar] [CrossRef]
  20. Balaji, R.; Muruga, L.J. Shock Boundary Interaction over Blunt Body at different hypervelocity with two Wedge angle. Des. Eng. 2021, 8, 7357–7365. [Google Scholar]
  21. Pengcheng, Q.; Shihe, Y. Complex Interaction Between a Fin and a Transverse Jet at Mach 5. AIAA J. 2019, 58, 1–12. [Google Scholar]
  22. Wang, H.; Fan, X.; Yang, Y.; Wang, G.; Xie, F. Predicting Wall Pressure in Shock Wave/Boundary Layer Interactions with Convolutional Neural Networks. Fluids 2024, 9, 173. [Google Scholar] [CrossRef]
  23. Kolesnik, E.V.; Babich, E.V.; Smirnov, E.M. Supersonic flow of a viscous gas around a cylindrical body bounded at the ends by parallel plates. St. Petersburg Polytech. Univ. J. Phys. Math. 2025, 18, 3. [Google Scholar]
  24. Lapushkina, T.A.; Erofeev, A.V. Supersonic flow control via plasma, electric and magnetic impacts. Aerosp. Sci. Technol. 2017, 69, 313–320. [Google Scholar] [CrossRef]
Figure 1. (a) Statement of the problem of boundary layer flow into an obstacle. (b) The emergence of horseshoe-shaped vortices. (c) General flow structure in a symmetry plane.
Figure 1. (a) Statement of the problem of boundary layer flow into an obstacle. (b) The emergence of horseshoe-shaped vortices. (c) General flow structure in a symmetry plane.
Fluids 10 00028 g001
Figure 2. Scheme of the experimental set-up: 1 = high-pressure chamber, 2 = low-pressure chamber, 3 = measuring section, 4 = accelerating nozzle, 5 = optical window, 6 = model mounting stand, 7 = working vacuum chamber, 8 = model under study, 9 = damper tank, 10 = inlet to the nozzle, 11 = cross-section of the tube, 12 = start valve, and 13 = outlet tube.
Figure 2. Scheme of the experimental set-up: 1 = high-pressure chamber, 2 = low-pressure chamber, 3 = measuring section, 4 = accelerating nozzle, 5 = optical window, 6 = model mounting stand, 7 = working vacuum chamber, 8 = model under study, 9 = damper tank, 10 = inlet to the nozzle, 11 = cross-section of the tube, 12 = start valve, and 13 = outlet tube.
Fluids 10 00028 g002
Figure 3. Model diagrams: (a) blunted along the circum and (b) blunted along the ellipse.
Figure 3. Model diagrams: (a) blunted along the circum and (b) blunted along the ellipse.
Fluids 10 00028 g003
Figure 4. Locations of pressure sensors on the model: (a) location of channel outlets to pressure sensors on the surface and (b) internal section of the model with channels to the surface.
Figure 4. Locations of pressure sensors on the model: (a) location of channel outlets to pressure sensors on the surface and (b) internal section of the model with channels to the surface.
Fluids 10 00028 g004
Figure 5. Photo of the nozzle with a model and a side window with pressure sensors (side view).
Figure 5. Photo of the nozzle with a model and a side window with pressure sensors (side view).
Fluids 10 00028 g005
Figure 6. Scheme of visualization of the flow of the model using the schlieren system.
Figure 6. Scheme of visualization of the flow of the model using the schlieren system.
Fluids 10 00028 g006
Figure 7. Photo of the working chamber with the nozzle and model.
Figure 7. Photo of the working chamber with the nozzle and model.
Fluids 10 00028 g007
Figure 8. Schlieren patterns of stationary flow around a rounded model (left) and an elliptical model (right) for two moments of time for mode 1 (N2, Re = 30,000): (a) 70 μs and (b) 120 μs.
Figure 8. Schlieren patterns of stationary flow around a rounded model (left) and an elliptical model (right) for two moments of time for mode 1 (N2, Re = 30,000): (a) 70 μs and (b) 120 μs.
Fluids 10 00028 g008
Figure 9. Pressure near the plate as it approached the model for mode 1.
Figure 9. Pressure near the plate as it approached the model for mode 1.
Fluids 10 00028 g009
Figure 10. Pressure at the model as it moved away from the plate for mode 1: (a) a rounded model and (b) elliptical model.
Figure 10. Pressure at the model as it moved away from the plate for mode 1: (a) a rounded model and (b) elliptical model.
Fluids 10 00028 g010
Figure 11. Schlieren patterns of stationary flow around a rounded model (left) and an elliptical model (right) for two moments of time for mode 2 (N2, Re = 14,000): (a) 130 μs and (b) 270 μs.
Figure 11. Schlieren patterns of stationary flow around a rounded model (left) and an elliptical model (right) for two moments of time for mode 2 (N2, Re = 14,000): (a) 130 μs and (b) 270 μs.
Fluids 10 00028 g011
Figure 12. Pressure on the plate as it approached the model for mode 2.
Figure 12. Pressure on the plate as it approached the model for mode 2.
Fluids 10 00028 g012
Figure 13. Pressure at the model as it moved away from the plate for mode 2: (a) rounded model and (b) elliptical model.
Figure 13. Pressure at the model as it moved away from the plate for mode 2: (a) rounded model and (b) elliptical model.
Fluids 10 00028 g013
Figure 14. Schlieren patterns of stationary flow around a rounded model (left) and elliptical model (right) for two moments of time for mode 3 (Xe, Re = 45,000): (a) 160 μs and (b) 260 μs.
Figure 14. Schlieren patterns of stationary flow around a rounded model (left) and elliptical model (right) for two moments of time for mode 3 (Xe, Re = 45,000): (a) 160 μs and (b) 260 μs.
Fluids 10 00028 g014
Figure 15. Pressure on the plate as it approached the model for mode 3.
Figure 15. Pressure on the plate as it approached the model for mode 3.
Fluids 10 00028 g015
Figure 16. Pressure at the model as it moved away from the plate for mode 3: (a) rounded model and (b) elliptical model.
Figure 16. Pressure at the model as it moved away from the plate for mode 3: (a) rounded model and (b) elliptical model.
Fluids 10 00028 g016
Figure 17. Schlieren patterns of stationary flow around a rounded model (left), and elliptical model (right) for two moments of time for mode 4 (Xe, Re = 8200): (a) 150 μs and (b) 200 μs.
Figure 17. Schlieren patterns of stationary flow around a rounded model (left), and elliptical model (right) for two moments of time for mode 4 (Xe, Re = 8200): (a) 150 μs and (b) 200 μs.
Fluids 10 00028 g017
Figure 18. Pressure on the plate as it approached the model for mode 4.
Figure 18. Pressure on the plate as it approached the model for mode 4.
Fluids 10 00028 g018
Figure 19. Pressure at the model as it moved away from the plate for mode 4: (a) a rounded model and (b) an elliptical model.
Figure 19. Pressure at the model as it moved away from the plate for mode 4: (a) a rounded model and (b) an elliptical model.
Fluids 10 00028 g019
Figure 20. The location of the vertical model in the supersonic nozzle: (a) view from the viewing windows and (b) 3D diagram.
Figure 20. The location of the vertical model in the supersonic nozzle: (a) view from the viewing windows and (b) 3D diagram.
Fluids 10 00028 g020
Figure 21. Schlieren patterns of the flow around a vertical model: (a) mode 1; (b) mode 2; (c) mode 3 and (d) mode 4.
Figure 21. Schlieren patterns of the flow around a vertical model: (a) mode 1; (b) mode 2; (c) mode 3 and (d) mode 4.
Fluids 10 00028 g021
Figure 22. Pressure distribution on the plate for different modes.
Figure 22. Pressure distribution on the plate for different modes.
Fluids 10 00028 g022
Figure 23. Pressure distribution of the models for different moments after the start of the flow: (a) mode 1; (b) mode 2; (c) mode 3 and (d) mode 4.
Figure 23. Pressure distribution of the models for different moments after the start of the flow: (a) mode 1; (b) mode 2; (c) mode 3 and (d) mode 4.
Fluids 10 00028 g023
Figure 24. (a) Uneven impact on the model. (b) Restoring uniformity of impact.
Figure 24. (a) Uneven impact on the model. (b) Restoring uniformity of impact.
Fluids 10 00028 g024
Table 1. The main parameters of the selected modes.
Table 1. The main parameters of the selected modes.
Mode1234
Driver gasH2N2N2N2
p4 (atm)28282828
Driven (working) gasN2N2XeXe
p1 (torr)50405010
Shock wave Mach number in front of the nozzle5.72.84.15.6
Braking pressure p5 (kPa)1920240700280
Braking temperature T5 (K)3660120038006900
Mach number of the flow entering the model557.267.26
Pressure at the nozzle exit (Pa)3270330460160
Temperature at the nozzle exit (K)590190205370
Reynolds number ReD30,00014,00045,0008200
Disclaimer/Publisher’s Note: The statements, opinions and data contained in all publications are solely those of the individual author(s) and contributor(s) and not of MDPI and/or the editor(s). MDPI and/or the editor(s) disclaim responsibility for any injury to people or property resulting from any ideas, methods, instructions or products referred to in the content.

Share and Cite

MDPI and ACS Style

Lapushkina, T.A.; Kolesnik, E.V.; Monahov, N.A.; Popov, P.A.; Belov, K.I. Features of Supersonic Flow Around a Blunt Body in the Area of Junction with a Flat Surface. Fluids 2025, 10, 28. https://doi.org/10.3390/fluids10020028

AMA Style

Lapushkina TA, Kolesnik EV, Monahov NA, Popov PA, Belov KI. Features of Supersonic Flow Around a Blunt Body in the Area of Junction with a Flat Surface. Fluids. 2025; 10(2):28. https://doi.org/10.3390/fluids10020028

Chicago/Turabian Style

Lapushkina, T. A., E. V. Kolesnik, N. A. Monahov, P. A. Popov, and K. I. Belov. 2025. "Features of Supersonic Flow Around a Blunt Body in the Area of Junction with a Flat Surface" Fluids 10, no. 2: 28. https://doi.org/10.3390/fluids10020028

APA Style

Lapushkina, T. A., Kolesnik, E. V., Monahov, N. A., Popov, P. A., & Belov, K. I. (2025). Features of Supersonic Flow Around a Blunt Body in the Area of Junction with a Flat Surface. Fluids, 10(2), 28. https://doi.org/10.3390/fluids10020028

Article Metrics

Back to TopTop