Three-Dimensional Printing of Foods: A Critical Review of the Present State in Healthcare Applications, and Potential Risks and Benefits
Abstract
:1. Introduction
2. Promises
2.1. Nutritional Therapy
2.2. Personalized Nutrition
2.3. Support of Sustainability
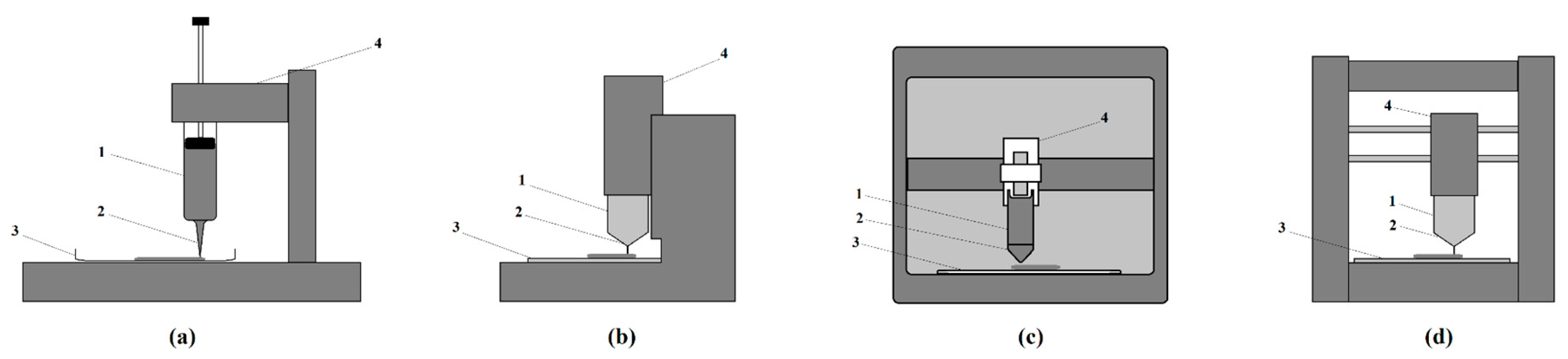
3. Current Applications
3.1. Functional Foods
3.2. Three-Dimensional Printing Manufacturers
3.3. Novel 3D Food Products
4. Challenges
4.1. Consumer Acceptance
4.2. Nutritional Issues
4.3. Food Safety
5. Pitfalls
5.1. Health Risks of Ultraprocessed Foods
5.2. Loss of Food Matrix
5.3. Disruption of Food Cooking Traditions
6. Discussion and Conclusions
Author Contributions
Funding
Data Availability Statement
Acknowledgments
Conflicts of Interest
References
- Shahrubudin, N.; Lee, T.C.; Ramlan, R. An Overview on 3D Printing Technology: Technological, Materials, and Applications. Procedia Manuf. 2019, 35, 1286–1296. [Google Scholar] [CrossRef]
- Tay, Y.W.D.; Panda, B.; Paul, S.C.; Noor Mohamed, N.A.; Tan, M.J.; Leong, K.F. 3D printing trends in building and construction industry: A review. Virtual Phys. Prototyp. 2017, 12, 261–276. [Google Scholar] [CrossRef]
- Lim, C.W.J.; Le, K.Q.; Lu, Q.; Wong, C.H. An Overview of 3-D Printing in Manufacturing, Aerospace, and Automotive Industries. IEEE Potentials 2016, 35, 18–22. [Google Scholar] [CrossRef]
- Zhang, F.; Wei, M.; Viswanathan, V.V.; Swart, B.; Shao, Y.; Wu, G.; Zhou, C. 3D printing technologies for electrochemical energy storage. Nano Energy 2017, 40, 418–431. [Google Scholar] [CrossRef]
- Tack, P.; Victor, J.; Gemmel, P.; Annemans, L. 3D-printing techniques in a medical setting: A systematic literature review. BioMedical Eng. OnLine 2016, 15, 115. [Google Scholar] [CrossRef]
- Sun, J.; Zhou, W.; Yan, L.; Huang, D.; Lin, L.-Y. Extrusion-based food printing for digitalized food design and nutrition control. J. Food Eng. 2018, 220, 1–11. [Google Scholar] [CrossRef]
- Yang, F.; Zhang, M.; Bhandari, B. Recent development in 3D food printing. Crit. Rev. Food Sci. Nutr. 2017, 57, 3145–3153. [Google Scholar] [CrossRef]
- Liu, L.; Yang, X.; Bhandari, B.; Meng, Y.; Prakash, S. Optimization of the Formulation and Properties of 3D-Printed Complex Egg White Protein Objects. Foods 2020, 9, 164. [Google Scholar] [CrossRef] [PubMed]
- Piyush; Kumar, R.; Kumar, R. 3D printing of food materials: A state of art review and future applications. Mater. Today Proc. 2020, 33, 1463–1467. [Google Scholar] [CrossRef]
- Lanaro, M.; Forrestal, D.P.; Scheurer, S.; Slinger, D.J.; Liao, S.; Powell, S.K.; Woodruff, M.A. 3D printing complex chocolate objects: Platform design, optimization and evaluation. J. Food Eng. 2017, 215, 13–22. [Google Scholar] [CrossRef]
- Dick, A.; Bhandari, B.; Prakash, S. 3D printing of meat. Meat Sci. 2019, 153, 35–44. [Google Scholar] [CrossRef]
- Handral, H.K.; Hua Tay, S.; Wan Chan, W.; Choudhury, D. 3D Printing of cultured meat products. Crit. Rev. Food Sci. Nutr. 2022, 62, 272–281. [Google Scholar] [CrossRef] [PubMed]
- Severini, C.; Derossi, A.; Ricci, I.; Caporizzi, R.; Fiore, A. Printing a blend of fruit and vegetables. New advances on critical variables and shelf life of 3D edible objects. J. Food Eng. 2018, 220, 89–100. [Google Scholar] [CrossRef]
- Baiano, A. 3D Printed Foods: A Comprehensive Review on Technologies, Nutritional Value, Safety, Consumer Attitude, Regulatory Framework, and Economic and Sustainability Issues. Food Rev. Int. 2020, 38, 986–1016. [Google Scholar] [CrossRef]
- Rubio, E.; Hurtado, S. 3D Food Printing Technology at Home, Domestic Application. In Fundamentals of 3D Food Printing and Applications; Godoi, F.C., Bhandari, B.R., Prakash, S., Zhang, M., Eds.; Academic Press: Cambridge, MA, USA, 2019; pp. 289–329. [Google Scholar] [CrossRef]
- Ramundo, L.; Otcu, G.B.; Terzi, S. Sustainability Model for 3D Food Printing Adoption. In Proceedings of the 2020 IEEE International Conference on Engineering, Technology and Innovation (ICE/ITMC), Cardiff, UK, 15–17 June 2020; pp. 1–9. [Google Scholar]
- Severini, C.; Azzollini, D.; Albenzio, M.; Derossi, A. On printability, quality and nutritional properties of 3D printed cereal based snacks enriched with edible insects. Food Res. Int. 2018, 106, 666–676. [Google Scholar] [CrossRef] [PubMed]
- Liu, Z.; Zhang, M.; Bhandari, B.; Wang, Y. 3D printing: Printing precision and application in food sector. Trends Food Sci. Technol. 2017, 69, 83–94. [Google Scholar] [CrossRef]
- Mantihal, S.; Kobun, R.; Lee, B.-B. 3D food printing of as the new way of preparing food: A review. Int. J. Gastron. Food Sci. 2020, 22, 100260. [Google Scholar] [CrossRef]
- Nachal, N.; Moses, J.A.; Karthik, P.; Anandharamakrishnan, C. Applications of 3D Printing in Food Processing. Food Eng. Rev. 2019, 11, 123–141. [Google Scholar] [CrossRef]
- Pallottino, F.; Hakola, L.; Costa, C.; Antonucci, F.; Figorilli, S.; Seisto, A.; Menesatti, P. Printing on Food or Food Printing: A Review. Food Bioprocess Technol. 2016, 9, 725–733. [Google Scholar] [CrossRef]
- Severini, C.; Derossi, A. Could the 3D Printing Technology be a Useful Strategy to Obtain Customized Nutrition? J. Clin. Gastroenterol. 2016, 50 (Suppl. S2), S175–S178. [Google Scholar] [CrossRef]
- Sungsinchai, S.; Niamnuy, C.; Wattanapan, P.; Charoenchaitrakool, M.; Devahastin, S. Texture Modification Technologies and Their Opportunities for the Production of Dysphagia Foods: A Review. Compr. Rev. Food Sci. Food Saf. 2019, 18, 1898–1912. [Google Scholar] [CrossRef]
- Dick, A.; Bhandari, B.; Dong, X.; Prakash, S. Feasibility study of hydrocolloid incorporated 3D printed pork as dysphagia food. Food Hydrocoll. 2020, 107, 105940. [Google Scholar] [CrossRef]
- Vancauwenberghe, V.; Baiye Mfortaw Mbong, V.; Vanstreels, E.; Verboven, P.; Lammertyn, J.; Nicolai, B. 3D printing of plant tissue for innovative food manufacturing: Encapsulation of alive plant cells into pectin based bio-ink. J. Food Eng. 2019, 263, 454–464. [Google Scholar] [CrossRef]
- Feng, C.; Zhang, M.; Bhandari, B.; Ye, Y. Use of potato processing by-product: Effects on the 3D printing characteristics of the yam and the texture of air-fried yam snacks. LWT 2020, 125, 109265. [Google Scholar] [CrossRef]
- Sun, J.; Zhou, W.; Huang, D.; Fuh, J.Y.H.; Hong, G.S. An Overview of 3D Printing Technologies for Food Fabrication. Food Bioprocess Technol. 2015, 8, 1605–1615. [Google Scholar] [CrossRef]
- Tian, J.; Bryksa, B.C.; Yada, R.Y. Feeding the world into the future—Food and nutrition security: The role of food science and technology. Front. Life Sci. 2016, 9, 155–166. [Google Scholar] [CrossRef]
- Brunner, T.A.; Delley, M.; Denkel, C. Consumers’ attitudes and change of attitude toward 3D-printed food. Food Qual. Prefer. 2018, 68, 389–396. [Google Scholar] [CrossRef]
- Jiang, H.; Zheng, L.; Zou, Y.; Tong, Z.; Han, S.; Wang, S. 3D food printing: Main components selection by considering rheological properties. Crit. Rev. Food Sci. Nutr. 2019, 59, 2335–2347. [Google Scholar] [CrossRef]
- Yang, F.; Zhang, M.; Bhandari, B.; Liu, Y. Investigation on lemon juice gel as food material for 3D printing and optimization of printing parameters. LWT 2018, 87, 67–76. [Google Scholar] [CrossRef]
- Prakash, S.; Bhandari, B.R.; Godoi, F.C.; Zhang, M. Future Outlook of 3D Food Printing. In Fundamentals of 3D Food Printing and Applications; Godoi, F.C., Bhandari, B.R., Prakash, S., Zhang, M., Eds.; Academic Press: Cambridge, MA, USA, 2019; pp. 373–381. [Google Scholar] [CrossRef]
- Hemsley, B.; Palmer, S.; Kouzani, A.; Adams, S.; Balandin, S. Review informing the design of 3D food printing for people with swallowing disorders: Constructive, conceptual, and empirical problems. In Proceedings of the System Sciences Conference, Honolulu, HI, USA, 8–11 January 2019. [Google Scholar]
- Burke-Shyne, S.; Gallegos, D.; Williams, T. 3D food printing: Nutrition opportunities and challenges. Br. Food J. 2020, 123, 649–663. [Google Scholar] [CrossRef]
- Alagiakrishnan, K.; Bhanji, R.A.; Kurian, M. Evaluation and management of oropharyngeal dysphagia in different types of dementia: A systematic review. Arch. Gerontol. Geriatr. 2013, 56, 1–9. [Google Scholar] [CrossRef] [PubMed]
- Huang, K.L.; Liu, T.Y.; Huang, Y.C.; Leong, C.P.; Lin, W.C.; Pong, Y.P. Functional outcome in acute stroke patients with oropharyngeal Dysphagia after swallowing therapy. J. Stroke Cerebrovasc. Dis. 2014, 23, 2547–2553. [Google Scholar] [CrossRef] [PubMed]
- Kouzani, A.Z.; Adams, S.; Whyte, D.J.; Oliver, R.; Hemsley, B.; Palmer, S.; Balandin, S. 3D printing of food for people with swallowing difficulties. In DesTech Conference Proceedings; KnE Publishing: Dubai, United Arab Emirates.
- Pedersen, A.; Wilson, J.; McColl, E.; Carding, P.; Patterson, J. Swallowing outcome measures in head and neck cancer—How do they compare? Oral Oncol. 2016, 52, 104–108. [Google Scholar] [CrossRef]
- Costa, A.; Carrion, S.; Puig-Pey, M.; Juarez, F.; Clave, P. Triple Adaptation of the Mediterranean Diet: Design of A Meal Plan for Older People with Oropharyngeal Dysphagia Based on Home Cooking. Nutrients 2019, 11, 425. [Google Scholar] [CrossRef] [PubMed]
- Liu, W.; Gao, H.; McClements, D.J.; Zhou, L.; Wu, J.; Zou, L. Stability, rheology, and β-carotene bioaccessibility of high internal phase emulsion gels. Food Hydrocoll. 2019, 88, 210–217. [Google Scholar] [CrossRef]
- Luo, N.; Ye, A.; Wolber, F.M.; Singh, H. Structure of whey protein emulsion gels containing capsaicinoids: Impact on in-mouth breakdown behaviour and sensory perception. Food Hydrocoll. 2019, 92, 19–29. [Google Scholar] [CrossRef]
- Vieira, M.V.; Oliveira, S.M.; Amado, I.R.; Fasolin, L.H.; Vicente, A.A.; Pastrana, L.M.; Fuciños, P. 3D printed functional cookies fortified with Arthrospira platensis: Evaluation of its antioxidant potential and physical-chemical characterization. Food Hydrocoll. 2020, 107, 105893. [Google Scholar] [CrossRef]
- Jeon, W.Y.; Yu, J.Y.; Kim, H.W.; Park, H.J. Production of customized food through the insertion of a formulated nanoemulsion using coaxial 3D food printing. J. Food Eng. 2021, 311. [Google Scholar] [CrossRef]
- Farrer, O.; Olsen, C.; Mousley, K.; Teo, E. Does presentation of smooth pureed meals improve patients consumption in an acute care setting: A pilot study. Nutr. Diet. 2016, 73, 405–409. [Google Scholar] [CrossRef]
- Momosaki, R.; Abo, M.; Kobayashi, K. Swallowing analysis for semisolid food texture in poststroke dysphagic patients. J. Stroke Cerebrovasc. Dis. 2013, 22, 267–270. [Google Scholar] [CrossRef]
- Machado, A.S.; Moreira, C.; Vimercati, D.; Pereira, T.C.; Endringer, D.C. Consistencies and terminologies—The use of the International Dysphagia Diet Standardization Initiative. Nutr. Hosp. 2019, 36, 1273–1277. [Google Scholar] [CrossRef] [PubMed]
- Lorenz, T.; Iskandar, M.M.; Baeghbali, V.; Ngadi, M.O.; Kubow, S. 3D Food Printing Applications Related to Dysphagia: A Narrative Review. Foods 2022, 11, 1789. [Google Scholar] [CrossRef]
- Lukasewycz, L.D.; Mennella, J.A. Lingual tactile acuity and food texture preferences among children and their mothers. Food Qual. Prefer. 2012, 26, 58–66. [Google Scholar] [CrossRef] [PubMed]
- Zeinstra, G.G.; Koelen, M.A.; Kok, F.J.; de Graaf, C. The influence of preparation method on children’s liking for vegetables. Food Qual. Prefer. 2010, 21, 906–914. [Google Scholar] [CrossRef]
- Poelman, A.A.M.; Delahunty, C.M.; de Graaf, C. Vegetables and other core food groups: A comparison of key flavour and texture properties. Food Qual. Prefer. 2017, 56, 1–7. [Google Scholar] [CrossRef]
- Mantihal, S.; Prakash, S.; Bhandari, B. Texture-modified 3D printed dark chocolate: Sensory evaluation and consumer perception study. J. Texture Stud. 2019, 50, 386–399. [Google Scholar] [CrossRef]
- Caulier, S.; Doets, E.; Noort, M. An exploratory consumer study of 3D printed food perception in a real-life military setting. Food Qual. Prefer. 2020, 86. [Google Scholar] [CrossRef]
- Sun, J.; Peng, Z.; Zhou, W.; Fuh, J.Y.H.; Hong, G.S.; Chiu, A. A Review on 3D Printing for Customized Food Fabrication. Procedia Manuf. 2015, 1, 308–319. [Google Scholar] [CrossRef]
- Palmnas, M.; Brunius, C.; Shi, L.; Rostgaard-Hansen, A.; Torres, N.E.; Gonzalez-Dominguez, R.; Zamora-Ros, R.; Ye, Y.L.; Halkjaer, J.; Tjonneland, A.; et al. Perspective: Metabotyping-A Potential Personalized Nutrition Strategy for Precision Prevention of Cardiometabolic Disease. Adv. Nutr. 2020, 11, 524–532. [Google Scholar] [CrossRef]
- Derossi, A.; Caporizzi, R.; Azzollini, D.; Severini, C. Application of 3D printing for customized food. A case on the development of a fruit-based snack for children. J. Food Eng. 2018, 220, 65–75. [Google Scholar] [CrossRef]
- Zhang, L.; Lou, Y.; Schutyser, M.A.I. 3D printing of cereal-based food structures containing probiotics. Food Struct. 2018, 18, 14–22. [Google Scholar] [CrossRef]
- Dankar, I.; Haddarah, A.; Omar, F.E.L.; Sepulcre, F.; Pujolà, M. 3D printing technology: The new era for food customization and elaboration. Trends Food Sci. Technol. 2018, 75, 231–242. [Google Scholar] [CrossRef]
- Otcu, G.B.; Ramundo, L.; Terzi, S. State of the Art of Sustainability in 3D Food Printing. In Proceedings of the 2019 IEEE International Conference on Engineering, Technology and Innovation (ICE/ITMC), Valbonne, France, 17–19 June 2019; pp. 1–8. [Google Scholar]
- Keerthana, K.; Anukiruthika, T.; Moses, J.A.; Anandharamakrishnan, C. Development of fiber-enriched 3D printed snacks from alternative foods: A study on button mushroom. J. Food Eng. 2020, 287, 110116. [Google Scholar] [CrossRef]
- Lille, M.; Nurmela, A.; Nordlund, E.; Metsä-Kortelainen, S.; Sozer, N. Applicability of protein and fiber-rich food materials in extrusion-based 3D printing. J. Food Eng. 2018, 220, 20–27. [Google Scholar] [CrossRef]
- Uribe-Wandurraga, Z.N.; Igual, M.; Reino-Moyón, J.; García-Segovia, P.; Martínez-Monzó, J. Effect of Microalgae (Arthrospira platensis and Chlorella vulgaris) Addition on 3D Printed Cookies. Food Biophys. 2020, 16, 27–39. [Google Scholar] [CrossRef]
- Yusuf, M. Present and Future Prospects on Nutritious Feeding Using Insects. In Natural Materials and Products from Insects: Chemistry and Applications; Springer: Berlin/Heidelberg, Germany, 2020; pp. 111–119. [Google Scholar] [CrossRef]
- Ben-Arye, T.; Levenberg, S. Tissue Engineering for Clean Meat Production. Front. Sustain. Food Syst. 2019, 3, 46. [Google Scholar] [CrossRef]
- NaturalMachines. Foodini Tech Specs. 2023. Available online: https://www.naturalmachines.com/foodini (accessed on 26 June 2023).
- Terfansky, M.L.; Thangavelu, M. 3D Printing of Food for Space Missions. In Proceedings of the AIAA SPACE 2013 Conference and Exposition, San Diego, CA, USA, 10–12 September 2013. [Google Scholar]
- Reportlinker. 3D Food Printing Market Research Report by Ingredient, by Vertical—Global Forecast to 2025—Cumulative Impact of COVID-19. 2020. Available online: https://www.reportlinker.com/p05951073/3D-Food-Printing-Market-Research-Report-by-Ingredient-by-Vertical-Global-Forecast-to-Cumulative-Impact-of-COVID-19.html?utm_source=GNW (accessed on 16 December 2020).
- Attarin, S.; Attaran, M. Food Printing: Evolving Technologies, Challenges, Opportunities, and Best adoption Strategies. J. Int. Technol. Inf. Manag. 2020, 29, 25–55. [Google Scholar] [CrossRef]
- ByFlow. What Can Patissiers & Chocolatiers Do with It? 2020. Available online: https://www.3dbyflow.com/applications (accessed on 26 June 2023).
- ChocEdge. Choc Creator V2.0 Plus. 2020. Available online: https://chocedge.com/ (accessed on 16 December 2020).
- CreatBot. Createbot MINI 3D Printer. 2020. Available online: https://www.creatbot.com/ (accessed on 26 June 2023).
- ORDSolutions. RoVa4D Full Color Blender 3D Printer. 2020. Available online: https://ordsolutions.com/ (accessed on 16 December 2020).
- Wolf, M. Barilla-Backed BluRhapsody to Launch 3D Pasta Printing E-Commerce Service in 2019. 2019. Available online: https://thespoon.tech/barilla-backed-blurhapsody-to-launch-3d-pasta-printing-e-commerce-service-in-2019/ (accessed on 26 June 2023).
- Nourished. Revolutionizing the Nutrition Industry: One Nourished Stack at a Time. 2023. Available online: https://get-nourished.com/pages/our-story (accessed on 26 June 2023).
- Southey, F. Start-Up Launches Made-to-Order 3D Gummies: ‘If Anything Should Be Personalized, It Should Be Our Health’. 2019. Available online: https://www.foodnavigator.com/Article/2019/10/17/Nourished-launches-3D-printed-personalised-nutrition-gummies (accessed on 26 June 2023).
- LaMIAMFactory. Chocolate Offering. 2020. Available online: https://www.miamfactory.com/chocolate-3d-printing/chocolate-offering/?lang=en (accessed on 26 June 2023).
- Poseidn. Functional Beverages. 2020. Available online: https://poseidn.com (accessed on 26 June 2023).
- Novameat. Most Realistic’ Plant-Based Steak Revealed. 2020. Available online: https://www.novameat.com/ (accessed on 26 June 2023).
- SavorEat. More Than Just a Meat Alternative. A Game-Changing Platform. 2020. Available online: https://savor-eat.com/ (accessed on 26 June 2023).
- Zhong, L.; Lewis, J.R.; Sim, M.; Bondonno, C.P.; Wahlqvist, M.L.; Mugera, A.; Purchase, S.; Siddique, K.H.M.; Considine, M.J.; Johnson, S.K.; et al. Three-dimensional food printing: Its readiness for a food and nutrition insecure world. Proc. Nutr. Soc. 2023, 1–10. [Google Scholar] [CrossRef]
- Jayaprakash, S.; Paasi, J.; Pennanen, K.; Flores Ituarte, I.; Lille, M.; Partanen, J.; Sozer, N. Techno-Economic Prospects and Desirability of 3D Food Printing: Perspectives of Industrial Experts, Researchers and Consumers. Foods 2020, 9, 1725. [Google Scholar] [CrossRef]
- Lupton, D.; Turner, B. Food of the Future? Consumer Responses to the Idea of 3D-Printed Meat and Insect-Based Foods. Food Foodways 2018, 26, 269–289. [Google Scholar] [CrossRef]
- Gosine, L.; Kean, B.; Parsons, C.; McSweeney, M.B. Using a 3D food printer as a teaching tool: Focus groups with dietitians, teachers, and nutrition students. J. Food Sci. Educ. 2020, 20, 18–25. [Google Scholar] [CrossRef]
- Frewer, L.J.; Bergmann, K.; Brennan, M.; Lion, R.; Meertens, R.; Rowe, G.; Siegrist, M.; Vereijken, C. Consumer response to novel agri-food technologies: Implications for predicting consumer acceptance of emerging food technologies. Trends Food Sci. Technol. 2011, 22, 442–456. [Google Scholar] [CrossRef]
- De Roos, B. Personalised nutrition: Ready for practice? Proc. Nutr. Soc. 2013, 72, 48–52. [Google Scholar] [CrossRef] [PubMed]
- Scerra, M.; Barrett, A.; Eswaranandam, S.; Okamoto, M. Effects of 3D Printing and Thermal Post Processing on the Stability of Vitamin E Acetate. J. Acad. Nutr. Diet. 2018, 118, A148. [Google Scholar] [CrossRef]
- Martínez-Monzó, J.; Cárdenas, J.; García-Segovia, P. Effect of Temperature on 3D Printing of Commercial Potato Puree. Food Biophys. 2019, 14, 225–234. [Google Scholar] [CrossRef]
- Moreno, C.R.; Fernández, P.C.R.; Rodríguez, E.O.C.; Carrillo, J.M.; Rochín, S.M. Changes in Nutritional Properties and Bioactive Compounds in Cereals During Extrusion Cooking. In Extrusion of Metals, Polymers and Food Products; Qamar, S.Z., Ed.; InTech: London, UK, 2018. [Google Scholar] [CrossRef]
- Singh, S.; Gamlath, S.; Wakeling, L. Nutritional aspects of food extrusion: A review. Int. J. Food Sci. Technol. 2007, 42, 916–929. [Google Scholar] [CrossRef]
- Nayak, B.; Liu, R.H.; Tang, J. Effect of processing on phenolic antioxidants of fruits, vegetables, and grains—A review. Crit. Rev. Food Sci. Nutr. 2015, 55, 887–919. [Google Scholar] [CrossRef] [PubMed]
- Altan, A.; McCarthy, K.L.; Maskan, M. Effect of extrusion process on antioxidant activity, total phenolics and β-glucan content of extrudates developed from barley-fruit and vegetable by-products. Int. J. Food Sci. Technol. 2009, 44, 1263–1271. [Google Scholar] [CrossRef]
- Berry Ottaway, P. Stability of vitamins during food processing and storage. In Chemical Deterioration and Physical Instability of Food and Beverages; Skibsted, L.H., Risbo, J., Andersen, M.L., Eds.; Woodhead Publishing: Sawston, UK, 2010; pp. 539–560. [Google Scholar] [CrossRef]
- Lipton, J.I.; Cutler, M.; Nigl, F.; Cohen, D.; Lipson, H. Additive manufacturing for the food industry. Trends Food Sci. Technol. 2015, 43, 114–123. [Google Scholar] [CrossRef]
- HealthCanada. Novel and Genetically-Modified (GM) Foods. 2023. Available online: https://www.canada.ca/en/health-canada/services/food-nutrition/genetically-modified-foods-other-novel-foods.html#a1 (accessed on 26 June 2023).
- Monteiro, C.A.; Moubarac, J.C.; Cannon, G.; Ng, S.W.; Popkin, B. Ultra-processed products are becoming dominant in the global food system. Obes. Rev. 2013, 14 (Suppl. S2), 21–28. [Google Scholar] [CrossRef] [PubMed]
- He, C.; Zhang, M.; Fang, Z. 3D printing of food: Pretreatment and post-treatment of materials. Crit. Rev. Food Sci. Nutr. 2020, 60, 2379–2392. [Google Scholar] [CrossRef] [PubMed]
- Kim, H.W.; Bae, H.; Park, H.J. Reprint of: Classification of the printability of selected food for 3D printing: Development of an assessment method using hydrocolloids as reference material. J. Food Eng. 2018, 220, 28–37. [Google Scholar] [CrossRef]
- Adams, J.; White, M. Characterisation of UK diets according to degree of food processing and associations with socio-demographics and obesity: Cross-sectional analysis of UK National Diet and Nutrition Survey (2008–12). Int. J. Behav. Nutr. Phys. Act. 2015, 12, 160. [Google Scholar] [CrossRef] [PubMed]
- Costa Louzada, M.L.; Martins, A.P.; Canella, D.S.; Baraldi, L.G.; Levy, R.B.; Claro, R.M.; Moubarac, J.C.; Cannon, G.; Monteiro, C.A. Ultra-processed foods and the nutritional dietary profile in Brazil. Rev. Saude Publica 2015, 49, 38. [Google Scholar] [CrossRef]
- Martinez Steele, E.; Baraldi, L.G.; Louzada, M.L.; Moubarac, J.C.; Mozaffarian, D.; Monteiro, C.A. Ultra-processed foods and added sugars in the US diet: Evidence from a nationally representative cross-sectional study. BMJ Open 2016, 6, e009892. [Google Scholar] [CrossRef]
- Fardet, A. Minimally processed foods are more satiating and less hyperglycemic than ultra-processed foods: A preliminary study with 98 ready-to-eat foods. Food Funct. 2016, 7, 2338–2346. [Google Scholar] [CrossRef] [PubMed]
- Schnabel, L.; Buscail, C.; Sabate, J.M.; Bouchoucha, M.; Kesse-Guyot, E.; Alles, B.; Touvier, M.; Monteiro, C.A.; Hercberg, S.; Benamouzig, R.; et al. Association Between Ultra-Processed Food Consumption and Functional Gastrointestinal Disorders: Results From the French NutriNet-Sante Cohort. Am. J. Gastroenterol. 2018, 113, 1217–1228. [Google Scholar] [CrossRef]
- Grunewald, S.J. Will the Foodini Food 3D Printer Be the Microwave of the Future? 2016. Available online: https://3dprint.com/129130/foodini-food-3d-printer/ (accessed on 26 June 2023).
- Moubarac, J.C.; Batal, M.; Louzada, M.L.; Martinez Steele, E.; Monteiro, C.A. Consumption of ultra-processed foods predicts diet quality in Canada. Appetite 2017, 108, 512–520. [Google Scholar] [CrossRef] [PubMed]
- Hall, K.D.; Ayuketah, A.; Brychta, R.; Cai, H.; Cassimatis, T.; Chen, K.Y.; Chung, S.T.; Costa, E.; Courville, A.; Darcey, V.; et al. Ultra-Processed Diets Cause Excess Calorie Intake and Weight Gain: An Inpatient Randomized Controlled Trial of Ad Libitum Food Intake. Cell Metab. 2019, 30, 67–77.e63. [Google Scholar] [CrossRef]
- Hall, K.D. From dearth to excess: The rise of obesity in an ultra-processed food system. Philos. Trans. R. Soc. Lond. B Biol. Sci. 2023, 378, 20220214. [Google Scholar] [CrossRef]
- Parada, J.; Aguilera, J.M. Food microstructure affects the bioavailability of several nutrients. J. Food Sci. 2007, 72, R21–R32. [Google Scholar] [CrossRef] [PubMed]
- Han, H.; Yi, B.; Zhong, R.; Wang, M.; Zhang, S.; Ma, J.; Yin, Y.; Yin, J.; Chen, L.; Zhang, H. From gut microbiota to host appetite: Gut microbiota-derived metabolites as key regulators. Microbiome 2021, 9, 162. [Google Scholar] [CrossRef] [PubMed]
- Turgeon, S.L.; Rioux, L.-E. Food matrix impact on macronutrients nutritional properties. Food Hydrocoll. 2011, 25, 1915–1924. [Google Scholar] [CrossRef]
- Vucea, V.; Keller, H.H.; Morrison, J.M.; Duizer, L.M.; Duncan, A.M.; Carrier, N.; Lengyel, C.O.; Slaughter, S.E.; Steele, C.M. Modified Texture Food Use is Associated with Malnutrition in Long Term Care: An Analysis of Making the Most of Mealtimes (M3) Project. J. Nutr. Health Aging 2018, 22, 916–922. [Google Scholar] [CrossRef]
- Vucea, V.; Keller, H.H.; Morrison, J.M.; Duncan, A.M.; Duizer, L.M.; Carrier, N.; Lengyel, C.O.; Slaughter, S.E. Nutritional quality of regular and pureed menus in Canadian long term care homes: An analysis of the Making the Most of Mealtimes (M3) project. BMC Nutr. 2017, 3, 80. [Google Scholar] [CrossRef]
- Gidley, M.J. Hydrocolloids in the digestive tract and related health implications. Curr. Opin. Colloid Interface Sci. 2013, 18, 371–378. [Google Scholar] [CrossRef]
- Cao, Y.; Liu, H.; Qin, N.; Ren, X.; Zhu, B.; Xia, X. Impact of food additives on the composition and function of gut microbiota: A review. Trends Food Sci. Technol. 2020, 99, 295–310. [Google Scholar] [CrossRef]
- Gerasimidis, K.; Bryden, K.; Chen, X.; Papachristou, E.; Verney, A.; Roig, M.; Hansen, R.; Nichols, B.; Papadopoulou, R.; Parrett, A. The impact of food additives, artificial sweeteners and domestic hygiene products on the human gut microbiome and its fibre fermentation capacity. Eur. J. Nutr. 2020, 59, 3213–3230. [Google Scholar] [CrossRef]
- Chassaing, B.; Koren, O.; Goodrich, J.K.; Poole, A.C.; Srinivasan, S.; Ley, R.E.; Gewirtz, A.T. Dietary emulsifiers impact the mouse gut microbiota promoting colitis and metabolic syndrome. Nature 2015, 519, 92–96. [Google Scholar] [CrossRef]
- Miki, T.; Eguchi, M.; Kochi, T.; Akter, S.; Inoue, Y.; Yamaguchi, M.; Nanri, A.; Akamatsu, R.; Kabe, I.; Mizoue, T. Eating alone and depressive symptoms among the Japanese working population: The Furukawa nutrition and health study. J. Psychiatr. Res. 2021, 143, 492–498. [Google Scholar] [CrossRef]
- Tani, Y.; Kondo, N.; Takagi, D.; Saito, M.; Hikichi, H.; Ojima, T.; Kondo, K. Combined effects of eating alone and living alone on unhealthy dietary behaviors, obesity and underweight in older Japanese adults: Results of the JAGES. Appetite 2015, 95, 1–8. [Google Scholar] [CrossRef] [PubMed]


| Objectives | Methodology/3D Printing Technology | Product | Results | Reference |
|---|---|---|---|---|
| Assess and optimise the printability of snacks containing wheat flour and Yellow mealworm powder | 3D Printer mod. Delta 2040 with Clay extruder kit 2.00 | 3D printed snacks using wheat flour dough with different amounts of ground larvae of yellow mealworms | Addition of mealworm powder affected the printability of the dough, but protein digestibility corrected amino acid score of 3D printed snacks was improved with the addition of insect powder | [17] |
| Investigate 3D printing characteristics of yam powder with added high-fiber potato by-products | Dual-nozzle 3D printer (SHINNOVE-D1) | Freeze-dried yam and potato processing by-product at varying ratios | Good printing characteristics were obtained for all formulations Addition of potato by-products reduced extrusion swelling and increased WAI and G’ | [26] |
| Establish a 3D printing method for the preparation of 3D food products to be potentially used by people with dysphagia | Envision TEC GmbH Bioploter; pressure controlled extrusion | Tuna print made with butternut pumpkin, beetroot and canned tuna in springwater | Product was found to have similar taste to a similar dish prepared by a skilled cook (3 tasters) | [37] |
| Preparation of 3D printed functional food with antioxidant properties | Focus 3D food printer with paste printing head and 1.6 mm aperture nozzle | 3D printed cookies fortified with freeze-dried microalga Arthrospira platensis encapsulated in alginate microbeads | Cookies were obtained with good shape fidelity with low water activity for high microbiological stability; addition of microalga increased antioxidant activity measured via the ORAC assay but not the ABTS assay | [42] |
| Survey of sensory evaluation of texture-modified 3D printed chocolate | 30 semi-trained panellists evaluated texture and appearance of 3D printed chocolates with varying infill patterns and percentages, using a Da Vinci 2.0 dual nozzle model XYZ printer with ABS filament A survey of consumer perceptions with 244 participants | 3 chocolate samples with increasing infill percentages (25, 50, 100%), and a cast commercial chocolate sample as control | Panellists preferred the appearance of the samples with 25 and 50% infill, no difference in preference between the cast and 100% infill samples A generally positive perception of 3D printed chocolates encouraged by prior presentation of 3D printed chocolate samples and a 3D food printer | [51] |
| Investigate consumer attitudes towards 3D food printing in a military setting | 12 participants completed questionnaires assessing attitudes towards 3D printed food, and tasted snack bars printed using a Fuse Deposition Modelling printer | 3D printed snack bars made of cookie dough with filling, prepared similar to commonly consumed snack by soldiers following training, one benchmark snack | Participant attitude towards 3D printed foods improved following repeated tasting sessions, although mean liking scores for the 3D printed snacks were lower than those of the benchmark snack | [52] |
| Develop a fruit-based food formula nutritionally designed for children to build 3D snacks | 3D Printer mod. Delta 2040 equipped with the Clay extruder kit 2.00. | 3D printed snack consisting of bananas, dried mushrooms, canned white beans, lemon juice, non-fat milk, pectin powder, ascorbic acid | Fruit-based formula estimated to contain 5–10% of required energy, calcium, iron and vitamin D for children ages 3–10 Flow of material affected the dimensional and microstructural properties of the product | [55] |
| Investigate the printability of fiber-enriched foods with acceptable organoleptic characteristics, using button mushrooms | 20 semi-trained panellists tasted snacks made using an in-house built CARK delta-type extrusion-based 3D food printer | Snacks prepared with freeze-dried white button mushrooms, wheat flour, potassium metabisulphite, sodium chloride, calcium chloride, post-processed as sweet or spicy snacks | Panellists liked the product overall and preferred the spicy products over sweet products. Freeze-dried powder was not printable but addition of wheat flour improved printability; optimal printing speed, nozzle size and flow rate were determined | [59] |
| Assess the printability of and design healthy food structures high in fiber, protein and low in fat or sugar | VTT micron scale dispensing environment based on nScrypt technology | Snacks made with starch, milk powder, cellulose nanofiber, rye bran, oat protein and fava bean protein concentrates | Optimal parameters were identified for best printing results, such as composition of pastes; higher yield stress resulted in acceptable shape stability | [60] |
| Investigate the printability of cereal-based food structures with probiotics | ByFlow 3D food printer | Wheat dough with different flour/water ratios, optimized for printing, supplemented with Lactobacillus plantarum WCFS1 (LP) | Following baking, 3D printed structure was maintained and acceptable viability of the probiotics was obtained; suggestions for further modifications to enhance probiotic survival were made | [56] |
Disclaimer/Publisher’s Note: The statements, opinions and data contained in all publications are solely those of the individual author(s) and contributor(s) and not of MDPI and/or the editor(s). MDPI and/or the editor(s) disclaim responsibility for any injury to people or property resulting from any ideas, methods, instructions or products referred to in the content. |
© 2023 by the authors. Licensee MDPI, Basel, Switzerland. This article is an open access article distributed under the terms and conditions of the Creative Commons Attribution (CC BY) license (https://creativecommons.org/licenses/by/4.0/).
Share and Cite
Zhu, W.; Iskandar, M.M.; Baeghbali, V.; Kubow, S. Three-Dimensional Printing of Foods: A Critical Review of the Present State in Healthcare Applications, and Potential Risks and Benefits. Foods 2023, 12, 3287. https://doi.org/10.3390/foods12173287
Zhu W, Iskandar MM, Baeghbali V, Kubow S. Three-Dimensional Printing of Foods: A Critical Review of the Present State in Healthcare Applications, and Potential Risks and Benefits. Foods. 2023; 12(17):3287. https://doi.org/10.3390/foods12173287
Chicago/Turabian StyleZhu, Wenxi, Michèle M. Iskandar, Vahid Baeghbali, and Stan Kubow. 2023. "Three-Dimensional Printing of Foods: A Critical Review of the Present State in Healthcare Applications, and Potential Risks and Benefits" Foods 12, no. 17: 3287. https://doi.org/10.3390/foods12173287
APA StyleZhu, W., Iskandar, M. M., Baeghbali, V., & Kubow, S. (2023). Three-Dimensional Printing of Foods: A Critical Review of the Present State in Healthcare Applications, and Potential Risks and Benefits. Foods, 12(17), 3287. https://doi.org/10.3390/foods12173287

