Interactions of Clotrimazole with Certain d-Metal Compounds and with Organic Acids
Abstract
:1. Introduction

2. Objects and Methods
3. Experimental
3.1. Synthesis of Mixed-Ligand Salts [AgClm2]NO3·H2O, [AuClmCl3], [CuClm2Cl2]·5H2O
| Compound | N, % | C, % | H, % | Ag, Au, CuO, % | H2O, % | |||||
|---|---|---|---|---|---|---|---|---|---|---|
| f* | c* | f | c | f | c | f | c | f | c | |
| [Ag(C22H17ClN2)2]NO3·2H2O | 8.5 | 7.82 | 59.1 | 58.96 | 4.2 | 4.24 | 11.7 | 12.04 | 4.2 | 4.02 |
| [Au(C22H17ClN2)Cl3] | 5.2 | 4.32 | 40.5 | 40.73 | 2.8 | 2.62 | 28.3 | 30.39 | – | – |
| Cu(C22H17ClN2)2Cl2·5H2O | 5.9 | 6.13 | 54.9 | 57.81 | 4.1 | 4.85 | 9.0 | 8.70 | – | – |
| Cu(C22H17ClN2)4(C6H4NO2)2 | 7.9 | 8.29 | 68.7 | 71.13 | 5.2 | 4.50 | 4.7 | 4.71 | – | – |
| Cu(C22H17ClN2)4(C7H5O2)2 | 6.7 | 6.65 | 72.4 | 72.63 | 4.9 | 4.63 | 4.2 | 4.72 | – | – |
| Cu(C22H17ClN2)3 (C7H4O3)·2H2O | 5.9 | 6.61 | 65.8 | 68.96 | 4.1 | 4.64 | 6.5 | 6.26 | 2.7 | 2.83 |
| No. | Nature of Effect | Temperature Interval, °C | Mass Loss (Compared to Init.), Residue, % | Corresponding Process | |
|---|---|---|---|---|---|
| f | c | ||||
| Cu(C7H5O2)2·3H2O | |||||
| 1 | Group of endo-effects | 40–130 | 15.5 | 15.01 | Water loss |
| 2 | Exo-effect | 130–450 | 65.2 | 67.33 | Destruction of benzoate-ion |
| 3 | Endo-effect | 450–900 | 22.0 | 22.11 | Formation of CuO oxide |
| [Ag(C22H17ClN2)2]NO3·2H2O | |||||
| 1 | Endo-effect | 25–160 | 4.0 | 4.02 | Water loss |
| 2 | Exo-effects | 216–410 | 46.7 | 45.43 | Decomposition of a nitrate-ion and loss of Clm |
| 3 | Exo-effect | 410–900 | 39.3 10.6 | 38.5 12.05 | Combustion of Clm, formation of Ag |
| [Au(C22H17ClN2)Cl3] | |||||
| 1 | Group of endo-, exo-effects | 171–280 | 36.1 | 34.90 | Elimination of 0.5Clm + 0.5(1.5Cl2) |
| 2 | Exo-effect | 410–900 | 34.5 28.3 | 34.90 30.38 | Elimination of 0.5Clm + 0.5(1.5Cl2); formation of Au |
| C22H17ClN2·C6H5NO2 | |||||
| Endo-effect | 119.3 | 0.0 | 0.0 | Melting | |
| Endo-effects | 199–400 | 72.2 | 73.69 | Loss of Clm | |
| Exo-effect | 400–800 | 27.8 | 26.31 | Loss of HNic | |
| 2C22H17ClN2·C19H19O6N7·H2O | |||||
| Endo-effects | 120–180 | 1.5 | 1.57 | Loss of H2O | |
| Endo-effect | 230–390 | 60.0 | 60.02 | Loss of 2Clm | |
| Exo-effect | 390–800 | 39.4 | 38.41 | Loss of H2Fol | |
3.2. Synthesis of Nicotinate Cu(C6H4NO2)2·H2O, Benzoate Cu(C7H5O2)2·3H2O, and Salicylate CuC7H4O3·H2O of Copper(II)
3.3. Syntheses of the Mixed-Ligand Copper(II) Salts of the Composition Cu(C22H17ClN2)4(C6H4NO2)2 (CuClm4Nic2), Cu(C22H17ClN2)4(C7H5O2)2 (CuClm4Benz2), Cu(C22H17ClN2)3(C7H4O3)·2H2O (CuClm3Sal·2H2O)
3.4. Syntheses and Properties of Cocrystals/Salts of the C22H17ClN2·C6H5NO2 (Clm·HNic), C22H17ClN2·C7H6O2 (Clm·HBenz), 2C22H17ClN2·C7H6O3 (2Clm·H2Sal), 2C22H17ClN2·C19H19O6N7·H2O (2Clm·H2Fol·H2O)·Composition
4. Results and Discussion
| Acid | HNic | H2Fol | HBenz | H2Sal |
| pKa1 | 4.84 | 4.65 | 4.01 | 2.83 |
| ∆pKa1 | 1.15 | 1.34 | 1.98 | 3.16 |
5. Conclusions
- The conditions (molar ratio of the components, solvent type, pH of ~(5.0–5.5)) for synthesising mixed-ligand salts from the AgNO3, H[AuCl4], and CuCl2 solutions, as well as from aqueous suspensions of slightly soluble copper(II) salts containing nicotinate, benzoate, and salicylate anions, including the ethanol clotrimazole solution, were found and substantiated. The isolated compounds were characterised by elemental, thermal, thermogravimetric, and IR spectroscopic analyses.
- The novelty of this work consists of the fact that MLS of AgNO3, H[AuCl4], and CuCl2 containing clotrimazole were obtained by methods that are different from those described in the literature. New MLS of copper(II), having clotrimazole and anions of nicotinic, benzoic, and salicylic acids, as well as clotrimazole cocrystals/salts containing the mentioned aromatic acids, were produced.
- The [Ag(Clm)2]NO3·2H2O compound was shown to have a higher antifungal activity than that of the initial AgNO3 and C22H17ClN2.
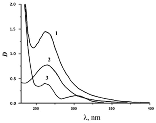
- The electronic spectra of absorbing alcoholic solutions, containing copper(II) chloride and Clm, have a higher optical density compared to that of the solutions of the individual components of the same concentration, which indicates the formation of a new compound in the CuCl2–Clm system: a mixed-ligand complex.
- Cocrystals/salts having a molar ratio of the components equal to 1:1, 1:1, 2:1, and 2:1 were obtained from the aqueous or aqueous ethanol suspensions containing clotrimazole and, respectively, nicotinic, benzoic, salicylic, or folic acids in the pH range of ~(4.5–6.0). These cocrystals/salts were subject to thermogravimetric and IR spectroscopic studies. Diffraction patterns of the powders were obtained. The influence of the difference in the pKa components on the ability to form cocrystals/salts was estimated. In the above-mentioned compounds, organic acids and clotrimazole exhibit their characteristic acid–base properties.
- The formation of clotrimazole crystals/salts involving nicotinic, benzoic, and salicylic acids can serve as indirect evidence of the compatibility of these substances in the inner sphere of the metal complex in the solution and in individual compounds. Such studies can be used to plan the synthesis of mixed-ligand compounds with d-metal ions.
Author Contributions
Funding
Data Availability Statement
Conflicts of Interest
References
- Vaidya, M.Y.; McBain, A.J.; Butler, J.A.; Banks, C.E.; Whitehead, K.A. Antimicrobial Efficacy and Synergy of Metal Ions against Enterococcus faecium, Klebsiella pneumoniae and Acinetobacter baumannii in Planktonic and Biofilm Phenotypes. Sci. Rep. 2017, 7, 5911. [Google Scholar] [CrossRef]
- Mahendra, R.; Avinash, P.I.; Serenella, M. Biomedical Applications of Metals; Springer International Publishing AG: Cham, Switzerland, 2018; p. 325. [Google Scholar]
- Hassoon, A.A.; Harrison, R.G.; Nawar, N. Synthesis, single crystal X-ray, spectroscopic characterization and biological activities of Mn2+, Co2+, Ni2+ and Fe3+ complexes. J. Mol. Struct. 2020, 1203, 127240. [Google Scholar] [CrossRef]
- Indira, S.; Vinoth, G.; Bharathi, M.; Bharathi, K.S. Synthesis, spectral, electrochemical, in-vitro antimicrobial and antioxidant activities of bisphenolic mannich base and 8-hydroxyquinoline based mixed ligands and their transition metal complexes. J. Mol. Struct. 2019, 1198, 126886. [Google Scholar] [CrossRef]
- Sinuk, T.F. Standardization of Quantitative Testing of Individual and Combined Toxic Effects of Copper(II), Silver(I), Zinc(II), Nickel(II) and Clotrimazole Salts. Ph.D. Thesis, Moscow Medical Academy, Moscow, Russia, 2002; p. 24. [Google Scholar]
- Kalhapure, R.S.; Sonawane, S.J.; Sikwal, D.R.; Jadhav, M.; Rambharose, S.; Mocktar, C.; Govender, T. Solid lipid nanoparticles of clotrimazole silver complex: An efficient nano antibacterial against Staphylococcus aureus and MRSA. Colloids Surf. B Biointerfaces 2015, 136, 651. [Google Scholar] [CrossRef] [PubMed]
- Navarro, M.; Peña, N.P.; Colmenares, I.; González, T.; Arsenak, M.; Taylor, P. Synthesis and characterization of new palladium-clotrimazole and palladium-chloroquine complexes showing cytotoxicity for tumor cell lines in vitro. J. Inorg. Biochem. 2006, 100, 152. [Google Scholar] [CrossRef] [PubMed]
- Robles-Escajeda, E.; Martínez, A.; Varela-Ramirez, A.; Sánchez-Delgado, R.A.; Aguilera, R.J. Analysis of the cytotoxic effects of ruthenium-ketoconazole and ruthenium-clotrimazole complexes on cancer cells. Cell Biol. Toxicol. 2013, 29, 431–443. [Google Scholar] [CrossRef]
- Navarro, M.; Higuera-Padilla, A.R.; Arsenak, M.; Taylor, P. Synthesis, characterization, DNA interaction studies and anticancer activity of platinum-clotrimazole complexes. Transit. Met. Chem. 2009, 34, 869–875. [Google Scholar] [CrossRef]
- Betanzos-Lara, S.; Gómez-Ruiz, C.; Barrón-Sosa, L.R.; Gracia-Mora, I.; Flores-Álamo, M.; Barba-Behrens, N. Cytotoxic copper(II), cobalt(II), zinc(II), and nickel(II) coordination compounds of clotrimazole. J. Inorg. Biochem. 2012, 114, 82–93. [Google Scholar] [CrossRef]
- Sánchez-Delgado, R.A.; Navarro, M.; Lazardi, K.; Atencio, R.; Capparelli, M.; Vargas, F.; Urbina, J.A.; Bouillez, A.; Noels, A.F.; Masi, D. Toward a novel metal based chemotherapy against tropical diseases 4. Synthesis and characterization of new metal-clotrimazole complexes and evaluation of their activity against Trypanosoma cruzi. Inorganica Chim. Acta 1998, 528, 275–276. [Google Scholar] [CrossRef]
- Navarro, M.; Cisneros-Fajardo, E.J.; Lehmann, T.; Sánchez-Delgado, R.A.; Atencio, R.; Silva, P.; Lira, R.; Urbina, J.A. Toward a Novel Metal-Based Chemotherapy against Tropical Diseases. 6. Synthesis and Characterization of New Copper(II) and Gold(I) Clotrimazole and Ketoconazole Complexes and Evaluation of Their Activity against Trypanosoma cruzi. Inorg. Chem. 2001, 40, 6879–6884. [Google Scholar] [CrossRef] [PubMed]
- Ershov, Y.A.; Shcherbakov, T.F. Growth kinetics of Candida albicans under combined actions of clotrimazole and AgNO3 and model of fungicidal action. J. Phys. Chem. 2014, 88, 128. [Google Scholar] [CrossRef]
- Iniguez, E.; Varela-Ramirez, A.; Martínez, A.; Torres, C.L.; Sánchez-Delgado, R.A.; Maldonado, R.A. Ruthenium-Clotrimazole complex has significant efficacy in the murine model of cutaneous leishmaniasis. Acta Trop. 2016, 164, 402. [Google Scholar] [CrossRef]
- Colina-Vegas, L.; Dutra, J.L.; Villarreal, W.; Neto, J.H.d.A.; Cominetti, M.R.; Pavan, F.; Navarro, M.; Batista, A.A. Ru(II)/clotrimazole/diphenylphosphine/bipyridine complexes: Interaction with DNA, BSA and biological potential against tumor cell lines and Mycobacterium tuberculosis. J. Inorg. Biochem. 2016, 162, 135. [Google Scholar] [CrossRef] [PubMed]
- Fernández-Pampín, N.; Vaquero, M.; Gil, T.; Espino, G.; Fernández, D.; García, B.; Busto, N. Distinct mechanism of action for antitumoral neutral cyclometalated Pt(II)-complexes bearing antifungal imidazolyl-based drugs. J. Inorg. Biochem. 2022, 226, 111663. [Google Scholar] [CrossRef]
- Elshaer, E.E.; Elwakil, B.H.; Eskandrani, A.; Elshewemi, S.S.; Olama, Z.A. Novel Clotrimazole and Vitis vinifera loaded chitosan nanoparticles: Antifungal and wound healing efficiencies. Saudi J. Biol. Sci. 2022, 29, 1832–1841. [Google Scholar] [CrossRef] [PubMed]
- Losev, E.A. Study of Crystalline Phases Formed in the Systems “Glycine-Carboxylic Acid” and “Serine-Carboxylic Acid”. Ph.D. Thesis, Boreskov Institute of Catalysis, Novosibirsk, Russia, 2014; p. 116. [Google Scholar]
- Zięba, S.; Dubis, A.; Ławniczak, P.; Gzella, A.; Pogorzelec-Glaser, K.; Łapiński, A. Effect of counter ions on physical properties of imidazole-based proton conductors. Electrochim. Acta 2019, 306, 575. [Google Scholar] [CrossRef]
- Mohammed, O.F.; Pines, D.; Dreyer, J.; Pines, E.; Nibbering, E.T. Sequential proton transfer through water bridges in acid-base reactions. Science 2005, 310, 83–86. [Google Scholar] [CrossRef]
- Shattock, T.R.; Arora, K.K.; Vishweshwar, P.; Zaworotko, M.J. Hierarchy of Supramolecular Synthons: Persistent Carboxylic Acid Pyridine Hydrogen Bonds in Cocrystals. That also Contain a Hydroxyl Moiety. Cryst. Growth Des. 2008, 12, 4533. [Google Scholar] [CrossRef]
- Manin, A.N.; Drozd, K.V.; Churakov, A.V.; Perlovich, G.L. Hydrogen Bond Donor/Acceptor Ratios of the Coformers: Do They Really Matter for the Prediction of Molecular Packing in Cocrystals? The Case of Benzamide Derivatives with Dicarboxylic Acids. Cryst. Growth Des. 2018, 18, 5254–5269. [Google Scholar] [CrossRef]
- Shalaeva, M.E.; Kenseth, J.; Lombardo, F.; Bastin, A. Measurement of dissociation constants (pKa values) of organic compounds by multiplexed capillary electrophoresis using aqueous and cosolvent buffers. J. Pharm. Sci. 2008, 97, 2581. [Google Scholar] [CrossRef]
- Kulko, A.B.; Fedorova, N.I. In vitro activity of antimycotics against yeast fungi, which cause opportunistic mycoses. Bull. Nat. Med.-Surg. Cent. N.I. Pirogov. 2015, 10, 62. [Google Scholar]
- Dobarkina, V.A.; Skorik, N.A. Study of transition metal nicotinates and mixed-ligand complexes based on them. J. Inorg. Chem. 2001, 46, 1994. [Google Scholar]
- Nasrin, I.B.; Narayana, B. Spectrophotometric and spectroscopic studies on charge transfer complexes of the antifungal drug clotrimazole. J. Taibah Univ. Sci. 2017, 11, 710–717. [Google Scholar] [CrossRef]
- Shyityeva, N.; Malabaeva, A.M.; Berdalieva, Z.I. The study of the complexation of imidazole with copper sulfate in an aqueous medium at 25 °C. NAS Chem. Sci. 2016, 5, 150. [Google Scholar]
- Skorik, N.A. D-metal folates and folic acid conjugate with imidazole. J. Inorg. Chem. 2015, 6, 1531. [Google Scholar] [CrossRef]
- Dain, I.A.; Loginov, S.V.; Rybakov, V.B.; Ofitserov, E.N.; Lebedev, A.V.; Storozhenko, P.A. Synthesis, properties and structural characteristics of aromatic carboxylic acid (2-hydroxyethyl)ammonium salts. Butlerov. Comm. 2017, 52, 1. [Google Scholar]







| Compound | CuO, % | H2O, % | ||
|---|---|---|---|---|
| f | c | f | c | |
| Cu(C6H4NO2)2·H2O | 24.5 | 24.42 | 5.1 | 5.53 |
| CuC7H4O3·H2O | 35.7 | 36.54 | 8.3 | 8.27 |
| Cu(C7H5O2)2·3H2O | 22.1 | 22.11 | 15.7 | 15.01 |
| Compound | N, % | C, % | H, % | Clm, % | H1–2L, % | |||||
|---|---|---|---|---|---|---|---|---|---|---|
| f | c | f | c | f | c | f | c | f | c | |
| C22H17ClN2·C7H6O2 | 7.6 | 6.00 | 75.9 | 74.52 | 5.3 | 4.93 | – | – | – | – |
| C22H17ClN2·C6H5NO2 | 8.4 | 8.98 | 75.5 | 71.80 | 5.3 | 4.70 | 72.2 | 73.69 | 27.8 | 26.31 |
| 2C22H17ClN2·C19H19O6N7·H2O | 12.0 | 13.48 | 66.0 | 65.8 | 4.8 | 4.79 | 60.0 | 60.02 | 39.4 | 38.41 |
| 2C22H17ClN2·C7H6O3 | 7.3 | 6.76 | 74.7 | 73.93 | 4.9 | 4.83 | 84.7 | 83.32 | 14.8 | 16.68 |
Disclaimer/Publisher’s Note: The statements, opinions and data contained in all publications are solely those of the individual author(s) and contributor(s) and not of MDPI and/or the editor(s). MDPI and/or the editor(s) disclaim responsibility for any injury to people or property resulting from any ideas, methods, instructions or products referred to in the content. |
© 2023 by the authors. Licensee MDPI, Basel, Switzerland. This article is an open access article distributed under the terms and conditions of the Creative Commons Attribution (CC BY) license (https://creativecommons.org/licenses/by/4.0/).
Share and Cite
Skorik, N.; Kurzina, I.; Korostelev, V.; Fedorishin, D.; Kozik, V. Interactions of Clotrimazole with Certain d-Metal Compounds and with Organic Acids. Inorganics 2023, 11, 393. https://doi.org/10.3390/inorganics11100393
Skorik N, Kurzina I, Korostelev V, Fedorishin D, Kozik V. Interactions of Clotrimazole with Certain d-Metal Compounds and with Organic Acids. Inorganics. 2023; 11(10):393. https://doi.org/10.3390/inorganics11100393
Chicago/Turabian StyleSkorik, Nina, Irina Kurzina, Vladislav Korostelev, Dmitriy Fedorishin, and Vladimir Kozik. 2023. "Interactions of Clotrimazole with Certain d-Metal Compounds and with Organic Acids" Inorganics 11, no. 10: 393. https://doi.org/10.3390/inorganics11100393
APA StyleSkorik, N., Kurzina, I., Korostelev, V., Fedorishin, D., & Kozik, V. (2023). Interactions of Clotrimazole with Certain d-Metal Compounds and with Organic Acids. Inorganics, 11(10), 393. https://doi.org/10.3390/inorganics11100393

