Next Article in Journal
The Evolving Paradigm of Reliability Engineering for Complex Systems: A Review from an Uncertainty Control Perspective
Next Article in Special Issue
Experimental Validation of a Stepwise Automatic Determination Method for TECS Parameters in ArduPilot Based on Steady-State Assessment
Previous Article in Journal
High-Altitude Pseudo-Satellite: Prototype Conceptualization and Development
Previous Article in Special Issue
On the Study of Performance Enhancement of 3D Printing and Industrial Application on Aviation Devices
 
 
Font Type:
Arial Georgia Verdana
Font Size:
Aa Aa Aa
Line Spacing:
Column Width:
Background:
Article

Experimental Evaluation of Energy Consumption and Acoustic Emissions in Sub-250 g Quadcopters with Added Tubular Propeller Enclosures

Department of Technical Systems Operation and Maintenance, Faculty of Mechanical Engineering, Wroclaw University of Science and Technology, 27 Wybrzeże Wyspiańskiego Street, 50-370 Wroclaw, Poland
*
Author to whom correspondence should be addressed.
Aerospace 2026, 13(2), 182; https://doi.org/10.3390/aerospace13020182
Submission received: 21 January 2026 / Revised: 11 February 2026 / Accepted: 11 February 2026 / Published: 13 February 2026

Abstract

This paper investigates the impact of tubed propeller design on the energy efficiency and acoustic emissions of sub-250 g quadcopters. This study was motivated by the growing popularity of ultralight UAVs and the lack of experimental data addressing the trade-offs between noise, efficiency, and mass. Ten drone configurations with varying tube geometries and tip clearances were constructed using 3D-printed PLA+ frames and identical propulsion components. Experimental tests were conducted in a reverberation room to measure sound pressure levels and onboard energy consumption during hover. The results show that tubed configurations are 3–6.5 dB louder than untubed ones, with a noticeable shift toward higher frequencies. While tubes increased total power demand by 18–37% compared to the lightest design, they also reduced it by 3–17% relative to untubed drones of the same mass. The findings demonstrate that tubing improves aerodynamic efficiency only under same mass constraints and is most beneficial when mechanical protection is prioritized over noise and endurance.

1. Introduction

Unmanned aerial vehicles (UAVs) are becoming increasingly popular, including those for personal use. As their numbers in the airspace grow, new challenges arise in terms of safety, efficiency, and environmental impact. Parameters such as noise level, range, flight time, and energy efficiency are particularly important, as they determine the practical usefulness of a given platform. In this study, the term tubes is used to describe simplified, lightweight tubular enclosures with rounded inlets, which differ from aerodynamically optimized ducted propulsion systems commonly discussed in the literature.
The use of new lightweight materials and manufacturing methods, such as 3D printing and advanced polymers, has also improved UAV performance characteristics by enhancing stiffness-to-weight ratios and vibration resistance [1]. Recent research also emphasizes the importance of modal analysis in understanding the dynamic properties of UAV structures made from advanced composites. Such studies enable better prediction of vibration modes, fatigue behavior, and overall structural integrity, which are crucial for ensuring reliability and optimizing lightweight designs [2]. In urban environments, total energy consumption and the weight of additional components, which affect operating costs, mission reliability, and noise emissions, are also key factors. Legal regulations that categorize drones according to takeoff weight further reinforce the importance of the ultralight class. In the European Union, the most lenient regulations apply to UAVs weighing less than 250 g. It is in this group that quadcopter designs dominate, combining simplicity of control with stability while remaining within the demanding weight restrictions.
In recent years, acoustic challenges have gained increasing attention [3,4]. Although these studies concern mechanical and hydraulic systems, the underlying phenomena of pulsating pressure waves and resonance coupling remain relevant to the noise generation mechanisms in small UAV propulsion systems. The noise generated by rotors becomes particularly bothersome in urban environments, where it can negatively affect the comfort of residents and lead to additional regulatory restrictions [5]. One of the technical solutions that may allow both for reducing noise emissions and improving propeller efficiency are tubes surrounding the rotor. They also serve a protective function, protecting the rotors from damage and reducing the risk of contact with obstacles or users. Such protective enclosures are commonly employed in indoor flight operations and in cluttered or confined environments, where the risk of collision is significantly increased.
The aim of this study is to evaluate the practical impact of introducing lightweight ducted enclosures into a standard ultralight quadcopter platform. The tubes investigated in this work are simplified, duct-inspired enclosures rather than fully optimized ducted-fan systems. This study focuses on evaluating whether the addition of such simplified tubes to a conventional quadcopter configuration leads to measurable changes in energy consumption and noise emission beyond the well-known protective function. The investigated approach reflects realistic implementation scenarios, where tubes are added to existing designs under strict mass and geometric constraints. This study therefore emphasizes system-level behavior of a complete flying platform, providing application-oriented insight into the actual benefits and limitations of tubed solutions in the sub-250 g UAV class.

2. Related Work and Background

Quadcopters are by far the most popular type of unmanned aerial vehicle in commercial applications due to their versatility and ease of control. With the popularization of these platforms, requirements are growing not only in terms of range and flight time, but also in terms of their impact on the environment—primarily noise emissions and total energy consumption. In urban environments, acoustic issues are particularly important: sound levels and spectrum determine the acceptability of operations, regulatory restrictions, and public perception [6]. Research shows that components in the 100–600 Hz range and tonal frequencies associated with the blade number (blade passage frequency, BPF) are particularly annoying to the human ear and are perceived as irritating [7,8]. Other studies have shown that drones are rated as more acoustically annoying than traditional traffic at similar sound pressure levels, which is associated with their characteristic spectrum and pulse repetition [9].
An alternative to noise reduction at the blade geometry level are toroidal propeller concepts, which have shown lower acoustic emissions in laboratory tests compared to conventional designs [10]. However, this solution is associated with problems in precise control resulting from greater mass and aerodynamic drag [11]. In addition, due to the need to use delicate and difficult to manufacture blades, propellers of this type have not yet found widespread commercial application.
A more common method of improving acoustic and aerodynamic properties is using ducts. In addition to their potential impact on noise emissions, they also serve a protective function—they reduce the risk of mechanical damage to the rotor and increase the safety of operations in urban environments [12]. The duct can further reduce noise emissions by partially shielding the rotor and disturbed airflow from the environment [13], and in some conditions also increase thrust, which translates into energy efficiency [14]. However, this effect occurs mainly at higher rotational speeds, which limits its practical significance in small drones [15].
Research shows that properly designed tubed propellers can suppress specific tonal components (e.g., BPF) and increase efficiency in selected operating ranges, but this effectiveness depends on parameters such as inlet geometry, tip clearance, and tube length [16]. Practical implementation in ultralight platforms poses a major challenge—the weight of additional components forces the use of simplified geometry, which offers only partial benefits. Most of the available work focuses on laboratory designs aimed at maximizing a single selected feature (e.g., thrust or noise reduction), rarely taking into account the weight or geometric constraints that determine real-world usability [17,18].
An additional aspect is the propulsion configuration. The use of a pusher rotor system instead of a tractor system can improve the efficiency of the propulsion system [19]. The stream of accelerated air then bypasses the arms, which reduces their resistance and can reduce energy consumption [20]. On the other hand, this configuration increases the rotor’s exposure to disturbed flow conditions, which leads to increased noise emissions and drag at higher speeds. The literature comparing pusher and tractor configurations in multi-rotor aircraft is very limited; most studies refer to propeller-driven models in unmanned airplanes [21,22]. In the case of multi-rotor drones, the main practical problem remains limited ground clearance, which complicates the installation of rotors in a pusher configuration.
Aeroacoustic testing of drones is often conducted in laboratory conditions, using test benches or dynamometers, which allows for precise control of propeller operating parameters and measurements [23]. Although this approach facilitates the analysis of the impact of individual variables (e.g., propeller diameter, rotational speed, or tube geometry), it does not fully reflect real-world conditions. During flight, additional installation effects occur—flow disturbances caused by the presence of arms, fuselage, and sensors, variable angles of attack, and interactions with neighboring rotors, as well as additional movement required to maintain position. Field studies, [24], show that the acoustic spectrum recorded in flight differs from that in stationary conditions, especially in terms of tonal components, which is important in assessing nuisance.
Measurements taken in anechoic chambers or on a dynamometer allow for repeatability and eliminate the influence of environmental conditions, but at the same time often overestimate the estimated efficiency of the drive and underestimate the noise emission level. The differences between in-flight and static measurements can reach up to several decibels in the dominant frequencies [25]. This highlights the need to supplement laboratory tests with in-flight experiments, especially if the goal is to assess acoustic perception in an urban environment.
Although previous studies have investigated the aerodynamic and acoustic benefits of using tubes, they often focus on isolated propeller assemblies or larger unmanned aerial vehicle platforms, without considering the practical limitations imposed by ultralight unmanned aerial vehicles. Furthermore, most analyses optimize tube geometry under ideal conditions, while relatively few studies undertake experimental validation on actual drones with strict weight and size constraints. The aim of this study is to fill this gap by directly evaluating the impact of lightweight tubes on acoustic emissions and energy consumption in a practical multi-rotor configuration.

3. Methods

3.1. Choosing Research Criteria

To enable a reliable comparison of the results, it was assumed that all designs should meet the following criteria:
  • Similar total weight, below 250 g;
  • Quadcopter;
  • Unchanging electronic components;
  • Unchanging power source;
  • High-efficiency drive train—BLDC motor + propeller.
Given the above assumptions and identical test conditions, any differences in the measurement results can only be attributed to the configuration of the tubes, and not to differences in weight or type of components. Ultimately, a UAV equipped with the following components was built for testing:
  • Happymodel EX1404 3500 kv BLDC motors (Quzhou city, China) with Gemfan 4024 propellers (Ningbo City, China) (4 inch or 102 mm diameter);
  • Speedybee f405 AIO flight controller (Shenzen, China);
  • Matek 3901-L0X optical flow sensor (Shanghai, China);
  • Redox 3 s 1500 mAh battery (Shenzen, China);
  • Radiomaster ELRS control equipment (Shenzen, China);
  • INAV 8.0.1 software.
All tested configurations employed identical, commercially available propellers in both tubed and untubed setups. This choice was intentional and reflects the practical scope of this study, which focuses on typical sub-250 g quadcopters rather than fully optimized tubed propulsion systems. At this scale, propellers specifically designed for tubed operation are rarely available and are not commonly used in multirotor UAVs. Even if custom-designed tube-optimized propellers were employed, they would necessarily be tailored to different motor characteristics—rotational speed, torque, and power range—introducing additional variables and preventing a controlled comparison. In such a case, it would no longer be possible to isolate the influence of the tube itself, which was the central objective of this study.
In practical applications, the weight of full-size tubes proves to be a problem. Their implementation in ultralight structures would lead to a significant increase in weight, which directly translates into a reduction in flight time—and thus a reduction in one of the key parameters that the tubes were supposed to improve, namely energy efficiency. Therefore, in this work, it was decided to use tubes reduced to the absolute minimum. The choice of a pusher configuration also made it possible to reduce the dimensions of the tube, as the geometry of the inlet is crucial for aerodynamic efficiency [26], while the outlet can be optimized to minimize weight as in Figure 1. In this configuration, the engine itself, located at the tube inlet, will move the propeller away from the inlet to the appropriate distance.
Although both tractor and pusher configurations are discussed in the literature, this study intentionally focuses on a pusher arrangement for all tubed configurations. The choice was driven by strict mass and size constraints characteristic of ultralight UAVs. The pusher configuration enables a more compact tube geometry by placing the motor at the inlet, effectively shifting the propeller plane downstream without extending the tube length. This approach minimizes total structural mass while maintaining acceptable aerodynamic performance. Consequently, tractor configurations were not experimentally evaluated, as the objective was not to compare propulsion layouts, but to assess the practical impact of adding lightweight tubes to a conventional sub-250 g quadcopter.

3.2. Tested Configurations

In order to prepare the structure, a detailed 3D model was created in CAD software (OnShape), as shown in Figure 2, which was then used to manufacture the components using FDM 3D printing on Anycubic Kobra S1. All structural components of the drone were made of PLA+ material, which allowed for a favorable compromise between stiffness and weight. Ultimately, the platform with tubes reached dimensions of 235 × 235 mm while achieving a weight of approximately 240 ± 2 g for each configuration, while the structure without tubes and additional weight weighed 200 g, which means a difference of about 20% in weight.
Ten UAV configurations with identical frames and components were tested. The configurations differed only in the presence of propeller tubes and, in one case, in total mass. Among the nine configurations with a take-off weight of 240 g, one had no tubes, while eight featured tubed propellers with various geometric parameters. An additional reference configuration without tubes, weighing 200 g, was also tested for comparison. The detailed configurations are listed in Table 1.
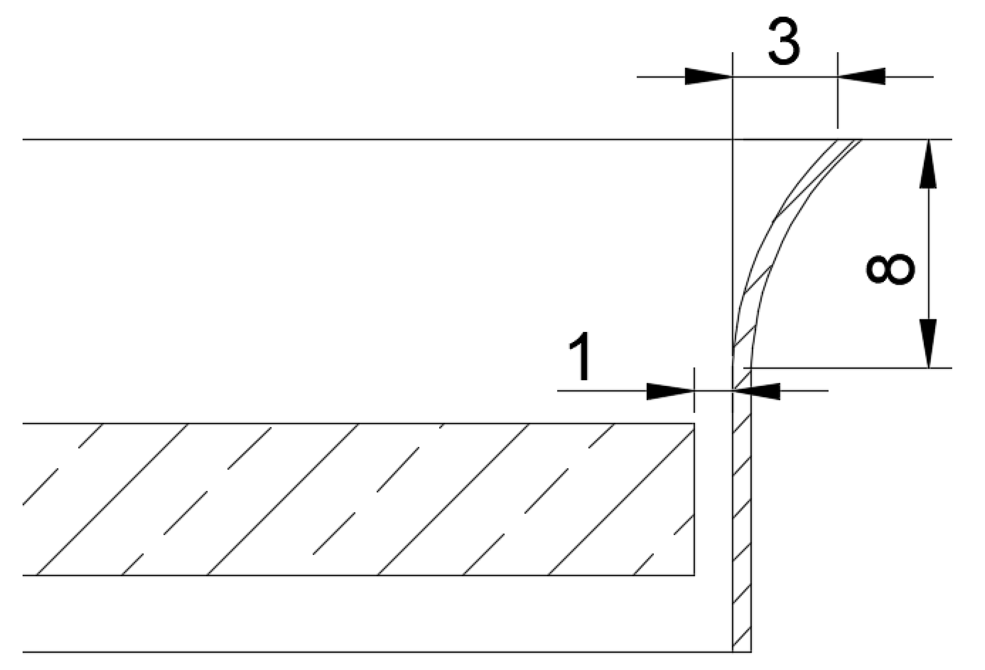
The tube designs were selected so that the first parameter indicates the tip clearance, the second parameter defines the radial distance between the propeller tip path and the internal tube wall, i.e., the additional radial offset that determines the maximum internal inlet diameter of the tube, and the third parameter defines the axial extent of the inlet rounding, i.e., the distance between the lower rounded edge and the upper edge, as shown in Figure 3. The propeller rotation plane was located 20 mm downstream from the tube inlet in all configurations, corresponding to 39.4% of the propeller radius, while the tube outlet was positioned 4 mm downstream of the propeller plane, corresponding to 7.9% of the propeller radius. A simplified geometry of the roundings was chosen, especially in the outlet section, due to space and mass limitations; no significant differences resulting from different shapes of the roundings in the inlets were found in similar studies. The design of the tested tubes considered the key geometric parameters commonly identified in tubed-rotor research, namely tip clearance, tube area ratio, and inlet geometry. Tip clearance was treated as an explicit experimental variable and investigated at two values of 1.0 mm and 1.5 mm, corresponding to approximately 2% and 3% of the propeller radius. Smaller clearances were experimentally excluded due to mechanical interference between the propeller and the tube, making them impractical for reliable operation at this scale.
The tube area ratio was maintained within a comparable range across all tested configurations, varying from approximately 104% to 112% relative to the propeller disk area. The area ratio was defined as the ratio of the effective tube inlet area to the propeller disk area, accounting for the propeller radius, tip clearance, and inlet wall thickness. This approach allowed the influence of local geometric features, such as inlet rounding and axial extent, to be investigated while avoiding additional mass penalties associated with increasing the overall tube diameter, which is a critical constraint in sub-250 g UAV designs.
The inlet geometry was intentionally simplified and implemented as rounded edges rather than analytically optimized airfoil profiles. At the scale considered in this study, low Reynolds numbers, surface roughness, and manufacturing tolerances inherent to FDM 3D printing significantly limit the practical benefits of highly optimized inlet geometries. Moreover, the primary objective of this work was not to develop an aerodynamically optimal tube, but to evaluate whether the addition of lightweight, minimally sized tubes to a conventional sub-250 g quadcopter—using standard propulsion components—provides measurable energetic or acoustic benefits beyond the protective function. The adopted inlet geometry therefore represents a realistic and application-oriented compromise while still preserving the dominant flow features relevant to the investigated phenomena.

3.3. Test Conditions

The experiments were conducted in the reverberation room at the Wrocław University of Science and Technology, designed to minimize background noise and control reflections. This chamber allows for repeatable measurements of airborne noise with minimal external interference. Based on ANSI S1.21-1972 [27], the chamber provides stable and repeatable conditions suitable for comparative studies. Measurement points were determined by a team of acoustic experts who assessed the chamber’s suitability for airborne noise experiments.
Four microphones were positioned at specifically designated points in the diffuse field of the chamber (Figure 4). Three of them were arranged in a line approximately 1 m from the hovering drone, which was maintained at a height of ~1 m above the ground to reduce in ground effect, but low enough to still use optical flow positioning. The fourth microphone was placed 1 m behind the central microphone along the same line. This configuration allows for averaging over the diffuse field, reducing the influence of the quadcopter’s directional radiation pattern on the measured sound power, in line with the approach discussed by Zamponi et al. [28]. The UAV was oriented with its front facing the reference microphone, and all measurements were averaged across the four microphones.
Sound measurements lasted 10 s, during which the drone maintained a stable position with the assistance of an optical flow sensor, reducing drift and orientation changes that could affect the acoustic results Signals were sampled at 131 kS/s, exceeding the Nyquist requirement by more than a factor of 10 to ensure accurate amplitude spectra across the full frequency range. Although measurements were performed for the full audible spectrum (10–20,000 Hz), further acoustic analysis was conducted in octave bands between 125 and 8000 Hz. In reverberant conditions, narrowband tonal components are blurred due to reflections; thus, the use of one-third and octave bands provides a reliable representation of overall sound energy. Additionally, the sound power calibrations were performed in these bands, ensuring repeatable and comparable results for different UAV configurations. Prior to the measurement series, the equipment was calibrated using a pistonphone (see instrument data in Figure 4).
Energy consumption measurements were performed directly on the drone—the device recorded the current and voltage values via a blackbox, and the data was later read using Blackbox Decoder software (Blackbox tools 0.4.3). The power consumption measurement also lasted 10 s, with simultaneous recording of the acoustics. A power consumption graph was created from the collected data, from which the average energy consumption of the drone was calculated. Thanks to simultaneous measurements, it is possible to directly compare noise levels and energy consumption under the same operating conditions.

4. Experimental Results

4.1. Sound Level and Frequency

The recorded acoustic data were used to determine the sound power levels in the range of 125–8000 Hz for each tested configuration (Figure 5). Analysis of the results indicates that for configurations with tubes (at the same take-off weight of 240 g), there is an increase in the overall sound power level.
Further examination of the octave-band acoustic pressure levels (Figure 6 and Figure 7) shows that the 240 g UAV without tubes exhibits a dominant contribution in the 500 Hz octave. It should be noted that octave-band spectra do not resolve narrowband tonal components; therefore, this analysis focuses on comparing the total energy within each octave band rather than individual tones. All tubed configurations, however, result in a significant increase in high-frequency noise (4000 Hz and 8000 Hz octaves), corresponding to aeroacoustic noise, which strongly influences the overall sound power level.
Due to 200 g UAV without tubes lower mass and, consequently, reduced rotor speed, it exhibits a dominant contribution in the 250 Hz octave rather than the 500 Hz octave observed for the 240 g configuration. Low-frequency components (250 Hz and 500 Hz octaves) are particularly annoying to the human ear and are perceived as irritating. Additionally, the lower mass of this configuration (20% lighter) results in a markedly the lowest overall sound power level. This approach is appropriate for evaluating the overall acoustic impact of the different UAV configurations.

4.2. Power Efficiency

During the tests, power consumption during flight was determined by recording the average power over 10-s periods of stable operation (Figure 8). The drone without tubes and without additional weight (200 g) showed power consumption of 25.5 W (Figure 9). In contrast, the variant with increased weight (240 g, also without tubes) consumed an average of 36 W, which is an increase of approximately 42% compared to the lighter configuration (no tubes—200 g) (Figure 10). In the case of drones with tubes, the lowest average power consumption was observed in both tested tip clearances in the #×3 × 3 configuration (corresponding to the 3 × 3 lip geometry). Compared to the 200 g drone, this value was about 18% higher (despite a 20% increase in weight), while compared to the 240 g drone without tubes, it was about 17% lower. The highest energy consumption was recorded in the 3 × 8 and 1 × 1 lip geometries (for both tip clearances), suggesting that an excessively long, narrowing channel does not improve efficiency compared to a non-extended narrowing, and that minimal rounding provides only a limited improvement. In addition, tubes with a 1 mm gap from the propeller performed significantly worse, suggesting the appearance of minimal friction, or due to the scale of the tubes, losses resulting from fluid viscosity. The results are summarized in Figure 9.

5. Discussion

The experiments clearly demonstrated the practical implications of using tubed propellers in ultralight quadcopters from both energetic and acoustic perspectives. The comparison of sound power level and electrical power consumption for all tested configurations is presented side by side in Figure 11. Compared to the untubed, lighter (200 g) baseline configuration, the installation of tubes resulted in an increase in sound pressure level of approximately 5–6.5 dB. When compared to an untubed configuration with the same total mass as the tubed variants, the noise increase remained noticeable at around 3–4.5 dB (Figure 5). The noise spectrum also shifted significantly towards higher frequencies (Figure 6 and Figure 7). Tubed configurations exhibited higher dominant frequencies, which is particularly relevant for human perception and noise annoyance in urban environments. This increase is not only due to the higher thrust required to carry the additional tube mass but also to edge-related aerodynamic phenomena around the tube, which shift the tonal content upward. This effect could likely be mitigated through surface smoothing or post-processing of 3D-printed tubes to reduce boundary irregularities.
The results obtained in this study are consistent with prior findings indicating that propeller–tube interaction strongly depends on geometric compatibility [29]. In contrast to studies focused on fully optimized tubed propulsion systems, the present work intentionally evaluates standard open-rotor propellers operating inside lightweight tubes, reflecting realistic ultralight UAV implementations rather than idealized configurations. From an energetic standpoint, the results show that tubed configurations increased average in-flight power consumption by 18–37% compared to the lightest untubed (200 g) variant. However, when compared to an untubed configuration of the same total mass (240 g), the tubes provided energy savings in the range of 3–17% (Figure 10), which aligns with trends reported in the literature. Many previous studies do not account for the mass of the tubes themselves, leading to the simplified conclusion that tubes inherently improve efficiency. In practice, this additional mass often negates the potential energy benefit, which explains why fully tubed drones are rare in commercial applications. Manufacturers typically prioritize flight time, simplicity, and low mass, as a result, the benefits of tubing appear primarily when propeller protection or operation in cluttered environments is required, and when there is sufficient mass budget available.
The results for different tube geometries revealed clear design-dependent trends. The 1 × 3 × 3 and 1.5 × 3 × 3 configurations achieved the best energy–acoustic trade-off, with the smallest noise increase and the most favorable power balance. In contrast, tubes with longer narrowing channels (3 × 8) or minimal inlet rounding (1 × 1) performed the worst, suggesting that excessive length or overly tight curvature increases aerodynamic losses and unfavorable acoustic effects. In practical terms, short, moderately rounded tubes offer the best compromise.
The inferior performance of 1 mm tip clearance compared to 1.5 mm can be explained by several flow mechanisms near the blade tip. A very narrow gap increases viscous losses, leading to higher friction and local energy dissipation, which become significant at small scales and low Reynolds numbers. Moreover, a minimal clearance increases the risk of blade–tube contact or near-contact during deformation and vibration, adding further losses. Tight gaps can also amplify tip leakage vortices and induce flow separation near the blade tip, which reduces effective lift. For these reasons, a slightly larger clearance is preferable in practical designs, offering a better balance between reduced leakage and minimized viscous and mechanical losses.
From an application perspective, tubed configurations are only advantageous when a mass budget is available and the primary design goal involves mechanical or operational protection, rather than pure endurance. If maximum energy efficiency is the sole criterion under strict mass constraints, adding tubes is typically not worthwhile.

6. Conclusions

This work provides one of the first physical experimental comparisons between tubed and untubed drones in the sub-250 g UAV class. Unlike most previous studies, which rely primarily on numerical simulations or static thrust stand measurements, this paper evaluates real flying prototypes, assessing both energy consumption and acoustic emissions under comparable flight conditions. The experiments reveal several key insights into the applicability of tubed configuration for ultralight multirotors. Two main conclusions can be drawn from the presented results:
  • Noise: Tubed configurations are consistently louder than their untubed counterparts, regardless of whether the comparison is made against a lighter platform or one with the same overall mass. The tubes not only increase the overall sound pressure level by approximately 3–6.5 dB but also shift the frequency spectrum toward higher frequencies, which is particularly relevant for urban noise perception.
  • Energy consumption: Tubes can improve overall system efficiency in hover, but this effect is only observed when comparing configurations of equal total mass. When the tubed UAV is compared to a lighter, untubed version, the additional weight of the tubes leads to a significant increase in power consumption—in some cases, by as much as 18–37%. This highlights the importance of including the mass penalty of the tubes in any meaningful performance evaluation. Tests limited to static thrust measurements can therefore be misleading, as they ignore the additional power required to sustain flight with the extra weight.
Overall, the use of tubes in ultralight UAVs is generally not beneficial if the primary design goals are minimizing noise and energy consumption. Their use may be justified mainly when mechanical protection or operation in constrained environments is prioritized over endurance and acoustic performance. For future work, it is recommended to:
  • Investigate aerodynamically optimized but ultra-lightweight tube designs, since the most efficient aerodynamic geometries are typically large and heavy, making them impractical for UAVs.
  • Focus on minimizing tube size and weight rather than maximizing aerodynamic performance alone.
  • Evaluate tubes within specific application scenarios, where their protective benefits may outweigh the efficiency losses.
  • Explore alternative control strategies and more advanced flight conditions to further understand their impact on real-world performance.

Author Contributions

Conceptualization, M.W., P.B. and A.K.; methodology, M.W. and P.B.; software, M.W.; formal analysis, M.W. and P.B.; investigation, M.W. and P.B.; resources M.W.; data curation, M.W. and P.B.; writing—original draft preparation, M.W. and P.B.; writing—review and editing, M.W., P.B. and A.K.; visualization, M.W. and P.B.; supervision, A.K. All authors have read and agreed to the published version of the manuscript.

Funding

This research received no external funding.

Data Availability Statement

Dataset available on request from the authors.

Conflicts of Interest

The authors declare no conflicts of interest.

References

  1. Karpenko, M.; Stosiak, M.; Deptuła, A.; Urbanowicz, K.; Nugaras, J.; Królczyk, G.; Żak, K. Performance Evaluation of Extruded Polystyrene Foam for Aerospace Engineering Applications Using Frequency Analyses. Int. J. Adv. Manuf. Technol. 2023, 126, 5515–5526. [Google Scholar] [CrossRef]
  2. Milewski, M.; Wróbel, J.; Kierzkowski, A.; Vališ, D. Experimental and Numerical Modal Analysis of an Unmanned Aerial Vehicle’s Composite Wing. Simul. Model. Pract. Theory 2025, 142, 103106. [Google Scholar] [CrossRef]
  3. Stosiak, M.; Yatskiv, I.; Prentkovskis, O.; Karpenko, M. Reduction of Pressure Pulsations over a Wide Frequency Range in Hydrostatic Systems. Machines 2025, 13, 25. [Google Scholar] [CrossRef]
  4. Fiebig, W.; Wrobel, J.; Cependa, P. Transmission of Fluid Borne Noise in the Reservoir. In Proceedings of the BATH/ASME 2018 Symposium on Fluid Power and Motion Control, FPMC 2018, Bath, UK, 12–14 September 2018. [Google Scholar] [CrossRef]
  5. Fasulo, G.; Longobardo, G.; De Gregorio, F.; Barbarino, M. Experimental Acoustic Investigation of Rotor Noise Directivity and Decay in Multiple Configurations. Aerospace 2025, 12, 647. [Google Scholar] [CrossRef]
  6. Schäffer, B.; Pieren, R.; Heutschi, K.; Wunderli, J.M.; Becker, S. Drone Noise Emission Characteristics and Noise Effects on Humans—A Systematic Review. Int. J. Environ. Res. Public Health 2021, 18, 5940. [Google Scholar] [CrossRef] [PubMed]
  7. Casagrande Hirono, F.; Robertson, J.; Torija Martinez, A.J. Acoustic and Psychoacoustic Characterisation of Small-Scale Contra-Rotating Propellers. J. Sound. Vib. 2024, 569, 117971. [Google Scholar] [CrossRef]
  8. Danilevičius, A.; Danilevičienė, I.; Karpenko, M.; Stosiak, M.; Skačkauskas, P. Determination of the Instantaneous Noise Level Using a Discrete Road Traffic Flow Method. Promet—Traffic Transp. 2025, 37, 71–85. [Google Scholar] [CrossRef]
  9. Christian, A.; Cabell, R. Initial Investigation into the Psychoacoustic Properties of Small Unmanned Aerial System Noise. In Proceedings of the 23rd AIAA/CEAS Aeroacoustics Conference, Denver, Colorado, 5–9 June 2017. [Google Scholar] [CrossRef]
  10. Wei, W.; Ma, Y.; Wei, S.; Wang, D.; Guo, M.; Yan, Q. Analysis and Evaluation of Aerodynamic Noise Characteristics of Toroidal Propeller. Drones 2024, 8, 753. [Google Scholar] [CrossRef]
  11. Terekhova, M.V.; Alekseev, A.A. Comparison of Performance Characteristics of Classic and Toroidal Blades. AIP Conf. Proc. 2025, 3205, 080004. [Google Scholar] [CrossRef]
  12. Rodrigues, S. Design, 3D Printing, and Testing of Propeller Guards for Advanced Aerial Drones. Bachelor’s Thesis, Toronto Metropolitan University, Toronto, ON, Canada, 2025. [Google Scholar] [CrossRef]
  13. Kumbhar, R.; Thombare, D.; Khadake, A.; Wadhwani, M.; Pawar, V.; Deshpande, P. Noise Reduction in Drones Using Silent Electric Ducted Fan. In Proceedings of the 3rd International Conference on Automation, Computing and Renewable Systems, ICACRS 2024, Pudukkottai, India, 4–6 December 2024; pp. 155–161. [Google Scholar] [CrossRef]
  14. Abrego, A.I.; Bulaga, R.W.; Rutkowski, M. Performance Study of a Ducted Fan System. In Proceedings of the American Helicopter Society Aerodynamics, Acoustics, and Test and Evaluation Technical Specialists Meeting, San Francisco, CA, USA, 23–25 January 2002. [Google Scholar]
  15. Koç, S.; Yilmaz, S.; Erdem, D. Experimental Investigation of a Ducted Propeller. In Proceedings of the 4th European Conference for Aerospace Sciences (EUCASS), Saint Petersburg, Russia, 4–8 July 2011. [Google Scholar]
  16. Kulbay, M. Attenuation of Fan Noise with Passive Methods: An Experimental Study in the Implementation of a Ducted Fan inside the Body of a Blended Wing Body UAV. Bachelor’s Thesis, KTH Royal Institute of Technology, Stockholm, Sweden, 2021. [Google Scholar]
  17. Zhang, T.; Barakos, G.N. High-Fidelity Numerical Analysis and Optimisation of Ducted Propeller Aerodynamics and Acoustics. Aerosp. Sci. Technol. 2021, 113, 106708. [Google Scholar] [CrossRef]
  18. Li, Y.; Yonezawa, K.; Liu, H. Effect of Ducted Multi-Propeller Configuration on Aerodynamic Performance in Quadrotor Drone. Drones 2021, 5, 101. [Google Scholar] [CrossRef]
  19. Sharma, P.; Atkins, E. Experimental Investigation of Tractor and Pusher Hexacopter Performance. J. Aircr. 2019, 56, 1920–1934. [Google Scholar] [CrossRef]
  20. Nguyen, T.T.; Van Vu, D.; Mai, S.X.; Thanh Nguyen, D. An Energy-Effective Altitude Controller of a Pusher-Type Hybrid UAV in Transition Phases. In Proceedings of the 2022 International Electrical Engineering Congress, iEECON 2022, Khon Kaen, Thailand, 9–11 March 2022. [Google Scholar] [CrossRef]
  21. Goyal, J.; Sinnige, T.; Avallone, F.; Ferreira, C. Aerodynamic and Aeroacoustic Characteristics of an Isolated Propeller at Positive and Negative Thrust. In Proceedings of the AIAA AVIATION 2021 Forum, Virtual, 2–6 August 2021. [Google Scholar] [CrossRef]
  22. Drofelnik, J.; Andrejašič, M.; Močan, B.; Kosel, T.; Christophe, J.; Dominique, J.; Schram, C.; Hajczak, A.; Stoica, C.; Balasa, R.; et al. Measurement and Modelling of Aero-Acoustic Installation Effects in Tractor and Pusher Propeller Architectures. In Proceedings of the AIAA Aviation and Aeronautics Forum and Exposition, AIAA AVIATION Forum 2021, Virtual, 2–6 August 2021. [Google Scholar] [CrossRef]
  23. Doolan, C.; Yauwenas, Y.; Moreau, D. Drone Propeller Noise Under Static and Steady Inflow Conditions. In Flinovia-Flow Induced Noise and Vibration Issues and Aspects-III; Springer: Cham, Switzerland, 2021; pp. 45–60. [Google Scholar] [CrossRef]
  24. Ramos-Romero, C.; Green, N.; Torija, A.J.; Asensio, C. On-Field Noise Measurements and Acoustic Characterisation of Multi-Rotor Small Unmanned Aerial Systems. Aerosp. Sci. Technol. 2023, 141, 108537. [Google Scholar] [CrossRef]
  25. Zhou, T.; Jiang, H.; Huang, B. Quad-Copter Noise Measurements under Realistic Flight Conditions. Aerosp. Sci. Technol. 2022, 124, 107542. [Google Scholar] [CrossRef]
  26. Liu, P.; Shiomi, N.; Kinoue, Y.; Jin, Y.Z.; Setoguchi, T. Effect of Inlet Geometry on Fan Performance and Flow Field in a Half-Ducted Propeller Fan. Int. J. Rotating Mach. 2012, 2012, 463585. [Google Scholar] [CrossRef]
  27. ANSI S1.21-1972; Methods for the Determination of Sound Power Levels of Small Sources in Reverberation Rooms. American National Standards Institute (ANSI): Washington, DC, USA, 1972.
  28. Zamponi, R.; Torrione, G.G.; Zůbek, V.; Gallo, E.; Zarri, A.; Schram, C. Maneuvering drone noise investigation in a reverberant environment. J. Acoust. Soc. Am. 2025, 157, 4468–4481. [Google Scholar] [CrossRef] [PubMed]
  29. Zhang, H.; Li, B.; Li, B.; Yang, C. Influence of Propeller Parameters on the Aerodynamic Performance of Shrouded Coaxial Dual Rotors in Hover. Aerospace 2023, 10, 859. [Google Scholar] [CrossRef]
Figure 1. Comparison of pusher (left) and tractor (right) configurations.
Figure 1. Comparison of pusher (left) and tractor (right) configurations.
Aerospace 13 00182 g001
Figure 2. Completed 3D CAD model of the tested quadcopter.
Figure 2. Completed 3D CAD model of the tested quadcopter.
Aerospace 13 00182 g002
Figure 3. Definition of tube markings on 1 × 3 × 8 tube.
Figure 3. Definition of tube markings on 1 × 3 × 8 tube.
Aerospace 13 00182 g003
Figure 4. Reverberation room (RR) configuration. OB—test object (drone), MC—condenser microphones with preamplifiers, B&K Type 4165 + 2639, DAQ—data acquisition system, B&K Type 3050-A-040, CAL—acoustic calibrator (pistonphone), B&K Type 4220, PC—Personal Computer.
Figure 4. Reverberation room (RR) configuration. OB—test object (drone), MC—condenser microphones with preamplifiers, B&K Type 4165 + 2639, DAQ—data acquisition system, B&K Type 3050-A-040, CAL—acoustic calibrator (pistonphone), B&K Type 4220, PC—Personal Computer.
Aerospace 13 00182 g004
Figure 5. Sound power levels of the UAV within the 125 Hz–8 kHz frequency range for the tested configurations.
Figure 5. Sound power levels of the UAV within the 125 Hz–8 kHz frequency range for the tested configurations.
Aerospace 13 00182 g005
Figure 6. Octave-band spectrum of the UAV’s acoustic pressure for the tested configurations—bar plot representations.
Figure 6. Octave-band spectrum of the UAV’s acoustic pressure for the tested configurations—bar plot representations.
Aerospace 13 00182 g006
Figure 7. Octave-band spectrum of the UAV’s acoustic pressure for the tested configurations—step plot representations.
Figure 7. Octave-band spectrum of the UAV’s acoustic pressure for the tested configurations—step plot representations.
Aerospace 13 00182 g007
Figure 8. Power consumption of all UAV configurations during a 10-s hover.
Figure 8. Power consumption of all UAV configurations during a 10-s hover.
Aerospace 13 00182 g008
Figure 9. Mean power consumption for all drone types.
Figure 9. Mean power consumption for all drone types.
Aerospace 13 00182 g009
Figure 10. Mean power consumption difference for all drone types relative to the 240 g no-tube configuration.
Figure 10. Mean power consumption difference for all drone types relative to the 240 g no-tube configuration.
Aerospace 13 00182 g010
Figure 11. Comparison of sound power level and mean power consumption for the tested UAV configurations.
Figure 11. Comparison of sound power level and mean power consumption for the tested UAV configurations.
Aerospace 13 00182 g011
Table 1. UAV configurations tested.
Table 1. UAV configurations tested.
No.TubesWeight [g]Designation
1No240no tubes—240 g
2Yes2401 × 1 × 1—240 g
31 × 2 × 2—240 g
41 × 3 × 3—240 g
51 × 3 × 8—240 g
6Yes2401.5 × 1 × 1—240 g
71.5 × 2 × 2—240 g
81.5 × 3 × 3—240 g
91.5 × 3 × 8—240 g
10No200no tubes—200 g
Disclaimer/Publisher’s Note: The statements, opinions and data contained in all publications are solely those of the individual author(s) and contributor(s) and not of MDPI and/or the editor(s). MDPI and/or the editor(s) disclaim responsibility for any injury to people or property resulting from any ideas, methods, instructions or products referred to in the content.

Share and Cite

MDPI and ACS Style

Woźniak, M.; Bury, P.; Kierzkowski, A. Experimental Evaluation of Energy Consumption and Acoustic Emissions in Sub-250 g Quadcopters with Added Tubular Propeller Enclosures. Aerospace 2026, 13, 182. https://doi.org/10.3390/aerospace13020182

AMA Style

Woźniak M, Bury P, Kierzkowski A. Experimental Evaluation of Energy Consumption and Acoustic Emissions in Sub-250 g Quadcopters with Added Tubular Propeller Enclosures. Aerospace. 2026; 13(2):182. https://doi.org/10.3390/aerospace13020182

Chicago/Turabian Style

Woźniak, Mateusz, Paweł Bury, and Artur Kierzkowski. 2026. "Experimental Evaluation of Energy Consumption and Acoustic Emissions in Sub-250 g Quadcopters with Added Tubular Propeller Enclosures" Aerospace 13, no. 2: 182. https://doi.org/10.3390/aerospace13020182

APA Style

Woźniak, M., Bury, P., & Kierzkowski, A. (2026). Experimental Evaluation of Energy Consumption and Acoustic Emissions in Sub-250 g Quadcopters with Added Tubular Propeller Enclosures. Aerospace, 13(2), 182. https://doi.org/10.3390/aerospace13020182

Note that from the first issue of 2016, this journal uses article numbers instead of page numbers. See further details here.

Article Metrics

Back to TopTop