Next Article in Journal
A Hybrid EMD-ICA-DLinear Multi-View Representation Model for Accurate Satellite Orbit Prediction in Space
Previous Article in Journal
A Sample Average Approximation Approach for Aircraft Product Configuration Optimization with Customer Order Uncertainty
 
 
Font Type:
Arial Georgia Verdana
Font Size:
Aa Aa Aa
Line Spacing:
Column Width:
Background:
Article

SAC-Based Intelligent Load Relief Attitude Control Method for Launch Vehicles

College of Aerospace Science and Engineering, National University of Defense Technology, Changsha 410073, China
*
Author to whom correspondence should be addressed.
Aerospace 2025, 12(3), 203; https://doi.org/10.3390/aerospace12030203
Submission received: 7 February 2025 / Revised: 25 February 2025 / Accepted: 27 February 2025 / Published: 28 February 2025
(This article belongs to the Section Aeronautics)

Abstract

This paper proposes an intelligent control method based on Soft Actor-Critic (SAC) to address uncertainties faced by flight vehicles during flight. The method effectively reduces aerodynamic loads and enhances the reliability of structural strength under significant wind disturbances. A specific launch vehicle is taken as the research subject, and its dynamic model is established. A deep reinforcement learning (DRL) framework suitable for the attitude control problem is constructed, along with a corresponding training environment. A segmented reward function is designed: the initial stage emphasizes tracking accuracy, the middle stage, with a detrimental effect due to the high-altitude wind region, focuses on load relief, and the final stage gradually resumes following tracking accuracy on the basis of maintaining the effect of load relief. The reward function dynamically switches between stages using a time factor. The improved SAC algorithm is employed to train the agent over multiple epochs, ultimately resulting in an intelligent load relief attitude controller applicable to the launch vehicle. Simulation experiments demonstrate that this method effectively solves the attitude control problem under random wind disturbances, particularly reducing the aerodynamic loads of launch vehicles in the high-altitude wind region.

1. Introduction

The evolution of flight vehicles, from simple flying tools at the early stage, such as hot air balloons and kites, to the Wright brothers’ powered and controlled flight vehicle in 1903, and now to modern jet aircraft, drones, and electric vertical takeoff and landing (eVTOL) vehicles, has undergone leapfrog development from non-existence to existence, from simplicity to complexity, and from manned to unmanned systems. Along with the continuous advancement of technology, the control of flight vehicles has also encountered new opportunities and challenges for development.
Currently, research on the control technology for flight vehicles exhibits a trend of deep multidimensional and cross-disciplinary development. In the aviation domain, with the increasing demand for systematic and collaborative operations of aviation support systems, networking, systematization, and intelligence have become significant development directions for navigation, guidance, and control technologies [1]. Research focuses include supporting new operational concepts, high-precision autonomous navigation, the multi-body cooperative control of aircraft, the development of new-generation core components, and a unified control and management architecture for next-generation aircraft. For instance, hot research topics involve swarm formation strategies for drones based on improved consensus algorithms and formation control algorithms considering the maneuverability constraints of drones. In the aerospace domain, the control technology of flight vehicles for space entry becomes the key research challenge. Nations are actively studying advanced technologies for unrestricted space access, enhanced space control, and Earth-space round trips to improve spacecraft performance and mission capabilities. Space-faring nations such as the United States have achieved significant progress in flight verification for reusable orbital test vehicles, transitioning from ground-supported space shuttle control to unmanned orbital transfer and autonomous return navigation, guidance, and control. Russia and the European Space Agency (ESA) are also advancing their aerospace vehicle programs, such as Russia’s Multifunctional Aerospace System (MAKS) and ESA’s Intermediate eXperimental Vehicle (IXV) [2]. These developments reflect not only the cutting-edge, foundational, and integrative nature of aerospace vehicle control technology but also the intense competition among nations in the aerospace domain.
As we all know, launch vehicles often traverse dense atmospheres during their ascent phase and are subject to the influence of the high-altitude wind region, leading to the formation of a significant aerodynamic angle of attack and, consequently, a large additional bending moment. This significantly impacts stability during flight, posing a considerable disadvantage for launch vehicles during their ascent phase. Therefore, in the face of strong wind interference, it is particularly crucial to achieve effective load relief.
In general, load relief control for launch vehicles can be broadly classified into two categories: ballistic correction compensation and active load relief control [3]. Ballistic correction compensation requires accurate wind field information obtained before launch, which is then introduced into the control system to offset the effects of wind angles of attack. Reference [4] designed a precise wind load model with the Ariane launch vehicle as the research subject, improving the effect of load relief. However, such methods heavily rely on the accuracy of the pre-programmed wind field information, lacking sufficient adaptability and generalization to random wind interference. Therefore, active load relief technology has become the most prevalent approach currently. Active load relief technology involves the real-time measurement or calculation of angle of attack information, incorporating load relief control compensation into the control system design and enabling the launch vehicle to fly toward the direction of the incoming airflow when encountering the high-altitude wind region, thereby reducing the aerodynamic load. Reference [5] adopted the active disturbance rejection control technology on the active load relief control system, which possessed stronger anti-interference capabilities. However, most of the existing research on active load relief control is based on online load feedback. The biggest challenge faced by this technique is how to balance tracking accuracy, system stability, and load relief in the face of random wind disturbances. Therefore, there is an urgent need to explore a load relief control method for launch vehicles that can effectively solve this problem.
In recent years, the rapid development of artificial intelligence (AI) has provided a new breakthrough for achieving autonomous flight for vehicles in uncertain environments. Especially in the domain of drone control, AI theories and technologies have been widely applied and developed. For example, Reddy [6] proposed a glider flight control method using real flight data to train reinforcement learning agents for autonomous navigation strategies. Chai [7] introduced a collaborative framework for trajectory planning and attitude control, designing a two-layer structure with non-sensitive trajectory optimization and attitude control based on deep neural networks. Xu [8] proposed a hybrid unmanned aerial vehicle (UAV) control system using convolutional neural networks based on the input error. Kaufmann [9] combined convolutional neural networks and advanced path planning to enable quadrotor drones to autonomously fly in complex environments. Belkhale [10] employed meta-learning to rapidly establish control system models for aircraft with unknown payloads based on data from the first few seconds of flight, ensuring safe operation. Reference [11] implemented an incremental approximate dynamic programming controller for the nonlinear adaptive flight control of Citation II aircraft. Reference [12] proposed a neural network-based integral backstepping sliding mode control method for unmanned helicopters, addressing issues of input saturation, external disturbances, and uncertainties.
With the development of reinforcement learning (RL), the technology has been increasingly applied to the control of flight vehicles due to its excellent performance in complex tasks. For instance, to address the difficulty of dynamically tuning PID parameters and reliance on control models, reference [13] introduced a methodology that combines traditional PID control with Deep Q-Network (DQN) to facilitate automated landing control of UAVs onto a designated landing zone. Despite RL’s adaptability to uncertainties in the control of flight vehicles, most feature states require manual design, making it difficult to find suitable representations in a complex environment with high-dimensional data and leading to the curse of dimensionality. General RL also faces limitations, as most action and state spaces are discrete, while the control of flight vehicles typically involves continuous spaces.
As is known, RL focuses on Markov decision processes, generating optimal global strategies through interactions between the agent and the controlled object, while deep learning focuses on the functional mapping of data [14]. Combining both advantages, DRL is well suited for solving continuous control problems, providing a feasible pathway for intelligent control. To date, DRL has been widely applied to missile guidance [15,16], UAV trajectory tracking [17], and deep space probe autonomous navigation [18], but research specifically addressing the pure altitude control problem of flight vehicles remains limited. References [19,20] respectively utilized Proximal Policy Optimization (PPO) and Twin Delayed Deep Deterministic Policy Gradient (TD3) to design adaptive continuous attitude control methods for satellites, achieving the autonomous control of on-orbit satellites. Reference [21] designed an attitude controller for tilt-rotor UAVs based on PPO, effectively addressing strong nonlinearities caused by complex aerodynamic changes during flight.
SAC is one of the DRL algorithms based on a stochastic policy, and it enhances the robustness of policy optimization by introducing entropy. The effectiveness of the SAC algorithm has been verified in some applications of automatic control systems. Reference [22] developed an autonomous aerial combat strategy for UAVs based on the SAC algorithm, enabling UAVs to autonomously analyze aerial combat situations. Reference [23] proposed an autonomous path planning method for multi-arm robots based on the SAC algorithm in response to the complex terrain environment within the working area. Reference [24] designed navigation and control methods for autonomous underwater vehicles using the SAC algorithm, addressing the characteristics of complex external disturbances in the marine environment. The above references prove that the SAC algorithm has adopted effective strategies to overcome environmental randomness and achieved the desired results.
This study focuses on the application of DRL to the attitude control problem of launch vehicles during the ascent phase. Using a specific launch vehicle as the research subject, its dynamic model was established, and the attitude control problem was described as a Markov Decision Process (MDP). A DRL training environment suitable for the problem was constructed based on the training scenario of load relief in the high-altitude wind region. Appropriate flight state parameters were selected as inputs of the agent, and action commands of the actuator were chosen as outputs. A segmented reward function was designed based on control objectives at different stages, allowing the agent to iteratively learn optimal control strategies through interactions with the environment. Using the SAC algorithm, the agent underwent multiple rounds of training, ultimately producing an intelligent load relief attitude controller.
The main contributions and innovations of this study are summarized as follows:
  • Application of the improved SAC algorithm to pure attitude control: The use of the proposed DRL algorithm addresses the limitations of traditional control methods in handling uncertain disturbances.
  • Effective relief of aerodynamic loads in the high-altitude wind region: By successfully achieving load relief, this study significantly improves the structural strength reliability and the payload capacity of the launch vehicle.
  • Segmented reward function design for different control objectives: This study resolves the trade-off between attitude tracking accuracy and load relief performance.

2. Dynamics Model of the Launch Vehicle

The research subject under this study is a heavy-lift vertical takeoff and landing launch vehicle developed in the United States, which has a slender body structure. The reason for selecting this particular model as the research subject is that its slender structure is prone to aerodynamic instability due to large aerodynamic bending moments when passing through the high-altitude wind region during the ascent phase. Thus, the relief of aerodynamic load must be considered in the process of controller design.
Here, a series of reasonable assumptions are made, as follows:
Assumption 1.
The launch vehicle is considered a rigid body, and elastic structural vibrations are ignored.
Assumption 2.
The Earth is modeled as a homogeneous sphere, and its rotational effects are neglected.
Assumption 3.
The controller design only focuses on the pitch channel, disregarding the effects of coupling with other channels.
Here, Assumption 1 is based on the rigid-body characteristics of the launch vehicle during flight, while Assumption 2 is intended to simplify the model, especially during the high-altitude phase where the Earth’s rotation has a negligible impact. Assumption 3 is intended to facilitate the subsequent controller design, and the pitch channel can serve as a reference for the other two channels. Regarding the above assumptions, it is important to clarify that this study is primarily theoretical, focusing on the exploration and design of methodological approaches. Therefore, these assumptions are reasonable at this level. In practical applications, these factors should be taken into account to a certain extent. However, as we know, the actual flight dynamics model of a launch vehicle are highly complex to construct, and the computational demands of precise physical modeling can pose significant challenges, especially when simulating large-scale or highly dynamic systems. Thus, to strike the trade-offs between model fidelity and computational efficiency, researchers often resort to simplifications or approximations [25].
Based on these assumptions, and referring to the relevant literature [26], the dynamic model of the launch vehicle in the pitch plane is established.

2.1. Coordinate Transformation

First, the coordinate transformation matrix is defined as follows:
R = cos θ sin θ sin θ cos θ
where θ denotes the rotation angle between two coordinate systems in a plane.
Thus, the transformation matrix from the inertial frame to the body frame is as follows:
C B / I = C I / B = cos φ sin φ sin φ cos φ
Similarly, the transformation matrix from the velocity frame to the body frame is as follows:
C B / V = C V / B = cos α sin α sin α cos α
where φ and α respectively denote the pitch angle and the angle of attack of the launch vehicle.
For convenience in controller design, aerodynamic forces, aerodynamic moments, thrust, and thrust moments acting on the launch vehicle are described in the body frame.

2.2. Dynamic Model

The dynamic equations of the launch vehicle consist of the equations of the translational equation and the rotational equation for the center of mass. Here, the translational equation is derived directly from Newton’s second law:
m V ˙ = F
where m is the mass of the launch vehicle, V ˙ is the acceleration vector, and F is the net external force acting on the center of mass.
According to Assumption 1, the rotational equation can be derived by Euler’s equations for a rigid body:
H ˙ = M
where H is the angular momentum vector of the launch vehicle, and M is the net external moment acting on the center of mass.
The angular momentum vector H can be expressed as
H = I · ω
where ω is the angular velocity vector of the launch vehicle, and I is the inertia tensor about its center of mass.
Thus, the rotational equations can be expressed as
I · ω ˙ + ω × I · ω = M
where ω ˙ is the angular acceleration vector of the launch vehicle.
According to Assumption 2, the J4 second-order effects of a non-spherical Earth can be ignored. Therefore, the gravitational acceleration g acting on the launch vehicle is constant and directed toward the Earth’s center. The gravity model can be simplified as G = m g .
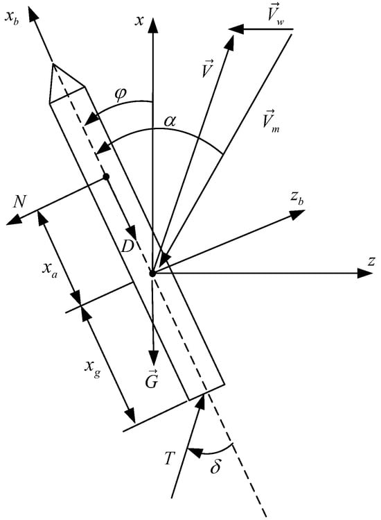
Based on the above descriptions, the force analysis diagram of the launch vehicle can be derived, as shown in Figure 1.
Here, ( x , z ) represents the vertical inertial coordinate system, where the x-axis serves as the vertical reference axis and the z-axis serves as the horizontal reference axis. ( x b , z b ) represents the body coordinate system, c a denotes the point of application of aerodynamic forces, and c g indicates the position of the launch vehicle’s center of mass.

2.3. Aerodynamic Forces and Moments

Aerodynamic forces and moments depend on the freestream velocity, which is the relative velocity between the launch vehicle and the surrounding air. The freestream velocity in the inertial coordinate system is usually expressed as
V m = V V w
where V denotes the launch vehicle’s inertial velocity, and V w denotes the wind velocity.
The freestream velocity in the body frame can be obtained via the transformation matrix given in Equation (2) as V m b = C B / I · V m .
Next, the aerodynamic forces are analyzed. The components of the aerodynamic forces in the velocity frame can be expressed as
F a e r o , x v = D = F b a s e C D S q F a e r o , z v = N = C N S q α
Here, the reference force F b a s e is a function of altitude, and the aerodynamic coefficients C D and C N are functions of the Mach number, M, both of which can be obtained through interpolation. The dynamic pressure, q, Mach number, M, and angle of attack, α , are as follows:
M = V m a
q = 1 2 ρ V m 2
α = arctan V m , z b V m , x b
Here, V m , x b and V m , z b are the components of the freestream velocity V m b in the two axes of the body frame. The speed of sound, a, and air density, ρ , are functions of altitude, both of which can be obtained through interpolation.
Thus, the aerodynamic forces in the body frame can be expressed as
F a e r o , b = F a e r o , x b F a e r o , z b = C B / V · F a e r o , v = cos α sin α sin α cos α F a e r o , x v F a e r o , z v
The scalar of the moment acting on the center of mass of the launch vehicle in the body frame can be expressed as
M a e r o . b = C M q α S b + F a e r o , z b · x a
Here, x a represents the interpolated distance between the aerodynamic reference point and the center of mass. Additionally, the aerodynamic moment coefficients C M are functions of the Mach number, M, which can also be obtained through interpolation.

2.4. Thrust and Thrust Moments

Based on Figure 1, the scalar of the thrust of the launch vehicle can be summarized as
T = T 0 + ( P e P 0 ) A e
Here, T is the total thrust, T 0 = | m ˙ | V e is the jet thrust, m ˙ is the propellant mass flow rate, V e is the exhaust velocity at the nozzle exit, p e is the nozzle exit pressure, p 0 is the local atmospheric pressure, and A e is the nozzle exit area.
The mass of the launch vehicle can be expressed as m = m 0 | m ˙ | t , where m 0 is the initial mass of the launch vehicle. If the thrust in a vacuum above the atmosphere is denoted as T , the thrust at any altitude in the atmosphere can be expressed as
T = T p 0 A e
where T = T 0 + p e A e , which can be obtained through interpolation.
If the angle of the gimbal of the launch vehicle’s engine satisfies | δ | 15 ° , the components of the thrust in the body frame can be expressed as
F r k t = F r k t , x b F r k t , z b = T cos δ T sin δ
The scalar of the thrust moment in the body frame can be expressed as
M r k t . b = F r k t , z b · x g
where x g is the distance between the thrust application point and the center of mass.
Based on the above derivations, the dynamic attitude control equation of the pitch channel for this launch vehicle can be derived from Equation (19):
I · ω = M a e r o , b + M r k t , b
where I is the moment of inertia of the launch vehicle in the pitch channel, and ω is the pitch angular velocity.

3. Theoretical Foundations

3.1. RL Principles

For RL, the agent and the environment are two critical elements. The core mechanism of RL involves continuous interaction between the agent and the environment, accumulating experience, and updating the policy to ultimately train an optimal policy. Essentially, RL solves an MDP, which is typically represented as a four-tuple ( S , A , P , R ) , where S represents the state space, A represents the action space, P represents the state transition probability, and R represents the reward function. During training, the agent observes the current state, s t S , of the environment and takes an action, a t A . The environment then transitions from state s t to s t + 1 , according to the transition probability P, while providing a reward, r t R . This fundamental principle of RL is illustrated in Figure 2.
The process involves two key elements: the decision-making policy π , and the value function Q, used to evaluate the policy. The policy π describes the conditional probability of taking an action in a given state, s t .
π ( a | s ) = p [ a t = a | s t = s ]
If the policy π is deterministic, it represents a specific action that the agent will execute. If π is stochastic, it represents the probability distribution of actions, and the agent will execute an action sampled from this distribution.
The state value function, V π ( s ) , is defined as the expected cumulative reward starting from state s and following policy π until termination:
V π ( s ) = E π k = 0 γ k r t + k + 1 s t = s
where γ is the discount factor, and r is the reward obtained at a time step. The state value depends on the policy π .
Similarly, the action value function Q π ( s , a ) is defined as the expected cumulative reward when taking action a at state s and subsequently following policy π :
Q π ( s , a ) = E π k = 0 γ k r t + k + 1 s t = s , a t = a
Clearly, the value function is related to the chosen action and the transition probability of the next state.
The cumulative reward is defined as
G t = r t + 1 + γ r t + 2 + = k = 0 γ k r t + k + 1 , t [ 0 , n ]
From Equations (21) and (23), the state value function can be expressed as
V ( s ) = E [ G t s t = s ] = E [ r t + 1 + γ r t + 2 + s t = s ] = E [ r t + 1 + γ ( r t + 2 + γ r t + 3 + ) s t = s ] = E [ r t + 1 + γ G t + 1 s t = s ] = E [ r t + 1 + γ V ( s t + 1 ) s t = s ]
The proof of the last equality in Equation (24) is as follows:
V s t = E s t , s t + 1 , r ( t + 1 ) + γ G s t + 1 = E s t r ( t + 1 ) + γ E s t , s t + 1 , G s t + 1 = E s t r ( t + 1 ) + γ V s t + 1 = E r ( t + 1 ) + γ V s t + 1
Combining Equations (21) and (22), the relationship between the state value function and the state-action value function can be derived as
V π ( s ) = a A π ( a s ) q π ( s , a )
Here, the state-action value function can be designed as
q π ( s , a ) = R s a + γ s S P s s a V π ( s )
Through the substitution of Equations (27) into (26), the state value function becomes the following:
V π ( s ) = a A π ( a s ) R s a + γ s S P s s a V π ( s )
Through the substitution of Equations (28) into (27), the state-action value function becomes the following:
q π ( s , a ) = R s a + γ s S P s s a a A π ( a s ) q π ( s , a )
The optimal state-action value function q * ( s , a ) is defined as the maximum value of Equation (29) over all possible policies π , i.e., q * ( s , a ) = max q π ( s , a ) . With Equation (29), the Bellman optimality equation for the optimal state-action value function is as follows:
q * ( s , a ) = R s a + γ s S P s s a max a q * ( s , a )
From the optimal state-action value function derived in Equation (30), the optimal policy in reinforcement learning can be obtained as
π * ( a | s ) = arg max q * ( s , a )

3.2. SAC Basics

DRL introduces two key neural networks, the Actor network and the Critic network, to replace the traditional decision-making and evaluation elements in RL. These methods are collectively referred to as Actor–Critic algorithms. The Actor network is responsible for decision-making. Based on the current state, it determines the actions to be taken at each step. For deterministic policies, the network directly outputs specific action values, whereas for stochastic policies, it outputs a probability distribution over actions, from which an action is sampled for execution. The Critic network is responsible for evaluation. It predicts the potential cumulative reward based on the current state and the reward received after executing the chosen action. The parameters of the Actor network and Critic network are denoted as θ and ϕ , respectively. During the subsequent training of the agent, these two parameters are iteratively updated to improve learning and control performance.
Based on the above descriptions, DRL algorithms can be classified into deterministic policy algorithms and stochastic policy algorithms. SAC is a stochastic policy algorithm that optimizes a stochastic policy by using an off-policy approach, bridging the gap between deterministic policy algorithms and stochastic policy algorithms. Similar to DDPG and TD3, SAC is based on the Actor–Critic framework, which is suitable for solving DRL problems in continuous action spaces. Meanwhile, the distinguishing feature of SAC is entropy regularization, which aims to enhance the stochasticity of the policy by maximizing entropy, thereby accelerating the learning process. The optimization objective of SAC is to strike a balance between the expected cumulative reward and entropy. By incorporating entropy into the cumulative reward expressed in Equation (23), the objective becomes the following:
R ^ t = k = 0 γ k r t + k + 1 + α H π ( · s )
Here, H π ( · | s ) represents the entropy, which measures the stochasticity of the policy and can be defined as the average uncertainty of the action distribution:
H π ( · s ) = E log P a t s t = a t A P a t s t log P a t s t
where the coefficient α is the entropy weight, which determines the relative importance of entropy compared to the reward, thereby controlling the stochasticity of the policy.
Thus, the learning strategy aims to maximize the cumulative reward and entropy for each state:
V π ( s ) = E a π Q π ( s , a ) + α H ( π ( · s ) ) = E a π Q π ( s , a ) α log π ( a s )
Here, reparameterization is employed to optimize the policy by sampling π ϕ through a deterministic function of the state, policy parameters, and independent noise:
a ϕ ( s , ξ ) = tanh ( μ ϕ ( s ) + σ ϕ ( s ) ξ ) , ξ N ( 0 , 1 )
This approach allows the expectation over actions to be reformulated as an expectation over noise, avoiding the challenges posed by action distributions that depend on parameters:
E a π ϕ Q π ϕ ( s , a ) α log π ϕ ( a s ) = E ξ N Q π ϕ ( s , a ˜ ϕ ( s , ξ ) ) α log π ϕ ( a ˜ ϕ ( s , ξ ) s )
Finally, the policy is optimized according to the following criterion:
max ϕ E s D ξ N min i = 1 , 2 Q θ i s , a ˜ ϕ ( s , ξ ) α log π ϕ a ˜ ϕ ( s , ξ ) s
Therefore, the optimal policy can be expressed as
π ϕ * = arg max π E t = 0 γ t r + α H π ( · s t )
It is important to note that action generation is an entropy-reducing process. Maximizing entropy implies balancing the probabilities of action selection, avoiding concentration, and enhancing the randomness and robustness of the policy. This, in turn, improves the stability and adaptability of the control system. In entropy-regularized RL, the agent receives an additional reward proportional to the entropy at each time step.
SAC trains a stochastic policy using entropy regularization to encourage exploration. The parameter α represents the degree of exploration. However, during the actual deployment of the controller, to enhance the stability of the control system, the mean action is directly selected instead of exploring.
During SAC training, the cost function of the Critic network is defined as
J Q ( θ ) = E ( s t , a t , s t + 1 ) D , a t + 1 π ϕ 1 α Q θ ( s t , a t ) r ( s t , a t ) + γ Q θ ( s t + 1 , a t + 1 ) α log π ϕ ( a t | s t ) 2
where Q θ ( s t , a t ) and Q θ ¯ ( s t + 1 , a t + 1 ) represent the Bellman equation of the Critic network and the target Critic network, respectively.
The cost function of the Actor network is as follows:
J π ( ϕ ) = D KL π ϕ ( s t ) exp 1 α Q θ ( s t ) log exp 1 α Q soft ( s t , a t ) d a
where D K L ( X | Y ) is used to compute the KL divergence of the policy distribution, and Q soft ( s t , a t ) represents the soft Bellman equation of the Critic network [27].
In many prior studies, the entropy weight α in the SAC algorithm was treated as a fixed value. In this study, a fixed α was found to limit the exploration randomness, on the one hand, and cause instability in the training process on the other. To address this, the study proposes to improve α by iteratively updating it as a variable, which is achieved by defining a cost function for α and optimizing it using gradient descent to determine its optimal value. The cost function for adjusting α is defined as
J ( α ) = E a t + 1 π ϕ α log π ϕ a t | s t α H 0
where H 0 is the initial entropy.
Based on the above theories, Algorithm 1 shows the pseudocode of SAC, which provides the specific steps of this DRL algorithm. Furthermore, Figure 3 presents the implementation process in the form of a flowchart.
Algorithm 1 Soft Actor–Critic (SAC)
  1:
Initialize:
  2:
Neural network parameters: θ 1 , θ 2 , ϕ
  3:
Target Critic network parameters: θ ¯ 1 θ 1 , θ ¯ 2 θ 2
  4:
Experience replay memory: D
  5:
for each iteration do
  6:
      for each environment step do
  7:
          Sample action from the policy: a t π ϕ ( a t | s t )
  8:
          Sample transition from the environment: s t + 1 P ( s t + 1 | s t , a t )
  9:
          Store the transition in the replay buffer: D D { s t , a t , r t , s t + 1 }
10:
      end for
11:
      for each gradient step do
12:
          Update parameters of Critic network: θ i θ i λ Q θ i J Q ( θ i ) ( i = 1 , 2 )
13:
          Update parameters of Actor network: ϕ ϕ λ π ϕ J π ( ϕ )
14:
          Update the entropy coefficient: α α λ α J ( α )
15:
          Update parameters of target network: θ ¯ i τ θ i + ( 1 τ ) θ ¯ i ( i = 1 , 2 )
16:
      end for
17:
end for
18:
until convergence

4. Design of Intelligent Load Relief Attitude Controller

As shown in Figure 2, depicting the fundamental framework of RL, the training process is iterative and exploratory, where the agent interacts continuously with the environment. During this interaction, the action-value function is updated, and the agent learns an optimal policy through accumulated experience. The control effect of the RL controller is closely related to the MDP model, which will be discussed in detail below.
As the fundamentals of RL, the MDP is used to introduce how an agent makes decisions in an uncertain environment. To apply DRL to solve the attitude control problem of the launch vehicle, it must be described as a MDP model. In MDP, the agent and the environment are two key components. The agent’s learning goal is to maximize the cumulative reward, and DRL provides a framework for learning the agent’s decision-making process. The MDP model focuses on the design of the following critical elements: the state space, action space, and reward function.

4.1. State Space

The selection of the state space in reinforcement learning is firstly guided by the control objectives, which, in this study, are attitude tracking and load relief. Among the variables relevant to the control objectives, we prioritize those that are observable. As is well known, the position can be obtained by integrating the velocity, and velocity can be derived by integrating acceleration measured via accelerometers. Additionally, the attitude angular velocity can be measured via onboard gyroscopes, and attitude angles can be derived by integrating the attitude angular velocity. For strongly correlated parameters such as the aerodynamic load, we employ the online identification technique introduced in [3] to accurately estimate its values. Therefore, the aerodynamic load is considered in the state space. For those weakly correlated variables such as aerodynamic moments and structural parameters, we typically choose to implicitly represent them within the deep neural network. Explicitly including such variables in the state space would significantly increase its dimensionality, thereby escalating the model’s complexity and the computational burden of online solving.
Based on the above analyses and considering the attitude control objective, the state space is selected as follows:
s t = ( x , z , V x , V z , φ t , ω t , Δ φ t , | q α | )
Here, x , z represent the two components of position in the ascent plane. V x , V z represent the two components of velocity in the ascent plane. φ t represents the pitch angle at time t. ω t represents the pitch angular velocity at time. | q α | represents the aerodynamic load. Δ φ t represents the error between the programmed pitch angle and the actual pitch angle, defined as
Δ φ t = φ c φ t
where φ c denotes the commanded pitch.

4.2. Action Space

In this study, the launch vehicle’s attitude is controlled by changing the thrust generated via solid motors, with the thrust altering the gimbal angle to achieve the desired attitude changes. Clearly, this constitutes a continuous action space. As described earlier, SAC is a stochastic policy algorithm. Hence, its output layer produces a probability distribution over actions, from which specific action values are sampled. In the SAC algorithm, the output represents the mean, μ , and variance, σ 2 , of a Gaussian distribution, π ϕ N ( μ , σ 2 ) , which defines the policy. The intelligent controller samples actions from this Gaussian distribution using the following method:
a t = μ + rand ( 0 , 1 ) · σ
where σ is the standard deviation, and rand ( 0 , 1 ) is a random number sampled uniformly between 0 and 1.
Sampling in this way introduces randomness into the actions during training, thereby enhancing the exploration of the policy, which enables the policy to quickly adapt to random disturbances in the system [28]. During training, the above action is directly selected as the equivalent gimbal angle of the engine δ t .
However, such a stochastic policy may result in significant fluctuations between successive actions, which can damage actuators. To address this, a low-pass filter is introduced to smooth the actions. The smoothed action is defined as
a s = η a t 1 + ( 1 η ) a t
where a t 1 represents the previous action, a t represents the current action, and η is the filter coefficient, satisfying η ( 0 , 1 ) .
The filter coefficient η determines the degree of smoothing between successive actions. A larger η implies that the influence of the new action on the current smoothed action is smaller, leading to smoother action changes, though it may reduce the model’s responsiveness to environmental changes. Conversely, a smaller η allows the new action to have a greater influence, enabling faster action changes in the control signal. However, this may result in overly abrupt changes. Thus, the choice of the filter coefficient is critical and it should be based on practical requirements.

4.3. Reward Function

The reward function is a critical component of RL problems, directly affecting whether the training process can converge to an optimal solution within a limited time. The reward function in this study consists of two parts: the tracking reward and the load relief reward. When designing the reward function, it is generally desirable for it to positively encourage the model to develop toward the desired behavior. Therefore, both types of rewards are designed to be positive–definite, encouraging the model to minimize tracking error and aerodynamic loads.
The tracking reward directly evaluates the attitude angle tracking performance. For the pitch channel, the tracking reward is designed as
r tracking = Δ φ max | Δ φ t | Δ φ max
where Δ φ max represents the allowable maximum tracking error angle.
One of the termination conditions for the training episode in this study is Δ φ t > Δ φ max . Thus, from the above equation, it follows that r tracking 0 . Moreover, normalizing this reward within ( 0 , 1 ) can facilitate convergence during training.
The load relief reward directly evaluates the effect of reducing aerodynamic loads. Based on the above design approach, it can be expressed as
r relief = | q α | max | q α | | q α | max
where | q α | max represents the allowable maximum aerodynamic load.
In practical applications, it is necessary to assign respective weights to the tracking reward and the load relief reward to reflect their individual importance. According to the training scenario mentioned above, these two reward weights are designed in segments according to the control objectives at different stages, as follows:
w tracking = 1 0 t < t end 3 1 0.4 sin ( π τ ( t ) ) t end 3 t < t end
w relief = 0 0 t < t end 3 0.4 sin ( π τ ( t ) ) t end 3 t < t end
where w tracking and w relief represent the tracking reward weight and the relief reward weight, respectively. t end is the end time of a training episode, and τ ( t ) = t t end 3 2 t end 3 is a time factor.
To provide readers with a more intuitive understanding of the dynamic change in the reward weights, Figure 4 illustrates the variation curves of the reward weights over time.
From Equations (48) and (49), it can be found that the reward weights are functions over time, eliminating the need for additional switching mechanisms to adjust the weights during transition windows. The time factor enables the weights to automatically and smoothly transition to the next phase within the time window, which represents one of the most significant findings of this study. As can be seen, tracking accuracy is emphasized in the initial stage, the middle stage begins to focus on load relief as the wind field intensifies, and the final stage gradually restores the emphasis on tracking accuracy while maintaining the effect of load relief after passing through the high-altitude wind region.
It is important to note that, since the structural load capacity of the launch vehicle is limited, it is desirable for the aerodynamic load to remain within a safe range. Therefore, when the aerodynamic load exceeds a certain threshold, a penalty is applied to suppress this behavior. Unlike load relief reward, load relief penalty should be designed to be negative–definite, aiming to reduce the total reward and penalize the model for producing excessive aerodynamic loads. The penalty is designed as follows:
p relief = 0 0 | q α | < | q α | safe κ | q α | | q α | safe | q α | safe | q α | | q α | safe
where | q a | safe is the safe threshold for the aerodynamic load, and k is the penalty coefficient.
From Equation (50), it is evident that the load relief penalty is applied to the total reward only when the aerodynamic load exceeds its safe threshold. The value of the penalty coefficient k is crucial. A larger value implies a stronger penalty, significantly reducing the total reward when the aerodynamic load exceeds its threshold. However, it cannot be too large, as excessive penalties may hinder the normal learning process.
Based on the above analyses, the total reward function is given as follows:
r total = w tracking r tracking + w relief r relief + p relief

5. Simulation and Analysis

5.1. Training of the Intelligent Attitude Controller

First, a training environment was constructed in Pytorch, based on the attitude dynamics model of the launch vehicle, which is shown in Figure 5. Subsequently, a DRL framework was built using the key elements defined before, and the agent was trained with the improved SAC algorithm proposed in this study. The training was conducted on a machine with an Intel Core i9-14900HX CPU, an NVIDIA RTX 4070 GPU, and 64 GB of RAM, running on Windows 11. After multiple rounds of training, an intelligent attitude controller suitable for the launch vehicle was obtained.
Here, an early stopping logic based on validation performance was added to the practical implementation of the SAC training process. This required dividing the training environment into a “validation environment” to evaluate the current policy’s performance after each epoch of training. The validation performance metric is defined as the mean cumulative reward over all episodes in the current epoch:
J = 1 N i = 1 N R i
where R i is the cumulative reward for the i episode, and N is the total number of episodes.
A patience parameter is introduced to specify the maximum number of consecutive epochs during which a lack of improvement in validation performance is acceptable. If, after this patience threshold is reached, the validation performance fails to demonstrate significant improvement or begins to decline, it may indicate potential overfitting. At this juncture, it is advisable to halt the training process.

5.1.1. Training Without Wind Disturbance

Initially, training was performed without introducing wind disturbances. In this case, since there was no need for load relief in the high-altitude wind region, the reward function was set to r t = r tracking , based on Equation (46). In addition, to demonstrate the performance of the SAC controller in pure attitude control, a comparative experiment with the TD3 algorithm has been implied to validate its superiority in this specific task.
The model parameters of the launch vehicle refer to reference [26]. The training hyperparameters of SAC are set in Table 1 and the training hyperparameters of TD3 are set in Table 2.
The training was conducted in an episodic manner, with the dynamics integrated using the fourth-order Runge–Kutta method. It was assumed that the control time step is five times the integration time step ( d T = 5 d t = 1 s), and the action filtering coefficient was set to η = 0.6 . The termination conditions for each episode were set as follows: the maximum allowable absolute tracking error was | Δ φ max | = 3 ° , and the maximum episode duration was t e n d = 90 s. To prevent non-convergence caused by excessively long steps of each episode, a segmented training approach was adopted. The training episode was divided into three phases: 0–30 s, 30–60 s, and 60–90 s, and parallel training was employed to save computational time. The maximum number of training epochs was 200. In the no-wind scenario, the mean rewards obtained via the SAC and TD3 algorithms are shown as follows.
As can be seen from Figure 6, the agent completed 70 and 96 training epochs in the 0–30 s phase, 94 and 33 epochs in the 30–60 s phase, and 148 and 71 epochs in the 60–90 s phase under the SAC and TD3 algorithms, respectively. None of the above training sessions reached the maximum number of training epochs. This was due to the inclusion of the early stopping logic, which terminated training when the agent’s performance no longer showed significant improvement. Overall, the mean reward under the SAC algorithm demonstrates better convergence. Although the mean rewards exhibit slight fluctuations during training under both algorithms, the mean reward under the proposed SAC algorithm consistently showed an overall upward trend, whereas, under the TD3 algorithm, the reward function experienced several oscillations, particularly during the 30–60 s and 60–90 s phases. In addition, the agent underwent significantly more training epochs in total under SAC compared to TD3 within similar time consumption. Based on the analysis of the aforementioned results, it can be concluded that the SAC method demonstrates significant advantages in terms of both training efficiency and training effectiveness.

5.1.2. Training with Wind Disturbances

As previously mentioned, the launch vehicle encounters uncertain wind disturbances from the high-altitude wind region during its ascent phase. Based on the actual measured data of 10 types of wind disturbances from a specific launch site, an additional 20 wind patterns were randomly generated, resulting in a total of 30 wind patterns. During training, wind disturbances are cyclically changed to improve the controller’s adaptability. It is assumed that only the vertical wind shear, i.e., the variation of wind speed with flight altitude, is considered. The vertical shear curve is shown in Figure 7. It is noted that due to limited space in this figure, we have only labeled the curves corresponding to the original 10 wind patterns.
Due to the introduction of wind disturbances, load relief requirements for the launch vehicle in the high-altitude wind region must be considered. Accordingly, the reward function was set to r t = r total , as defined in Equation (51). The value of the patience number was improved to 50, and other training hyperparameters and control parameters remained consistent with those used previously. Additionally, the aerodynamic load maximum was set to | q α | max = 3000 Pa · rad , the safe threshold to | q α | safe = 2500 Pa · rad , and the load relief penalty coefficient to κ = 1.5 . The training still adopted a segmented parallel computing approach. Since this section focused on the performance of the controller with wind disturbances, only the mean reward during the intermediate phase (60–90 s), when the launch vehicle encountered high-altitude winds, is presented below.
As shown in Figure 8, the agent underwent 128 and 61 epochs under the SAC and TD3 algorithms with the effect of the early stopping logic, respectively. The mean reward under the SAC algorithm shows a fluctuating but generally increasing trend as training epochs increased during this phase. This suggests that the agent’s performance improved over time, learning to achieve higher rewards. Meanwhile, the mean reward under the TD3 algorithm displayed a lower overall mean reward with more significant fluctuation, which indicates that the agent performs less effectively under this condition. The above analysis demonstrates that, despite the introduction of various wind disturbances, the proposed SAC algorithm enables the agent to achieve a better performance than the TD3 algorithm.

5.2. Intelligent Controller Testing

The intelligent controllers trained using the proposed SAC algorithm and the TD3 algorithm in the no-wind scenario and with cyclic wind disturbances were deployed in the controlled environment for simulation testing. For comparison, a traditional PID controller was also deployed under the same conditions. In the following, these three controllers, respectively, are referred to as the SAC controller, TD3 controller, and PID controller for convenience, and the simulation results of all the controllers are then analyzed in the following context.

5.2.1. Testing Without Wind Disturbance

First, the three controllers were all tested in the no-wind scenario for a direct comparison of the pure attitude control. Figure 9 presents the simulation results for the SAC controller, TD3 controller, and PID controller, where subfigures (a)∼(f) respectively illustrate the curves of the position, velocity, pitch angle, tracking error, pitch angular velocity, and gimbal angle of the launch vehicle. Key data of the aforementioned parameters are presented in Table 3 to provide a more intuitive comparison of the performance of each controller.
From Figure 9a, it is observed that the trajectories of the launch vehicle under the three controllers almost coincide in the launch plane. At 90 s of ascent, the flight altitude reaches approximately 22.7 km, while the horizontal distance reaches about 17.5 km. Figure 9b shows the velocity curves, where the three curves also nearly overlap. After 90 s of flight, the velocity exceeds 800 m/s.
Figure 9c shows that these three controllers exhibit good tracking performance in the no-wind scenario. However, Figure 9d shows that the SAC controller achieves significantly higher accuracy than the other controllers. The maximum tracking error for the SAC controller is 0.59 ° , compared to 0.94 ° for the PID controller and 1.04 ° for the TD3 controller.
From Figure 9e, it is evident that the attitude angular velocity fluctuations are smaller under the SAC controller, indicating better stability compared to the PID controller. The maximum angular velocity for the SAC controller is 1.8 ° / s , compared to 2.17 ° / s for the PID controller and 2.15 ° for the TD3 controller. Figure 9f shows that the engine gimbal angle’s peak value under the SAC controller is 4.54 ° , while 4.69 ° under the PID controller and 7.63 ° under the TD3 controller. The SAC controller’s peak value is the smallest, and its fluctuations are also relatively smaller, whereas the TD3 controller exhibits larger oscillations. These larger oscillations in the TD3 controller may cause extreme deviations in actuator operations, increasing the risk of actuator damage.
Comprehensively considering the tracking accuracy, system stability, and the difficulty of actuator operations in real scenarios reveals that the proposed SAC controller achieves better performance in the pure attitude control problem.

5.2.2. Testing with Wind Disturbances

Next, the controllers were tested under the wind disturbance with maximum speed among the 30 types shown in Figure 7. The initial conditions and simulation parameters remained unchanged. The comparison of simulation results between the SAC, TD3, and PID controllers in this scenario is presented in Figure 10. Similarly, to better analyze the performance of the controller, the key data are presented in Table 4 as follows.
From Figure 10a, it is observed that the flight trajectory of the launch vehicle deviates under the influence of the wind disturbance. After 90 s of flight, the altitude increases to approximately 25.8 km, while the horizontal distance rises to over 19.2 km.
Figure 10b shows that the launch vehicle’s velocity also increases due to the wind disturbance, reaching a peak of nearly 900 m/s at 90 s.
From the combination of Figure 10c,d,g, it can be seen that, during the initial 30 s, the wind speed is relatively low, and the pitch angle tracking accuracy is high under all the controllers. However, during 30 s–60 s, as the wind speed increases, the aerodynamic load also begins to rise. At this point, the contribution of the tracking reward to the total reward diminishes, while the load relief reward gradually takes effect. When the aerodynamic load exceeds the safe threshold | q α | safe , a significant penalty is added to the total reward to suppress further increases in the aerodynamic load. However, this comes at the cost of reduced tracking accuracy. During this phase, the maximum absolute tracking error of the SAC controller reaches 1.76 ° , while the PID controller maintains a tracking accuracy within 1 ° . Compared with the SAC controller and PID controller, the TD3 controller exhibits a significant decline in tracking accuracy due to the influence of gust disturbances, with a maximum tracking error of up to 7.05 ° . This indicates that its robustness is considerably inferior to the other two controllers. However, the peak aerodynamic load under the SAC controller is 2799 Pa · rad , compared to 3160 Pa · rad under the TD3 controller and 3190 Pa · rad under the PID controller. The proposed controller reduces the aerodynamic loads of the launch vehicle during the high-altitude wind region by over 10%. It needs to be noted that the significant error variation in this phase is due to the controller prioritizing load relief in the high-altitude wind region, resulting in a temporary decrease in tracking accuracy. This error variation is an expected behavior in the design of the reward function, aiming to sacrifice some tracking accuracy to reduce aerodynamic loads in the high-altitude wind region. During 60–90 s, after passing through the high-altitude wind region, the tracking accuracy of the SAC controller gradually recovers, while the load relief effect is also maintained. The above results align well with the reward function’s design objectives and demonstrate that the desired effect has been achieved.
From Figure 10e,f, it can be seen that the SAC controller sacrifices some control system stability due to the consideration of load relief, while it still achieves satisfactory performance compared with the other two controllers.

6. Conclusions

In this study, a specific type of launch vehicle was selected as the research subject. A dynamic model of the launch vehicle was first established in the pitch plane. Subsequently, a controlled environment was developed in the Pytorch, and a DRL framework was constructed to address the attitude control problem.
To comprehensively account for the attitude tracking accuracy and load relief performance of the launch vehicle in the high-altitude wind region, a segmented reward function was designed in three phases: the initial phase prioritizes tracking accuracy, the intermediate phase focuses on load relief, and the final phase restores the emphasis on tracking accuracy while maintaining load relief performance.
Then, an improved SAC algorithm was proposed to train the agent, incorporating an early stopping logic to automatically terminate training and enhance efficiency. Using this algorithm, the agent was first trained under no-wind condition, resulting in an attitude controller with higher tracking accuracy and system stability compared to the traditional PID controller and the TD3 controller. Random wind disturbances were then introduced, with wind types cyclically changed during training. After multiple training epochs, an intelligent load relief attitude controller with strong adaptability was obtained.
Finally, simulation tests demonstrated that the SAC-based intelligent load-relief attitude controller designed in this study can achieve precise tracking of the launch vehicle’s pitch angle while maintaining the stability of the control system under random wind disturbances. The maximum tracking error is less than 3 ° , meeting the required performance criteria, which validates the superiority of the SAC controller over the TD3 controller in pure attitude control of this specific task. Moreover, the proposed controller effectively mitigates excessive aerodynamic loads in the high-altitude wind region, achieving over a 10% improvement in load relief compared to the traditional PID controller, which effectively resolves the trade-off between tracking accuracy and load relief of the launch vehicle.

Author Contributions

Conceptualization, S.Z. (Shou Zhou) and S.Z. (Shifeng Zhang); methodology, S.Z. (Shou Zhou) and H.Y.; software, S.Z. (Shou Zhou) and H.Y.; validation, S.Z. (Shou Zhou), H.Y. and F.W.; formal analysis, X.B.; investigation, F.W.; resources, X.B.; data curation, S.Z. (Shou Zhou); writing—original draft preparation, S.Z. (Shou Zhou); writing—review and editing, H.Y. and F.W.; supervision, S.Z. (Shifeng Zhang); project administration, X.B.; funding acquisition, S.Z. (Shifeng Zhang). All authors have read and agreed to the published version of the manuscript.

Funding

This research was funded by the National Natural Science Foundation of China (NSFC), grant number U21B200527.

Data Availability Statement

The data used to support the findings of this study are included within the article.

Conflicts of Interest

The authors declare no conflicts of interest.

References

  1. Weiping, Y. Development trend of navigation guidance and control technology for new generation aircraft. Acta Aeronaut. Astronaut. Sin. 2024, 45, 529720. [Google Scholar]
  2. Bao, W. Research status and development trend of aerospace vehicle control technology. Acta Autom. Sin 2013, 39, 697–702. [Google Scholar] [CrossRef]
  3. Song, Z.Y. Load Control Technology in Launch Vehicle. Aerosp. Control 2013, 31, 3–7. [Google Scholar]
  4. Maufrey, S.; Meunier, P. Control for the Ariane 5 plus launcher. In Proceedings of the 52nd International Astronautical Congress, IAA, Toulouse, France, 1–5 October 2001; pp. 1–9. [Google Scholar]
  5. Yang, W.Q.; Xu, Z.; Tang, S.; Zhang, Y. Active Disturbance Rejection Control Method on Load Relief System for Launch Vehicles. J. Beijing Univ. Aeronaut. Astronaut. 2016, 42, 130–138. [Google Scholar]
  6. Reddy, G.; Wong-Ng, J.; Celani, A.; Sejnowski, T.J.; Vergassola, M. Glider soaring via reinforcement learning in the field. Nature 2018, 562, 236–239. [Google Scholar] [CrossRef] [PubMed]
  7. Chai, R.; Tsourdos, A.; Savvaris, A.; Chai, S.; Xia, Y.; Chen, C.P. Six-DOF spacecraft optimal trajectory planning and real-time attitude control: A deep neural network-based approach. IEEE Trans. Neural Netw. Learn. Syst. 2019, 31, 5005–5013. [Google Scholar] [CrossRef]
  8. Xu, J.; Du, T.; Foshey, M.; Li, B.; Zhu, B.; Schulz, A.; Matusik, W. Learning to fly: Computational controller design for hybrid uavs with reinforcement learning. Acm Trans. Graph. (TOG) 2019, 38, 1–12. [Google Scholar] [CrossRef]
  9. Kaufmann, E.; Loquercio, A.; Ranftl, R.; Dosovitskiy, A.; Koltun, V.; Scaramuzza, D. Deep drone racing: Learning agile flight in dynamic environments. In Proceedings of the Conference on Robot Learning, PMLR, Zürich, Switzerland, 29–31 October 2018; pp. 133–145. [Google Scholar]
  10. Belkhale, S.; Li, R.; Kahn, G.; McAllister, R.; Calandra, R.; Levine, S. Model-based meta-reinforcement learning for flight with suspended payloads. IEEE Robot. Autom. Lett. 2021, 6, 1471–1478. [Google Scholar] [CrossRef]
  11. Konatala, R.; Van Kampen, E.J.; Looye, G. Reinforcement Learning based Online Adaptive Flight Control for the Cessna Citation II (PH-LAB) Aircraft. In Proceedings of the AIAA Scitech 2021 Forum, Virtual, 11–15 and 19–21 January 2021; p. 0883. [Google Scholar]
  12. Wan, M.; Chen, M.; Lungu, M. Integral backstepping sliding mode control for unmanned autonomous helicopters based on neural networks. Drones 2023, 7, 154. [Google Scholar] [CrossRef]
  13. Li, J.; Xu, S.; Wu, Y.; Zhang, Z. Automatic Landing Control for Fixed-Wing UAV in Longitudinal Channel Based on Deep Reinforcement Learning. Drones 2024, 8, 568. [Google Scholar] [CrossRef]
  14. Hinton, G.E.; Osindero, S.; Teh, Y.W. A fast learning algorithm for deep belief nets. Neural Comput. 2006, 18, 1527–1554. [Google Scholar] [CrossRef] [PubMed]
  15. QIU, X.; GAO, C.; JING, W. Deep Reinforcement Learning Guidance Law for Intercepting Endo atmospheric Maneuvering Targets. J. Astronaut. 2022, 43, 685. [Google Scholar]
  16. Pei, P. Integrated Guidance and Control for Missile Using Deep Reinforcement Learning. J. Astronaut. 2021, 42, 1293. [Google Scholar]
  17. Song, X.; Wang, Y.; Cai, Z.; Zhao, J.; Chen, X.; Song, D. Landing trajectory tracking control of unmanned aerial vehicle by deep reinforcement learning. Aeronaut. Sci. Technol. 2020, 31, 68–75. [Google Scholar]
  18. Wang, X. Path Planning Method of Soft Landing for Multi Node Probe. J. Astronaut. 2022, 43, 366. [Google Scholar]
  19. Elkins, J.G.; Sood, R.; Rumpf, C. Autonomous spacecraft attitude control using deep reinforcement learning. In Proceedings of the International Astronautical Congress, Online, 12–14 October 2020; pp. 1–13. [Google Scholar]
  20. Elkins, J.; Sood, R.; Rumpf, C. Adaptive continuous control of spacecraft attitude using deep reinforcement learning. In Proceedings of the 2020 AAS/AIAA Astrodynamics Specialist Conference, South Lake Tahoe, CA, USA, 9–13 August 2020; pp. 420–475. [Google Scholar]
  21. Yang, R.; Du, C.; Zheng, Y.; Gao, H.; Wu, Y.; Fang, T. PPO-based attitude controller design for a tilt rotor UAV in transition process. Drones 2023, 7, 499. [Google Scholar] [CrossRef]
  22. Li, B.; Bai, S.; Meng, B.; Liang, S.; Li, Z. Autonomous air combat decision-making algorithm of UAVs based on SAC algorithm. Command. Control Simul. 2022, 44, 24–30. [Google Scholar]
  23. Park, K.W.; Kim, M.; Kim, J.S.; Park, J.H. Path planning for multi-Arm Manipulators using Soft Actor-Critic algorithm with position prediction of moving obstacles via LSTM. Appl. Sci. 2022, 12, 9837. [Google Scholar] [CrossRef]
  24. Sola, Y.; Le Chenadec, G.; Clement, B. Simultaneous control and guidance of an auv based on soft actor–critic. Sensors 2022, 22, 6072. [Google Scholar] [CrossRef]
  25. Nele, L.; Mattera, G.; Yap, E.W.; Vozza, M.; Vespoli, S. Towards the Application of Machine Learning in Digital Twin Technology: A Multi-Scale Review. Discov. Appl. Sci. 2024, 6, 502. [Google Scholar] [CrossRef]
  26. Wei, D. Dynamic Modeling and Ascent Flight Control of Ares-I Crew Launch Vehicle. Graduate Thesis, Iowa State University, Ames, IA, USA, 2010. [Google Scholar]
  27. Haarnoja, T.; Zhou, A.; Hartikainen, K.; Tucker, G.; Ha, S.; Tan, J.; Kumar, V.; Zhu, H.; Gupta, A.; Abbeel, P.; et al. Soft actor-critic algorithms and applications. arXiv 2018, arXiv:1812.05905. [Google Scholar]
  28. Zheng, H.; Zhai, G.; Sun, Y. SAC Intelligent Attitude Control Method for on orbit Refueling Combination. J. Astronaut. 2023, 44, 1020. [Google Scholar]
Figure 1. Force analysis diagram of the launch vehicle.
Figure 1. Force analysis diagram of the launch vehicle.
Aerospace 12 00203 g001
Figure 2. Illustration of RL principles.
Figure 2. Illustration of RL principles.
Aerospace 12 00203 g002
Figure 3. Flowchart of the SAC Algorithm.
Figure 3. Flowchart of the SAC Algorithm.
Aerospace 12 00203 g003
Figure 4. The variation curves of the reward weights over time.
Figure 4. The variation curves of the reward weights over time.
Aerospace 12 00203 g004
Figure 5. Diagram of the training environment for the simulation in Pytorch.
Figure 5. Diagram of the training environment for the simulation in Pytorch.
Aerospace 12 00203 g005
Figure 6. Mean reward curve during agent training without wind disturbances.
Figure 6. Mean reward curve during agent training without wind disturbances.
Aerospace 12 00203 g006
Figure 7. Vertical wind shear curve.
Figure 7. Vertical wind shear curve.
Aerospace 12 00203 g007
Figure 8. Mean reward curve during agent training with wind disturbances.
Figure 8. Mean reward curve during agent training with wind disturbances.
Aerospace 12 00203 g008
Figure 9. Comparison of SAC and PID controllers in the no-wind scenario.
Figure 9. Comparison of SAC and PID controllers in the no-wind scenario.
Aerospace 12 00203 g009
Figure 10. Comparison of SAC and PID controllers under the maximum wind disturbance.
Figure 10. Comparison of SAC and PID controllers under the maximum wind disturbance.
Aerospace 12 00203 g010
Table 1. Setting of SAC training hyperparameters.
Table 1. Setting of SAC training hyperparameters.
Training HyperparametersValueTraining HyperparametersValue
Learning rate 3 × 10 4 Update frequency50
Discount factor0.99Polyak0.995
Replay size 1 × 10 6 Entropy weight0.5
Batch size100Target entropy−3
Hidden layer[256, 256]Patience30
Table 2. Setting of TD3 training hyperparameters.
Table 2. Setting of TD3 training hyperparameters.
Training HyperparametersValueTraining HyperparametersValue
Learning rate 3 × 10 4 Update frequency50
Discount factor0.99Polyak0.995
Replay size 1 × 10 6 Act noise0.5
Batch size100Target noise0.2
Policy delay2Noise Clip0.5
Hidden layer[256, 256]Patience30
Table 3. Key data for test results under no-wind condition.
Table 3. Key data for test results under no-wind condition.
ParametersPID ControllerTD3 ControllerSAC Controller
Maximum tracking error 0.94 ° 1.04 ° 0.59 °
Maximum angular velocity2.17°/s2.15°/s1.8°/s
Maximum gimbal angle 4.69 ° 7.63 ° 4.54 °
Table 4. Key data of test results under the maximum wind disturbance.
Table 4. Key data of test results under the maximum wind disturbance.
ParametersPID ControllerTD3 ControllerSAC Controller
Maximum tracking error 0.99 ° 7.05 ° 1.76 °
Maximum angular velocity 2.17 ° / s 1.96 ° / s 1.98 ° / s
Maximum gimbal angle 6.58 ° 8.25 ° 4.73 °
Maximum aerodynamic load 3190 Pa · rad 3160 Pa · rad 2799 Pa · rad
Disclaimer/Publisher’s Note: The statements, opinions and data contained in all publications are solely those of the individual author(s) and contributor(s) and not of MDPI and/or the editor(s). MDPI and/or the editor(s) disclaim responsibility for any injury to people or property resulting from any ideas, methods, instructions or products referred to in the content.

Share and Cite

MDPI and ACS Style

Zhou, S.; Yang, H.; Zhang, S.; Bai, X.; Wang, F. SAC-Based Intelligent Load Relief Attitude Control Method for Launch Vehicles. Aerospace 2025, 12, 203. https://doi.org/10.3390/aerospace12030203

AMA Style

Zhou S, Yang H, Zhang S, Bai X, Wang F. SAC-Based Intelligent Load Relief Attitude Control Method for Launch Vehicles. Aerospace. 2025; 12(3):203. https://doi.org/10.3390/aerospace12030203

Chicago/Turabian Style

Zhou, Shou, Hao Yang, Shifeng Zhang, Xibin Bai, and Feng Wang. 2025. "SAC-Based Intelligent Load Relief Attitude Control Method for Launch Vehicles" Aerospace 12, no. 3: 203. https://doi.org/10.3390/aerospace12030203

APA Style

Zhou, S., Yang, H., Zhang, S., Bai, X., & Wang, F. (2025). SAC-Based Intelligent Load Relief Attitude Control Method for Launch Vehicles. Aerospace, 12(3), 203. https://doi.org/10.3390/aerospace12030203

Note that from the first issue of 2016, this journal uses article numbers instead of page numbers. See further details here.

Article Metrics

Back to TopTop