Spatiotemporal Analysis of Water Body in the Chongming Island Region over the Past Decade Based on the ISUNet Model
Abstract
1. Introduction
1.1. Water Body Extraction Based on the Threshold Segmentation Method
1.2. Water Body Extraction Based on the Image Classification Method
2. Study Area
3. Research Method
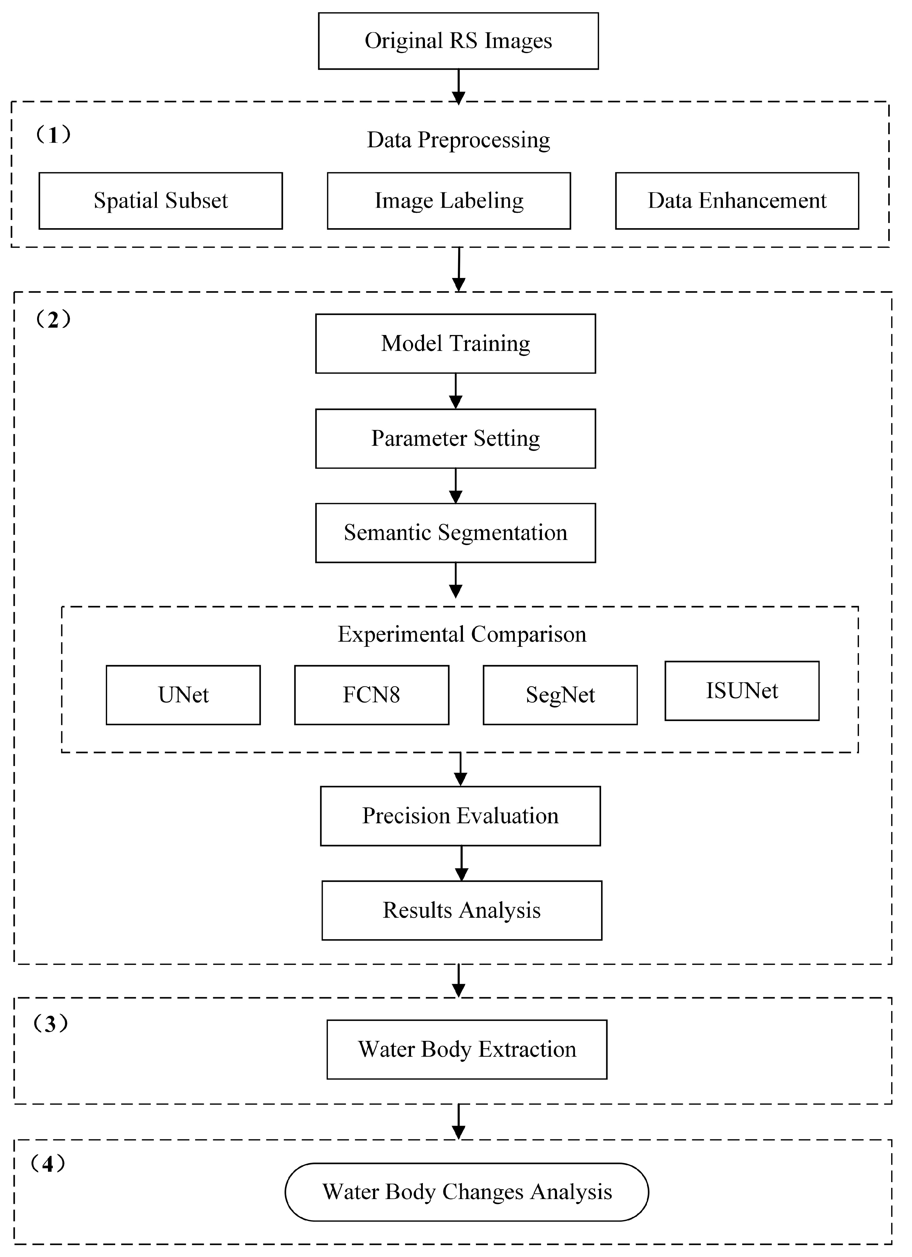
3.1. Flowchart of the Current Study
3.2. Data Sources
3.3. Data Preprocessing
3.3.1. Data Labelling
- (1)
- Obtain the study area image by using the cropping function in PIE software, resulting in an image resolution of 3072 pixels × 4608 pixels;
- (2)
- Create a vector Shapefile file for labelling. Set the coordinate system to WGS84 and manually label each image sample using visual interpretation, marking the categories of water bodies and land;
- (3)
- Convert the vector files into raster labels using PIE software, generating raster annotation files;
- (4)
- Crop the image and label raster files to create the dataset. Images are cropped into smaller sizes (512 pixels × 512 pixels) to avoid memory overflow during model training and optimize feature utilization. The cropping process ensures a balanced sample by adjusting the water body area to occupy 1–99% of the image, preventing images dominated by either land or water bodies. A total of 522 training images and 104 test images were obtained using the above steps to annotate the remote sensing image data, and the resolution of the images was 512 pixels × 512 pixels.
3.3.2. Data Enhancement
3.4. U-Net Improvement
4. Experiment
4.1. Recommendation Baselines
- FCN8: FCN is one of the pioneering neural network architectures designed for image segmentation [38]. In traditional convolutional neural networks, the presence of fully connected layers imposes fixed input–output dimensions. FCN, by eliminating fully connected layers and replacing them with convolutional layers, allows for arbitrary input image sizes and generates corresponding output sizes. FCN8 is a variant of FCN that employs upsampling and skip connections to enhance segmentation accuracy, thereby facilitating a better understanding of the image;
- SegNet: SegNet is an image segmentation architecture developed by the University of Cambridge, U.K. It combines an encoder–decoder structure, where the encoder part extracts image features, and the decoder part maps these features back to the original image size. Unlike FCN, SegNet utilizes index-max pooling in the decoder. These indices are stored by the encoder to ensure correct feature mapping during upsampling in the decoder [39];
- UNet: UNet is a neural network architecture for image segmentation, proposed by researchers from the University of Freiburg, Germany [23]. Its unique encoder–decoder structure, coupled with the introduction of skip connections, enables it to excel in capturing both local and global contextual information, thus achieving precise segmentation results.
4.2. Experiment Results
4.3. Visual Interpretation
5. Analysis of Water and Land Changes in Chongming Island and Its Surrounding Areas Based on ISUNet
5.1. Image Water Body Extraction
5.2. Analysis of Change Regions
5.3. Comparison with JRC Yearly Water Classification History
6. Discussion
6.1. Analysis of Recognition Results
6.2. Analysis of Reasons for Change
6.3. Limitations and Future Prospects
- (1)
- Despite achieving better results than other models, the ISUNet model has certain limitations. The increased number of connected low-dimensional feature maps not only enhances image low-dimensional feature information but also increases computational complexity. Consequently, longer training times are required. Future work should focus on refining the model to achieve a lightweight and efficient architecture;
- (2)
- This study solely applied the ISUNet model to extract water bodies in the coastal area of the Yangtze estuary. Future research should explore the broad applicability of the ISUNet method, particularly in extracting coastal water bodies in different regions of China;
- (3)
- Additionally, this study examines a time scale of only 10 years. Conducting analyses over longer periods, such as 20, 30, or 40 years, would provide a comprehensive understanding of sea–land changes in the coastal region of the Yangtze River Estuary. Such an approach would enable a deep exploration of long-term coastal evolution processes and mechanisms.
7. Conclusions
Author Contributions
Funding
Data Availability Statement
Acknowledgments
Conflicts of Interest
References
- Hu, X.; Qin, Z.; Wang, J.; Su, G. Coastline extraction on remote sensing image using Gaussian process classification. In Proceedings of the 2015 International Conference on Electromechanical Control Technology and Transportation, Zhuhai, China, 31 October–1 November 2015; pp. 392–395. [Google Scholar]
- Skilodimou, H.; Livaditis, G.; Bathrellos, G.; Verikiou-Papaspiridakou, E. Investigating the flooding events of the urban regions of Glyfada and Voula, Attica, Greece: A contribution to Urban Geomorphology. Geogr. Ann. Ser. A Phys. Geogr. 2003, 85, 197–204. [Google Scholar] [CrossRef]
- Li, J.; Ye, M.; Pu, R.; Liu, Y.; Guo, Q.; Feng, B.; Huang, R.; He, G. Spatiotemporal change patterns of coastlines in Zhejiang Province, China, over the last twenty-five years. Sustainability 2018, 10, 477. [Google Scholar] [CrossRef]
- Sala, E.; Mayorga, J.; Bradley, D.; Cabral, R.B.; Atwood, T.B.; Auber, A.; Cheung, W.; Costello, C.; Ferretti, F.; Friedlander, A.M. Protecting the global ocean for biodiversity, food and climate. Nature 2021, 592, 397–402. [Google Scholar] [CrossRef] [PubMed]
- Skilodimou, H.D.; Antoniou, V.; Bathrellos, G.D.; Tsami, E. Mapping of coastline changes in Athens Riviera over the past 76 year’s measurements. Water 2021, 13, 2135. [Google Scholar] [CrossRef]
- Li, K.; Zhang, L.; Chen, B.; Zuo, J.; Yang, F.; Li, L. Analysis of China’s Coastline Changes during 1990–2020. Remote Sens. 2023, 15, 981. [Google Scholar] [CrossRef]
- Gittman, R.K.; Fodrie, F.J.; Popowich, A.M.; Keller, D.A.; Bruno, J.F.; Currin, C.A.; Peterson, C.H.; Piehler, M.F. Engineering away our natural defenses: An analysis of shoreline hardening in the US. Front. Ecol. Environ. 2015, 13, 301–307. [Google Scholar] [CrossRef] [PubMed]
- Shen, G.; Sarris, A.; Huang, X. Remote sensing monitoring and analysis of expansion characteristics of Chongming Island in Shanghai, China. In Proceedings of the 2013 Second International Conference on Agro-Geoinformatics (Agro-Geoinformatics), Fairfax, VA, USA, 12–16 August 2013; pp. 556–561. [Google Scholar]
- Dai, C.; Howat, I.M.; Larour, E.; Husby, E. Coastline extraction from repeat high resolution satellite imagery. Remote Sens. Environ. 2019, 229, 260–270. [Google Scholar] [CrossRef]
- McFeeters, S.K. The use of the Normalized Difference Water Index (NDWI) in the delineation of open water features. Int. J. Remote Sens. 1996, 17, 1425–1432. [Google Scholar] [CrossRef]
- Ghosh, M.K.; Kumar, L.; Roy, C. Monitoring the coastline change of Hatiya Island in Bangladesh using remote sensing techniques. ISPRS J. Photogramm. Remote Sens. 2015, 101, 137–144. [Google Scholar] [CrossRef]
- Yang, F.; Guo, J.; Tan, H.; Wang, J. Automated extraction of urban water bodies from ZY-3 multi-spectral imagery. Water 2017, 9, 144. [Google Scholar] [CrossRef]
- Feyisa, G.L.; Meilby, H.; Fensholt, R.; Proud, S.R. Automated Water Extraction Index: A new technique for surface water mapping using Landsat imagery. Remote Sens. Environ. 2014, 140, 23–35. [Google Scholar] [CrossRef]
- Wang, X.; Liu, Y.; Ling, F.; Liu, Y.; Fang, F. Spatio-temporal change detection of Ningbo coastline using Landsat time-series images during 1976–2015. ISPRS Int. J. Geo-Inf. 2017, 6, 68. [Google Scholar] [CrossRef]
- Viaña-Borja, S.P.; Ortega-Sánchez, M. Automatic methodology to detect the coastline from Landsat images with a new water index assessed on three different Spanish Mediterranean deltas. Remote Sens. 2019, 11, 2186. [Google Scholar] [CrossRef]
- Luo, J.; Sheng, Y.; Shen, Z.; Li, J.; Gao, L. Automatic and high-precise extraction for water information from multispectral images with the step-by-step iterative transformation mechanism. J. Remote Sens. 2009, 13, 610–615. [Google Scholar]
- Xu, H. Modification of normalised difference water index (NDWI) to enhance open water features in remotely sensed imagery. Int. J. Remote Sens. 2006, 27, 3025–3033. [Google Scholar] [CrossRef]
- Qiao, C.; Luo, J.; Sheng, Y.; Shen, Z.; Zhu, Z.; Ming, D. An adaptive water extraction method from remote sensing image based on NDWI. J. Indian Soc. Remote Sens. 2012, 40, 421–433. [Google Scholar] [CrossRef]
- Acharya, T.D.; Subedi, A.; Lee, D.H. Evaluation of water indices for surface water extraction in a Landsat 8 scene of Nepal. Sensors 2018, 18, 2580. [Google Scholar] [CrossRef]
- Zeinali, S.; Dehghani, M.; Rastegar, M.; Mojarrad, M. Detecting shoreline changes in Chabahar Bay by processing satellite images. Sci. Iran. 2017, 24, 1802–1809. [Google Scholar] [CrossRef][Green Version]
- Possa, E.M.; Maillard, P. Precise Delineation of Small Water Bodies from Sentinel-1 Data Using Support Vector Machine Classification. Can. J. Remote Sens. 2018, 44, 1–12. [Google Scholar] [CrossRef]
- Zhang, H.; Wang, D.; Gao, Y.; Gong, W. A study of extraction method of mountain surface water based on OLI data and decision tree method. Eng. Surv. Mapp. 2017, 26, 45. [Google Scholar]
- Ronneberger, O.; Fischer, P.; Brox, T. U-net: Convolutional networks for biomedical image segmentation. In Proceedings of the Medical Image Computing and Computer-Assisted Intervention–MICCAI 2015: 18th International Conference, Munich, Germany, 5–9 October 2015; Proceedings, Part III 18. pp. 234–241. [Google Scholar]
- Li, R.; Liu, W.; Yang, L.; Sun, S.; Hu, W.; Zhang, F.; Li, W. DeepUNet: A deep fully convolutional network for pixel-level sea-land segmentation. IEEE J. Sel. Top. Appl. Earth Obs. Remote Sens. 2018, 11, 3954–3962. [Google Scholar] [CrossRef]
- Kim, J.H.; Lee, H.; Hong, S.J.; Kim, S.; Park, J.; Hwang, J.Y.; Choi, J.P. Objects segmentation from high-resolution aerial images using U-Net with pyramid pooling layers. IEEE Geosci. Remote Sens. Lett. 2018, 16, 115–119. [Google Scholar] [CrossRef]
- An, S.; Rui, X. A High-Precision Water Body Extraction Method Based on Improved Lightweight U-Net. Remote Sens. 2022, 14, 4127. [Google Scholar] [CrossRef]
- Zhang, Y.; Lu, H.; Ma, G.; Zhao, H.; Xie, D.; Geng, S.; Tian, W.; Sian, K.T.C.L.K. MU-Net: Embedding MixFormer into Unet to Extract Water Bodies from Remote Sensing Images. Remote Sens. 2023, 15, 3559. [Google Scholar] [CrossRef]
- Li, J.; Wang, C.; Xu, L.; Wu, F.; Zhang, H.; Zhang, B. Multitemporal Water Extraction of Dongting Lake and Poyang Lake Based on an Automatic Water Extraction and Dynamic Monitoring Framework. Remote Sens. 2021, 13, 865. [Google Scholar] [CrossRef]
- He, H.; Huang, X.; Li, H.; Ni, L.; Wang, X.; Chen, C.; Liu, Z. Water body extraction of high resolution remote sensing image based on improved U-Net network. J. Geo-Inf. Sci. 2020, 22, 2010–2022. [Google Scholar]
- Schläpfer, D.; Richter, R.; Hueni, A. Recent developments in operational atmospheric and radiometric correction of hyperspectral imagery. In Proceedings of the 6th EARSeL SIG IS Workshop, Tel Aviv, Israel, 16–19 March 2009; pp. 16–19. [Google Scholar]
- Dave, C.P.; Joshi, R.; Srivastava, S. A survey on geometric correction of satellite imagery. Int. J. Comput. Appl. 2015, 116, 24–27. [Google Scholar]
- Yan, Y.; Tan, Z.; Su, N. A Data Augmentation Strategy Based on Simulated Samples for Ship Detection in RGB Remote Sensing Images. ISPRS Int. J. Geo-Inf. 2019, 8, 276. [Google Scholar] [CrossRef]
- Taylor, L.; Nitschke, G. Improving deep learning with generic data augmentation. In Proceedings of the 2018 IEEE Symposium Series on Computational Intelligence (SSCI), Bangalore, India, 18–21 November 2018; pp. 1542–1547. [Google Scholar]
- Krell, M.M.; Kim, S.K. Rotational data augmentation for electroencephalographic data. In Proceedings of the 2017 39th Annual International Conference of the IEEE Engineering in Medicine and Biology Society (EMBC), Jeju Island, Republic of Korea, 11–15 July 2017; pp. 471–474. [Google Scholar]
- Hochreiter, S. The vanishing gradient problem during learning recurrent neural nets and problem solutions. Int. J. Uncertain. Fuzziness Knowl.-Based Syst. 1998, 6, 107–116. [Google Scholar] [CrossRef]
- Yamanaka, J.; Kuwashima, S.; Kurita, T. Fast and accurate image super resolution by deep CNN with skip connection and network in network. In Proceedings of the Neural Information Processing: 24th International Conference, ICONIP 2017, Guangzhou, China, 14–18 November 2017; Proceedings, Part II 24. pp. 217–225. [Google Scholar]
- Drozdzal, M.; Vorontsov, E.; Chartrand, G.; Kadoury, S.; Pal, C. The importance of skip connections in biomedical image segmentation. In Proceedings of the International Workshop on Deep Learning in Medical Image Analysis, International Workshop on Large-Scale Annotation of Biomedical Data and Expert Label Synthesis, Athens, Greece, 21 October 2016; pp. 179–187. [Google Scholar]
- Long, J.; Shelhamer, E.; Darrell, T. Fully convolutional networks for semantic segmentation. In Proceedings of the IEEE Conference on Computer Vision and Pattern Recognition, San Francisco, CA, USA, 18–20 June 1996; pp. 3431–3440. [Google Scholar]
- Badrinarayanan, V.; Kendall, A.; Cipolla, R. Segnet: A deep convolutional encoder-decoder architecture for image segmentation. IEEE Trans. Pattern Anal. Mach. Intell. 2017, 39, 2481–2495. [Google Scholar] [CrossRef]
- Pekel, J.-F.; Cottam, A.; Gorelick, N.; Belward, A.S. High-resolution mapping of global surface water and its long-term changes. Nature 2016, 540, 418–422. [Google Scholar] [CrossRef] [PubMed]
- Wang, C. Ecological Civilization is the Chinese Wisdom and Chinese Plan for Sustainable Development. In Beautiful China: 70 Years Since 1949 and 70 People’s Views on Eco-Civilization Construction; Springer: Berlin/Heidelberg, Germany, 2021; pp. 449–460. [Google Scholar]
- Muller, D.G. China as a Maritime Power; Routledge: London, UK, 2019. [Google Scholar]
- Wang, H.; Xu, D.; Zhang, D.; Pu, Y.; Luan, Z. Shoreline Dynamics of Chongming Island and Driving Factor Analysis Based on Landsat Images. Remote Sens. 2022, 14, 3305. [Google Scholar] [CrossRef]
- Li, J.; Ma, R.; Cao, Z.; Xue, K.; Xiong, J.; Hu, M.; Feng, X. Satellite Detection of Surface Water Extent: A Review of Methodology. Water 2022, 14, 1148. [Google Scholar] [CrossRef]
- Dellepiane, S.; De Laurentiis, R.; Giordano, F. Coastline extraction from SAR images and a method for the evaluation of the coastline precision. Pattern Recognit. Lett. 2004, 25, 1461–1470. [Google Scholar] [CrossRef]
- Shen, G.; Ibrahim Abdoul, N.; Zhu, Y.; Wang, Z.; Gong, J. Remote sensing of urban growth and landscape pattern changes in response to the expansion of Chongming Island in Shanghai, China. Geocarto Int. 2017, 32, 488–502. [Google Scholar] [CrossRef]
- Shilun, Y. A study of coastal morphodynamics on the muddy islands in the Changjiang River estuary. J. Coast. Res. 1999, 15, 32–44. [Google Scholar]










| Data Types | Image Collection Date |
|---|---|
| Training sets | 23 January 2015 |
| 12 March 2015 | |
| 3 August 2015 | |
| 26 January 2016 | |
| 27 February 2016 | |
| 20 May 2016 | |
| 13 February 2017 | |
| 23 July 2017 | |
| 23 May 2018 | |
| 17 December 2018 | |
| 18 January 2019 | |
| 10 May 2019 | |
| 29 May 2019 | |
| 21 January 2020 | |
| 12 May 2020 | |
| Test sets | 27 February 2022 |
| 15 March 2022 | |
| 18 May 2022 |
| Accuracy | Precision | IOU | F1 Score | |
|---|---|---|---|---|
| FCN8 | 0.9814 | 0.9813 | 0.9463 | 0.9713 |
| SegNet | 0.9717 | 0.9717 | 0.9215 | 0.9562 |
| UNet | 0.9830 | 0.9830 | 0.9435 | 0.9714 |
| ISUNet | 0.9836 | 0.9837 | 0.9479 | 0.9723 |
| Year | Area Absolute Error (km2) | Area Relative Error |
|---|---|---|
| 2013 | 39.565 | 0.741% |
| 2014 | 26.127 | 0.500% |
| 2015 | 35.168 | 0.661% |
| 2016 | 40.144 | 0.786% |
| 2017 | 9.647 | 0.192% |
| 2018 | 25.207 | 0.497% |
| 2019 | 5.125 | 0.099% |
| 2020 | 10.337 | 0.222% |
| 2021 | 12.975 | 0.257% |
| 2022 | 43.811 | 0.879% |
| Imaging Date | 4 November 2014 | 23 March 2018 | 18 May 2022 |
|---|---|---|---|
| Original image | ![]() | ![]() | ![]() |
| Identification results | ![]() | ![]() | ![]() |
| Artificial Shore | Sandy Shore | Silty Shore | Training Runtime | |
|---|---|---|---|---|
| Original image | ![]() | ![]() | ![]() | |
| FCN8 | ![]() | ![]() | ![]() | 9 h 07 min 56 s |
| SegNet | ![]() | ![]() | ![]() | 6 h 23 min 38 s |
| UNet | ![]() | ![]() | ![]() | 8 h 07 min 08 s |
| ISUNet | ![]() | ![]() | ![]() | 10 h 00 min 51 s |
| Accuracy | Precision | Recall | F1 Score | |
|---|---|---|---|---|
| FCN8 | 0.9436 | 0.9286 | 0.9923 | 0.9519 |
| SegNet | 0.9559 | 0.9563 | 0.9832 | 0.9615 |
| UNet | 0.9678 | 0.9514 | 0.9905 | 0.9710 |
| ISUNet | 0.9688 | 0.9523 | 0.9932 | 0.9723 |
Disclaimer/Publisher’s Note: The statements, opinions and data contained in all publications are solely those of the individual author(s) and contributor(s) and not of MDPI and/or the editor(s). MDPI and/or the editor(s) disclaim responsibility for any injury to people or property resulting from any ideas, methods, instructions or products referred to in the content. |
© 2024 by the authors. Licensee MDPI, Basel, Switzerland. This article is an open access article distributed under the terms and conditions of the Creative Commons Attribution (CC BY) license (https://creativecommons.org/licenses/by/4.0/).
Share and Cite
Miao, L.; Feng, X.; Yang, L.; Ren, Y.; Deng, Y.; Hang, T. Spatiotemporal Analysis of Water Body in the Chongming Island Region over the Past Decade Based on the ISUNet Model. ISPRS Int. J. Geo-Inf. 2024, 13, 134. https://doi.org/10.3390/ijgi13040134
Miao L, Feng X, Yang L, Ren Y, Deng Y, Hang T. Spatiotemporal Analysis of Water Body in the Chongming Island Region over the Past Decade Based on the ISUNet Model. ISPRS International Journal of Geo-Information. 2024; 13(4):134. https://doi.org/10.3390/ijgi13040134
Chicago/Turabian StyleMiao, Lizhi, Xinkai Feng, Lijun Yang, Yanhui Ren, Yamei Deng, and Tian Hang. 2024. "Spatiotemporal Analysis of Water Body in the Chongming Island Region over the Past Decade Based on the ISUNet Model" ISPRS International Journal of Geo-Information 13, no. 4: 134. https://doi.org/10.3390/ijgi13040134
APA StyleMiao, L., Feng, X., Yang, L., Ren, Y., Deng, Y., & Hang, T. (2024). Spatiotemporal Analysis of Water Body in the Chongming Island Region over the Past Decade Based on the ISUNet Model. ISPRS International Journal of Geo-Information, 13(4), 134. https://doi.org/10.3390/ijgi13040134






















