Fusion Scheme and Implementation Based on SRTM1, ASTER GDEM V3, and AW3D30
Abstract
1. Introduction
2. Research Area and Data
3. Methods
3.1. Topographic Factor Information Entropy
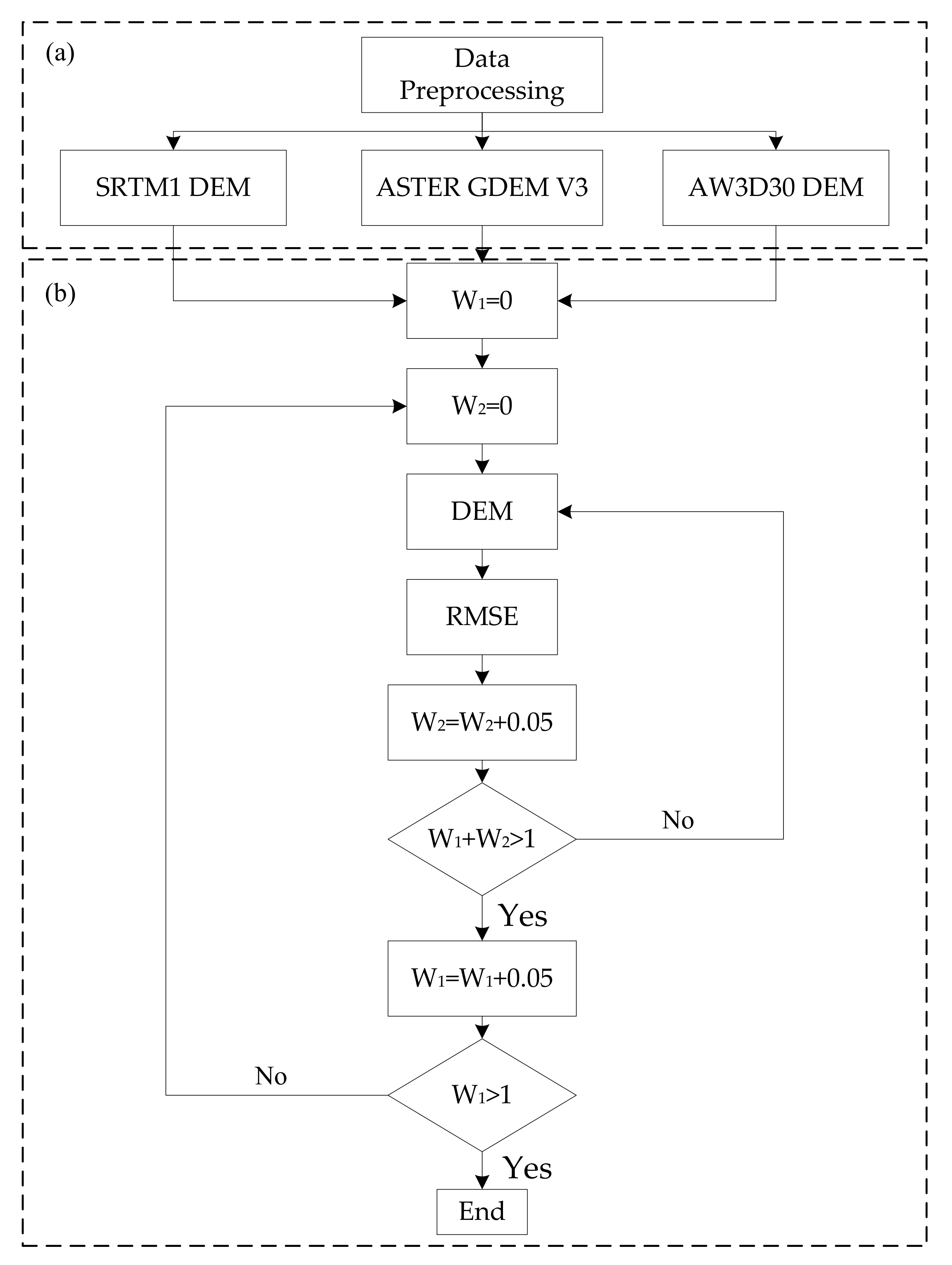
3.2. Obtaining Optimal Weighting Coefficients Based on Traversal Search
4. Results
4.1. Topographic Factor Information Entropy
4.2. Optimal Weighting Coefficients
4.3. Evaluation of Fusion Scheme
5. Discussion
6. Conclusions
Author Contributions
Funding
Institutional Review Board Statement
Informed Consent Statement
Data Availability Statement
Conflicts of Interest
References
- Tang, G. Progress of DEM and digital terrain analysis in China. Acta Geogr. Sin. 2014, 69, 1305–1325. [Google Scholar] [CrossRef]
- Xiong, L.; Tang, G.; Yang, X.; Li, F. Geomorphology-oriented digital terrain analysis: Progress and perspectives. J. Geogr. Sci. 2021, 31, 456–476. [Google Scholar] [CrossRef]
- Lakshmi, S.E.; Yarrakula, K. Review and critical analysis on digital elevation models. Geofizika 2018, 35, 129–157. [Google Scholar] [CrossRef]
- Polidori, L.; El Hage, M. Digital elevation model quality assessment methods: A critical review. Remote Sens. 2020, 12, 3522. [Google Scholar] [CrossRef]
- Saleem, N.; Huq, M.; Twumasi, N.Y.D.; Javed, A.; Sajjad, A. Parameters derived from and/or used with digital elevation models (DEMs) for landslide susceptibility mapping and landslide risk assessment: A review. ISPRS Int. J. Geoinf. 2019, 8, 545. [Google Scholar] [CrossRef]
- Bi, H.; Li, X.; Guo, M.; Liu, X.; Li, J. Digital terrain analysis based on DEM. Front. For. China 2006, 1, 54–58. [Google Scholar] [CrossRef]
- Metwally, M.; Bazan, T.M.; Eltohamy, F. Design of very high-resolution satellite telescopes part I: Optical system design. IEEE Trans. Aerosp. Electron. Syst. 2019, 56, 1202–1208. [Google Scholar] [CrossRef]
- Mukherjee, S.; Joshi, P.K.; Mukherjee, S.; Ghosh, A.; Garg, R.D.; Mukhopadhyay, A. Evaluation of vertical accuracy of open source Digital Elevation Model (DEM). Int. J. Appl. Earth Obs. Geoinf. 2013, 21, 205–217. [Google Scholar] [CrossRef]
- Hawker, L.; Bates, P.; Neal, J.; Rougier, J. Perspectives on digital elevation model (DEM) simulation for flood modeling in the absence of a high-accuracy open access global DEM. Front. Earth Sci. 2018, 6, 233. [Google Scholar] [CrossRef]
- Liu, X. Airborne LiDAR for DEM generation: Some critical issues. Prog. Phys. Geogr. 2008, 32, 31–49. [Google Scholar] [CrossRef]
- Uysal, M.; Toprak, A.S.; Polat, N. DEM generation with UAV Photogrammetry and accuracy analysis in Sahitler hill. Measurement 2015, 73, 539–543. [Google Scholar] [CrossRef]
- Gelautz, M.; Paillou, P.; Chen, C.W.; Zebker, H.A. A comparative study of radar stereo and interferometry for DEM generation. In Proceedings of the FRINCE 2003 Workshop, Frascati, Italy, 1–5 December 2003. [Google Scholar]
- O’Loughlin, F.E.; Paiva, R.C.D.; Durand, M.; Alsdorf, D.E.; Bates, P.D. A multi-sensor approach towards a global vegetation corrected SRTM DEM product. Remote Sens. Environ. 2016, 182, 49–59. [Google Scholar] [CrossRef]
- Reuter, H.I.; Nelson, A.; Jarvis, A. An evaluation of void-filling interpolation methods for SRTM data. Int. J. Geogr. Inf. Sci. 2007, 21, 983–1008. [Google Scholar] [CrossRef]
- Li, S.; Hu, G.; Cheng, X.; Xiong, L.; Tang, G.; Strobl, J. Integrating topographic knowledge into deep learning for the void-filling of digital elevation models. Remote Sen. Environ. 2022, 269, 112818. [Google Scholar] [CrossRef]
- Karkee, M.; Steward, B.L.; Aziz, S.A. Improving quality of public domain digital elevation models through data fusion. Biosyst. Eng. 2008, 101, 293–305. [Google Scholar] [CrossRef]
- Rao, Y.S.; Rao, K.S.; Venkataraman, G.; Khare, M.; Reddy, C.D. Comparison of DEMs derived from INSAR and optical stereo techniques. In Proceedings of the FRINGE Workshop on ERS SAR Interferometry, Frascati, Italy, 1–5 December 2003. [Google Scholar]
- Deng, S.; Zhang, J.; Li, P.; Huang, G. DEM Fusion and Its Application in Mapping Topography of Complex Areas. In Proceedings of the 2011 International Symposium on Image and Data Fusion, Tengchong, China, 1–4 August 2011. [Google Scholar]
- Schindler, K.; Papasaika-Hanusch, H.; Schutz, S.; Baltsavias, E. Improving wide-area DEMs through data fusion-chances and limits. Proc. Photogramm. Week 2011, 11, 159–170. [Google Scholar]
- Tran, T.A.; Raghavan, V.; Masumoto, S.; Vinayaraj, P.; Yonezawa, G. A geomorphology-based approach for digital elevation model fusion–case study in Danang city, Vietnam. Earth Surf. Dyn. 2014, 2, 403–417. [Google Scholar] [CrossRef][Green Version]
- Florinsky, I.V.; Kuryakova, G.A. Determination of grid size for digital terrain modelling in landscape investigations—Exemplified by soil moisture distribution at a micro-scale. Int. J. Geogr. Inf. Sci. 2000, 14, 815–832. [Google Scholar] [CrossRef]
- Thompson, J.A.; Bell, J.C.; Butler, C.A. Digital elevation model resolution: Effects on terrain attribute calculation and quantitative soil-landscape modeling. Geoderma 2001, 100, 67–89. [Google Scholar] [CrossRef]
- Sharma, A.; Tiwari, K.N.; Bhadoria, P.B.S. Determining the optimum cell size of digital elevation model for hydrologic application. J. Earth Sys. Sci. 2011, 120, 573–582. [Google Scholar] [CrossRef]
- Zhou, C.; Zhang, G.; Yang, Z.; Ao, M.; Liu, Z.; Zhu, J. An adaptive terrain-dependent method for SRTM DEM correction over mountainous areas. IEEE Access 2020, 8, 130878–130887. [Google Scholar] [CrossRef]
- Yang, L.; Meng, X.; Zhang, X. SRTM DEM and its application advances. Int. J. Remote Sens. 2011, 32, 3875–3896. [Google Scholar] [CrossRef]
- Weydahl, D.J.; Bretar, F.; Bjerke, P. Comparison of RADARSAT-1 and IKONOS satellite images for urban features detection. Inf. Fusion 2005, 6, 243–249. [Google Scholar] [CrossRef]
- Uuemaa, E.; Ahi, S.; Montibeller, B.; Muru, M.; Kmoch, A. Vertical Accuracy of Freely Available Global Digital Elevation Models (ASTER, AW3D30, MERIT, TanDEM-X, SRTM, and NASADEM). Remote Sens. 2020, 12, 3482. [Google Scholar] [CrossRef]
- Abdelouhed, F.; Ahmed, A.; Abdellah, A.; Mohammed, I.; Zouhair, O. Extraction and analysis of geological lineaments by combining ASTER-GDEM and Landsat 8 image data in the central high atlas of Morocco. Nat. Hazards 2021, 1–23. [Google Scholar] [CrossRef]
- Boulton, S.J.; Stokes, M. Which DEM is best for analyzing fluvial landscape development in mountainous terrains. Geomorphology 2018, 310, 168–187. [Google Scholar] [CrossRef]
- Takaku, J.; Tadono, T.; Tsutsui, K.; Ichikawa, M. Validation of ‘aw3d’ global dsm generated from ALOS PRISM. ISPRS Ann. Photogramm. Remote Sens. Spat. Inf. Sci. 2016, 3, 12–19. [Google Scholar] [CrossRef]
- Tadono, T.; Ishida, H.; Oda, F.; Naito, S.; Minakawa, K.; Iwamoto, H. Precise global DEM generation by ALOS PRISM. ISPRS Ann. Photogramm. Remote Sens. Spat. Inf. Sci. 2014, 2, 71–76. [Google Scholar] [CrossRef]
- Rodriguez, E.; Morris, C.S.; Belz, J.E. A global assessment of the SRTM performance. Photogramm. Eng. Remote Sens. 2006, 72, 249–260. [Google Scholar] [CrossRef]
- Yuan, X.; Li, G.; Gao, X.; Zhang, W.; Lu, J. Evaluation of AW3D 30 m DSM Data Elevation Quality and Precision Validation of Typical Region. Geomat. Spat. Inf. Technol. 2018, 41, 98–101. [Google Scholar] [CrossRef]
- Baghdadi, N.; Lemarquand, N.; Abdallah, H.; Bailly, J.S. The relevance of GLAS/ICESat elevation data for the monitoring of river networks. Remote Sens. 2011, 3, 708–720. [Google Scholar] [CrossRef]
- Chang, Z.; Wu, L. Mountain Grid DEM Data Compression Based on Wavelet Transform and Mixed Entropy Coding. Geogr. Geo-Inf. Sci. 2004, 1, 24–27. [Google Scholar] [CrossRef]
- Hu, L.; He, Z.; Liu, J.; Zheng, C. Method for measuring the information content of terrain from digital elevation models. Entropy 2015, 17, 7021–7051. [Google Scholar] [CrossRef]
- Li, X.; Liu, J.; Kang, G. Analysis of terrain information using elevation matching based on entropy. J. Appl. Sci. 2006, 24, 608–612. [Google Scholar] [CrossRef]
- Chen, Z.; Ye, F.; Fu, W.; Ke, Y.; Hong, H. The influence of DEM spatial resolution on landslide susceptibility mapping in the Baxie River basin, NW China. Nat. Hazards 2020, 101, 853–877. [Google Scholar] [CrossRef]
- Hao, Z.; Chi, C.; Wang, L.; Wang, Y. A Preliminary Analysis of Dem Space Data Resolution. Adv. Earth Sci. 2005, 20, 499–504. [Google Scholar] [CrossRef]
- Mukherjee, S.; Mukherjee, S.; Bhardwaj, A.; Mukhopadhyay, A.; Garg, R.D.; Hazra, S. Accuracy of Cartosat-1 DEM and its derived attribute at multiple scale representation. J. Earth Sys. Sci. 2015, 124, 487–495. [Google Scholar] [CrossRef][Green Version]
- Borkowski, A. On the optimal grid cell size for digital terrain models interpolated from contour lines maps, Scientarum Polonorum. Geod. Descr. Terrarum 2002, 1, 15–22. [Google Scholar]
- Becek, K. A Fixed-σ Digital Representation of a Random Scalar Field. In Geodesy for Planet Earth; Springer: Berlin/Heidelberg, Germany, 2012; pp. 725–731. [Google Scholar]
- Raposo, P. Variable DEM generalization using local entropy for terrain representation through scale. Int. J. Cartogr. 2020, 6, 99–120. [Google Scholar] [CrossRef]
- Wise, S. Information entropy as a measure of DEM quality. Comput. Geosci. 2012, 48, 102–110. [Google Scholar] [CrossRef]
- Wei, L.; Hao, Z.; Li, L. Information Entropy-based Assessment of Different Resolution DEM and Its Effects on Run-off Simulation. Hydroelectr. Energy 2004, 4, 1–4. [Google Scholar] [CrossRef]
- Xu, Q.Y.; Ye, J.; Lyu, Y.J. A multi-source data fusion modeling method for debris flow prevention engineering. J. Mt. Sci. 2021, 18, 1049–1061. [Google Scholar] [CrossRef]
- Petrasova, A.; Mitasova, H.; Petras, V.; Jeziorska, J. Fusion of high-resolution DEMs for water flow modeling. Open Geospat. Data Softw. Stand. 2017, 2, 6. [Google Scholar] [CrossRef]
- Jain, A.O.; Thaker, T.; Chaurasia, A.; Patel, P.; Singh, A.K. Vertical accuracy evaluation of SRTM-GL1, GDEM-V2, AW3D30 and CartoDEM-V3. 1 of 30-m resolution with dual frequency GNSS for lower Tapi Basin India. Geocarto Int. 2018, 33, 1237–1256. [Google Scholar] [CrossRef]
- Czubski, K.; Kozak, J.; Kolecka, N. Accuracy of SRTM-X and ASTER elevation data and its influence on topographical and hydrological modeling: Case study of the Pieniny Mts. in Poland. Int. J. Geoinform. 2013, 9, 7–14. [Google Scholar] [CrossRef]
- Dickson, B.G.; Beier, P. Quantifying the influence of topographic position on cougar (Puma concolor) movement in southern California, USA. J. Zool. 2007, 271, 270–277. [Google Scholar] [CrossRef]
- Fuss, C.E.; Berg, A.A.; Lindsay, J.B. DEM Fusion using a modified k-means clustering algorithm. Int. J. Digit. Earth 2016, 9, 1242–1255. [Google Scholar] [CrossRef]
- Setiyoko, A.; Arymurthy, A.M.; Basaruddin, T. DEM fusion concept based on the LS-SVM cokriging method. Int. J. Image Data Fusion 2019, 10, 244–262. [Google Scholar] [CrossRef]
- Cai, G.; Shen, D.; Zhang, A.; Yu, H.; Zhang, X. A DEM fusion method for ascending and descending orbit StereoSAR DEMs in complicated mountain areas considering SAR echo intensity. J. Mt. Sci. 2021, 18, 101–110. [Google Scholar] [CrossRef]












| Attribute | SRTM1 DEM | ASTER GDEM V3 | AW3D30 DEM | Reference DEM |
|---|---|---|---|---|
| Reference ellipsoid | WGS84 | WGS84 | GRS80 | Topex/Poseidon |
| Resolution | 1″ | 1″ | 1″ | 5 m |
| Coverage | 56° S–60° N | 83° S–83° N | 82° S–82° N | Taiyuan City |
| Generation | InSAR | Photogrammetry | Photogrammetry | LiDAR |
| Slope (°) | SRTM1 DEM | ASTER GDEM V3 | AW3D30 DEM |
|---|---|---|---|
| 0–5 | 0.70 | 0.10 | 0.20 |
| 5–10 | 0.24 | 0.12 | 0.64 |
| 10–15 | 0.00 | 0.11 | 0.89 |
| 15–20 | 0.00 | 0.16 | 0.84 |
| 20–25 | 0.00 | 0.10 | 0.90 |
| 25–30 | 0.00 | 0.08 | 0.92 |
| 30–35 | 0.04 | 0.16 | 0.80 |
| 35–45 | 0.00 | 0.13 | 0.97 |
| >45 | 0.00 | 0.19 | 0.81 |
| Elevation Difference (m) | SRTM1 DEM | ASTER GDEMV3 | AW3D30 DEM | Fused DEM |
|---|---|---|---|---|
| MAE | 6.37 | 10.04 | 4.77 | 4.22 |
| STD | 8.76 | 12.31 | 5.66 | 5.58 |
| RMSE | 8.82 | 12.94 | 6.57 | 5.93 |
| Attribute | MAE | STD | RMSE |
|---|---|---|---|
| Slope | |||
| SRTM1 DEM | 4.81 | 6.07 | 6.71 |
| ASTER GDEM V3 | 6.29 | 8.01 | 8.13 |
| AW3D30 DEM | 3.16 | 4.34 | 4.35 |
| Fused DEM | 3.08 | 4.17 | 4.35 |
| Profile curvature | |||
| SRTM1 DEM | 3.63 | 4.99 | 5.07 |
| ASTER GDEM V3 | 4.57 | 5.91 | 5.97 |
| AW3D30 DEM | 2.86 | 3.96 | 3.98 |
| Fused DEM | 2.75 | 3.81 | 3.81 |
| TPI | |||
| SRTM1 DEM | 4.03 | 5.83 | 5.82 |
| ASTER GDEM V3 | 5.05 | 6.84 | 6.84 |
| AW3D30 DEM | 2.87 | 4.19 | 4.19 |
| Fused DEM | 2.87 | 4.16 | 4.15 |
| Attribute | MAE | STD | RMSE |
|---|---|---|---|
| No. 1 | |||
| SRTM1 DEM | 12.35 | 15.90 | 16.50 |
| ASTER GDEM V3 | 12.95 | 16.49 | 17.01 |
| AW3D30 DEM | 7.91 | 9.11 | 10.73 |
| Fused DEM | 7.78 | 9.09 | 10.58 |
| No. 2 | |||
| SRTM1 DEM | 10.54 | 17.09 | 17.11 |
| ASTER GDEM V3 | 14.13 | 20.73 | 20.75 |
| AW3D30 DEM | 7.38 | 11.14 | 11.88 |
| Fused DEM | 7.14 | 10.53 | 11.87 |
| No. 3 | |||
| SRTM1 DEM | 17.57 | 23.43 | 25.14 |
| ASTER GDEM V3 | 19.23 | 26.97 | 27.21 |
| AW3D30 DEM | 13.28 | 23.06 | 25.26 |
| Fused DEM | 13.09 | 21.88 | 23.75 |
| No. 4 | |||
| SRTM1 DEM | 8.95 | 11.45 | 11.48 |
| ASTER GDEM V3 | 10.74 | 14.24 | 14.24 |
| AW3D30 DEM | 6.40 | 7.65 | 8.32 |
| Fused DEM | 6.21 | 7.34 | 8.31 |
| No. 5 | |||
| SRTM1 DEM | 11.17 | 15.58 | 15.91 |
| ASTER GDEM V3 | 13.32 | 16.88 | 16.88 |
| AW3D30 DEM | 10.62 | 11.70 | 14.13 |
| Fused DEM | 9.98 | 11.63 | 13.46 |
Publisher’s Note: MDPI stays neutral with regard to jurisdictional claims in published maps and institutional affiliations. |
© 2022 by the authors. Licensee MDPI, Basel, Switzerland. This article is an open access article distributed under the terms and conditions of the Creative Commons Attribution (CC BY) license (https://creativecommons.org/licenses/by/4.0/).
Share and Cite
Zhao, S.; Liu, J.; Cheng, W.; Zhou, C. Fusion Scheme and Implementation Based on SRTM1, ASTER GDEM V3, and AW3D30. ISPRS Int. J. Geo-Inf. 2022, 11, 207. https://doi.org/10.3390/ijgi11030207
Zhao S, Liu J, Cheng W, Zhou C. Fusion Scheme and Implementation Based on SRTM1, ASTER GDEM V3, and AW3D30. ISPRS International Journal of Geo-Information. 2022; 11(3):207. https://doi.org/10.3390/ijgi11030207
Chicago/Turabian StyleZhao, Shangmin, Jiao Liu, Weiming Cheng, and Chenghu Zhou. 2022. "Fusion Scheme and Implementation Based on SRTM1, ASTER GDEM V3, and AW3D30" ISPRS International Journal of Geo-Information 11, no. 3: 207. https://doi.org/10.3390/ijgi11030207
APA StyleZhao, S., Liu, J., Cheng, W., & Zhou, C. (2022). Fusion Scheme and Implementation Based on SRTM1, ASTER GDEM V3, and AW3D30. ISPRS International Journal of Geo-Information, 11(3), 207. https://doi.org/10.3390/ijgi11030207

