Comparing High Accuracy t-LiDAR and UAV-SfM Derived Point Clouds for Geomorphological Change Detection
Abstract
1. Introduction
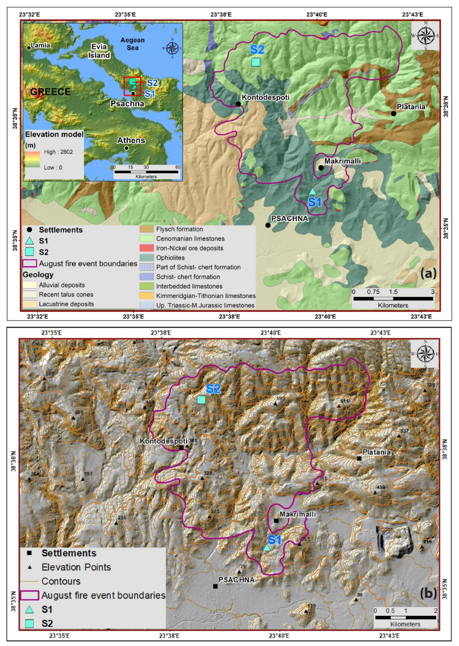
2. Study Area
3. Methodology
3.1. Pre-Fieldwork
3.2. UAV Image Acquisition Technique
3.3. TLS Technique

3.4. SfM Processing—Agisoft Metashape Pro
- TIN (Triangulated Irregular Network) extraction. Agisoft Metashape Pro constructs an intermediate TIN file (irregular triangle net) related to a high-density point cloud (“dense point cloud”). This TIN can differentiate the point density and can define each point’s position according to the complex relief. As a result, a better display of the geomorphological characteristics (watersheds, etc.) is achieved. The extracted topographical points (points with altitude information) are then available to be exported as a mesh model.
- Texture. The texture of the relief is very significant for the model display and the following analysis. The texture algorithm is related to the TIN construction. Agisoft Metashape uses the following methods (mapping mode) for the texture reconstruction: (a) generic, (b) adaptive orthophoto, (c) orthophoto, (d) spherical, (e) single camera, (f) keep uv. According to our test sites’ characteristics, we selected the generic approach.
- Accuracy. The accuracy of the method is defined by the data source and the model construction method. During the data collection, for example, the radial distortion of the UAV built-in lens should be taken into consideration. Vegetation cover can also moderate the model’s accuracy, as a result, it should be removed before initiating the Agisoft modeling on soil’s change detection surveys.
3.5. Point Cloud Processing—CloudCompare
- 4.
- Subsampling. This method reduces the total data volume by excluding points of the original point cloud. The points are being selected by the user, taking into consideration the sampling points and the percentage of points that will be used. As the number of points increases, the duration of the process also increases. More points result in better point correlation. We selected mm- resolution spacing in TLS measurements to examine what would be the accuracy of the extracted change detection results, as the mean distance of the targets was restricted because of obstacles (eg. river bank at S1 and trees at S1 and S2) In order to achieve a high-quality point cloud, a segmentation of the original point cloud was used instead of subsampling. So, we removed: (a) the noise of the cloud, (b) points outside the study area, (c) vegetation and (d) points that are placed incorrectly in the point cloud due to TLS sensor or UAV- SfM issues.
- 5.
- Registration. This processing step is considered to be one of the most important steps in point cloud analysis. During the registration, the different point clouds are being fine aligned by point- pair picking (align tool) in CloudCompare software. This procedure includes the registration of each point cloud (TLS or SfM-derived) with GNSS- derived GCP points. An additional process of picking common stable points (e.g., outcrops and trees) was selected, at both clouds, in order for the clouds to be identically registered to one another, outcrops was used only at S1, because of the extended weathered soil cover at S2, where only common tree points were available. At this point, we could achieve cm accuracy based on the GNSS usage, which leads to a high- quality model- to- model comparison. The registration error of each point cloud dataset is analysed in the Section 4.
- 6.
- Point cloud coloring. The Ilris 3D sensor that was used, does not include software for RGB values assignment to produce a true-color point cloud. As a result, we assigned different colors at each point, according to the intensity value.
- 7.
- Vegetation removal. Although at first scans we did not have significant vegetation, we had to remove burnt trees and small shrubs. For this reason, we used the Cloth Simulation Filter (CSF) algorithm, which extracts ground points in discrete return LiDAR point clouds [63] and UAV-derived clouds. Using CSF, we separated all ground points and extracted a new vegetation-free point cloud. Finally, we manually removed any vegetation-related points that remained in the new cloud.
- 8.
- During the CloudCompare processing, it was noted that by using the alignment technique of matched features in different point clouds the accuracy and the georeference in real world coordinates are enhanced. Features such as outcrops at S1 used for this purpose, resulted in an alignment accuracy less than 1 cm, while at S2, it was possible to find only trees as common stable features (same accuracy achieved), due to extended soil cover. As a result, the number of GCP used is considered adequate.
- 9.
- M3C2 (Multiscale Model to Model Cloud Comparison) distance calculation [64]. By using the M3C2 algorithm and computing the vertical normals we compared TLS to TLS and UAV to UAV (2019–2020) point clouds for each site. According to [64] the algorithm combines the local distance of two point clouds in correlation with the normal surface detection which tracks 3D variations in surface orientation. This algorithm has the advantage of operating directly to point clouds and estimating a confidence interval depending on point clouds characteristics and registration error. After experimental use of different values and the “guess params” option (provided by the software), we concluded to 0.20 m normal scale diameter and 0.10 m projection scale diameter (At S1 and S2, for both SfM and TLS technique) for the 19 October 2019–23 February 2020 calculations, while 0.30 m and 0.20 m were used respectively for 23 February 2020–11 October 2020 and (19 October 2019–11 October 2020) calculations. All points of the defined “point cloud #1” were used as core points for normal calculations.
4. Results
5. Discussion
6. Conclusions
Author Contributions
Funding
Institutional Review Board Statement
Informed Consent Statement
Data Availability Statement
Acknowledgments

Conflicts of Interest
References
- Dregne, H.E. Land degradation in the drylands. Arid Land Res. Manag. 2002, 16, 99–132. [Google Scholar] [CrossRef]
- Larsen, I.J.; MacDonald, L.H. Predicting postfire sediment yields at the hillslope scale: Testing RUSLE and Disturbed WEPP. Water Resour. Res. 2007, 43. [Google Scholar] [CrossRef]
- Shakesby, R.A. Post-wildfire soil erosion in the Mediterranean: Review and future research directions. Earth Sci. Rev. 2011, 105, 71–100. [Google Scholar] [CrossRef]
- Rengers, F.K.; Tucker, G.E.; Moody, J.A.; Ebel, B.A. Illuminating wildfire erosion and deposition patterns with repeat terrestrial LiDAR. J. Geophys. Res. Earth Surf. 2016, 121, 588–608. [Google Scholar] [CrossRef]
- Efthimiou, N.; Psomiadis, E. The Significance of Land Cover Delineation on Soil Erosion Assessment. Environ. Manag. 2018, 62, 383–402. [Google Scholar] [CrossRef]
- Morgan, R.P.C. Soil Erosion and Conservation, 3rd ed.; Blackwell Publishing: Oxford, UK, 2005; ISBN 1-4051-1781-8. [Google Scholar]
- Karamesouti, M.; Petropoulos, G.P.; Papanikolaou, I.D.; Kairis, O.; Kosmas, K. Erosion rate predictions from PESERA and RUSLE at a Mediterranean site before and after a wildfire: Comparison & implications. Geoderma 2016, 261, 44–58. [Google Scholar] [CrossRef]
- Gulyaev, S.A.; Buckeridge, J.S. Terrestrial methods for monitoring cliff erosion in an urban environment. J. Coast. Res. 2004, 20, 871–878. [Google Scholar] [CrossRef]
- Wawrzyniec, T.F.; McFadden, L.D.; Ellwein, A.; Meyer, G.; Scuderi, L.; McAuliffe, J.; Fawcett, P. Chronotopographic analysis directly from point-cloud data: A method for detecting small, seasonal hillslope change, Black Mesa Escarpment, NE Arizona. Geosphere 2007, 3, 550–567. [Google Scholar] [CrossRef]
- Hodge, R.; Brasington, J.; Richards, K. Analysing laser-scanned digital terrain models of gravel bed surfaces: Linking morphology to sediment transport processes and hydraulics. Sedimentology 2009, 56, 2024–2043. [Google Scholar] [CrossRef]
- Resop, J.P.; Hession, W.C. Terrestrial Laser Scanning for Monitoring Streambank Retreat: Comparison with Traditional Surveying Techniques. J. Hydraul. Eng. 2010, 136, 794–798. [Google Scholar] [CrossRef]
- O’Neal, M.A.; Pizzuto, J.E. The rates and spatial patterns of annual riverbank erosion revealed through terrestrial laser-scanner surveys of the South River, Virginia. Earth Surf. Process. Landforms 2011, 36, 695–701. [Google Scholar] [CrossRef]
- Neugirg, F.; Stark, M.; Kaiser, A.; Vlacilova, M.; Della Seta, M.; Vergari, F.; Schmidt, J.; Becht, M.; Haas, F. Erosion processes in calanchi in the Upper Orcia Valley, Southern Tuscany, Italy based on multitemporal high-resolution terrestrial LiDAR and UAV surveys. Geomorphology 2016, 269, 8–22. [Google Scholar] [CrossRef]
- Roşca, S.; Suomalainen, J.; Bartholomeus, H.; Herold, M. Comparing terrestrial laser scanning and unmanned aerial vehicle structure from motion to assess top of canopy structure in tropical forests. Interface Focus 2018, 8. [Google Scholar] [CrossRef]
- Wiatr, T.; Reicherter, K.; Papanikolaou, I.; Fernández-Steeger, T.; Mason, J. Slip vector analysis with high resolution t-LiDAR scanning. Tectonophysics 2013, 608, 947–957. [Google Scholar] [CrossRef]
- Wiatr, T.; Papanikolaou, I.; Fernández-Steeger, T.; Reicherter, K. Reprint of: Bedrock fault scarp history: Insight from t-LiDAR backscatter behaviour and analysis of structure changes. Geomorphology 2015, 237, 119–129. [Google Scholar] [CrossRef]
- Schneiderwind, S.; Mason, J.; Wiatr, T.; Papanikolaou, I.; Reicherter, K. 3-D visualisation of palaeoseismic trench stratigraphy and trench logging using terrestrial remote sensing and GPR – A multiparametric interpretation. Solid Earth 2016, 7, 323–340. [Google Scholar] [CrossRef]
- Mason, J.; Schneiderwind, S.; Wiatr, T.; Reicherter, K.; Pallikarakis, A.; Papanikolaou, I.; Mechernich, S.; Wiatr, T. Fault structure and deformation rates at the Lastros-Sfaka Graben, Crete. Tectonophysics 2016, 683, 216–232. [Google Scholar] [CrossRef]
- Carrea, D.; Abellan, A.; Humair, F.; Matasci, B.; Derron, M.; Jaboyedoff, M. Correction of terrestrial LiDAR intensity channel using Oren–Nayar reflectance model: An application to lithological differentiation. ISPRS J. Photogramm. Remote Sens. 2016, 113, 17–29. [Google Scholar] [CrossRef]
- Baltsavias, E.P. A comparison between photogrammetry and laser scanning. ISPRS J. Photogramm. Remote Sens. 1999, 54, 83–94. [Google Scholar] [CrossRef]
- Hodgson, M.E.; Bresnahan, P. Accuracy of airborne LiDAR-derived elevation: Empirical assessment and error budget. Photogramm. Eng. Remote Sens. 2004, 70, 331–339. [Google Scholar] [CrossRef]
- Deng, Y.; Wilson, J.P.; Bauer, B.O. DEM resolution dependencies of terrain attributes across a landscape. Int. J. Geogr. Inf. Sci. 2007, 21, 187–213. [Google Scholar] [CrossRef]
- Reuter, H.I.; Hengl, T.; Gessler, P.; Soille, P. Preparation of DEMs for Geomorphometric Analysis; Elsevier Ltd.: Amsterdam, The Netherlands, 2009; Volume 33. [Google Scholar]
- Tian, B.; Wang, L.; Koike, K. Spatial statistics of surface roughness change derived from multi-scale digital elevation models. In Procedia Environmental Sciences; Elsevier: Amsterdam, The Netherlands, 2011; Volume 7, pp. 252–257. [Google Scholar]
- Yang, P.; Ames, D.P.; Fonseca, A.; Anderson, D.; Shrestha, R.; Glenn, N.F.; Cao, Y. What is the effect of LiDAR-derived DEM resolution on large-scale watershed model results? Environ. Model. Softw. 2014, 58, 48–57. [Google Scholar] [CrossRef]
- Lindsay, J.B.; Francioni, A.; Cockburn, J.M.H. LiDAR DEM Smoothing and the Preservation of Drainage Features. Remote Sens. 2019, 11, 1926. [Google Scholar] [CrossRef]
- Lohani, B.; Mason, D.C. Application of airborne scanning laser altimetry to the study of tidal channel geomorphology. ISPRS J. Photogramm. Remote Sens. 2001, 56, 100–120. [Google Scholar] [CrossRef]
- Rosser, N.J.; Petley, D.N.; Lim, M.; Dunning, S.A.; Allison, R.J. Terrestrial laser scanning for monitoring the process of hard rock coastal cliff erosion. Q. J. Eng. Geol. Hydrogeol. 2005, 38, 363–375. [Google Scholar] [CrossRef]
- Heritage, G.L.; Hetherington, D. Towards a protocol for laser scanning in fluvial geomorphology. Earth Surf. Process. Landforms 2007, 32, 66–74. [Google Scholar] [CrossRef]
- Wehr, A.; Lohr, U. Airborne laser scanning—An introduction and overview. ISPRS J. Photogramm. Remote Sens. 1999, 54, 68–82. [Google Scholar] [CrossRef]
- Ventura, G.; Vilardo, G.; Terranova, C.; Sessa, E.B. Tracking and evolution of complex active landslides by multi-temporal airborne LiDAR data: The Montaguto landslide (Southern Italy). Remote Sens. Environ. 2011, 115, 3237–3248. [Google Scholar] [CrossRef]
- Daehne, A.; Corsini, A. Kinematics of active earthflows revealed by digital image correlation and DEM subtraction techniques applied to multi-temporal LiDAR data. Earth Surf. Process. Landforms 2013, 38, 640–654. [Google Scholar] [CrossRef]
- Mitasova, H.; Overton, M.; Harmon, R.S. Geospatial analysis of a coastal sand dune field evolution: Jockey’s Ridge, North Carolina. Geomorphology 2005, 72, 204–221. [Google Scholar] [CrossRef]
- Young, A.P.; Olsen, M.J.; Driscoll, N.; Flick, R.E.; Gutierrez, R.; Guza, R.T.; Johnstone, E.; Kuester, F. Comparison of airborne and terrestrial LiDAR estimates of seacliff erosion in southern California. Photogramm. Eng. Remote Sens. 2010, 76, 421–427. [Google Scholar]
- Bremer, M.; Sass, O. Combining airborne and terrestrial laser scanning for quantifying erosion and deposition by a debris flow event. Geomorphology 2012, 138, 49–60. [Google Scholar] [CrossRef]
- Baughman, C.A.; Jones, B.M.; Bodony, K.L.; Mann, D.H.; Larsen, C.F.; Himelstoss, E.; Smith, J. Remotely sensing the morphometrics and dynamics of a cold region dune field using historical aerial photography and airborne LiDAR data. Remote Sens. 2018, 10, 792. [Google Scholar] [CrossRef]
- Westoby, M.J.; Brasington, J.; Glasser, N.F.; Hambrey, M.J.; Reynolds, J.M. “Structure-from-Motion” photogrammetry: A low-cost, effective tool for geoscience applications. Geomorphology 2012, 179, 300–314. [Google Scholar] [CrossRef]
- Moudrý, V.; Gdulová, K.; Fogl, M.; Klápště, P.; Urban, R.; Komárek, J.; Moudrá, L.; Štroner, M.; Barták, V.; Solský, M. Comparison of leaf-off and leaf-on combined UAV imagery and airborne LiDAR for assessment of a post-mining site terrain and vegetation structure: Prospects for monitoring hazards and restoration success. Appl. Geogr. 2019, 104, 32–41. [Google Scholar] [CrossRef]
- Lowe, D.G. Distinctive image features from scale-invariant keypoints. Int. J. Comput. Vis. 2004, 60, 91–110. [Google Scholar] [CrossRef]
- Niethammer, U.; James, M.R.; Rothmund, S.; Travelletti, J.; Joswig, M. UAV-based remote sensing of the Super-Sauze landslide: Evaluation and results. Eng. Geol. 2012, 128, 2–11. [Google Scholar] [CrossRef]
- Hervouet, A.; Dunford, R.; Piégay, H.; Belletti, B.; Trémélo, M.-L. Analysis of Post-flood Recruitment Patterns in Braided-Channel Rivers at Multiple Scales Based on an Image Series Collected by Unmanned Aerial Vehicles, Ultra-light Aerial Vehicles, and Satellites. GIScience Remote Sens. 2011, 48, 50–73. [Google Scholar] [CrossRef]
- Diakakis, M.; Andreadakis, E.; Nikolopoulos, E.I.; Spyrou, N.I.; Gogou, M.E.; Deligiannakis, G.; Katsetsiadou, N.K.; Antoniadis, Z.; Melaki, M.; Georgakopoulos, A.; et al. An integrated approach of ground and aerial observations in flash flood disaster investigations. The case of the 2017 Mandra flash flood in Greece. Int. J. Disaster Risk Reduct. 2019, 33, 290–309. [Google Scholar] [CrossRef]
- Andreadakis, E.; Diakakis, M.; Vassilakis, E.; Deligiannakis, G.; Antoniadis, A.; Andriopoulos, P.; Spyrou, N.I.; Nikolopoulos, E.I. Unmanned Aerial Systems-Aided Post-Flood Peak Discharge Estimation in Ephemeral Streams. Remote Sens. 2020, 12, 4183. [Google Scholar] [CrossRef]
- Tamminga, A.D.; Eaton, B.C.; Hugenholtz, C.H. UAS-based remote sensing of fluvial change following an extreme flood event. Earth Surf. Process. Landforms 2015, 40, 1464–1476. [Google Scholar] [CrossRef]
- Miřijovský, J.; Langhammer, J. Multitemporal Monitoring of the Morphodynamics of a Mid-Mountain Stream Using UAS Photogrammetry. Remote Sens. 2015, 7, 8586–8609. [Google Scholar] [CrossRef]
- Marteau, B.; Vericat, D.; Gibbins, C.; Batalla, R.J.; Green, D.R. Application of Structure-from-Motion Photogrammetry to River Restoration. Earth Surface Processes and Landforms; John Wiley and Sons Ltd.: Chichester, UK, 2017; Volume 42, pp. 503–515. [Google Scholar]
- Cook, K.L. An evaluation of the effectiveness of low-cost UAVs and structure from motion for geomorphic change detection. Geomorphology 2017, 278, 195–208. [Google Scholar] [CrossRef]
- Langhammer, J.; Lendzioch, T.; Miřijovský, J.; Hartvich, F. UAV-Based Optical Granulometry as Tool for Detecting Changes in Structure of Flood Depositions. Remote Sens. 2017, 9, 240. [Google Scholar] [CrossRef]
- Woodget, A.S.; Austrums, R. Subaerial gravel size measurement using topographic data derived from a UAV-SfM approach. Earth Surf. Process. Landforms 2017, 42, 1434–1443. [Google Scholar] [CrossRef]
- Mlambo, R.; Woodhouse, I.H.; Gerard, F.; Anderson, K. Structure from motion (SfM) photogrammetry with drone data: A low cost method for monitoring greenhouse gas emissions from forests in developing countries. Forests 2017, 8, 68. [Google Scholar] [CrossRef]
- Sankey, T.; Donager, J.; McVay, J.; Sankey, J.B. UAV LiDAR and hyperspectral fusion for forest monitoring in the southwestern USA. Remote Sens. Environ. 2017, 195, 30–43. [Google Scholar] [CrossRef]
- Mateos, R.M.; Azañón, J.M.; Roldán, F.J.; Notti, D.; Pérez-Peña, V.; Galve, J.P.; Pérez-García, J.L.; Colomo, C.M.; Gómez-López, J.M.; Montserrat, O.; et al. The combined use of PSInSAR and UAV photogrammetry techniques for the analysis of the kinematics of a coastal landslide affecting an urban area (SE Spain). Landslides 2017, 14, 743–754. [Google Scholar] [CrossRef]
- Lucieer, A.; Turner, D.; King, D.H.; Robinson, S.A. Using an unmanned aerial vehicle (UAV) to capture micro-topography of antarctic moss beds. Int. J. Appl. Earth Obs. Geoinf. 2014, 27, 53–62. [Google Scholar] [CrossRef]
- Dandois, J.P.; Ellis, E.C. Remote sensing of vegetation structure using computer vision. Remote Sens. 2010, 2, 1157–1176. [Google Scholar] [CrossRef]
- Anastopoylos, I.; Kanaris, I. Psachna-Pilion Geological Map, 1:50.000 scale, Pilion Sheet, H.S.G.M.E. 1962. [Google Scholar]
- Katsikatsos, G.; Koukis, G.; Fytikas, M. Psachna-Pilion Geological Map, 1:50.000 scale, Pilion Sheet, H.S.G.M.E. 1968. [Google Scholar]
- Keeley, J.E. Fire intensity, fire severity and burn severity: A brief review and suggested usage. Int. J. Wildl. Fire 2009, 18, 116–126. [Google Scholar] [CrossRef]
- Chen, X.; Vogelmann, J.E.; Rollins, M.; Ohlen, D.; Key, C.H.; Yang, L.; Huang, C.; Shi, H. Detecting post-fire burn severity and vegetation recovery using multitemporal remote sensing spectral indices and field-collected composite burn index data in a ponderosa pine forest. Int. J. Remote Sens. 2011, 32, 7905–7927. [Google Scholar] [CrossRef]
- Ireland, G.; Petropoulos, G.P. Exploring the relationships between post-fire vegetation regeneration dynamics, topography and burn severity: A case study from the Montane Cordillera Ecozones of Western Canada. Appl. Geogr. 2015, 56, 232–248. [Google Scholar] [CrossRef]
- Mallinis, G.; Mitsopoulos, I.; Chrysafi, I. Evaluating and comparing sentinel 2A and landsat-8 operational land imager (OLI) spectral indices for estimating fire severity in a mediterranean pine ecosystem of Greece. GIScience Remote Sens. 2018, 55, 1–18. [Google Scholar] [CrossRef]
- Day, S.S.; Gran, K.B.; Belmont, P.; Wawrzyniec, T. Measuring bluff erosion part 1: Terrestrial laser scanning methods for change detection. Earth Surf. Process. Landforms 2013, 38, 1055–1067. [Google Scholar] [CrossRef]
- Girardeau-Montaut, D.; Marc, R.; Bey, A. Documentation CloudCompare Version 2.1.eng. Available online: https://www.danielgm.net/cc/doc/qCC/Documentation_CloudCompare_version_2_1_eng.pdf (accessed on 10 October 2020).
- Zhang, W.; Qi, J.; Wan, P.; Wang, H.; Xie, D.; Wang, X.; Yan, G. An Easy-to-Use Airborne LiDAR Data Filtering Method Based on Cloth Simulation. Remote Sens. 2016, 8, 501. [Google Scholar] [CrossRef]
- Lague, D.; Brodu, N.; Leroux, J. Accurate 3D comparison of complex topography with terrestrial laser scanner: Application to the Rangitikei canyon (N-Z). ISPRS J. Photogramm. Remote Sens. 2013, 82, 10–26. [Google Scholar] [CrossRef]
- Lagouvardos, K.; Kotroni, V.; Bezes, A.; Koletsis, I.; Kopania, T.; Lykoudis, S.; Mazarakis, N.; Papagiannaki, K.; Vougioukas, S. The automatic weather stations NOANN network of the National Observatory of Athens: Operation and database. Geosci. Data J. 2017, 4, 4–16. [Google Scholar] [CrossRef]
- Turner, D.; Lucieer, A.; Watson, C. An automated technique for generating georectified mosaics from ultra-high resolution Unmanned Aerial Vehicle (UAV) imagery, based on Structure from Motion (SFM) point clouds. Remote Sens. 2012, 4, 1392–1410. [Google Scholar] [CrossRef]
- Andaru, R.; Cahyono, B.K.; Riyadi, G.; Istarno; Djurdjani; Ramadhan, G.R.; Tuntas, S. The combination of terrestrial LiDAR and UAV photogrammetry for interactive architectural heritage visualization using unity 3D game engine. Int. Arch. Photogramm. Remote Sens. Spat. Inf. Sci. ISPRS Arch. 2019, 42, 39–44. [Google Scholar] [CrossRef]
- Monserrat, O.; Crosetto, M. Deformation measurement using terrestrial laser scanning data and least squares 3D surface matching. ISPRS J. Photogramm. Remote Sens. 2008, 63, 142–154. [Google Scholar] [CrossRef]
- Stumpf, A.; Malet, J.P.; Allemand, P.; Pierrot-Deseilligny, M.; Skupinski, G. Ground-based multi-view photogrammetry for the monitoring of landslide deformation and erosion. Geomorphology 2015, 231, 130–145. [Google Scholar] [CrossRef]
- Kowalski, A.; Wajs, J.; Kasza, D. Monitoring of anthropogenic landslide activity with combined UAV and LiDAR-derived dems—A case study of the czerwony wąwóz landslide (SW Poland, western sudetes). Acta Geodyn. Geomater. 2018, 15, 117–129. [Google Scholar] [CrossRef]
- Cao, L.; Liu, H.; Fu, X.; Zhang, Z.; Shen, X.; Ruan, H. Comparison of UAV LiDAR and digital aerial photogrammetry point clouds for estimating forest structural attributes in subtropical planted forests. Forests 2019, 10, 145. [Google Scholar] [CrossRef]
- Kociuba, W. Different Paths for Developing Terrestrial LiDAR Data for Comparative Analyses of Topographic Surface Changes. Appl. Sci. 2020, 10, 7409. [Google Scholar] [CrossRef]
- Hamshaw, S.D.; Engel, T.; Rizzo, D.M.; O’Neil-Dunne, J.; Dewoolkar, M.M. Application of unmanned aircraft system (UAS) for monitoring bank erosion along river corridors. Geomat. Nat. Hazards Risk 2019, 10, 1285–1305. [Google Scholar] [CrossRef]
- D’Oleire-Oltmanns, S.; Marzolff, I.; Peter, K.D.; Ries, J.B. Unmanned aerial vehicle (UAV) for monitoring soil erosion in Morocco. Remote Sens. 2012, 4, 3390–3416. [Google Scholar] [CrossRef]
- Harwin, S.; Lucieer, A. Assessing the Accuracy of Georeferenced Point Clouds Produced via Multi-View Stereopsis from Unmanned Aerial Vehicle (UAV) Imagery. Remote Sens. 2012, 4, 1573–1599. [Google Scholar] [CrossRef]
- Höhle, J.; Höhle, M. Accuracy assessment of digital elevation models by means of robust statistical methods. ISPRS J. Photogramm. Remote Sens. 2009, 64, 398–406. [Google Scholar] [CrossRef]
- Nesbit, P.R.; Hugenholtz, C.H. Enhancing UAV–SfM 3D Model Accuracy in High-Relief Landscapes by Incorporating Oblique Images. Remote Sens. 2019, 11, 239. [Google Scholar] [CrossRef]










| Optech Ilris 3D | |
|---|---|
| Range 80% reflectivity | 1700 m |
| Range 10% reflectivity | 650 m |
| Field of view | 40° × 40° |
| Raw range accuracy | 7 mm at 100 m |
| Rotational speed | 0.001 to 20°/sec |
| Beam diameter (1/e) | 22 mm at 100 m |
| Laser wavelength | 1535 nm |
| Laser class | 1 |
| Integrated camera | 3.1 MP |
| Size (L × W × H) | 320 × 320 × 220 mm |
| Weight | 13 kg |
| Operating temperature | 0 to 40 °C |
| Settings | S1 | S2 |
|---|---|---|
| 19 October 2019 | ||
| Mean distance (m) | 45.39 | 8.22 |
| Beam width (mm) | 14 | 14 |
| Pulse mode | last | last |
| Spacing (mm) | 16.3 | 7.1 |
| 23 February 2020 | ||
| Mean distance (m) | 41.95 | 10 |
| Beam width (mm) | 14 | 14 |
| Pulse mode | last | last |
| Spacing (mm) | 12.6 | 10 |
| 11 October 2020 | ||
| Mean distance (m) | 44 | - |
| Beam width (mm) | 14 | - |
| Pulse mode | last | - |
| Spacing (mm) | 10.6 | - |
| Resolution mm/pix | |||
|---|---|---|---|
| Product | 19 October 2019 | 23 February 2020 | 11 October 2020 |
| S1 tiled model | 5.79 | 4.55 | 2.24 |
| S1 DEM | 11.6 | 9.1 | 4.49 |
| S1 orthomosaic | 5.79 | 4.55 | 2.24 |
| S2 tiled model | 3.68 | 2.35 | - |
| S2 DEM | 7.37 | 4.7 | - |
| S2 orthomosaic | 3.68 | 2.35 | - |
| (a) Range of Local Erosion (cm) | 19 October 2019–11 October 2020 (Annual Values) | 19 October 2019–23 February 2020 | 23 February 2020–11 October 2020 |
|---|---|---|---|
| S1 UAV-SfM- derived | 0–48 | 0–4 | 0–44 |
| S1 (TLS-derived) | 0–40 | 0–3 | 0–37 |
| S2 UAV-SfM- derived | - | 0–1.5 | - |
| S2 (TLS-derived) | - | 0–1.5 | - |
| (b) Volume of Erosion in channel (m3) | |||
| S1 UAV-SfM channel volume change (m3) | 2.90 | 0.40 | 2.50 |
| S1 TLS channel volume change (m3) | 3.00 | 0.70 | 2.30 |
| (c) Mean slope derived erosion (cm) | |||
| S1 UAV-SfM mean slope derived erosion (cm) | 1 | 1 | 1 |
| S1 TLS mean slope derived erosion (cm) | 2 | 1 | 2 |
| Dates | 19 October 2019 | 23 February 2020 | 11 October 2020 | |
|---|---|---|---|---|
| (a) XYZ Error (m) | S1 SfM | 0.02 | 0.02 | 0.02 |
| S1 TLS | 0.02 | 0.02 | 0.02 | |
| (b) GCP registration error (m) | S1 SfM cloud | 0.02 | 0.02 | 0.02 |
| S1 TLS cloud | 0.03 | 0.03 | 0.025 | |
| S2 SfM cloud | 0.02 | 0.02 | - | |
| S2 TLS cloud | 0.03 | 0.03 | - | |
| (c) Number of points | S1 SfM | 3,572,811 | 6,124,336 | 31,535,718 |
| S1 TLS | 730,260 | 1,052,429 | 1,566,387 | |
| S2 SfM | 1,472,680 | 3,594,027 | - | |
| S2 TLS | 453,124 | 128,632 | - | |
| (d) Surface density(mean points/m2) | S1 SfM | 7676 | 13,234 | 67,881 |
| S1 TLS | 2037 | 2924 | 4714 | |
| S2 SfM | 19,214 | 46,969 | - | |
| S2 TLS | 21,688 | 11,955 | - | |
Publisher’s Note: MDPI stays neutral with regard to jurisdictional claims in published maps and institutional affiliations. |
© 2021 by the authors. Licensee MDPI, Basel, Switzerland. This article is an open access article distributed under the terms and conditions of the Creative Commons Attribution (CC BY) license (https://creativecommons.org/licenses/by/4.0/).
Share and Cite
Alexiou, S.; Deligiannakis, G.; Pallikarakis, A.; Papanikolaou, I.; Psomiadis, E.; Reicherter, K. Comparing High Accuracy t-LiDAR and UAV-SfM Derived Point Clouds for Geomorphological Change Detection. ISPRS Int. J. Geo-Inf. 2021, 10, 367. https://doi.org/10.3390/ijgi10060367
Alexiou S, Deligiannakis G, Pallikarakis A, Papanikolaou I, Psomiadis E, Reicherter K. Comparing High Accuracy t-LiDAR and UAV-SfM Derived Point Clouds for Geomorphological Change Detection. ISPRS International Journal of Geo-Information. 2021; 10(6):367. https://doi.org/10.3390/ijgi10060367
Chicago/Turabian StyleAlexiou, Simoni, Georgios Deligiannakis, Aggelos Pallikarakis, Ioannis Papanikolaou, Emmanouil Psomiadis, and Klaus Reicherter. 2021. "Comparing High Accuracy t-LiDAR and UAV-SfM Derived Point Clouds for Geomorphological Change Detection" ISPRS International Journal of Geo-Information 10, no. 6: 367. https://doi.org/10.3390/ijgi10060367
APA StyleAlexiou, S., Deligiannakis, G., Pallikarakis, A., Papanikolaou, I., Psomiadis, E., & Reicherter, K. (2021). Comparing High Accuracy t-LiDAR and UAV-SfM Derived Point Clouds for Geomorphological Change Detection. ISPRS International Journal of Geo-Information, 10(6), 367. https://doi.org/10.3390/ijgi10060367

