Laboratory Experiment of Blind Adaptive Array with Subcarrier Transmission Power Assignment in Spectrum Superposing Scenarios †
Abstract
:1. Introduction
- suppressing inter-system interference from the primary transmitter at the secondary receiver;
- reducing inter-system interference to the primary receiver by the secondary transmitter;
- both interference suppression/reduction must be realized in a blind manner.
2. System Model and Proposed Scheme
2.1. System Model
2.2. Proposal: Blind Adaptive Array with Subcarrier Transmission Power Assignment
2.2.1. Constant Modulus Algorithm (CMA)
2.2.2. Power Inversion (PI)
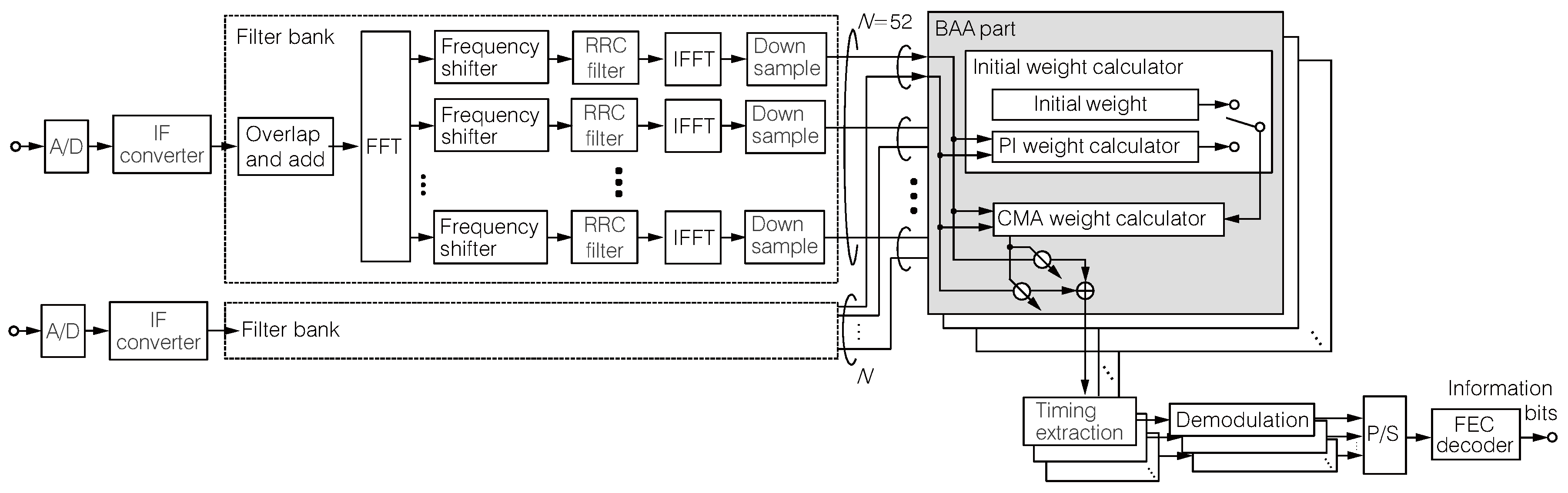
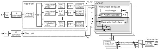
3. Prototype Specification
4. Laboratory Experiment
4.1. Experiment Setup
4.2. Experiment Results of the Secondary System
4.3. Experiment Results of the Primary System
5. Conclusions
Acknowledgments
Author Contributions
Conflicts of Interest
Abbreviations
| Wi-Fi | Wireless Fidelity |
| WiMAX | World interoperability for Microwave Access |
| LTE | Long Term Evolution |
| OSA | Opportunistic Spectrum Access |
| DSA | Dunamic Spectrum Access |
| LTE-U | LTE in Unlicensed spectrum |
| LAA | Licensed Assisted Access |
| LBT | Listen Before Talk |
| RTS | Request-to-Send |
| CTS | Clear-to-Send |
| OFDM | Orthogonal Frequency Division Multiplexing |
| CP | Cyclic Prefix |
| ISI | Inter-Symbol Interference |
| FEC | Forward Error Correction |
| MIMO | Multiple-Input Multiple-Output |
| STPA | Subcarrier Transmission Power Assignment |
| BAA | Blind Adaptive Array |
| CMA | Constant Modulus Algorithm |
| PI | Power Inversion |
| FPGA | Field Programmable Gate Array |
| RF | Radio Frequency |
| IF | Intermediate Frequency |
| S/P | Serial-to-Parallel |
| P/S | Parallel-to-Serial |
| D/A | Digital-to-Analog |
| A/D | Analog-to-Digital |
| RRC | Root Raised Cosine |
| FFT | Fast Fourier Transform |
| IFFT | Inverse Fast Fourier Transform |
| UW | Unique Word |
| AoA | Angle of Arrival |
| ATT | Attenuator |
| AWGN | Additive white Gaussian noise |
| QPSK | Quadrature Phase Shift Keying |
| SNR | Signal-to-Noise power Ratio |
| SIR | Signal-to-Interference power Ratio |
| BER | Bit Error Rate |
References
- Boccardi, F.; Heath, R.W.; Lozano, A.; Marzetta, T.L.; Popovski, P. Five disruptive technology directions for 5G. IEEE Commun. Mag. 2014, 52, 74–80. [Google Scholar] [CrossRef]
- Spencer, Q.H.; Swindlehurst, A.L.; Haardt, M. Zero-forcing methods for downlink spatial multiplexing in multiuser MIMO channels. IEEE Trans. Signal Process. 2004, 52, 461–471. [Google Scholar] [CrossRef]
- Haykin, S. Cognitive radio: Brain-empowered wireless communications. IEEE J. Sel. Areas Commun. 2005, 23, 201–220. [Google Scholar] [CrossRef]
- Zhao, Q. Spectrum Opportunity and Interference Constraint in Opportunistic Spectrum Access. In Proceedings of the 2007 IEEE International Conference on Acoustics, Speech and Signal Processing-ICASSP, Honolulu, HI, USA, 16–20 April 2007; Volume 3, pp. III-605–III-608. [Google Scholar]
- Zhao, Q.; Sadler, B.M. A Survey of Dynamic Spectrum Access. IEEE Signal Process. Mag. 2007, 24, 79–89. [Google Scholar] [CrossRef]
- Chang, G.Y.; Huang, J.F. A Fast Rendezvous Channel-Hopping Algorithm for Cognitive Radio Networks. IEEE Commun. Lett. 2013, 17, 1475–1478. [Google Scholar] [CrossRef]
- Takyu, O.; Yamakita, T.; Fujii, T.; Ohta, M.; Sasamori, F.; Handa, S. Optimization of Learning Time for Learning-Assisted Rendezvous Channel in Cognitive Radio System. IEICE Trans. Commun. 2015, 98, 360–369. [Google Scholar] [CrossRef]
- Valls, V.; Garcia-Saavedra, A.; Costa, X.; Leith, D.J. Maximizing LTE Capacity in Unlicensed Bands (LTE-U/LAA) While Fairly Coexisting With 802.11 WLANs. IEEE Commun. Lett. 2016, 20, 1219–1222. [Google Scholar] [CrossRef]
- Jian, Y.; Shih, C.F.; Krishnaswamy, B.; Sivakumar, R. Coexistence of Wi-Fi and LAA-LTE: Experimental evaluation, analysis and insights. In Proceedings of the 2015 IEEE International Conference on Communication Workshop (ICCW), London, UK, 8–12 June 2015; pp. 2325–2331. [Google Scholar]
- Song, Y.; Sung, K.W.; Han, Y. Coexistence of Wi-Fi and Cellular With Listen-Before-Talk in Unlicensed Spectrum. IEEE Commun. Lett. 2016, 20, 161–164. [Google Scholar] [CrossRef]
- Nishimori, K.; Taranto, R.D.; Yomo, H.; Popovski, P.; Takatori, Y.; Prasad, R.; Kubota, S. Spatial Opportunity for Cognitive Radio Systems with Heterogeneous Path Loss Conditions. In Proceedings of the 2007 IEEE 65th Vehicular Technology Conference-VTC2007-Spring, Dublin, Ireland, 22–25 April 2007; pp. 2631–2635. [Google Scholar]
- Park, J.; Park, Y.; Hwang, S.; Jeong, B.J. Low-Complexity GSVD-Based Beamforming and Power Allocation for a Cognitive Radio Network. IEICE Trans. Commun. 2012, 95, 3536–3544. [Google Scholar] [CrossRef]
- Sodagari, S. On effects of imperfect channel state information on null space based cognitive MIMO communication. In Proceedings of the 2015 International Conference on Computing, Networking and Communications (ICNC), Anaheim, CA, USA, 16–19 February 2015; pp. 438–444. [Google Scholar]
- Treichler, J.; Agee, B. A new approach to multipath correction of constant modulus signals. IEEE Trans. Acoust. Speech Signal Process. 1983, 31, 459–472. [Google Scholar] [CrossRef]
- Agee, B. The least-squares CMA: A new technique for rapid correction of constant modulus signals. In Proceedings of the IEEE International Conference on Acoustics, Speech, and Signal Processing (ICASSP), Tokyo, Japan, 7–11 April 1986; Volume 11, pp. 953–956. [Google Scholar]
- Compton, R.T. The Power-Inversion Adaptive Array: Concept and Performance. IEEE Trans. Aerosp. Electron. Syst. 1979, AES-15, 803–814. [Google Scholar] [CrossRef]
- Ukawa, T.; Fujimoto, M.; Hori, T. Optimal snapshot number of power inversion adaptive array in ITS communication environment. In Proceedings of the 2013 Asia-Pacific Microwave Conference Proceedings (APMC), Seoul, Korea, 5–8 November 2013; pp. 563–565. [Google Scholar]
- Maruta, K.; Mashino, J.; Sugiyama, T. Blind adaptive arrays with subcarrier transmission power assignment for spectrum superposing. In Proceedings of the 2014 Asia-Pacific Microwave Conference, Sendai, Japan, 4–7 November 2014; pp. 567–569. [Google Scholar]
- Maruta, K.; Mashino, J.; Sugiyama, T. Blind Interference Suppression Scheme by Eigenvector Beamspace CMA Adaptive Array with Subcarrier Transmission Power Assignment for Spectrum Superposing. IEICE Trans. Commun. 2015, 98, 1050–1057. [Google Scholar] [CrossRef]
- So, H.; Maruta, K.; Mashino, J.; Suzaki, K. Experimental Verification of Spectrum Superposing in Two Different Systems by Blind Adaptive Array with Subcarrier Transmission Power Assignment. In Proceedings of the 2016 IEEE 84th Vehicular Technology Conference (VTC-Fall), Montreal, QC, Canada, 18–21 September 2016; pp. 1–5. [Google Scholar]
- Chiba, I.; Chujo, W.; Fujise, M. Beam space constant modulus algorithm adaptive array antennas. In Proceedings of the 1993 Eighth International Conference on Antennas and Propagation, Edinburgh, UK, 30 March–2 April 1993; Volume 2, pp. 975–978. [Google Scholar]
- Nishimori, K.; Kikuma, N.; Inagaki, N. The Differential CMA Adaptive Array Antenna Using an Eigen-Beamspace System. IEICE Trans. Commun. 1995, 78, 1480–1488. [Google Scholar]
- Tanabe, M.; Umehira, M. Design and Performance of Overlap FFT Filter-Bank for Dynamic Spectrum Access Applications. IEICE Trans. Commun. 2012, 95, 1249–1255. [Google Scholar] [CrossRef]
- Oppenheim, A.V.; Schafer, R.W.; Buck, J.R. Discrete-Time Signal Processing, 2nd ed.; Prentice-Hall, Inc.: Upper Saddle River, NJ, USA, 1999. [Google Scholar]
- Costas, J. Synchronous Communications. IRE Trans. Commun. Syst. 1957, 5, 99–105. [Google Scholar] [CrossRef]












| DSA | Null-Steering | Proposed | |
|---|---|---|---|
| Spectral efficiency | ≤100% | ≥100% | ≥100% |
| Sharing domain | Time/Frequency | Space | Space |
| Requirement | Spectrum usage of primary system | Inter-system CSI | – |
| Parameters | Values |
|---|---|
| FPGA | Xilinx Vertex-4 |
| Data bus bit-width | 8 bits |
| Clock frequency | 409.6 MHz |
| Sampling rate | 102.4 MHz |
| Number of FFT point | 8192 |
| Frequency resolution | 12.5 kHz |
| Symbol rate per subcarrier | 50 kHz |
| Subcarrier spacing | 100 kHz |
| Number of subcarrier, N | 52 |
| Pulse shaping filter | Root raised cosine, Roll-off factor: 0.2 |
| IF frequency | 140 MHz |
| Resolution of D/A Converter | 16 bits |
| Resolution of A/D Converter | 12 bits |
| Receiver dynamic range | 82 dB |
| BAA algorithm | CMA/PI/PI-CMA |
| Parameters | Values |
|---|---|
| Number of Transmission antenna | 1 (Primary system) |
| 1 (Secondary system) | |
| Number of Reception antenna | 1 (Primary system) |
| 2 (Secondary system) | |
| Modulation scheme | QPSK (quadrature phase shift keying) |
| FEC (forward error correction) scheme | Convolutional code |
| Constraint length | 7 |
| FEC Coding rate | 1/2 |
| FEC Decoder | Viterbi |
| Bit interleave | None |
| Channel | Frequency flat |
| SNR (signal-to-noise power ratio) | 30 dB |
| Angle of arrival difference | |
| Number of sample for BAA, S | 512 (128 symbols) |
| CMA iteration number | 10 |
| High/Low-level subcarrier power ratio, G | 4, 8, 12, 16, 20, 24 dB |
| Number of high-level subcarrier, | 1, 2, 3, 4, 5, 7 |
© 2018 by the authors. Licensee MDPI, Basel, Switzerland. This article is an open access article distributed under the terms and conditions of the Creative Commons Attribution (CC BY) license (http://creativecommons.org/licenses/by/4.0/).
Share and Cite
So, H.; Maruta, K.; Suzaki, K. Laboratory Experiment of Blind Adaptive Array with Subcarrier Transmission Power Assignment in Spectrum Superposing Scenarios. Electronics 2018, 7, 7. https://doi.org/10.3390/electronics7010007
So H, Maruta K, Suzaki K. Laboratory Experiment of Blind Adaptive Array with Subcarrier Transmission Power Assignment in Spectrum Superposing Scenarios. Electronics. 2018; 7(1):7. https://doi.org/10.3390/electronics7010007
Chicago/Turabian StyleSo, Hideya, Kazuki Maruta, and Kouhei Suzaki. 2018. "Laboratory Experiment of Blind Adaptive Array with Subcarrier Transmission Power Assignment in Spectrum Superposing Scenarios" Electronics 7, no. 1: 7. https://doi.org/10.3390/electronics7010007
APA StyleSo, H., Maruta, K., & Suzaki, K. (2018). Laboratory Experiment of Blind Adaptive Array with Subcarrier Transmission Power Assignment in Spectrum Superposing Scenarios. Electronics, 7(1), 7. https://doi.org/10.3390/electronics7010007

