Boosted Equilibrium Optimizer Using New Adaptive Search and Update Strategies for Solving Global Optimization Problems
Abstract
1. Introduction
- (1)
- The BEO algorithm is developed to enhance the optimization capabilities of the original EO algorithm. The proposed BEO introduces an innovative technique that uses a uniform distribution strategy instead of classical methods to build the initial population. This approach enhances the algorithm’s convergence ability, enabling more efficient exploration and exploitation stages.
- (2)
- In the BEO algorithm, in place of the candidate pool of four candidates and one average concentration used in EO, a more affluent candidate concentration pool technique of three candidates and four average concentrations is introduced. This new strategy enables a more effective scanning of the solution space, enhancing the algorithm’s capacity to explore and helping it to better avoid local minimum traps.
- (3)
- In the EO algorithm, a candidate concentration is determined by a completely random selection method from the candidate pool during the concentration update phase. In this process, the concentration is updated with the randomly selected candidate concentration without any evaluation. The proposed BEO algorithm strengthens the exploitation phase by randomly selecting the best and average concentrations with specific selection rates.
- (4)
- The original EO algorithm continuously scans the search space in one direction. This makes it challenging to reach equilibrium in the exploitation phase. In contrast, the two-way scanning strategy proposed in the BEO algorithm allows for more efficient scanning of the search space. This strategy optimizes the exploration and exploitation stages of the search process, allowing the solution space to be explored more efficiently.
2. Equilibrium Optimizer (EO)
3. Boosted Equilibrium Optimizer (BEO)
- The memory-saving mechanism plays an important role in the EO algorithm to avoid weak solution points in the search space. This is a factor that strengthens the search mechanism for EO.
- EO uses a five-candidate equilibrium pool mechanism for search agents. The diversity of candidate search agents allows the search to avoid regions with low fitness. This gives the algorithm the ability to work stably.
- The production rate term, which helps it to reach the best equilibrium in the exploitation phase, provides an important advantage to reach the best solution.
- EO has been quite successful in studies and unimodal functions, but in multimodal and more complex problems, it is unable to escape from the local optimum pitfall.
- Especially for real-world and complex engineering problems, the boundary control mechanism can trap the algorithm in a local optimum.
- EO uses a candidate chosen at random out of the equilibrium pool in its concentration update mechanism. The update of the main concentration is performed without any evaluation of this selected candidate concentration. This updating strategy makes it difficult for the EO to reach the equilibrium state.
- Initial population;
- The creation of a candidate balance pool;
- Updating the concentration.
3.1. Uniformly Distributed Initial Population Technique
| Algorithm 1. Creating an initial population with a uniform distribution technique. | 
| C = zeros(particle,dim); Step = (ub-lb)/oran; J = 0; for i = 1:particle ub = ub − step; j = j + 1; for k = 1:dim C(j,k) = rand × step + ub; end if ub == lb ub = ub_start; end end | 
3.2. Average-Based Candidate Balance Pool
| Algorithm 2. Pseudocode of a mean-based candidate equilibrium pool strategy. | 
| Ceq_ave = (Ceq1 + Ceq2 + Ceq3)/3; Ceq_ave1 = (Ceq1 + Ceq2)/2; Ceq_ave2 = (Ceq1 + Ceq3)/2; Ceq_ave3 = (Ceq2 + Ceq3)/2; C_pool = [Ceq1; Ceq2; Ceq3; Ceq_ave1; Ceq_ave2; Ceq_ave3; Ceq_ave]; | 
3.3. Updating the Concentration
- The electoral candidate concentration determination technique;
- The directional scanning strategy.
3.3.1. Electoral Candidate Concentration Determination Technique
| Algorithm 3. Selective candidate concentration determination technique. | 
| Minpoolind = min(candidate_1, candidate_2, candidate_3) r3 = rand; if r3 ≤ ratio1 Ceq = C_pool(randi(size(C_pool, 1)) elseif r3 ≤ ratio2 Ceq = Ceq_ave else Ceq = C_pool(minpoolind) end if | 
3.3.2. Directional Scanning Strategy
| Algorithm 4. Boosted Equilibrium Optimizer, BEO. | 
|  Assign equilibrium candidates fitness a large number Set parameter’s value: a1 = 2, a2 = 1, GP = 0.5, sr = 0.2 While Iter < Max_iter for i = 1: number of particle (n) Calculate fitness of ith particle if Replace Ceq1 with Ci and fit Ceq1 with fit Ci elseif Replace Ceq2 with Ci and fit Ceq2 with fit Ci elseif Replace Ceq3 with Ci and fit Ceq3 with fit Ci end if end for  Accomplish memory saving Assign t using Equation (10)  for i = 1: number of particles (n) Randomly generate two vectors Construct using Equation (12) Construct  Construct Construct Updating the concentration with the formula in Equation (12)  end for Iter = Iter + 1 end while | 
3.4. Computational Complexity
- Time required to establish the initial concentration for BEO: O(n × d);
- Time required for conformity assessment for each particle: O(n).This is the time required for the selection of particles with the highest concentration.
- Time required to determine the average-based candidate equilibrium pool: O(n × 4);
- The time required to update its concentration: O(n × d);
- Time required for selective candidate concentration determination: O(n);
- Time required for a directional scanning strategy: O(n).
4. Numerical Experiments and Analysis of BEO
4.1. Effects of Improvement Methods on EO, Comparison of Proposed BEO and Variant Algorithms
4.2. Comparative Convergence Analysis for BEO and Variant EO Algorithms
4.3. Comparative Analysis of BEO with Some Other Optimization Algorithms
4.4. Convergence Analysis of BEO with Some Other Optimization Algorithms
4.5. Statistical Analysis of BEO
5. Engineering Design Problems for BEO
5.1. Pressure Vessel Design

5.2. Welded Beam

5.3. Tension/Compression Spring Design

5.4. Three Bar Truss Design

5.5. Analysis of Engineering Design Problems
6. Conclusions
Author Contributions
Funding
Data Availability Statement
Conflicts of Interest
Nomenclature
| Concentration for the jth dimension of the ith particle. | |
| Initial concentration for the jth dimension of the ith particles. | |
| Minimum limit for the jth dimension of the particle concentration. | |
| Maximum limit for the jth dimension of the particle concentration. | |
| Equilibrium pool vector. | |
| Concentrations from the population. | |
| Average concentrations of all three best particles so far. | |
| G | Generation rate. | 
| F | Exponential term. | 
| V | Control volume. | 
| rnd | Random number in between [0, 1]. | 
| GCP | Generation rate control parameter. | 
| GP | Generation probability. | 
| Fitness of ith particles. | |
| Control parameters for the BEO. | |
| t | Time parameter. | 
| λ | The random vector in the interval of [0, 1]. | 
| Iter | Present iteration. | 
| Max_iter | Total number of iterations. | 
References
- Faramarzi, A.; Heidarinejad, M.; Stephens, B.; Mirjalili, S. Equilibrium optimizer: A novel optimization algorithm. Knowl.-Based Syst. 2020, 191, 105190. [Google Scholar] [CrossRef]
- Karaboğa, D. Yapay Zekâ Optimizasyon Algoritmaları; Nobel: Kızılay, Turkey, 2018. [Google Scholar]
- Bekdaş, D.D.G.; Niğdeli, D.D.S.M.; Yücel, M.; Kayabekir, A.E. Yapay Zeka Optimizasyon Algoritmaları ve Mühendislik Uygulamaları; Seçkin: Moscow, Russia, 2021. [Google Scholar]
- Vinod Chandra, S.S.; Anand, H.S. Nature inspired meta heuristic algorithms for optimization problems. Computing 2022, 104, 251–269. [Google Scholar] [CrossRef]
- Silver, E.A. An overview of heuristic solution methods. J. Oper. Res. Soc. 2004, 55, 936–956. [Google Scholar] [CrossRef]
- Kiran, M.S. TSA: Tree-seed algorithm for continuous optimization. Expert Syst. Appl. 2015, 42, 6686–6698. [Google Scholar] [CrossRef]
- Kiran, M.S.; Findik, O. A directed artificial bee colony algorithm. Appl. Soft Comput. 2015, 26, 454–462. [Google Scholar] [CrossRef]
- Babaoglu, I. Artificial bee colony algorithm with distribution-based update rule. Appl. Soft Comput. 2015, 34, 851–861. [Google Scholar] [CrossRef]
- Tomar, V.; Bansal, M.; Singh, P. Metaheuristic Algorithms for Optimization: A Brief Review. Eng. Proc. 2023, 59, 238. [Google Scholar]
- Celik, Y. An enhanced artificial bee colony algorithm based on fitness weighted search strategy. Automatika 2021, 62, 300–310. [Google Scholar] [CrossRef]
- Cheng, J.; De Waele, W. Weighted average algorithm: A novel meta-heuristic optimization algorithm based on the weighted average position concept. Knowl.-Based Syst. 2024, 305, 112564. [Google Scholar] [CrossRef]
- Katoch, S.; Chauhan, S.S.; Kumar, V. A review on genetic algorithm: Past, present, and future. Multimed. Tools Appl. 2021, 80, 8091–8126. [Google Scholar] [CrossRef]
- Rechenberg, I. Evolution Strategy: Nature’s Way of Optimization. In Optimization: Methods and Applications, Possibilities and Limitations; Springer: Berlin/Heidelberg, Germany, 1989; pp. 106–126. [Google Scholar]
- Simon, D. Biogeography-Based Optimization. IEEE Trans. Evol. Comput. 2008, 12, 702–713. [Google Scholar] [CrossRef]
- SONUC, E.; SEN, B.; BAYIR, S. A Parallel Simulated Annealing Algorithm for Weapon-Target Assignment Problem. Int. J. Adv. Comput. Sci. Appl. 2017, 8, 87–92. [Google Scholar] [CrossRef]
- Dong, X.; Lin, Q.; Shen, F.; Guo, Q.; Li, Q. A novel hybrid simulated annealing algorithm for colored bottleneck traveling salesman problem. Swarm Evol. Comput. 2023, 83, 101406. [Google Scholar] [CrossRef]
- Kaplan, Y.A. Forecasting of global solar radiation: A statistical approach using simulated annealing algorithm. Eng. Appl. Artif. Intell. 2024, 136, 109034. [Google Scholar] [CrossRef]
- Joshi, S.K. Levy flight incorporated hybrid learning model for gravitational search algorithm. Knowl.-Based Syst. 2023, 265, 110374. [Google Scholar] [CrossRef]
- Kiran, M.S. Particle swarm optimization with a new update mechanism. Appl. Soft Comput. 2017, 60, 670–678. [Google Scholar] [CrossRef]
- Heng, H.; Ghazali, M.H.M.; Rahiman, W. Exploring the application of ant colony optimization in path planning for Unmanned Surface Vehicles. Ocean Eng. 2024, 311, 118738. [Google Scholar] [CrossRef]
- Karaboga, D. Artificial bee colony algorithm. Scholarpedia 2010, 5, 6915. [Google Scholar] [CrossRef]
- Rao, R.V.; Savsani, V.J.; Vakharia, D.P. Teaching–learning-based optimization: A novel method for constrained mechanical design optimization problems. Comput. Des. 2011, 43, 303–315. [Google Scholar] [CrossRef]
- Geem, Z.W. Recent Advances in Harmony Search Algorithm; Springer: Berlin/Heidelberg, Germany, 2010; Volume 270. [Google Scholar]
- Glover, F. Tabu Search—Part I. ORSA J. Comput. 1989, 1, 190–206. [Google Scholar] [CrossRef]
- Shaheen, A.M.; Elsayed, A.M.; El-Sehiemy, R.A.; Abdelaziz, A.Y. Equilibrium optimization algorithm for network reconfiguration and distributed generation allocation in power systems. Appl. Soft Comput. 2021, 98, 106867. [Google Scholar] [CrossRef]
- Rizk-Allah, R.M.; Hassanien, A.E.; Marafie, A. An improved equilibrium optimizer for numerical optimization: A case study on engineering design of the shell and tube heat exchanger. J. Eng. Res. 2023, 12, 240–255. [Google Scholar] [CrossRef]
- Elgamal, Z.M.; Yasin, N.M.; Sabri, A.Q.M.; Sihwail, R.; Tubishat, M.; Jarrah, H. Improved Equilibrium Optimization Algorithm Using Elite Opposition-Based Learning and New Local Search Strategy for Feature Selection in Medical Datasets. Computation 2021, 9, 68. [Google Scholar] [CrossRef]
- Uotila, J.; Maula, M.; Keil, T.; Zahra, S.A. Exploration, exploitation, and financial performance: Analysis of S&P 500 corporations. Strateg. Manag. J. 2009, 30, 221–231. [Google Scholar] [CrossRef]
- Wunnava, A.; Naik, M.K.; Panda, R.; Jena, B.; Abraham, A. A novel interdependence based multilevel thresholding technique using adaptive equilibrium optimizer. Eng. Appl. Artif. Intell. 2020, 94, 103836. [Google Scholar] [CrossRef]
- Liu, J.; Li, W.; Li, Y. LWMEO: An efficient equilibrium optimizer for complex functions and engineering design problems. Expert Syst. Appl. 2022, 198, 116828. [Google Scholar] [CrossRef]
- Zhong, C.; Li, G.; Meng, Z.; He, W. Opposition-based learning equilibrium optimizer with Levy flight and evolutionary population dynamics for high-dimensional global optimization problems. Expert Syst. Appl. 2023, 215, 119303. [Google Scholar] [CrossRef]
- Priyadarshini, J.; Premalatha, M.; Čep, R.; Jayasudha, M.; Kalita, K. Analyzing Physics-Inspired Metaheuristic Algorithms in Feature Selection with K-Nearest-Neighbor. Appl. Sci. 2023, 13, 906. [Google Scholar] [CrossRef]
- Mirjalili, S.; Lewis, A. The Whale Optimization Algorithm. Adv. Eng. Softw. 2016, 95, 51–67. [Google Scholar] [CrossRef]
- Wang, W.Y.; Xu, Z.H.; Fan, Y.H.; Pan, D.D.; Lin, P.; Wang, X.T. Disturbance inspired equilibrium optimizer with application to constrained engineering design problems. Appl. Math. Model. 2023, 116, 254–276. [Google Scholar] [CrossRef]
- Gui, P.; He, F.; Ling, B.W.-K.; Zhang, D. United equilibrium optimizer for solving multimodal image registration. Knowl.-Based Syst. 2021, 233, 107552. [Google Scholar] [CrossRef]
- Husseinzadeh Kashan, A. A new metaheuristic for optimization: Optics inspired optimization (OIO). Comput. Oper. Res. 2015, 55, 99–125. [Google Scholar] [CrossRef]
- Rao, S.S. Engineering Optimization: Theory and Practice; John Wiley & Sons: Hoboken, NJ, USA, 2020. [Google Scholar]
- Altay, E.V.; Altay, O.; Özçevik, Y. A Comparative Study of Metaheuristic Optimization Algorithms for Solving Real-World Engineering Design Problems. Comput. Model. Eng. Sci. 2024, 139, 1039–1094. [Google Scholar] [CrossRef]
- Abualigah, L.; Elaziz, M.A.; Khasawneh, A.M.; Alshinwan, M.; Ibrahim, R.A.; Al-qaness, M.A.A.; Mirjalili, S.; Sumari, P.; Gandomi, A.H. Meta-heuristic optimization algorithms for solving real-world mechanical engineering design problems: A comprehensive survey, applications, comparative analysis, and results. Neural Comput. Appl. 2022, 34, 4081–4110. [Google Scholar] [CrossRef]
- Coello Coello, C.A. Use of a self-adaptive penalty approach for engineering optimization problems. Comput. Ind. 2000, 41, 113–127. [Google Scholar] [CrossRef]
- Kannan, B.K.; Kramer, S.N. An Augmented Lagrange Multiplier Based Method for Mixed Integer Discrete Continuous Optimization and Its Applications to Mechanical Design. J. Mech. Des. 1994, 116, 405–411. [Google Scholar] [CrossRef]
- Pan, J.S.; Liu, N.; Chu, S.C.; Lai, T. An efficient surrogate-assisted hybrid optimization algorithm for expensive optimization problems. Inf. Sci. 2021, 561, 304–325. [Google Scholar] [CrossRef]
- Mehdi, G. “No Title.” MATLAB Central File Exchange. 2024. Available online: https://www.mathworks.com/matlabcentral/fileexchange/124810-benchmark-problems (accessed on 1 July 2024).
- Jasbir, S. Arora Introduction to Optimum Design; Elsevier: Amsterdam, The Netherlands, 2004. [Google Scholar]
- Belegundu, A.D.; Arora, J.S. A study of mathematical programming methods for structural optimization. Part I: Theory. Int. J. Numer. Methods Eng. 1985, 21, 1583–1599. [Google Scholar] [CrossRef]
- Shen, Y.; Zhang, C.; Soleimanian Gharehchopogh, F.; Mirjalili, S. An improved whale optimization algorithm based on multi-population evolution for global optimization and engineering design problems. Expert Syst. Appl. 2023, 215, 119269. [Google Scholar] [CrossRef]
- Gupta, S.; Deep, K.; Mirjalili, S. An efficient equilibrium optimizer with mutation strategy for numerical optimization. Appl. Soft Comput. 2020, 96, 106542. [Google Scholar] [CrossRef]











| Function | EO | mEO1 | mEO2 | mEO3 | mEO4 | BEO | ||
|---|---|---|---|---|---|---|---|---|
| Unimodal Test Function | F1 | Ave | 9.465E−41 | 1.484E−48 | 2.949E−47 | 4.373E−105 | 4.555E−120 | 1.950E−147 | 
| Std | 2.317E−40 | 5.148E−48 | 5.635E−47 | 1.917E−104 | 2.484E−119 | 9.878E−147 | ||
| F2 | Ave | 1.079E−22 | 4.991E−27 | 1.849E−26 | 2.203E−53 | 5.323E−64 | 5.737E−76 | |
| Std | 1.671E−22 | 1.183E−26 | 1.761E−26 | 1.204E−52 | 2.267E−63 | 2.441E−75 | ||
| F3 | Ave | 4.748E−09 | 5.391E−11 | 1.889E−09 | 9.220E−61 | 7.862E−73 | 1.380E−92 | |
| Std | 1.351E−08 | 1.490E−10 | 9.874E−09 | 4.962E−60 | 4.306E−72 | 5.597E−92 | ||
| F4 | Ave | 3.680E−10 | 9.805E−09 | 1.796E−10 | 1.091E−43 | 1.325E−52 | 8.261E−60 | |
| Std | 8.467E−10 | 4.857E−08 | 2.566E−10 | 3.600E−43 | 6.049E−52 | 4.422E−59 | ||
| F5 | Ave | 2.543E+01 | 2.531E+01 | 2.518E+01 | 2.549E+01 | 2.540E+01 | 2.525E+01 | |
| Std | 2.738E−01 | 2.740E−01 | 1.790E−01 | 2.072E−01 | 2.995E−01 | 2.071E−01 | ||
| F6 | Ave | 9.563E−06 | 3.500E−06 | 3.775E−06 | 1.459E−05 | 9.772E−06 | 6.729E−06 | |
| Std | 6.513E−06 | 2.881E−06 | 3.194E−06 | 7.444E−06 | 7.641E−06 | 6.056E−06 | ||
| F7 | Ave | 1.169E−03 | 1.183E−03 | 1.157E−03 | 5.486E−04 | 4.774E−04 | 3.936E−04 | |
| Std | 5.080E−04 | 5.600E−04 | 7.598E−04 | 3.763E−04 | 3.725E−04 | 2.996E−04 | ||
| Multimodal Test Function | F8 | Ave | −8.799E+03 | −1.257E+04 | −9.092E+03 | −8.792E+03 | −8.880E+03 | −1.257E+04 | 
| Std | 7.627E+02 | 4.257E−02 | 6.622E+02 | 5.922E+02 | 5.241E+02 | 1.537E−01 | ||
| F9 | Ave | 0.000E+00 | 1.330E−01 | 1.895E−15 | 0.000E+00 | 0.000E+00 | 0.000E+00 | |
| Std | 0.000E+00 | 7.284E−01 | 1.038E−14 | 0.000E+00 | 0.000E+00 | 0.000E+00 | ||
| F10 | Ave | 8.349E−15 | 7.401E−15 | 7.875E−15 | 4.796E−15 | 4.441E−15 | 4.441E−15 | |
| Std | 1.946E−15 | 1.347E−15 | 6.486E−16 | 1.084E−15 | 0.000E+00 | 0.000E+00 | ||
| F11 | Ave | 6.564E−04 | 9.853E−04 | 0.000E+00 | 0.000E+00 | 0.000E+00 | 0.000E+00 | |
| Std | 3.595E−03 | 3.805E−03 | 0.000E+00 | 0.000E+00 | 0.000E+00 | 0.000E+00 | ||
| F12 | Ave | 6.911E−03 | 3.456E−03 | 3.456E−03 | 1.670E−06 | 7.138E−07 | 2.741E−07 | |
| Std | 3.785E−02 | 1.893E−02 | 1.893E−02 | 1.741E−06 | 1.004E−06 | 1.854E−07 | ||
| F13 | Ave | 3.539E−02 | 5.002E−02 | 3.298E−02 | 4.114E−02 | 6.161E−02 | 3.476E−02 | |
| Std | 5.291E−02 | 7.761E−02 | 5.208E−02 | 6.945E−02 | 7.458E−02 | 5.685E−02 | ||
| Fixed dimensional multimodal test functions | F14 | Ave | 9.980E−01 | 1.064E+00 | 9.980E−01 | 9.980E−01 | 9.980E−01 | 9.980E−01 | 
| Std | 1.649E−16 | 3.622E−01 | 1.487E−16 | 1.890E−16 | 2.062E−16 | 1.797E−16 | ||
| F15 | Ave | 3.692E−03 | 5.661E−03 | 4.446E−03 | 1.765E−03 | 2.991E−03 | 4.167E−04 | |
| Std | 7.585E−03 | 9.018E−03 | 8.101E−03 | 5.063E−03 | 6.930E−03 | 3.206E−04 | ||
| F16 | Ave | −1.032E+00 | −1.032E+00 | −1.032E+00 | −1.032E+00 | −1.032E+00 | −1.032E+00 | |
| Std | 6.116E−16 | 6.116E−16 | 6.116E−16 | 4.999E−16 | 5.050E−16 | 4.479E−16 | ||
| F17 | Ave | 3.979E−01 | 3.979E−01 | 3.979E−01 | 3.979E−01 | 3.979E−01 | 3.979E−01 | |
| Std | 0.000E+00 | 0.000E+00 | 0.000E+00 | 0.000E+00 | 0.000E+00 | 0.000E+00 | ||
| F18 | Ave | 3.000E+00 | 3.000E+00 | 3.000E+00 | 3.000E+00 | 3.000E+00 | 3.000E+00 | |
| Std | 1.023E−15 | 1.286E−15 | 1.340E−15 | 1.447E−15 | 1.732E−15 | 1.143E−15 | ||
| F19 | Ave | −3.863E+00 | −3.863E+00 | −3.863E+00 | −3.863E+00 | −3.863E+00 | −3.863E+00 | |
| Std | 1.439E−03 | 2.527E−15 | 1.439E−03 | 2.494E−15 | 2.512E−15 | 2.524E−15 | ||
| F20 | Ave | −3.267E+00 | −3.252E+00 | −3.280E+00 | −3.256E+00 | −3.282E+00 | −3.278E+00 | |
| Std | 6.033E−02 | 6.314E−02 | 6.124E−02 | 7.087E−02 | 5.700E−02 | 5.854E−02 | ||
| F21 | Ave | −8.548E+00 | −8.886E+00 | −8.294E+00 | −6.938E+00 | −7.106E+00 | −9.224E+00 | |
| Std | 2.529E+00 | 2.374E+00 | 2.735E+00 | 2.734E+00 | 2.776E+00 | 2.149E+00 | ||
| F22 | Ave | −9.173E+00 | −8.662E+00 | −9.141E+00 | −8.864E+00 | −8.849E+00 | −9.617E+00 | |
| Std | 2.536E+00 | 2.984E+00 | 2.623E+00 | 2.634E+00 | 2.643E+00 | 2.072E+00 | ||
| F23 | Ave | −9.558E+00 | −9.182E+00 | −9.412E+00 | −8.828E+00 | −9.280E+00 | −1.006E+01 | |
| Std | 2.573E+00 | 2.806E+00 | 2.607E+00 | 2.941E+00 | 2.597E+00 | 1.836E+00 | ||
| Friedman mean rank | 4.2391 | 4.1522 | 3.6957 | 3.8478 | 3.1739 | 1.8913 | ||
| Rank | 6 | 5 | 3 | 4 | 2 | 1 | ||
| Name | Function | Range | Optimal | 
|---|---|---|---|
| Sphare | [−100, 100] | 0 | |
| Schwefel 2.22 | [−10, 10] | 0 | |
| Schwefel 1.2 | [−100, 100] | 0 | |
| Schwefel 2.21 | [−100, 100] | 0 | |
| Rosenbrock | [−30, 30] | 0 | |
| Step | [−100, 100] | 0 | |
| Quartic | [−1.28, 1.28] | 0 | |
| Schwefel | [−500, 500] | 418.9829*N | |
| Rastrigin | [−5.12, 5.12] | 0 | |
| Ackley | [−32, 32] | 0 | |
| Griewank | [−600, 600] | 0 | |
| Penalized 1.1 | [−50, 50] | 0 | |
| Penalized 1.2 | [−50, 50] | 0 | |
| Foxholes | [−65,536, 65,536] | 0.998 | |
| Kowalik | [−5, 5] | 0.000308 | |
| Six Hump Camel | [−5, 5] | −1.0316285 | |
| Branin | [−5, 10] × [0, 15] | 0.398 | |
| Goldstein-Price | [−2, 2] | 3 | |
| Hartman 3 | [0, 1] | −3.86 | |
| Hartman 6 | [0, 1] | −3.32 | |
| Shekel 5 | [0, 10] | −10.1499 | |
| Shekel 7 | [0, 10] | −10.3999 | |
| Shekel 10 | [0, 10] | −10.5364 | 
| Function | PSO | GWO | GA | GSA | WOA | EO | BEO | ||
|---|---|---|---|---|---|---|---|---|---|
| Unimodal test functions | F1 | Ave | 9.590E−06 | 6.590E−28 | 4.332E+04 | 2.530E−16 | 1.410E−30 | 9.465E−41 | 1.950E−147 | 
| Std | 3.350E−05 | 1.580E−28 | 5.867E+03 | 9.670E−17 | 4.910E−30 | 2.317E−40 | 9.878E−147 | ||
| Best | 2.270E−06 | 2.680E−28 | 3.986E+04 | 2.952E−17 | 5.116E−80 | 5.142E−41 | 2.013E−147 | ||
| Worst | 3.000E−04 | 6.690E+04 | 7.064E+04 | 6.367E+04 | 7.441E+04 | 7.050E+04 | 7.997E+02 | ||
| F2 | Ave | 2.560E−02 | 7.180E−17 | 6.543E+39 | 5.565E−02 | 1.060E−21 | 1.079E−22 | 5.737E−76 | |
| Std | 4.595E−02 | 7.280E−17 | 1.063E+40 | 1.940E−01 | 2.390E−21 | 1.671E−22 | 2.441E−75 | ||
| Best | 6.31E−05 | 3.524E−17 | 6.800E+39 | 2.345E−08 | 3.693E−54 | 2.154E−22 | 4.359E−77 | ||
| Worst | 0.00126 | 1.593E+11 | 1.247E+42 | 4.895E+11 | 1.727E+11 | 7.592E+42 | 1.179E+14 | ||
| F3 | Ave | 8.227E+01 | 3.290E−06 | 6.856E+04 | 8.965E+02 | 5.390E−07 | 4.748E−09 | 1.380E−92 | |
| Std | 9.721E+01 | 1.610E−05 | 1.799E+04 | 3.190E+02 | 2.930E−06 | 1.351E−08 | 5.597E−92 | ||
| Best | 9.041E+01 | 1.597E−07 | 6.945E+04 | 4.364E+02 | 5.005E+04 | 3.192E−10 | 6.459E−100 | ||
| Worst | 5.000E+02 | 1.464E+05 | 1.420E+05 | 1.128E+05 | 1.271E+05 | 1.770E+05 | 1.465E+05 | ||
| F4 | Ave | 4.261E+00 | 5.610E−07 | 7.898E+01 | 7.355E+00 | 7.258E−02 | 3.680E−10 | 8.261E−60 | |
| Std | 6.773E−01 | 1.040E−06 | 5.944E+00 | 1.741E+00 | 3.975E−01 | 8.467E−10 | 4.422E−59 | ||
| Best | 1.346E+00 | 1.353E−07 | 6.516E+01 | 4.693E+00 | 4.625E+01 | 7.319E−11 | 1.329E−63 | ||
| Worst | 5.090E+00 | 9.006E+01 | 8.623E+01 | 8.499E+01 | 8.725E+01 | 8.892E+01 | 9.452E+00 | ||
| F5 | Ave | 9.243E+01 | 2.681E+01 | 1.096E+08 | 6.754E+01 | 2.787E+01 | 2.543E+01 | 2.525E+01 | |
| Std | 7.448E+01 | 7.932E−01 | 4.074E+07 | 6.223E+01 | 7.636E−01 | 2.738E−01 | 2.071E−01 | ||
| Best | 1.159E+01 | 2.614E+01 | 5.333E+07 | 2.738E+01 | 2.860E+01 | 2.523E+01 | 2.513E+01 | ||
| Worst | 1.253E+02 | 2.383E+08 | 2.907E+08 | 2.245E+08 | 3.058E+08 | 2.248E+08 | 5.980E+05 | ||
| F6 | Ave | 8.890E−06 | 8.166E−01 | 4.640E+04 | 2.500E−16 | 3.116E+00 | 9.563E−06 | 6.729E−06 | |
| Std | 9.910E−06 | 4.821E−01 | 8.638E+03 | 1.740E−16 | 5.324E−01 | 6.513E−06 | 6.056E−06 | ||
| Best | 2.10E−06 | 1.250E+00 | 4.955E+04 | 1.000E+00 | 2.855E−01 | 1.109E−05 | 1.465E−06 | ||
| Worst | 2.900E−04 | 7.195E+04 | 6.467E+04 | 6.556E+04 | 6.467E+04 | 6.255E+04 | 6.142E+02 | ||
| F7 | Ave | 2.724E−02 | 2.213E−03 | 5.114E+01 | 8.944E−02 | 1.425E−03 | 1.169E−03 | 3.936E−04 | |
| Std | 8.040E−03 | 1.996E−03 | 1.568E+01 | 4.339E−02 | 1.149E−03 | 5.080E−04 | 2.996E−04 | ||
| Best | 3.700E−04 | 1.438E−03 | 4.804E+01 | 4.041E−02 | 6.219E−03 | 8.407E−04 | 1.084E−04 | ||
| Worst | 2.030E−03 | 1.174E+02 | 1.094E+02 | 1.042E+02 | 1.467E+02 | 1.245E+02 | 1.270E+02 | ||
| Multimodal test functions | F8 | Ave | −1.971E+03 | −6.123E+03 | −2.327E+03 | −2.821E+03 | −5.081E+03 | −8.799E+03 | −1.257E+04 | 
| Std | 3.399E+02 | 9.099E+02 | 5.906E+02 | 4.930E+02 | 6.958E+02 | 7.627E+02 | 1.537E−01 | ||
| Best | −2.707E+03 | −3.717E+03 | −2.868E+03 | −2.933E+03 | −1.108E+04 | −8.959E+03 | −1.257E+04 | ||
| Worst | −1.353E+03 | −3.098E+03 | −2.868E+03 | −2.362E+03 | −2.431E+03 | −2.341E+03 | −1.182E+04 | ||
| F9 | Ave | 8.659E+00 | 3.105E−01 | 3.167E+02 | 2.597E+01 | 0.000E+00 | 0.000E+00 | 0.000E+00 | |
| Std | 3.173E+00 | 3.521E−01 | 3.330E+01 | 7.470E+00 | 0.000E+00 | 0.000E+00 | 0.000E+00 | ||
| Best | 2.992E+00 | 1.137E−13 | 2.887E+02 | 8.955E+00 | 0.000E+00 | 0.000E+00 | 0.000E+00 | ||
| Worst | 1.625E+01 | 4.328E+02 | 4.468E+02 | 4.164E+02 | 4.713E+02 | 4.396E+02 | 4.547E+02 | ||
| F10 | Ave | 1.510E−04 | 1.060E−13 | 1.995E+01 | 6.208E−02 | 7.404E+00 | 8.349E−15 | 4.441E−15 | |
| Std | 1.150E−04 | 2.240E−13 | 3.728E−01 | 2.363E−01 | 9.898E+00 | 1.946E−15 | 0.000E+00 | ||
| Best | 1.070E−05 | 8.615E−14 | 1.932E+01 | 4.436E−09 | 8.882E−16 | 7.994E−15 | 4.441E−15 | ||
| Worst | 4.440E−04 | 2.072E+01 | 2.060E+01 | 2.076E+01 | 2.047E+01 | 2.060E+01 | 1.159E+01 | ||
| F11 | Ave | 9.394E−01 | 4.480E−03 | 3.975E+02 | 2.770E+01 | 2.890E−04 | 6.564E−04 | 0.000E+00 | |
| Std | 7.606E−01 | 6.650E−03 | 8.903E+01 | 5.040E+00 | 1.568E−03 | 3.595E−03 | 0.000E+00 | ||
| Best | 6.154E−02 | 0.000E+00 | 4.308E+02 | 1.513E+01 | 0.000E+00 | 0.000E+00 | 0.000E+00 | ||
| Worst | 3.007E+00 | 6.040E+02 | 5.912E+02 | 5.155E+02 | 6.208E+02 | 5.276E+02 | 1.027E+01 | ||
| F12 | Ave | 2.764E−02 | 5.343E−02 | 2.024E+08 | 1.800E+00 | 3.397E−01 | 6.911E−03 | 2.741E−07 | |
| Std | 5.399E−02 | 2.073E−02 | 9.821E+07 | 9.511E−01 | 2.149E−01 | 3.785E−02 | 1.854E−07 | ||
| Best | 3.450E−03 | 7.096E−02 | 2.869E+08 | 2.791E−01 | 3.441E−02 | 2.264E−07 | 1.443E−07 | ||
| Worst | 1.245E−01 | 3.822E+08 | 4.551E+08 | 6.929E+08 | 5.491E+08 | 5.399E+08 | 1.935E+01 | ||
| F13 | Ave | 7.320E−03 | 6.545E−01 | 4.490E+08 | 8.899E+00 | 1.889E+00 | 3.539E−02 | 3.476E−02 | |
| Std | 1.050E−02 | 4.470E−03 | 1.677E+08 | 7.126E+00 | 2.661E−01 | 5.291E−02 | 5.685E−02 | ||
| Best | 5.440E−04 | 4.131E−01 | 7.383E+08 | 1.908E+00 | 4.554E−01 | 2.244E−05 | 1.100E−02 | ||
| Worst | 9.520E−02 | 1.277E+09 | 1.010E+09 | 1.065E+09 | 1.391E+09 | 1.542E+09 | 1.317E+09 | ||
| Fixed dimensional multimodal test functions | F14 | Ave | 3.849E+00 | 4.042E+00 | 6.658E+00 | 5.860E+00 | 2.112E+00 | 9.980E−01 | 9.980E−01 | 
| Std | 3.249E+00 | 4.253E+00 | 6.128E+00 | 3.831E+00 | 2.499E+00 | 1.649E−16 | 1.797E−16 | ||
| Best | 7.894E+00 | 9.980E−01 | 6.614E+00 | 8.060E+00 | 2.982E+00 | 9.980E−01 | 9.980E−01 | ||
| Worst | 2.145E+00 | 2.095E+01 | 1.616E+01 | 2.257E+01 | 2.401E+02 | 6.258E+01 | 2.317E+02 | ||
| F15 | Ave | 2.434E−03 | 3.370E−03 | 3.790E−02 | 3.673E−03 | 5.720E−04 | 3.692E−03 | 4.167E−04 | |
| Std | 6.081E−03 | 6.250E−03 | 3.857E−02 | 1.647E−03 | 3.240E−04 | 7.585E−03 | 3.206E−04 | ||
| Best | 4.558E−04 | 3.181E−04 | 2.380E−02 | 2.780E−03 | 2.191E−03 | 3.083E−04 | 3.109E−04 | ||
| Worst | 1.142E−02 | 3.311E−01 | 7.180E−02 | 8.201E−02 | 2.408E−01 | 1.646E−01 | 7.783E−02 | ||
| F16 | Ave | −1.032E+00 | −1.032E+00 | −7.977E−01 | −1.032E+00 | −1.032E+00 | −1.032E+00 | −1.032E+00 | |
| Std | 6.510E−16 | 2.130E−08 | 2.725E−01 | 4.880E−16 | 4.200E−07 | 6.116E−16 | 4.479E−16 | ||
| Best | −1.034E+00 | −1.032E+00 | −1.018E+00 | −1.032E+00 | −1.032E+00 | −1.032E+00 | −1.032E+00 | ||
| Worst | −1.030E+00 | 7.959E−01 | −4.078E−01 | −9.788E−01 | −6.500E−01 | −4.728E−02 | 1.079E+00 | ||
| F17 | Ave | 3.979E−01 | 3.979E−01 | 7.214E+01 | 3.979E−01 | 3.979E−01 | 3.979E−01 | 3.979E−01 | |
| Std | 0.000E+00 | 2.130E−04 | 1.087E+01 | 0.000E+00 | 2.700E−05 | 0.000E+00 | 0.000E+00 | ||
| Best | 3.122E−01 | 3.979E−01 | 8.181E+01 | 3.979E−01 | 3.979E−01 | 3.979E−01 | 3.979E−01 | ||
| Worst | 5.650E−01 | 7.725E−01 | 8.181E+01 | 7.356E−01 | 1.639E+00 | 6.642E−01 | 4.259E−01 | ||
| F18 | Ave | 3.000E+00 | 3.000E+00 | 2.168E+01 | 3.000E+00 | 3.000E+00 | 3.000E+00 | 3.000E+00 | |
| Std | 1.970E−15 | 4.240E−04 | 1.476E+01 | 4.170E−15 | 4.220E−15 | 1.023E−15 | 1.143E−15 | ||
| Best | 3.015E+00 | 3.000E+00 | 3.016E+01 | 3.000E+00 | 3.000E+00 | 3.000E+00 | 3.000E+00 | ||
| Worst | 3.000E+00 | 9.921E+01 | 4.055E+01 | 1.364E+02 | 3.005E+01 | 8.336E+01 | 7.314E+01 | ||
| F19 | Ave | −3.863E+00 | −3.863E+00 | −3.314E+00 | −3.863E+00 | −3.856E+00 | −3.863E+00 | −3.863E+00 | |
| Std | 2.650E−15 | 2.730E−03 | 3.301E−01 | 2.290E−15 | 2.706E−03 | 1.439E−03 | 2.524E−15 | ||
| Best | −3.863E+00 | −3.863E+00 | −3.030E+00 | −3.863E+00 | −3.832E+00 | −3.863E+00 | −3.863E+00 | ||
| Worst | −3.001E+00 | −3.029E+00 | −3.030E+00 | −3.493E+00 | −3.418E+00 | −2.446E+00 | −3.678E+00 | ||
| F20 | Ave | −3.267E+00 | −3.287E+00 | −1.403E+00 | −3.318E+00 | −2.981E+00 | −3.267E+00 | −3.278E+00 | |
| Std | 6.032E−02 | 1.056E−01 | 6.400E−01 | 2.308E−02 | 3.767E−01 | 6.033E−02 | 5.854E−02 | ||
| Best | −3.278E+00 | −3.322E+00 | −1.118E+00 | −3.322E+00 | −3.174E+00 | −3.203E+00 | −3.322E+00 | ||
| Worst | −2.150E+00 | −1.600E+00 | −1.118E+00 | −1.935E+00 | −1.435E+00 | −1.494E+00 | −7.466E−01 | ||
| F21 | Ave | −5.909E+00 | −8.721E+00 | −9.978E−01 | −5.955E+00 | −7.049E+00 | −8.548E+00 | −9.224E+00 | |
| Std | 3.596E+00 | 2.691E+00 | 9.486E−01 | 3.737E+00 | 3.630E+00 | 2.529E+00 | 2.149E+00 | ||
| Best | −5.989E+00 | −1.015E+01 | −6.800E−01 | −1.015E+01 | −1.015E+01 | −1.015E+01 | −1.015E+01 | ||
| Worst | −3.790E+00 | −4.468E−01 | −6.500E−01 | −6.769E−01 | −4.815E−01 | −8.614E−01 | −3.061E−01 | ||
| F22 | Ave | −7.336E+00 | −9.242E+00 | −6.163E−01 | −1.040E+01 | −8.182E+00 | −9.173E+00 | −9.958E+00 | |
| Std | 3.474E+00 | 1.613E+00 | 1.014E−01 | 2.014E+00 | 3.829E+00 | 2.536E+00 | 1.694E+00 | ||
| Best | −7.457E+00 | −5.128E+00 | −4.452E−01 | −1.040E+01 | −1.036E+01 | −1.040E+01 | −1.040E+01 | ||
| Worst | −7.460E−01 | −7.340E−01 | −4.365E−01 | −7.205E−01 | −4.153E−01 | −7.286E−01 | −5.601E−01 | ||
| F23 | Ave | −8.748E+00 | −1.053E+01 | −1.046E+00 | −1.054E+01 | −9.342E+00 | −9.558E+00 | −1.006E+01 | |
| Std | 2.557E+00 | 1.250E−03 | 2.661E−01 | 2.600E−15 | 2.415E+00 | 2.573E+00 | 1.836E+00 | ||
| Best | −9.678E+00 | −1.053E+01 | −1.079E+00 | −1.054E+01 | −1.053E+01 | −1.054E+01 | −1.054E+01 | ||
| Worst | −6.104E+00 | −7.814E−01 | −1.079E+00 | −8.165E−01 | −5.576E−01 | −5.834E−01 | −7.559E−01 | ||
| Friedman mean rank | 4.6957 | 3.9565 | 5.5000 | 4.6739 | 4.4783 | 3.0435 | 1.6522 | ||
| Rank | 6 | 3 | 7 | 5 | 4 | 2 | 1 | ||
| Algoritma | Wilcoxon Test (+/≈/−) | 
|---|---|
| mEO1 | 2/4/17 | 
| mEO2 | 4/5/14 | 
| mEO3 | 0/7/16 | 
| mEO4 | 1/8/14 | 
| EO | 0/5/18 | 
| BEO | NA | 
| Algoritma | Wilcoxon Test (+/≈/−) | 
|---|---|
| PSO | 2/0/21 | 
| GWO | 3/0/20 | 
| GA | 0/0/23 | 
| GSA | 6/0/17 | 
| WOA | 1/1/21 | 
| EO | 0/5/18 | 
| BEO | NA | 
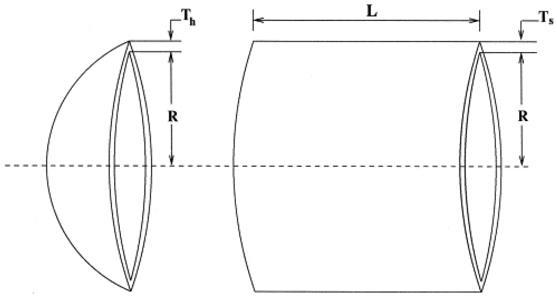
| Algorithm | Optimum Variables | Opt. Cost fcost | |||
|---|---|---|---|---|---|
| Ts (x1) | Th (x2) | R (x3) | L (x4) | ||
| BEO | 0.7786791 | 0.38328788 | 40.346058 | 199.6322 | 5882.0061 | 
| EO | 0.7781686 | 0.38464916 | 40.319619 | 199.9999 | 5885.3279 | 
| GWO | 0.8125 | 0.4375 | 42.0984 | 176.6379 | 6059.7315 | 
| SSA | 0.8125 | 0.4375 | 42.0985 | 176.6366 | 6059.7144 | 
| WOA | 0.81250 | 0.43750 | 42.098269 | 176.6389 | 6059.7410 | 
| GSA | 1.1250 | 0.6250 | 55.98865 | 84.454202 | 8538.8359 | 
| PSO | 2.0625 | 1.6250 | 78.7367 | 200.0000 | 6362.6158 | 
| CPSO | 0.8125 | 0.4375 | 42.091266 | 176.7465 | 6061.0777 | 
| Algorithm | Optimum Variables | Opt. Cost fcost | |||
|---|---|---|---|---|---|
| h (x1) | l (x2) | t (x3) | b (x4) | ||
| BEO | 0.1830 | 2.4072 | 9.5818 | 0.1830 | 1.4732 | 
| EO | 0.2057 | 3.4705 | 9.03664 | 0.2057 | 1.7249 | 
| GWO | 0.2054 | 3.4778 | 9.0388 | 0.2067 | 1.7265 | 
| MPA | 0.2757 | 3.4705 | 9.03662 | 0.2057 | 1.7248 | 
| WOA | 0.1876 | 3.9298 | 8.9907 | 0.2308 | 1.9428 | 
| GSA | 0.1829 | 4.0483 | 9.3666 | 0.2059 | 1.8242 | 
| HGSO | 0.2054 | 3.4476 | 9.0269 | 0.2060 | 1.7260 | 
| CPSO | 0.2024 | 3.5442 | 9.04821 | 0.2057 | 1.7280 | 
| Algorithm | Optimum Variables | Opt. Cost fcost | ||
|---|---|---|---|---|
| w (x1) | d (x2) | N (x3) | ||
| BEO | 0.0515 | 0.3544 | 11.4243 | 0.012665 | 
| EO | 0.0522 | 0.3710 | 10.4978 | 0.012671 | 
| WOA | 0.0525 | 0.3759 | 10.2481 | 0.012676 | 
| BWO | 0.0517 | 0.3568 | 11.3132 | 0.012703 | 
| GWO | 0.0519 | 0.3626 | 10.9606 | 0.012672 | 
| PSO | 0.0514 | 0.3500 | 11.6944 | 0.012667 | 
| HHO | 0.0517 | 0.3581 | 11.2106 | 0.012665 | 
| GSA | 0.0513 | 0.3486 | 11.7834 | 0.012667 | 
| Algorithm | Optimum Variables | Opt. Cost fcost | |
|---|---|---|---|
| y1 | y2 | ||
| BEO | 0.78865 | 0.40829 | 263.89584 | 
| EO | 0.78803 | 0.41007 | 263.89610 | 
| GWO | 0.78772 | 0.41096 | 263.89770 | 
| SCA | 0.79320 | 0.39559 | 263.91120 | 
| BOA | 0.78997 | 0.40463 | 263.90220 | 
| WOA | 0.78779 | 0.41064 | 263.89210 | 
| COA | 0.78818 | 0.409514 | 263.89200 | 
| PSO | 0.76669 | 0.41613 | 263.89840 | 
| Disclaimer/Publisher’s Note: The statements, opinions and data contained in all publications are solely those of the individual author(s) and contributor(s) and not of MDPI and/or the editor(s). MDPI and/or the editor(s) disclaim responsibility for any injury to people or property resulting from any ideas, methods, instructions or products referred to in the content. | 
© 2024 by the authors. Licensee MDPI, Basel, Switzerland. This article is an open access article distributed under the terms and conditions of the Creative Commons Attribution (CC BY) license (https://creativecommons.org/licenses/by/4.0/).
Share and Cite
Tuna, R.; Çelik, Y.; Fındık, O. Boosted Equilibrium Optimizer Using New Adaptive Search and Update Strategies for Solving Global Optimization Problems. Electronics 2024, 13, 5061. https://doi.org/10.3390/electronics13245061
Tuna R, Çelik Y, Fındık O. Boosted Equilibrium Optimizer Using New Adaptive Search and Update Strategies for Solving Global Optimization Problems. Electronics. 2024; 13(24):5061. https://doi.org/10.3390/electronics13245061
Chicago/Turabian StyleTuna, Resul, Yüksel Çelik, and Oğuz Fındık. 2024. "Boosted Equilibrium Optimizer Using New Adaptive Search and Update Strategies for Solving Global Optimization Problems" Electronics 13, no. 24: 5061. https://doi.org/10.3390/electronics13245061
APA StyleTuna, R., Çelik, Y., & Fındık, O. (2024). Boosted Equilibrium Optimizer Using New Adaptive Search and Update Strategies for Solving Global Optimization Problems. Electronics, 13(24), 5061. https://doi.org/10.3390/electronics13245061
 
        



 
       