Next Article in Journal
Press Casting Quality Prediction and Analysis Based on Machine Learning
Previous Article in Journal
Economic Dispatch of Microgrid Based on Load Prediction of Back Propagation Neural Network–Local Mean Decomposition–Long Short-Term Memory
 
 
Font Type:
Arial Georgia Verdana
Font Size:
Aa Aa Aa
Line Spacing:
Column Width:
Background:
Article

Common-Mode Voltage Reduction and Neutral Point Voltage Balance Modulation Technology of Quasi-Z-Source T-Type Three-Level Inverter

School of Electrical Engneering, Guangxi University, Nanning 530004, China
*
Author to whom correspondence should be addressed.
Electronics 2022, 11(14), 2203; https://doi.org/10.3390/electronics11142203
Submission received: 12 June 2022 / Revised: 7 July 2022 / Accepted: 11 July 2022 / Published: 14 July 2022
(This article belongs to the Section Power Electronics)

Abstract

:
The quasi-Z-source T-type inverter is a new type of three-level inverter. Compared with other three-level inverters, the quasi-z-source T-type inverter is characterized by its fault tolerance capability and boost capability. In the inverter, the modulation strategy greatly affects the performance. Aiming at the problems in three-level inverters such as excessive common-mode voltage and unbalanced neutral point potential, a space vector pulse width modulation (SVPWM) for a quasi-z-source T-type three-level inverter based via line voltage coordinate is proposed in this paper. The main research work and achievements of this paper include: (1) based on the existing research results, an SVPWM modulation strategy for the quasi-Z-source T-type inverter is proposed. The modulation method proposed by this paper can effectively reduce the common-mode voltage and balance the neutral point voltage. (2) This paper analyzes the principle of the line voltage coordinate system and makes some modifications to the line voltage coordinate system so that the proposed modulation scheme can be applied to the line voltage coordinate system. Compared with the traditional α β coordinate system, the SVPWM algorithm in the line voltage coordinate system has the characteristic of simple calculation. The simulation and experiment results show that the control method has good performance under the conditions of dynamic response and imbalance.

1. Introduction

In distributed generation, the voltage source inverter is a widely used DC–AC power conversion structure [1,2]. When a three-phase voltage inverter is applied to photovoltaic power generation, a period of dead time needs to be added, and soft switching technology is used to prohibit the shoot-through state of the inverter bridge [3,4]. However, the excessive dead time may lead to distortion of the inverter output current. [5,6]. In order to solve this problem, a Z-source network can be added to the front-end of the inverter to compose a Z-source inverter [7]. That structure does not need to set dead time and has boost capability. The quasi-Z-source network is an improved topology of the Z-source network, which has the advantages of continuous input current and low capacitor voltage stress [8]. V. Fernão Pires combined a quasi-Z-source network and T-type inverter and proposed a quasi-Z-source T-type inverter topology [9], which is applied to the field of electric vehicles and photovoltaic power generation [10,11,12].
In the inverter, the modulation strategy greatly affects the performance. The paper mainly discusses the modulation strategy of a quasi-z source three-level inverter. The carrier modulation strategy of the quasi-z-source T-type inverter is studied by reference [13,14], and the effect of mitigation of the inner capacitors’ voltages imbalance [13] and reducing switching loss [14] is obtained. However, the carrier modulation strategy has the problem of low voltage utilization.
To solve this problem, reference [15] analyzes the problem of the SVPWM modulation strategy in quasi-Z-source inverters and inserts the shoot-through state into the small vectors, reducing the extra switching time by using the third harmonic injection pulse width modulation.
Reference [16] proposes an SVPWM modulation scheme with the ability to reduce the common-mode voltage, and proves the superiority of large, medium, and zero vector modulation (LMZVM) by comparing it with the convectional pulse width modulation (PWM) modulation scheme.
References [17,18] discusses the problem of LMZVM modulation strategy in quasi-Z-source T-type inverters and realizes the voltage boost by inserting the shoot-through state into the zero vector, and considers various operating conditions to simulate the operation of the renewable energy system.
Reference [19] discusses the problem of thru-vector insertion in LMZVM, and proposes two modulation schemes, ZSVM_1T and ZSVM_2T. The switching frequency of the power switches offered by ZSVM_1T is minimum and ZSVM_2T offers an increased switching frequency of the impedance network with a minimum switching frequency of the power switches.
Reference [20] proposes a coordinate control strategy between neutral point voltage balance and voltage boosting and the voltage boosting capability was not affected by the neutral point voltage balance control.
Reference [21] proposes an improved version of maximum boost control (IMBC) via appropriate modification in the conventional space vector pulse width modulation, and the IMBC reduces the current ripple on the inductor. The existing research results on LMZVM are all based on the traditional α β coordinate system, and few studies consider applying LMZVM to other coordinate systems.
The SVPWM scheme in α β frame presents some computational complexities due to redundant switching states and a large number of space vectors. It is a good method to apply SVPWM to another frame, which avoids trigonometric operations and look-up tables [22].
Liu [23] proposes the line voltage coordinate system. In the line voltage coordinate system, the steps of determining the basic vectors and the solution about the basic vector corresponding action time are simplified. The SVPWM in the line voltage coordinate system can be replicated for multilevel converters with any number of voltage levels, reference [24] proposes an SVPWM for a three-level neutral point clamped (NPC) Z-source inverter via the line-voltage coordinate system. Compared with other coordinate systems, the THD value of the current in the line voltage coordinate system is lower and the calculation time is shorter.
In this paper, the LMZVM is applied to the line voltage coordinate system, and three auxiliary quantities are added to solve the problem that the line voltage coordinate system can only calculate that the reference vector is located at the three vertices of the equilateral triangle. The paper is organized as follows: the structure of the line voltage coordinate system and inverter and LMZVM will be introduced in Section 2. The calculation process of the modulation scheme of LMZVM in the line voltage coordinate system will be presented in Section 3. The overall control strategy will be introduced in Section 4. Numerical simulations and experiments will be carried out in Section 5. Conclusions are drawn in Section 6.

2. Quasi-Z-Source Three-Level Inverter and Its Modulation Strategy

2.1. Structure of Quasi-Z-Source Three-Level Inverter

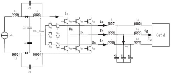
The structure of the quasi-Z-source three-level inverter with an LCL filter is shown in Figure 1. The inverter is composed of two symmetrical quasi-Z-source networks and a three-level inverter. Each quasi-Z-source network is composed of two capacitors ( C 1 , C 2 ) and two inductors ( L 1 , L 2 ) , which are used to improve the fault tolerance of the inverter and provide a certain boost capability.
The switch states of the quasi-Z-source three-level inverter are listed in Table 1. In Table 1, P, O, and N represent three levels of non-shoot-through state, and F represents the up-shoot-through status.

2.2. The Large, Medium, and Zero Vector Modulation (Lmzvm) Strategy

The output common-mode voltage of the three-phase is defined as the average value:
U cm = U A O + U B O + U C O 3
where U A O , U B O , and U C O are the output voltages of phase A, phase B, and phase C, respectively.
Reducing the common-mode voltage is an excellent way to suppress the leakage current. The corresponding relationship between vector and common-mode voltage of traditional SVPWM is shown in Table 2.
It can be seen from Table 2 that the common-mode voltage is greatly affected by the small vector. When the small vector is not used, the amplitude of the common-mode voltage is only 1/6 of the DC bus voltage. Therefore, LMZVM is proposed to reduce the common-mode voltage [16]. The space vector diagram of LMZVM is shown in Figure 2 and details of the switching sequence are shown in Table 3, the action time of each switch vector will be calculated in the following chapters.

2.3. Line Voltage Coordinate System

As shown in Figure 3. The reference vector ( U ref ) is synthesized by three vectors via volt-second balance as in Equation (2).
U ref = U L × T L T S + U M × T M T S + U Z × T Z T S 1 = T L T S + T M T S + T Z T S
where U L , U M , and U Z represent large vector, medium vector and zero vector respectively, T L , T M , and T Z are their action time within one modulation cycle, and T S represents the modulation period.
From the geometric relationship in Figure 3 [24], it can be known that:
T L T S = d U ref MZ d L MZ T M T S = d U ref LZ d M LZ T Z T S = d U ref LM d Z LM
where d a bc represents the distance from the point a to the line segment bc.
It can be seen from Equation (3) that the calculation problem of the action time of the basis vector can be transformed into a geometric problem of the distance between the reference vector and the sides of the triangle.
The calculation procedures of the SVPWM in line voltage coordinate system are as follows [23]:
(1)
Round down the reference vector ( U ref ), determine the relative positional relationship between basic vectors U L , U M and U Z .
(2)
Calculate the distance from the reference vector to each side and calculate the action time of the basic vectors.
The line voltage coordinate transformation is as follows:
U refab U refbc U refca = 2 3 2 3 0 0 2 3 2 3 2 3 0 2 3 × U a U b U c
Go to step one, round down the reference vector:
U refab ̲ = floor ( U refab ) U refbc ̲ = floor ( U refbc ) U refca ̲ = floor ( U refca )
If U refab ̲ + U refbc ̲ + U refca ̲ = 1 , the triangle formed by the basic vectors is shown in the Figure 4, and the three vertices of the triangle are:
P 1 ( U refab ̲ , U refbc ̲ + 1 , U refca ̲ ) P 2 ( U refab ̲ , U refbc ̲ , U refca ̲ + 1 ) P 3 ( U refab ̲ + 1 , U refbc ̲ , U refca ̲ )
Then the distance from the reference vector to each side is:
h 1 = U refbc U refbc ̲ h 2 = U refca U refca ̲ h 3 = U refab U refab ̲
If U refab ̲ + U refbc ̲ + U refca ̲ 1 , the triangle formed by the basic vectors is shown in the Figure 5, and the three vertices of the triangle are:
P 1 ( U refab ̲ + 1 , U refbc ̲ , U refca ̲ + 1 ) P 2 ( U refab ̲ + 1 , U refbc ̲ + 1 , U refca ̲ ) P 3 ( U refab ̲ , U refbc ̲ + 1 , U refca ̲ + 1 )
Define U ref ̲ ( U refab ̲ + 1 , U refbc ̲ + 1 , U refca ̲ + 1 ) , the following equations are obtained:
h 1 = U refbc ̲ U refbc h 2 = U refca ̲ U refca h 3 = U refab ̲ U refab
where, h 1 , h 2 , and h 3 represent the distance from the reference vector to each side.

3. LMZVM in Line Voltage Coordinate System

Although the line voltage coordinate system has good ductility in multilevel applications, it is only suitable for the case of the basic vector located at the three vertices of an equilateral triangle as in Figure 4 and Figure 5. In LMZVM, the distance from the reference vector to the right angle side is calculated by trigonometric function. In order to solve this problem, based on the online voltage coordinate system, three auxiliary quantities are added to calculate the distance from the reference vector to the right angle side.
The coordinate transformation is defined as follows:
U refab U refbc U refca U 1 U 2 U 3 = 2 3 2 3 0 0 2 3 2 3 2 3 0 2 3 2 3 3 2 3 3 4 3 3 4 3 3 2 3 3 2 3 3 2 3 3 4 3 3 2 3 3 × U a U b U c
where U refab , U refbc , and U refca are the three coordinates under the line voltage coordinate system. U 1 , U 2 , and U 3 are the three auxiliary quantities, which are used to calculate d 1 in Figure 6.
Set U ref ( U refab , U refbc , U refca ) rounding down:
U refab ̲ = floor ( U refab ) U refbc ̲ = floor ( U refbc ) U refca ̲ = floor ( U refca )
If U refab ̲ + U refbc ̲ + U refca ̲ = 1 , we can calculate:
U M ( 1.5 U refab ̲ + 0.5 , 1.5 U refbc ̲ + 0.5 , 1.5 U refca ̲ + 0.5 )
U M is the medium vector in the basic vector. Then calculate U ref and U .
U ref = U ref ̲ U = U 1 U 2 U 3 × U ref
where U ref is the direction vector, multiplied by the vector composed of U 1 , U 2 , U 3 to get the distance from the reference vector to the right-angled side, and U is the distance from the reference vector to the right angle edge.
The coordinates of the large vector can be obtained as:
U L = 0 1 2 1 2 1 2 0 1 2 1 2 1 2 0 × U ref × s i g n ( U ) + U M
The action time of each vector is:
t L = U 3 t z = [ U refab ̲ U refab U refbc ̲ U refbc U refca ̲ U refca ] × U refab ̲ U refbc ̲ U refca ̲ t M = 1 t L t z
where T L T S = t L , T Z T S = t Z , T M T S = t M .
If U refab ̲ + U refbc ̲ + U refca ̲ 1 , we can calculate:
U M ( 1.5 U refab ̲ + 1 , 1.5 U refbc ̲ + 1 , 1.5 U refca ̲ + 1 )
Define U ref ̲ ( U refab ̲ + 1 , U refbc ̲ + 1 , U refca ̲ + 1 ) , the U ref and U can be obtained in the same way.
U ref = U ref ̲ U = U 1 U 2 U 3 × U ref
The action time of each vector is:
t L = U 3 t z = [ U refab ̲ U refab U refbc ̲ U refbc U refca ̲ U refca ] × U refab ̲ U refbc ̲ U refca ̲ t M = 1 t L t z

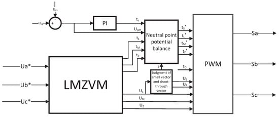
4. Control Strategy

The control strategy is shown in Figure 7. In Figure 7, U a * , U b * , and U c * represent the target voltage, U L , U M , U Z , U S , and U F represent large, medium, zero, small, and shoot-through vectors, U C 2 and U C 3 represent the voltage of capacitors of Figure 1 U diff = U C 2 U C 3 .
The controller balances the neutral point potential by synthesizing small vectors. If I U diff > 0 , the neutral point potential balance module will be used, and the action time of each vector are recalculated as follows:
t L = t L t S 2 t z = t z t S 2 t M = 1 t L t z t s = t s
I represents the neutral point current generated by a small vector, and the details are shown in Table 4.

5. Simulation and Experiment

The circuit parameters of the inverter are listed in Table 5.
In order to ensure the normal operation of the quasi-Z-source network, the inductance ripple current amplitude should be limited to 30% of the current amplitude, and the capacitance ripple voltage amplitude should be limited to 1% of the voltage amplitude.
The expression of inductance ripple current is:
K L = 2 × ( 1 D ) × D × U d c 2 2 × T ( 1 2 D ) × L × P o u t
where K L = Δ i I , D m a x = 0.1 , and T means modulation period. By substituting system parameters into Equation (20) and letting K L 30 % , one can obtain L 1.355 mH, the value of inductance can be selected as L 1 = 1.5 mH.
The expression of capacitor ripple voltage is:
K C 1 = ( 1 2 D ) × P o u t × T 2 × U d c 2 2 × C 1
K C 2 = ( 1 D ) × D × P o u t × T 2 × ( 1 2 D ) × U d c 2 2 × C 1
where K C 1 = Δ u C 1 U C 1 , K C 2 = Δ u C 2 U C 2 . Let K C 1 % , one can obtain C 1 1384 μ F and C 2 195 μ F. The value of capacitor can be selected as C 1 = C 4 = 2000 μ F and C 2 = C 3 = 1000 μ F.
When designing the filter parameters, the voltage drop generated by the filter is less than 5% of the output voltage:
U f i l t e r U o u t = 1 ( s L m + R ) [ 1 + ( L g + L m ) C s 2 + C R s ] L ( L g + L m ) C s 3 + L C R s 2 + ( C R + L + L g + L m ) s + R
when f = 50 Hz, s C 0.005 . In approximate calculation, s C can be regarded as a very small number. In order to meet the condition U f i l t e r U o u t 5 % , one can obtain L + L g 8.619 mH. The value of inductance can be selected as L = 2 mH, L g = 0.4 mH.
The resonance frequency should to be in a range between ten times the fundamental frequency and one-half of the switching frequency:
500 1 2 π L + L g + L m L × ( L g + L m ) × C 0.5 f s
one can obtain 4.34 μ F C 69.42 μ F. The value of capacitor can be selected as C = 5 μ F.
Figure 8, Figure 9 and Figure 10 show the action time of each vector under the conditions of normal modulation, over modulation, and three-phase voltage imbalance in the line voltage coordinate system. It can be seen in Figure 8 that the longest action time proportion k of the large vector and medium vector is 0.7 and 0.8, which is consistent with the theoretical values T L T S = 0.7 1 and T M T S = 0.7 3 2 when m = 0.7 . In Figure 9 and Figure 10, under the condition of overmodulation ratio ( m = 0.9 ) and three-phase unbalance ( m a = m b = 0.9 and m c = 0.7 ), the modulation method also works well.
The computing times of the proposed method and the traditional α β coordinate system are shown in Table 6. It can be seen from the table that the calculation time of the methods proposed in this paper is less than that of the traditional methods.
Figure 11, Figure 12 and Figure 13 are the steady-state current waveforms under three operating conditions.
The calculation process of the theoretical value of the steady-state current is as follows:
According to the structure diagram, the transfer function is:
I U = 1 + ( L g + L m ) C s 2 + C R s L ( L g + L m ) C s 3 + L C R s 2 + ( C R + L + L g + L m ) s + R
Substitute the parameters into Equation (25), the relationship between voltage and current is:
I = U 12.0606 + 2.121 j
when the modulation ratio m = 0.6 and the duty ratio D = 0 , I = 11 . 1060 A ; when m = 0.6 , D = 0.1 , I = 13 . 8825 A ; when m = 0.75 , D = 0.1 , I = 17 . 3531 A , where I is the peak current.
Figure 14 shows the output current waveform with the duty cycle and modulation ratio varied. When t < 0.2 , m = 0.6 , D = 0 ; when 0.2 < t < 0.4 , m = 0.6 , D = 0.1 ; when t > 0.4 , m = 0.75 , D = 0.1 . It can be observed that the current has good dynamic performance and fast response speed.
Taking m = 0.75 , D = 0 , U C 2 = 248 v , and U C 3 = 108 V , the voltage waveform of the C 2 and C 3 capacitors are shown as in Figure 15. It can be observed that the voltage of the capacitor has reached potential balance quickly.
Figure 16, Figure 17, Figure 18 and Figure 19 show the amount of THD when m = 0.6 , D = 0.1 , and m = 0.75 , D = 0.1 . It can be seen from Figure 18 and Figure 19 that the THD values of current generated by LMZVM in line voltage coordinate system are 0.69% and 1.20%. The THD values of current generated by LMZVM in traditional coordinate system are 1.58% and 1.74% according to Figure 16 and Figure 17. It is obvious that LMZVM performs better in the line voltage coordinate system.
The photograph of the experimental setup is depicted in Figure 20, and the parameters for experiment are listed in Table 7. Figure 21, Figure 22, Figure 23, Figure 24 and Figure 25 show the experimental results. The rated power of the inverter is 4 kW. IGBT module F3L25R12W1T4B is selected for the switch tube and the switch tube driver chip adopts 2ED020I12-F2. The sampling frequency is 10 kHz.
Figure 21, Figure 22 and Figure 23 show the steady-state current values under different conditions. Figure 24 shows the dynamic performance of the current and Figure 25 shows the effect of the neutral point potential balance strategy. The experimental results are consistent with the simulation results.

6. Conclusions

This paper proposed an LMZVM for a quasi-z-source T-type three-level inverter in the line voltage coordinate system. Three auxiliary coordinates are added to calculate the distance from the right angle side to the reference vector.
The line voltage coordinate system can avoid trigonometric function calculation, so as to achieve the effect of improving the calculation accuracy and reducing the computing time.
Compared with the traditional LMZVM algorithm calculation scheme, the modulation strategy in the line voltage coordinate system can save 10% of the calculation time, and the THD value of output current decreases by more than 20%, the proposed modulation scheme also has the ability to balance the neutral point voltage.
Simulations and experiments show the same performances to prove that the modulation strategy can work well. The advantages of the proposed method are its simple structure, short calculation time, and it is easier to achieve.
The modulation strategy can affect the performance of generators, electric vehicles, and photovoltaic power generation by affecting the performance of inverters. This modulation strategy can be applied to any three-level inverters.

Author Contributions

Project administration, L.X.; writing—original draft preparation, J.Y. All authors have read and agreed to the published version of the manuscript.

Funding

This research received no external funding.

Conflicts of Interest

The authors declare no conflict of interest.

References

  1. Zhai, L.; Zhang, X.; Bondarenko, N.; Loken, D.; Van Doren, T.P.; Beetner, D.G. Mitigation emission strategy based on resonances from a power inverter system in electric vehicles. Energies 2016, 6, 419. [Google Scholar] [CrossRef] [Green Version]
  2. Sheir, A.; Youssef, M.Z.; Orabi, M. ANovel, Bidirectional, T-Type, Multilevel, Inverter, for, Electric, Vehicle, Applications. IEEE Trans. Power Electron 2019, 34, 6648. [Google Scholar] [CrossRef]
  3. Chen, Y.; Xu, D.G.M. Review of Soft-Switching Topologies for Single-Phase Photovoltaic Inverters. IEEE Trans. Power Electron. 2022, 37, 1926. [Google Scholar] [CrossRef]
  4. Szular, Z.; Rozegnal, B.; Mazgaj, W. A New Soft-Switching Solution in Three-Level Neutral-Point-Clamped Voltage Source Inverters. Energies 2021, 8, 2247. [Google Scholar] [CrossRef]
  5. Kou, B.; Zhang, H.; Zhang, H. A high-precision control for a ZVT PWM soft-switching inverter to eliminate the dead-time effect. Energies 2016, 8, 579. [Google Scholar] [CrossRef] [Green Version]
  6. Guo, L.; Jin, N.; Gan, C.; Xu, L.; Wang, Q. An Improved Model Predictive Control Strategy to Reduce Common-Mode Voltage for Two-Level Voltage Source Inverters Considering Dead-Time Effects. IEEE Trans. Ind. Electron. 2019, 66, 3561. [Google Scholar] [CrossRef]
  7. Fang, Z.P. Z-source inverter. IEEE Trans. Ind. Appl. 2003, 39, 504. [Google Scholar] [CrossRef]
  8. Anderson, J.; Peng, F.Z. Four quasi-Z-Source inverters. In Proceedings of the 2008 IEEE Power Electronics Specialists Conference, Rhodes, Greece, 15–19 June 2008; p. 2743. [Google Scholar] [CrossRef]
  9. Pires, V.F.; Cordeiro, A.; Foito, D.; Martins, J.F. Quasi-Z-Source Inverter With a T-Type Converter in Normal and Failure Mode. IEEE Trans. Power Electron. 2016, 31, 7462. [Google Scholar] [CrossRef]
  10. Zhang, Y.; Gao, S.; Jing, S.; Huang, X. Soft-Switching Operation with a Variable Switching Frequency Control for Switched-Quasi-Z-Source Bidirectional DC-DC Converter in EVs. IEEE Trans. Ind. Electron. 2022. [Google Scholar] [CrossRef]
  11. Xu, Y.; He, Y.; Li, H.; Xiao, H. Model Predictive Control Using Joint Voltage Vector for Quasi-Z-Source Inverter With Ability of Suppressing Current Ripple. IEEE Trans. Emerg. Sel. Topics Power Electron. 2022, 10, 1108–1124. [Google Scholar] [CrossRef]
  12. Barrero-González, F.; Roncero-Clemente, C.; Gutiérrez-Escalona, J.; Milanés-Montero, M.I.; González-Romera, E.; Romero-Cadaval, E. Three-Level T-Type Quasi-Z Source PV Grid-Tied Inverter With Active Power Filter Functionality Under Distorted Grid Voltage. IEEE Access 2022, 10, 44503. [Google Scholar] [CrossRef]
  13. Roncero-Clemente, C.; Romero-Cadaval, E.; Ruiz-Cortés, M.; Husev, O. Carrier Level-Shifted Based Control Method for the PWM 3L-T-Type qZS Inverter With Capacitor Imbalance Compensation. IEEE Trans. Ind. Electron. 2018, 65, 8297. [Google Scholar] [CrossRef]
  14. Mohammadi, M.; Moghani, J.S.; Milimonfared, J. A Novel Dual Switching Frequency Modulation for Z-Source and Quasi-Z-Source Inverters. IEEE Trans. Ind. Electron. 2018, 65, 5167. [Google Scholar] [CrossRef]
  15. Wang, T.; Wang, X.; He, Y.; Chen, X.; Ruan, X.; Zhang, Z. An Improved Quasi-Z-Source Three-Level T-Type Inverter and Its Modulation Scheme. In Proceedings of the 2020 IEEE Applied Power Electronics Conference and Exposition (APEC 2020), New Orleans, LA, USA, 15–19 March 2020; p. 412. [Google Scholar] [CrossRef]
  16. Lee, J.; Lee, K. New Modulation Techniques for a Leakage Current Reduction and a Neutral-Point Voltage Balance in Transformerless Photovoltaic Systems Using a Three-Level Inverter. IEEE Trans. Power Electron. 2014, 29, 1720. [Google Scholar] [CrossRef]
  17. Qin, C.; Zhang, C.; Chen, A.; Xing, X.; Zhang, G. A Space Vector Modulation Scheme of the Quasi-Z-Source Three-Level T-Type Inverter for Common-Mode Voltage Reduction. IEEE Trans. Ind. Electron. 2018, 65, 8340. [Google Scholar] [CrossRef]
  18. Mayorga, N.; Roncero-Clemente, C.; Llor, A.M.; Husev, O. A Simple Space Vector Modulation Method With DC-Link Voltage Balancing and Reduced Common-Mode Voltage Strategy for a Three-Level T-Type Quasi-Z Source Inverter. IEEE Access 2021, 9, 82747. [Google Scholar] [CrossRef]
  19. Sonar, S.; Singh, S. Improved Space Vector PWM Techniques of the Three level ZSI. In Proceedings of the 2019 International Conference on Computing, Power and Communication Technologies (GUCON 2019), New Delhi, India, 27–28 September 2019; p. 508. [Google Scholar]
  20. Qin, C.; Tung, Y.C. Simultaneous Common-Mode Voltage Reduction and Neutral-Point Voltage Balance Scheme for the Quasi-Z-Source Three-Level T-Type Inverter. IEEE Trans. Ind. Electron. 2020, 67, 1956. [Google Scholar] [CrossRef]
  21. Singh, S.; Sonar, S. Improved Maximum Boost Control and Reduced Common-Mode Voltage Switching Patterns of Three-Level Z-Source Inverter. IEEE Trans. Power Electron. 2021, 36, 6557. [Google Scholar] [CrossRef]
  22. Attique, Q.M.; Li, Y.; Wang, K. A survey on space-vector pulse width modulation for multilevel inverters. CPSS Trans. Power Electron. Appl. 2017, 2, 226. [Google Scholar] [CrossRef]
  23. Liu, Z.; Wang, Y.; Tan, G.; Li, H.; Zhang, Y. A Novel SVPWM Algorithm for Five-Level Active Neutral-Point-Clamped Converter. IEEE Trans. Power Electron. 2016, 31, 3859. [Google Scholar] [CrossRef]
  24. Zhang, J.; Wai, R.J. Design of New SVPWM Mechanism for Three-Level NPC ZSI via Line-Voltage Coordinate System. IEEE Trans. Power Electron. 2020, 35, 8593. [Google Scholar] [CrossRef]
Figure 1. The structure of the quasi-Z-source three-level inverter with LCL filter.
Figure 1. The structure of the quasi-Z-source three-level inverter with LCL filter.
Electronics 11 02203 g001
Figure 2. Space vector diagram of LMZVM.
Figure 2. Space vector diagram of LMZVM.
Electronics 11 02203 g002
Figure 3. Process of vector synthesis.
Figure 3. Process of vector synthesis.
Electronics 11 02203 g003
Figure 4. Triangle of class A.
Figure 4. Triangle of class A.
Electronics 11 02203 g004
Figure 5. Triangle of class B.
Figure 5. Triangle of class B.
Electronics 11 02203 g005
Figure 6. The coordinate system of LMZVM after adding three coordinate axes.
Figure 6. The coordinate system of LMZVM after adding three coordinate axes.
Electronics 11 02203 g006
Figure 7. Control strategy of inverter.
Figure 7. Control strategy of inverter.
Electronics 11 02203 g007
Figure 8. Action time of each vector when m = 0.7 .
Figure 8. Action time of each vector when m = 0.7 .
Electronics 11 02203 g008
Figure 9. Action time of each vector when m = 0.9 .
Figure 9. Action time of each vector when m = 0.9 .
Electronics 11 02203 g009
Figure 10. Action time of each vector when m a = m b = 0.7 and m c = 0.9 .
Figure 10. Action time of each vector when m a = m b = 0.7 and m c = 0.9 .
Electronics 11 02203 g010
Figure 11. Steady-state current waveform when m = 0.6 , D = 0 .
Figure 11. Steady-state current waveform when m = 0.6 , D = 0 .
Electronics 11 02203 g011
Figure 12. Steady-state current waveform when m = 0.6 , D = 0.1 .
Figure 12. Steady-state current waveform when m = 0.6 , D = 0.1 .
Electronics 11 02203 g012
Figure 13. Steady-state current waveform when m = 0.75 , D = 0.1 .
Figure 13. Steady-state current waveform when m = 0.75 , D = 0.1 .
Electronics 11 02203 g013
Figure 14. Output current waveform when duty cycle and modulation ratio change.
Figure 14. Output current waveform when duty cycle and modulation ratio change.
Electronics 11 02203 g014
Figure 15. Voltage waveform of upper and lower capacitors under neutral point voltage control.
Figure 15. Voltage waveform of upper and lower capacitors under neutral point voltage control.
Electronics 11 02203 g015
Figure 16. The amount of THD in traditional coordinate when m = 0.75 , D = 0.1 .
Figure 16. The amount of THD in traditional coordinate when m = 0.75 , D = 0.1 .
Electronics 11 02203 g016
Figure 17. The amount of THD in traditional coordinate when m = 0.6 , D = 0.1 .
Figure 17. The amount of THD in traditional coordinate when m = 0.6 , D = 0.1 .
Electronics 11 02203 g017
Figure 18. The amount of THD in line voltage coordinate when m = 0.75 , D = 0.1 .
Figure 18. The amount of THD in line voltage coordinate when m = 0.75 , D = 0.1 .
Electronics 11 02203 g018
Figure 19. The amount of THD in line voltage coordinate when m = 0.6 , D = 0.1 .
Figure 19. The amount of THD in line voltage coordinate when m = 0.6 , D = 0.1 .
Electronics 11 02203 g019
Figure 20. Photograph of experimental setup.
Figure 20. Photograph of experimental setup.
Electronics 11 02203 g020
Figure 21. Steady-state current waveform when m = 0.6 , D = 0 .
Figure 21. Steady-state current waveform when m = 0.6 , D = 0 .
Electronics 11 02203 g021
Figure 22. Steady-state current waveform when m = 0.6 , D = 0.1 .
Figure 22. Steady-state current waveform when m = 0.6 , D = 0.1 .
Electronics 11 02203 g022
Figure 23. Steady-state current waveform when m = 0.75 , D = 0.1 .
Figure 23. Steady-state current waveform when m = 0.75 , D = 0.1 .
Electronics 11 02203 g023
Figure 24. Output current waveform when duty cycle and modulation ratio change.
Figure 24. Output current waveform when duty cycle and modulation ratio change.
Electronics 11 02203 g024
Figure 25. Voltage waveform of upper and lower capacitors under neutral point voltage control.
Figure 25. Voltage waveform of upper and lower capacitors under neutral point voltage control.
Electronics 11 02203 g025
Table 1. Switching state and output voltage (X = A, B, or C).
Table 1. Switching state and output voltage (X = A, B, or C).
State of OperationTurn-On SwitchsOutput Voltage
P S X 1 , S X 2 + U d c _ l i n k / 2
O S X 2 , S X 3 0
N S X 3 , S X 4 U d c _ l i n k / 2
F S X 1 , S X 2 , S X 3 , S X 4 0
Table 2. The corresponding relationship between vector and common-mode voltage.
Table 2. The corresponding relationship between vector and common-mode voltage.
VectorStateUcmStateUcmState U cm
Shoot-through vectorOOF0OFO0OOF0
P-type smallPOO U d c / 6 PPO U d c / 3 POP U d c / 3
vectorOPP U d c / 3 OOP U d c / 6 OPO U d c / 6
N-type smallONN U d c / 3 OON U d c / 6 NON U d c / 3
vectorNOO U d c / 6 NNO U d c / 3 ONO U d c / 3
MediumPON0PNO0NPO0
vectorNOP0OPN0ONP0
LargePNN U d c / 6 PPN U d c / 6 PNP U d c / 6
vectorNPP U d c / 6 NNP U d c / 6 NPN U d c / 6
Table 3. The switching sequence of LMZVM.
Table 3. The switching sequence of LMZVM.
SectorSwitching Sequence
1 [ O O O ] [ O O F ] [ P O N ] [ P N N ] [ P O N ] [ O O F ] [ O O O ]
2 [ O O O ] [ F O O ] [ P O N ] [ P P N ] [ P O N ] [ F O O ] [ O O O ]
3 [ O O O ] [ O F O ] [ O P N ] [ P P N ] [ O P N ] [ O F O ] [ O O O ]
4 [ O O O ] [ O O F ] [ O P N ] [ N P N ] [ O P N ] [ O O F ] [ O O O ]
5 [ O O O ] [ F O O ] [ N P O ] [ N P N ] [ N P O ] [ F O O ] [ O O O ]
6 [ O O O ] [ O F O ] [ N P O ] [ N P P ] [ N P O ] [ O F O ] [ O O O ]
7 [ O O O ] [ O O F ] [ N O P ] [ N P P ] [ N O P ] [ O O F ] [ O O O ]
8 [ O O O ] [ F O O ] [ N O P ] [ N N P ] [ N O P ] [ F O O ] [ O O O ]
9 [ O O O ] [ O F O ] [ O N P ] [ N N P ] [ O N P ] [ O F O ] [ O O O ]
10 [ O O O ] [ O O F ] [ O N P ] [ P N P ] [ O N P ] [ O O F ] [ O O O ]
11 [ O O O ] [ F O O ] [ P N O ] [ P N P ] [ P N O ] [ F O O ] [ O O O ]
12 [ O O O ] [ O F O ] [ P N O ] [ P N N ] [ P N O ] [ O F O ] [ O O O ]
Table 4. Details of neutral point voltage control in each sector.
Table 4. Details of neutral point voltage control in each sector.
SectorSmall VectorNeutral Point CurrentJudgment Condition
1POO I a I a U diff > 0
2OON I c I c U diff > 0
3OON I c I c U diff > 0
4OPO I b I b U diff > 0
5OPO I b I b U diff > 0
6NOO I a I a U diff > 0
7NOO I a I a U diff > 0
8OOP I c I c U diff > 0
9OOP I c I c U diff > 0
10ONO I b I b U diff > 0
11ONO I b I b U diff > 0
12POO I a I a U diff > 0
Table 5. Parameters for simulation.
Table 5. Parameters for simulation.
Circuit ComponentsValues
U d c 340 V
C 1 , C 4 2000 μ F
C 2 , C 3 1000 μ F
L 1 , L 2 , L 3 , L 4 1.5 mH
L2 mH
L g 0.4 mH
C5 μ F
L m 5 mH
R12 Ω
f s 4 kHz
Table 6. Computing time.
Table 6. Computing time.
Operational ConditionLine Voltage Coordinate SystemTraditional α β Coordinate System
m = 0.70.0577 s0.0680 s
m = 0.90.0608 s0.0697 s
m a = m b = 0.9, m c = 0.70.0587 s0.0683 s
Table 7. Parameters for experiment.
Table 7. Parameters for experiment.
Circuit ComponentsValues
U d c 340 V
C 1 , C 4 2200 μ F
C 2 , C 3 1000 μ F
L 1 , L 2 , L 3 , L 4 1.5 mH
L2 mH
L g 0.4 mH
C5 μ F
L L o a d 4.7 mH
R12 Ω
f s 4 kHz
f s a 10 kHz
where fs means switching frequency and fsa means sampling frequency.
Publisher’s Note: MDPI stays neutral with regard to jurisdictional claims in published maps and institutional affiliations.

Share and Cite

MDPI and ACS Style

Xie, L.; Yao, J. Common-Mode Voltage Reduction and Neutral Point Voltage Balance Modulation Technology of Quasi-Z-Source T-Type Three-Level Inverter. Electronics 2022, 11, 2203. https://doi.org/10.3390/electronics11142203

AMA Style

Xie L, Yao J. Common-Mode Voltage Reduction and Neutral Point Voltage Balance Modulation Technology of Quasi-Z-Source T-Type Three-Level Inverter. Electronics. 2022; 11(14):2203. https://doi.org/10.3390/electronics11142203

Chicago/Turabian Style

Xie, Lingling, and Junyi Yao. 2022. "Common-Mode Voltage Reduction and Neutral Point Voltage Balance Modulation Technology of Quasi-Z-Source T-Type Three-Level Inverter" Electronics 11, no. 14: 2203. https://doi.org/10.3390/electronics11142203

APA Style

Xie, L., & Yao, J. (2022). Common-Mode Voltage Reduction and Neutral Point Voltage Balance Modulation Technology of Quasi-Z-Source T-Type Three-Level Inverter. Electronics, 11(14), 2203. https://doi.org/10.3390/electronics11142203

Note that from the first issue of 2016, this journal uses article numbers instead of page numbers. See further details here.

Article Metrics

Back to TopTop