Compact Galvanically Isolated Architectures for Low-Power DC-DC Converters with Data Transmission
Abstract
:1. Introduction
2. Compact Architectures for Highly Integrated Isolated DC-DC Converters
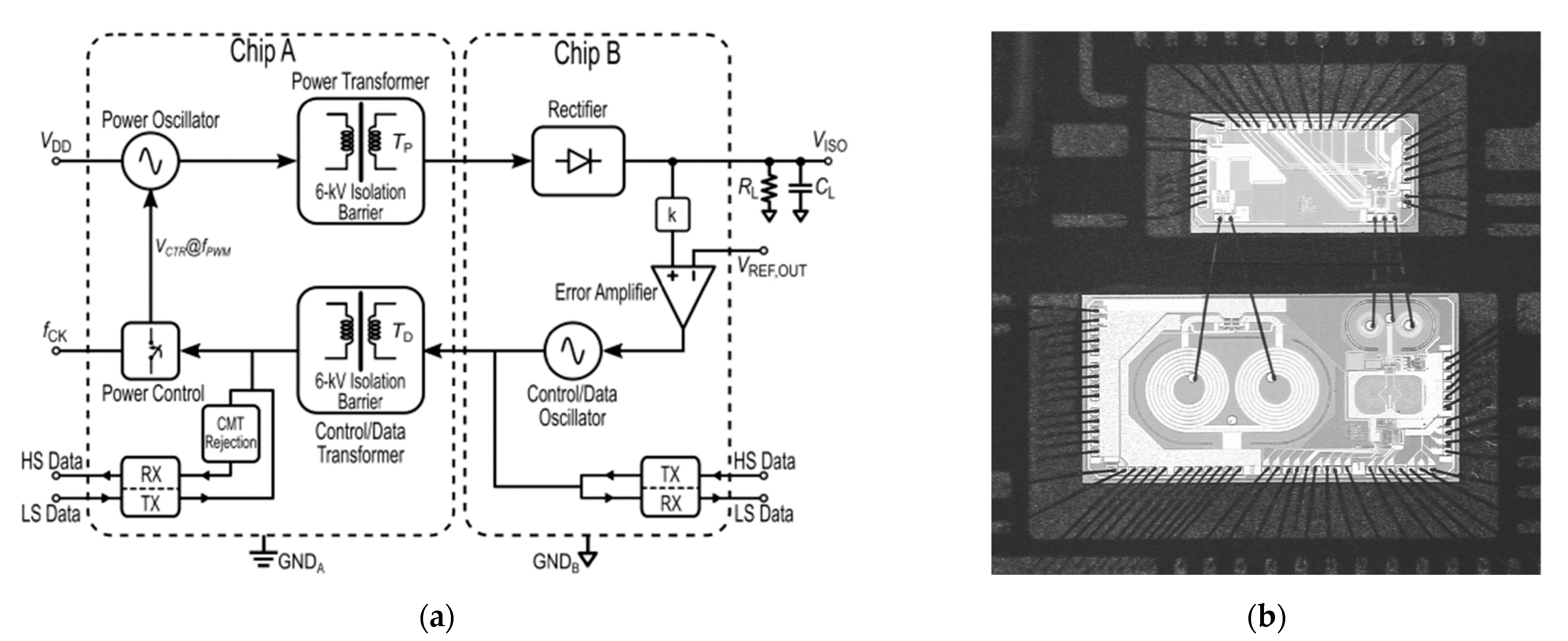
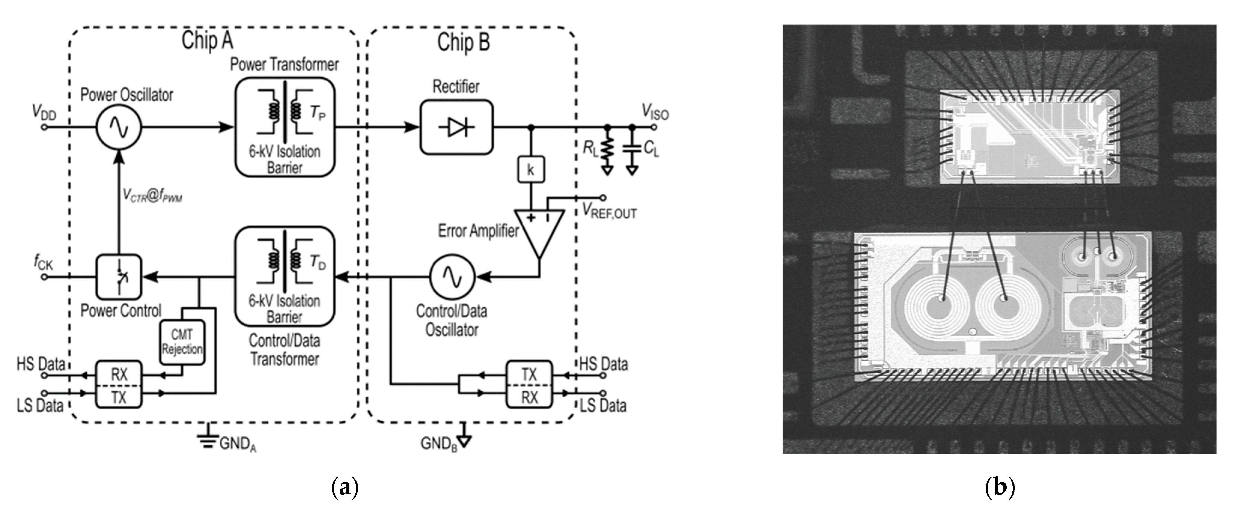
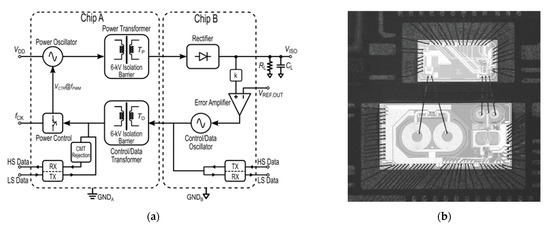
2.1. Triple Transformer Architecture for Low-Power Isolated ADC
2.2. Double Transformer Architecture for Low-Power Isolated ADC
2.3. Single Transformer Architectures for Low-Power Isolated ADC
2.4. Compact Architectures for Isolated Half-Bridge GDs
- Power link for GD/diagnostic circuit power supply (left to right);
- Data link for power regulation (right to left);
- Data link for GD PWM (left to right);
- Data link for configuration (left to right);
- Data link for monitoring (right to left).
3. Architecture Comparison for Low-Power Isolated ADC
4. Conclusions
Author Contributions
Funding
Data Availability Statement
Acknowledgments
Conflicts of Interest
References
- Ragonese, E.; Parisi, A.; Spina, N.; Palmisano, G. Fully integrated galvanically isolated dc-dc converters based on inductive coupling. In Applications in Electronics Pervading Industry, Environment and Society ApplePies 2018 Lecture Notes in Electrical Engineering; Springer International Publishing: Cham, Switzerland, 2019; Volume 550, pp. 335–341. [Google Scholar]
- Ziegler, S.; Woodward, R.C.; Iu, H.H.-C.; Borle, L.J. Current sensing techniques: A review. IEEE Sens. J. 2009, 9, 354–376. [Google Scholar] [CrossRef]
- Tan, Z.; Mueck, M.; Du, X.H.; Getzin, L.; Guidry, M.; Zhao, F.; Chen, B. A fully isolated delta-sigma ADC for shunt based current sensing. In Proceedings of the IEEE Asian Solid-State Circuits Conference (A-SSCC), Xiamen, China, 9–11 November 2015; pp. 1–4. [Google Scholar]
- Ma, S.; Feng, J.; Zhao, T.; Chen, B. A Fully isolated amplifier based on charge-balanced SAR converters. IEEE Trans. Circ. Syst. I Regul. Pap. 2018, 65, 1795–1804. [Google Scholar] [CrossRef]
- Schnell, R. Powering the Isolated Side of Your Half-Bridge Configuration. Analog Devices. Available online: http://www.analog.com/media/en/technical-documentation/technicalarticles/Powering-the-Isolated-Side-of-Your-Half-Bridge-ConfigurationMS-2663-1.pdf (accessed on 20 August 2021).
- Chen, B. Isolated half-bridge gate driver with integrated high-side supply. In Proceedings of the 2008 IEEE Power Electronics Specialists Conference, Rhodes, Greece, 15–19 June 2008; pp. 3615–3618. [Google Scholar]
- Ma, S.; Zhao, T.; Chen, B. 4A isolated half-bridge gate driver with 4.5V to 18V output drive voltage. In Proceedings of the 2014 IEEE Applied Power Electronics Conference and Exposition, Fort Worth, TX, USA, 16–20 March 2014; pp. 1490–1493. [Google Scholar]
- Chen, B. Compact and reliable isolated DC/DC and sic gate driver for automotive application. In Proceedings of the International Exhibition and Conference for Power Electronics, Intelligent Motion, Renewable Energy and Energy Management, PCIM Asia, Shanghai, China, 16–18 November 2020; pp. 335–337. [Google Scholar]
- Chen, B. High Frequency Power Converter Based on Transformers. U.S. Patent 7983059B2, 19 July 2011. [Google Scholar]
- Chen, B. Fully integrated isolated dc-dc converter using microtransformers. In Proceedings of the IEEE Applied Power Electronics Conference and Exposition, Austin, TX, USA, 24–28 February 2008; pp. 335–338. [Google Scholar]
- Fiore, V.; Ragonese, E.; Palmisano, G. A fully-integrated watt-level power transfer system with on-chip galvanic isolation in silicon technology. IEEE Trans. Power Electron. 2017, 32, 1984–1995. [Google Scholar] [CrossRef]
- Greco, N.; Parisi, A.; Lombardo, P.; Spina, N.; Ragonese, E.; Palmisano, G. A double-isolated DC-DC converter based on integrated LC resonant barriers. IEEE Trans. Circuits Syst. I Regul. Pap. 2018, 65, 4423–4433. [Google Scholar] [CrossRef]
- Ragonese, E.; Spina, N.; Parisi, A.; Palmisano, G. An experimental comparison of galvanically isolated DC-DC converters: Isolation technology and integration approach. Electronics 2021, 10, 1186. [Google Scholar] [CrossRef]
- Qin, W.; Yang, X.; Ma, S.; Liu, F.; Zhao, Y.; Zhao, T.; Chen, B. An 800 mW fully integrated galvanic isolated power transfer system meeting CISPR 22 Class-B emission levels with 6 dB margin. In Proceedings of the IEEE International Solid- State Circuits Conference, San Francisco, CA, USA, 17–21 February 2019; pp. 246–248. [Google Scholar]
- Yun, R.; Sun, J.; Gaalaas, E.; Chen, B. A transformer-based digital isolator with 20kVPK surge capability and >200kV/µS common mode transient immunity. In Proceedings of the IEEE Symposium on VLSI Circuits, Honolulu, HI, USA, 5–17 June 2016; pp. 1–2. [Google Scholar]
- Devices-Magnetic, D.V.S. DIN VDE Semiconductor Devices-Magnetic and Capacitive Coupler for Basic and Reinforced Isolation; VDE Verlag VDE V 0884-11: Berlin, Germany, 1 January 2017. [Google Scholar]
- Ragonese, E.; Palmisano, G.; Parisi, A.; Spina, N. Highly integrated galvanically isolated systems for data/power transfer. In Proceedings of the IEEE International Conference on Electronics, Circuits and Systems (ICECS), Genoa, Italy, 27–29 November 2019; pp. 518–521. [Google Scholar]
- Texas Instruments. ISOW7741 5000-VRMS Reinforced Quad-Channel Digital Isolator with Integrated Low Emissions, Low-Noise DC-DC Converter. Available online: https://www.ti.com/product/ISOW7741 (accessed on 4 July 2021).
- Analog Devices. ADuM6201–Dual-Channel, 5 kV Isolators with integrated DC-to-DC Converter. Available online: https://www.analog.com/en/products/adum6201.html (accessed on 4 July 2021).
- Tan, Z.; Mueck, M.; Du, X.H.; Getzin, L.; Guidry, M.; Keating, S.; Xing, X.; Zhao, F.; Chen, B. A fully isolated delta-sigma ADC for shunt based current sensing. IEEE J. Solid-State Circ. 2016, 51, 2232–2240. [Google Scholar] [CrossRef]
- Lombardo, P.; Fiore, V.; Ragonese, E.; Palmisano, G. A fully-integrated half-duplex data/power transfer system with up to 40Mbps data rate, 23mW output power and on-chip 5kV galvanic isolation. In Proceedings of the IEEE International Solid-State Circuits Conference, San Francisco, CA, USA, 31 January–4 February 2016; pp. 300–301. [Google Scholar]
- Ragonese, E.; Spina, N.; Castorina, A.; Lombardo, P.; Greco, N.; Parisi, A.; Palmisano, G. A fully integrated galvanically isolated DC-DC converter with data communication. IEEE Trans. Circ. Syst. I Regul. Pap. 2018, 65, 1432–1441. [Google Scholar] [CrossRef]
- Parisi, A.; Ragonese, E.; Spina, N.; Palmisano, G. Galvanically isolated DC-DC converter using a single isolation transformer for multi-channel communication. IEEE Trans. Circ. Syst. I Regul. Pap. 2020, 67, 4434–4444. [Google Scholar] [CrossRef]
- Ragonese, E.; Spina, N.; Lombardo, P.; Greco, N.; Parisi, A.; Palmisano, G. Galvanically Isolated DC-DC Converter with Bidirectional Data Transmission. U.S. Patent 9948193B2, 17 April 2018. [Google Scholar]
- Ragonese, E.; Fiore, V.; Spina, N.; Lombardo, P.; Palmisano, G. Power Oscillator Apparatus with Transformer-Based Power Combining for Galvanically Isolated Bidirectional Data Communication and Power Transfer. U.S. Patent 9306614B2, 5 April 2016. [Google Scholar]
- Parisi, A.; Greco, N.; Spina, N.; Ragonese, E.; Palmisano, G. A Galvanically Isolated dc-dc Circuit Converter, with Data Communication, Corresponding System and Corresponding Method. U.S. Patent 10637360B2, 28 April 2020. [Google Scholar]
- Greco, N.; Parisi, A.; Spina, N.; Ragonese, E.; Palmisano, G. Scalable lumped models of integrated transformers for galvanically isolated power transfer systems. Integration 2018, 63, 323–331. [Google Scholar] [CrossRef]
- Greco, N.; Spina, N.; Fiore, V.; Ragonese, E.; Palmisano, G. A galvanically isolated dc-dc converter based on current-reuse hybrid-coupled oscillators. IEEE Trans. Circ. Syst. II Express Brief 2017, 64, 56–60. [Google Scholar] [CrossRef]
- Li, L.; Fang, X.; Wu, R. An 11MHz fully integrated 5kV isolated DC-DC converter without cross-isolation-barrier feedback. In Proceedings of the IEEE International Solid- State Circuits Conference, San Francisco, CA, USA, 16–20 February 2020; pp. 292–294. [Google Scholar]
- Tianting, Z.; Yue, Z.; Baoxing, C. An isolated DC-DC converter with fully integrated magnetic core transformer. In Proceedings of the IEEE Custom Integrated Circuits Conference (CICC), Austin, TX, USA, 30 April–3 May 2017; pp. 1–4. [Google Scholar]
- Zhuo, Y.; Ma, S.; Zhao, T.; Qin, W.; Zhao, Y.; Guo, Y.; Yan, H.; Chen, B. A 52% peak efficiency >1-W isolated power transfer system using fully integrated transformer with magnetic core. IEEE J. Solid State Circ. 2019, 54, 3326–3335. [Google Scholar] [CrossRef]
- Pan, D.; Li, G.; Miao, F.; Deng, B.; Wei, J.; Yu, D.; Liu, M.; Cheng, L. A 1.25W 46.5%-Peak-Efficiency Transformer-in-Package Isolated DC-DC Converter Using Glass-Based Fan-Out Wafer-Level Packaging Achieving 50 mW/mm2 Power Density. In Proceedings of the IEEE International Solid-State Circuits Conference, San Francisco, CA, USA, 13–22 February 2021; pp. 468–470. [Google Scholar]
- Analog Devices. ADuM4221– Isolated, Half Bridge Gate Driver with Adjustable Dead Time, Dual Input, 4 A Output. Available online: https://www.analog.com/en/products/adum4221.html#product-overview (accessed on 26 August 2021).
- TI. Isolated Gate Drivers. Available online: https://www.ti.com/power-management/gate-drivers/isolated-gate-drivers/overview.html (accessed on 29 August 2021).
- Mukherjee, S.; Bhat, A.N.; Shrivastava, K.A.; Bonu, M.; Sutton, B.; Gopinathan, V.; Thiagarajan, G.; Patki, A.; Malakar, J.; Krishnapura, N. A 500 Mb/s 200pJ/b die-to-die bidirectional link with 24 kV surge isolation and 50 kV/µs CMR using resonant inductive coupling in 0.18 µm CMOS. In Proceedings of the 2017 IEEE International Solid-State Circuits Conference, San Francisco, CA, USA, 5–9 February 2017; pp. 434–435. [Google Scholar]
- Ragonese, E.; Parisi, A.; Spina, N.; Palmisano, G. Reinforced galvanic isolation: Integrated approaches to go beyond. In Applications in Electronics Pervading Industry, Environment and Society ApplePies 2019 Lecture Notes in Electrical Engineering; Springer International Publishing: Cham, Switzerland, 2020; Volume 627, pp. 277–283. [Google Scholar]
- Ragonese, E.; Spina, N.; Parisi, A.; Palmisano, G. A CMOS Data Transfer System Based on Planar RF Coupling for Reinforced Galvanic Isolation with 25-kV Surge Voltage and 250-kV/µs CMTI. Electronics 2020, 9, 943. [Google Scholar] [CrossRef]
- Seidel, A.; Costa, M.; Joos, J.; Wicht, B. Isolated 100% PWM gate driver with auxiliary energy and bidirectional FM/AM signal transmission via single transformer. In Proceedings of the IEEE Applied Power Electronics Conference and Exposition (APEC), Charlotte, NC, USA, 15–19 March 2015; pp. 2581–2584. [Google Scholar]
- Ishihara, H.; Onizuka, K. A Fully-Generic-Process Galvanic Isolator for Gate Driver with 123 mW 23% power transfer and full-triplex 21/14/0.5 Mb/s bidirectional communication utilizing reference-free dual-modulation FSK. In Proceedings of the 2020 IEEE International Solid- State Circuits Conference, San Francisco, CA, USA, 16–20 February 2020; pp. 300–302. [Google Scholar]
- Ragonese, E.; Greco, N.; Palmisano, G. A Method of Transmitting Power and Data across a Galvanic Isolation Barrier, Corresponding System and Apparatus. U.S. Patent 10298408B2, 21 May 2019. [Google Scholar]
- Spina, N.; Fiore, V.; Lombardo, P.; Ragonese, E.; Palmisano, G. Current-reuse transformer coupled oscillators with output power combining for galvanically isolated power transfer systems. IEEE Trans. Circ. Syst. I Regul. Pap. 2015, 62, 2940–2948. [Google Scholar] [CrossRef]
- Fiore, V. Fully Integrated Systems with on-chip Galvanic Isolation in Silicon Technology. Ph.D. Thesis, Università di Catania, Catania, Italy, 19 December 2015. [Google Scholar]
- Lombardo, P. Fully Integrated Data and Power Transfer Systems with Galvanic Isolation. Ph.D. Thesis, Università di Catania, Catania, Italy, February 2017. [Google Scholar]
- Greco, A. Fully Integrated DC-DC Converters with Basic and Double Galvanic Isolation. Ph.D. Thesis, Università di Catania, Catania, Italy, 12 January 2018. [Google Scholar]
- Parisi, A. Compact Architectures for DC-DC Converters with Galvanic Isolation. Ph.D. Thesis, Università di Catania, Catania, Italy, 7 January 2019. [Google Scholar]













| Parameters | [19] | [20] | [21] | [22] | [23] |
|---|---|---|---|---|---|
| Supply voltage [V] | 3.3 | 3.3 | 3 | 3.3 | 5 (1)/1.8 |
| Isolated output voltage [V] | 3.3 | 3.3 | 2 (2) | 3.3 | 3.3 |
| Max. output power [mW] | 116 | 9.1 | 20.4 | 93 | 50 |
| Power efficiency [%] | 20 | 22 | 9 | 19 | 14 |
| Oscillation frequency [MHz] | 180 | 200 | 330 | 350 | 300 |
| Control scheme/frequency [kHz] | PWM/625 | Bang-bang/1700 | n.a. (2) | PWM/100 | Continuous-time |
| Data carrier frequency [MHz] | n.a. (3) | n.a. (3) | 330 | 850 | 300 |
| No. of data/configuration channels | 2/0 | 3 (4)/1 | 1/1 (5) | 1/1 (5) | 3 (4)/0 |
| Max channel data rate [Mb/s] | 25 (×2) | 1.7 (×3) | 40 | 50 | 10 (×3) |
| Maximum isolation level | Basic | Reinforced | Basic | Basic | Reinforced |
| CMTI [kV/μs] | 35 | n.a. | n.a. | 50 | 50 |
| Silicon technology | HV-CMOS Schottky diode | 0.25-μm CMOS 0.35-μm DMOS Schottky diode | 0.35-μm BCD | 0.18-μm BCD 0.13-μm CMOS Schottky diode | |
| Isolation technology | Post–processed polyimide transformer with Au metals | Integrated SiO2 transformer with Cu/Al metals | Post–processed polyimide transformer with Au metals | ||
| No. of transformers | 4 (1 power, 1 ctr, 2 data) | 3 (1 power, 2 data/ctrl) | 1 | 2 (1 power, 1 data/ctrl) | 1 |
| No. of dice | 4 | 6 | 2 | 2 | 3 |
| Architeture | Power Link | Data Communication | Isolated Power Regulation | Data Rate | CMTI |
|---|---|---|---|---|---|
| Triple-transformer | Dedicated | Full duplex | YES (e.g., Bang-bang) | Medium | Mainly limited by the isolation technology |
| Double-transformer | Dedicated | Half-duplex | YES (PWM) | Medium/high | Mainly limited by the isolation technology |
| Single-transformer | Shared with data | Half-duplex | NO | Medium/high | Tradeoff with power efficieny conversion |
| Single-transformer with ouput power regulation | Shared with data/ctr | Half-duplex | YES (continuous-time) | Medium | Tradeoff with power efficieny conversion |
Publisher’s Note: MDPI stays neutral with regard to jurisdictional claims in published maps and institutional affiliations. |
© 2021 by the authors. Licensee MDPI, Basel, Switzerland. This article is an open access article distributed under the terms and conditions of the Creative Commons Attribution (CC BY) license (https://creativecommons.org/licenses/by/4.0/).
Share and Cite
Ragonese, E.; Parisi, A.; Spina, N.; Palmisano, G. Compact Galvanically Isolated Architectures for Low-Power DC-DC Converters with Data Transmission. Electronics 2021, 10, 2328. https://doi.org/10.3390/electronics10192328
Ragonese E, Parisi A, Spina N, Palmisano G. Compact Galvanically Isolated Architectures for Low-Power DC-DC Converters with Data Transmission. Electronics. 2021; 10(19):2328. https://doi.org/10.3390/electronics10192328
Chicago/Turabian StyleRagonese, Egidio, Alessandro Parisi, Nunzio Spina, and Giuseppe Palmisano. 2021. "Compact Galvanically Isolated Architectures for Low-Power DC-DC Converters with Data Transmission" Electronics 10, no. 19: 2328. https://doi.org/10.3390/electronics10192328
APA StyleRagonese, E., Parisi, A., Spina, N., & Palmisano, G. (2021). Compact Galvanically Isolated Architectures for Low-Power DC-DC Converters with Data Transmission. Electronics, 10(19), 2328. https://doi.org/10.3390/electronics10192328

