Maximum Deformation Ratio of Droplets of Water-Based Paint Impact on a Flat Surface
Abstract
:1. Introduction
2. Numerical Method
2.1. Navier–Stokes Equations
2.2. The Level Set Method
2.3. Model Description
2.4. Numerical Validation
3. Results and Discussion
3.1. The Effect of Droplet Size
3.2. The Effect of Impact Velocity
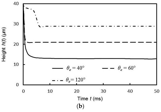
3.3. The Effect of Equilibrium Contact Angle
4. Conclusions
Acknowledgments
Author Contributions
Conflicts of Interest
References
- Bergeron, V.; Bonn, D.; Martin, J.Y.; Vovelle, L. Controlling droplet deposition with polymer additives. Nature 2000, 405, 772–775. [Google Scholar] [CrossRef] [PubMed]
- Fauchais, P.; Vardelle, A.; Dussoubs, B. Quo vadis thermal spraying? J. Ther. Spray Technol. 2001, 1, 44–66. [Google Scholar] [CrossRef]
- Mugele, F.; Baret, J. Electrowetting: From basics to applications. J. Phys. Condens. Matter 2005, 17, R705–R774. [Google Scholar] [CrossRef]
- Rioboo, R.; Marengo, M.; Tropea, C. Time evolution of liquid drop impact onto solid, dry surfaces. Exp. Fluids 2002, 33, 112–124. [Google Scholar] [CrossRef]
- Roisman, I.V.; Horvat, K.; Tropea, C. Spray impact: Rim transverse instability initiating fingering and splash, and description of a secondary spray. Exp. Fluids 2006, 18, 102104. [Google Scholar] [CrossRef]
- Amirfazli, A.; Kwok, D.Y.; Gaydos, J.; Neumann, A.W. Line Tension Measurements through Drop Size Dependence of Contact Angle. J. Colloid Interface Sci. 1998, 205, 1–11. [Google Scholar] [CrossRef] [PubMed]
- Bateni, A.; Laughton, S.; Tavana, H.; Susnar, S.S.; Amirfazli, A.; Neumann, A.W. Effect of electric fields on contact angle and surface tension of drops. J. Colloid Interface Sci. 2005, 283, 215–222. [Google Scholar] [CrossRef] [PubMed]
- Antonini, C.; Villa, F.; Bernagozzi, I.; Amirfazli, A.; Marengo, M. Drop rebound after impact: The role of the receding contact angle. Langmuir 2013, 29, 16045–16050. [Google Scholar] [CrossRef] [PubMed]
- Mao, T.; Kuhn, D.C.S.; Tran, H. Spread and rebound of liquid droplets upon impact on flat surfaces. AIChE J. 1997, 43, 2169–2179. [Google Scholar] [CrossRef]
- Ukiwe, C.; Kwok, D.Y. On the maximum spreading diameter of impacting droplets on well-prepared solid surfaces. Langmuir 2005, 21, 666–673. [Google Scholar] [CrossRef] [PubMed]
- Clanet, C.; Béguin, C.; Richard, D.; Quéré, D. Maximal deformation of an impacting drop. J. Fluid Mech. 2004, 517, 199–208. [Google Scholar] [CrossRef]
- Park, H.; Carr, W.W.; Zhu, J.; Morris, J.F. Single drop impact on a solid surface. AIChE J. 2003, 49, 2461–2471. [Google Scholar] [CrossRef]
- Bussmann, M.; Chandra, S.; Mostaghimi, J. Modeling the splash of a droplet impacting on a solid surface. Phys. Fluids 2000, 12, 3121–3132. [Google Scholar] [CrossRef]
- Merdasi, A.; Ebrahimi, S.; Moosavi, A.; Shafii, M.B.; Kowsary, F. Numerical simulation of collision between two droplets in the T-shaped microchannel with lattice Boltzmann method. AIP Adv. 2016, 6, 115307. [Google Scholar] [CrossRef]
- Dhotre, M.T.; Ekambara, K.; Joshi, J.B. CFD simulation of the Flow Pattern for Drag Reducing Fluids in Turbulent Pipe Flows. J. Chem. Eng. Jpn. 2007, 40, 304–311. [Google Scholar] [CrossRef]
- Roghair, I.; Musterd, M.; Ende, D.V.D.; Kleijn, C.; Kreutzer, M.; Kreutzer, M.; Mugele, F. A numerical technique to simulate display pixels based on electrowetting. Microfluid. Nanofluid 2015, 19, 465–482. [Google Scholar] [CrossRef]
- Ghazian, O.; Adamiak, K.; Castle, G.S.P. Spreading and retraction control of charged dielectric droplets. Colloid Surf. A 2014, 448, 23–33. [Google Scholar] [CrossRef]
- Vadillo, D.C.; Soucemarianadin, A.; Delattre, C.; Roux, D.C.D. Dynamic contact angle effects onto the maximum drop impact spreading on solid surfaces. Phys. Fluids 2009, 21, 122002. [Google Scholar] [CrossRef]
- Akao, A.; Araki, K.; Mori, S.; Moriyama, A. Deformation behaviors of a liquid droplet impinging on to hot metal surface. Trans. Iron Steel Inst. Jpn. 1980, 20, 737–743. [Google Scholar] [CrossRef]
- Senda, J.; Kanda, T.; Al-Roub, M.; Farrell, P.V.; Fukami, T.; Fujimoto, H. Modeling Spray Impingement Considering Fuel Film on the Wall; SAE International: New York, NY, USA, 1997; Volume 970047, pp. 37–51. [Google Scholar]
- Gupta, A.; Kumar, R. Droplet impingement and breakup on a dry surface. Comput. Fluids 2010, 39, 1696–1703. [Google Scholar] [CrossRef]
- Pasandideh-Fard, M.; Qiao, Y.M.; Chandra, S.; Mostaghimi, R. Capillary effects during droplet impact on a solid surface. Phys. Fluids 1996, 8, 650–659. [Google Scholar] [CrossRef]












| Parameter | Data |
|---|---|
| Density of the droplet(ρ2) | 1320 kg/m3 |
| Density of air(ρ1) | 1.225 kg/m3 |
| Surface tension of droplet (σ) | 0.0648 N/m |
| Viscosity of droplet (η2) | 0.179 Pa·s |
| Viscosity of air(η1) | 1.7894 × 10−5 Pa·s |
| Gravity acceleratio (g) | 9.8 m·s−2 |
© 2017 by the authors. Licensee MDPI, Basel, Switzerland. This article is an open access article distributed under the terms and conditions of the Creative Commons Attribution (CC BY) license (http://creativecommons.org/licenses/by/4.0/).
Share and Cite
Xu, W.; Luo, J.; Qin, J.; Zhang, Y. Maximum Deformation Ratio of Droplets of Water-Based Paint Impact on a Flat Surface. Coatings 2017, 7, 81. https://doi.org/10.3390/coatings7060081
Xu W, Luo J, Qin J, Zhang Y. Maximum Deformation Ratio of Droplets of Water-Based Paint Impact on a Flat Surface. Coatings. 2017; 7(6):81. https://doi.org/10.3390/coatings7060081
Chicago/Turabian StyleXu, Weiwei, Jianfei Luo, Jun Qin, and Yongming Zhang. 2017. "Maximum Deformation Ratio of Droplets of Water-Based Paint Impact on a Flat Surface" Coatings 7, no. 6: 81. https://doi.org/10.3390/coatings7060081
APA StyleXu, W., Luo, J., Qin, J., & Zhang, Y. (2017). Maximum Deformation Ratio of Droplets of Water-Based Paint Impact on a Flat Surface. Coatings, 7(6), 81. https://doi.org/10.3390/coatings7060081
