Working Performance of Bidirectional Profiling Press Device in Hilly Areas of Northeast China
Abstract
:1. Introduction
2. Materials and Methods
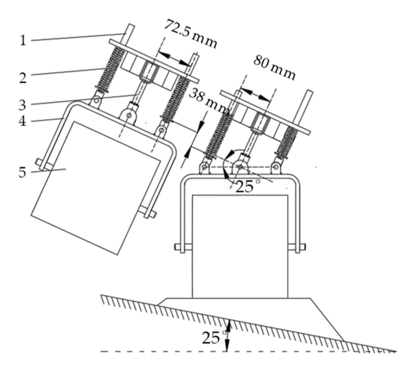
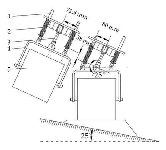
2.1. Operating Principle of the BPPD
2.2. Experimental Conditions and Equipment
2.3. Experimental Design
2.4. Experimental Indexes
2.4.1. Measurement of Soil Moisture Content
2.4.2. Measurement of the Emergence Ratio and Average Emergence Time Eight
2.4.3. Measurement of the Uniformity of the Plant Height
2.5. Data Analysis
- (1)
- Analysis of variance
- (2)
- Standardized treatment
- (3)
- Indicator Weights
3. Field Test Results
3.1. Effect of Test Factors on Working Performance
3.2. Comprehensive Optimization of Experimental Factors
4. Discussion
5. Conclusions
Author Contributions
Funding
Institutional Review Board Statement
Informed Consent Statement
Data Availability Statement
Conflicts of Interest
References
- Tian, Y.G. GIS-Based National Soil Quality Assessment Methodology and Its Application. Ph.D. Thesis, Huazhong Agricultural University, Wuhan, China, 2003. [Google Scholar]
- Chen, Y.; Xiao, B.; Fang, L.; Ma, H.; Yang, R.; Yi, X.; Li, Q. The quality analysis of cultivated land in China. Sci. Agric. Sin. 2011, 44, 3557–3564. [Google Scholar]
- Liu, H.R. Study on Evaluation Parameters of Cultivated Land-Taking Heilongjiang Province as an Case; China University of Geosciences: Beijing, China, 2018. [Google Scholar]
- Han, C.; Chen, S.; Yu, Y.; Xu, Z.; Zhu, B.; Xu, X.; Wang, Z. Evaluation of agricultural land suitability based on RS, AHP, and MEA: A case study in Jilin Province, China. Agriculture 2021, 11, 370. [Google Scholar] [CrossRef]
- Wang, L.; Hao, D.C.; Fan, S.; Xie, H.; Bao, X.; Jia, Z.; Wang, L. N2O emission and nitrification/denitrification bacterial communities in upland black soil under combined effects of early and immediate moisture. Agriculture 2022, 12, 330. [Google Scholar] [CrossRef]
- Jia, H.L.; Ma, C.L.; Li, H.Z.; Cheng, Z.L. Tillage soil protection of black soil zone in Northeast of China based on analysis of conservation tillage in the United States. Trans. Chin. Soc. Agric. Mach. 2010, 41, 28–34. [Google Scholar]
- Yang, W.; Zhang, M.; Song, F.; Liu, S.; Li, X.; Zhu, X. Comparative Analysis of Arbuscular Mycorrhizal Fungal Communities between Farmland and Woodland in the Black Soil Region of Northeast China. Agriculture 2021, 11, 866. [Google Scholar] [CrossRef]
- Gao, H.; Li, W.; Li, H. Conservation tillage technology with Chinese characteristics. Trans. Chin. Soc. Agric. Eng. 2003, 19, 1–4. [Google Scholar]
- Liu, H.J.; Han, J.Y.; Chen, J.Q.; Lv, J.Q.; Zhao, S.H. Performance simulation and experiment on rigid press wheel for hilly area. Trans. Chin. Soc. Agric. Mach. 2018, 49, 114–126. [Google Scholar]
- Liu, X.B.; Zhang, S.L.; Zhang, X.Y.; Ding, G.W.; Cruse, R.M. Soil erosion control practices in Northeast China: A mini-review. Soil Tillage Res. 2011, 117, 44–48. [Google Scholar] [CrossRef]
- Chen, X. Study on Comprehensive Productivity in the Northeast Region of China Based on Cultivated Land Classification; China University of Geosciences: Beijing, China, 2008. [Google Scholar]
- Zhang, P. Resource Estimation and Potential of Main Crop Straw and Stalk in Heilongjiang Land-Reclamation Area; Northeast Agricultural University: Harbin, China, 2017. [Google Scholar]
- Luo, J.; Zhan, J.Y.; Lin, Y.Z.; Zhao, C.H. An equilibrium analysis of the land use structure in the Yunnan Province, China. Front. Earth Sci. 2014, 8, 393–404. [Google Scholar] [CrossRef]
- Liu, H. Research on Key Technologies of Press Device for Planter in Hilly Region of Northeast China; Northeast Agricultural University: Harbin, China, 2019. [Google Scholar]
- Vaibhav, C.; Alfred, S.; Hari, S.; Justin, G.K.; Fakhereh, A. Assessing and transferring soil health information in a hilly terrain. Geoderma 2019, 343, 130–138. [Google Scholar]
- He, J.; Li, H.W.; Chen, H.T.; Lu, C.Y.; Wang, Q.J. Research progress of conservation tillage technology and machine. Trans. Chin. Soc. Agric. Mach. 2018, 49, 1–19. [Google Scholar]
- Jia, H.L.; Zhao, J.L.; Jiang, X.M.; Jiang, T.J.; Wang, Y.; Guo, H. Design and experiment of anti-blocking mechanism for inter-row no-tillage seeder. Trans. Chin. Soc. Agric. Eng. 2013, 29, 16–25. [Google Scholar]
- Xu, Y. Study on Agricultural Mechanization Development in Hilly and Mountain Areas of Zhejiang Province; Zhejiang University: Hangzhou, China, 2017. [Google Scholar]
- Duan, H.; Chen, Z.; Song, B.; Yu, C.; Xu, T. Design and experiment of triangular chain half cup spoon-shaped potato precision planter in hilly mountainous areas. Trans. Chin. Soc. Agric. Mach. 2019, 50, 96–104. [Google Scholar]
- Yao, L.; Cao, X.; Dong, L.; Chen, D. Design and experiment on small-size peanut planter in red soil hilly region. Acta Agric. Jiangxi 2015, 27, 78–80. [Google Scholar]
- Wang, L.; He, C.; Zheng, F.; Bian, F.; Qin, C.; Xu, X. Soil-bin experiment on effects of contour ridge tillage for controlling hillslope soil erosion in black soil region. Trans. Chin. Soc. Agric. Eng. 2018, 34, 141–148. [Google Scholar]
- Guo, J.; Fu, H.; Yang, Z.; Li, J.; Jiang, Y.; Jiang, T.; Liu, E.; Duan, J. Research on the physical characteristic parameters of banana bunches for the design and development of postharvesting machinery and equipment. Agriculture 2021, 11, 362. [Google Scholar] [CrossRef]
- Altikat, S.; Celik, A.; Turgut, N. The effects of different soil particle size distribution and seed row compaction levels on the germination and yield of spring wheat. Ataturk Univ. J. Agric. Fac. 2006, 37, 197–205. [Google Scholar]
- Altikat, S.; Celik, A. The effects of tillage and intra-row compaction on seedbed properties and red lentil emergence under dry land conditions. Soil Tillage Res. 2011, 114, 1–8. [Google Scholar] [CrossRef]
- Jia, H.L.; Wang, W.J.; Luo, X.F.; Zheng, J.X.; Guo, M.Z.; Zhuang, J. Effects of profiling elastic press roller on seedbed properties and soybean emergence under double row ridge cultivation. Soil Tillage Res. 2016, 162, 34–40. [Google Scholar] [CrossRef]
- Wilkes, L.H.; Hobgood, P. A new approach to field production. Trans. ASAE 1969, 12, 529–532. [Google Scholar]
- Gan, Y.; Stobe, E.; Moes, J. Relative data of wheat seedling emergence and its impact on grain yields. Crop Sci. 1992, 32, 1275–1281. [Google Scholar] [CrossRef]
- Gemtos, T.A.; Lellis, T.H. Effects of soil compaction, water and organic matter contents on emergence and initial plant growth of cotton and sugar beet. J. Agric. Eng. Res. 1997, 66, 121–134. [Google Scholar] [CrossRef]
- Nasr, H.M.; Selles, F. Seedling emergence as influenced by aggregate size, bulk density, and penetration resistance of the seedbed. Soil Tillage Res. 1995, 34, 61–76. [Google Scholar] [CrossRef]
- Zhao, S.; Jiang, E.; Yan, Y.; Yang, Y.; Tian, B. Design and motion simulation of opener with bidirectional parallelogram linkage profiling mechanism on wheat seeder. Trans. Chin. Soc. Agric. Eng. 2013, 29, 26–32. [Google Scholar]
- Zhao, S.H.; Liu, H.J.; Tan, H.W.; Yang, Y.Q.; Zhang, X.M. Design and experiment of bidirectional profiling press device for hilly area. Trans. Chin. Soc. Agric. Mach. 2017, 48, 82–89. [Google Scholar]
- Liu, W.; Tollenaar, M.; Stewart, G.; Deen, W. Within-row plant spacing variability does not affect corn yield. Agron. J. 2004, 96, 275–280. [Google Scholar] [CrossRef]
- Shafiq, M.; Hassan, A.; Ahmad, S. Soil physical properties as influenced by induced compaction under laboratory and field conditions. Soil Tillage Res. 1994, 29, 13–22. [Google Scholar] [CrossRef]
- Mosaddeghi, M.R.; Hajabbasi, M.A.; Hemmat, A.; Afyuni, M. Soil compactibility as affected by soil moisture content and farmyard manure in central Iran. Soil Tillage Res. 2000, 55, 87–97. [Google Scholar] [CrossRef]







| Parameter | Value | Parameter | Value |
|---|---|---|---|
| Diameter of balance spring | 16 mm | Diameter of extension spring | 29 mm |
| Number of balance spring coils | 20 | Number of extension spring coils | 14 |
| Width of press roller | 210 mm | Stiffness coefficient of tension spring | 37.5 N/mm |
| Diameter of press roller | 300 mm | Length of hanger rod | 200 mm |
| Level | Factor | ||
|---|---|---|---|
| Press Roller Type A | Spring Deformation B/mm | Forward Speed C/(km·h−1) | |
| 1 | RPR | 10 | 3 |
| 2 | PPR | 20 | 5 |
| 3 | SPR | 30 | 7 |
| No. | Factors | Soil Moisture Content (%) | Average Emergence Time (d) | Emergence Ratio (%) | Uniformity of the Plant Height (mm) | |||
|---|---|---|---|---|---|---|---|---|
| A | B | C | ||||||
| 1 | 1 | 1 | 1 | 17.1 | 10.32 | 91.3 | 5.74 | |
| 2 | 1 | 2 | 2 | 18.2 | 10.12 | 97.6 | 6.33 | |
| 3 | 1 | 3 | 3 | 12.8 | 10.46 | 92.6 | 5.11 | |
| 4 | 2 | 1 | 2 | 15.8 | 9.48 | 95.3 | 7.31 | |
| 5 | 2 | 2 | 3 | 14.1 | 9.73 | 96.7 | 6.98 | |
| 6 | 2 | 3 | 1 | 13.2 | 11.34 | 91.9 | 5.45 | |
| 7 | 3 | 1 | 3 | 10.2 | 10.21 | 87.8 | 6.12 | |
| 8 | 3 | 2 | 1 | 14.1 | 12.59 | 90.1 | 5.52 | |
| 9 | 3 | 3 | 2 | 12.2 | 12.01 | 88.4 | 5.75 | |
| Soil moisture content | k1 | 16.03 | 14.37 | 14.80 | ||||
| k2 | 14.37 | 15.47 | 15.40 | |||||
| k3 | 12.17 | 12.73 | 12.37 | |||||
| R | 3.86 | 2.74 | 3.03 | |||||
| Average emergence time | k1 | 10.30 | 10.00 | 11.42 | ||||
| k2 | 10.18 | 10.81 | 10.54 | |||||
| k3 | 11.60 | 11.27 | 10.13 | |||||
| R | 1.42 | 1.27 | 1.29 | |||||
| Emergence ratio | k1 | 93.83 | 91.47 | 91.10 | ||||
| k2 | 94.63 | 94.80 | 93.77 | |||||
| k3 | 88.77 | 90.97 | 92.37 | |||||
| R | 5.87 | 3.83 | 2.67 | |||||
| Plant height uniformity | k1 | 5.73 | 6.39 | 5.57 | ||||
| k2 | 6.58 | 6.28 | 6.46 | |||||
| k3 | 5.80 | 5.44 | 6.07 | |||||
| R | 0.85 | 0.95 | 0.89 | |||||
| Index | Source | Sum of Squares | DF | Mean Square | F Value | p Value |
|---|---|---|---|---|---|---|
| Soil moisture content | A | 22.57 | 2 | 11.28 | 41.12 | 0.02 ** |
| B | 11.35 | 2 | 5.67 | 20.68 | 0.04 ** | |
| C | 15.48 | 2 | 7.74 | 28.21 | 0.03 ** | |
| Pure Error | 0.55 | 2 | 0.27 | |||
| Average emergence time | A | 3.73 | 2 | 1.86 | 30.16 | 0.03 ** |
| B | 2.47 | 2 | 1.23 | 19.97 | 0.05 * | |
| C | 2.58 | 2 | 1.29 | 20.90 | 0.05 * | |
| Pure Error | 0.12 | 2 | 0.06 | |||
| Emergence ratio | A | 60.73 | 2 | 30.36 | 141.6 | 0.007 *** |
| B | 26.06 | 2 | 13.03 | 60.75 | 0.016 ** | |
| C | 10.68 | 2 | 5.34 | 24.89 | 0.037 ** | |
| Pure Error | 0.43 | 2 | 0.21 | |||
| Plant height uniformity | A | 1.35 | 2 | 0.67 | 19.95 | 0.05 * |
| B | 1.63 | 2 | 0.81 | 24.11 | 0.04 ** | |
| C | 1.20 | 2 | 0.60 | 17.82 | 0.05 * | |
| Pure Error | 0.07 | 2 | 0.03 |
| NO. | R1n | R2n | R3n | R4n | Y |
|---|---|---|---|---|---|
| 1 | 0.364 | −0.121 | −0.113 | −0.134 | −0.024 |
| 2 | 0.501 | −0.185 | 0.530 | 0.135 | 0.231 |
| 3 | −0.174 | −0.076 | 0.019 | −0.420 | −0.136 |
| 4 | 0.201 | −0.391 | 0.295 | 0.580 | 0.127 |
| 5 | −0.011 | −0.310 | 0.438 | 0.430 | 0.122 |
| 6 | −0.124 | 0.207 | −0.052 | −0.265 | −0.031 |
| 7 | −0.499 | −0.156 | −0.470 | 0.039 | −0.280 |
| 8 | −0.011 | 0.609 | −0.236 | −0.234 | 0.063 |
| 9 | −0.249 | 0.423 | −0.409 | −0.129 | −0.071 |
| Comprehensive Weighted Value | A | B | C |
|---|---|---|---|
| k1 | 0.024 | −0.059 | 0.002 |
| k2 | 0.073 | 0.139 | 0.095 |
| k3 | −0.096 | −0.080 | −0.098 |
| R | 0.169 | 0.218 | 0.193 |
| Main and Secondary Factor | B > C > A | ||
| Optimal level | A2 | B2 | C2 |
Publisher’s Note: MDPI stays neutral with regard to jurisdictional claims in published maps and institutional affiliations. |
© 2022 by the authors. Licensee MDPI, Basel, Switzerland. This article is an open access article distributed under the terms and conditions of the Creative Commons Attribution (CC BY) license (https://creativecommons.org/licenses/by/4.0/).
Share and Cite
Liu, H.; Zhang, W. Working Performance of Bidirectional Profiling Press Device in Hilly Areas of Northeast China. Agriculture 2022, 12, 1365. https://doi.org/10.3390/agriculture12091365
Liu H, Zhang W. Working Performance of Bidirectional Profiling Press Device in Hilly Areas of Northeast China. Agriculture. 2022; 12(9):1365. https://doi.org/10.3390/agriculture12091365
Chicago/Turabian StyleLiu, Hongjun, and Wenyi Zhang. 2022. "Working Performance of Bidirectional Profiling Press Device in Hilly Areas of Northeast China" Agriculture 12, no. 9: 1365. https://doi.org/10.3390/agriculture12091365
APA StyleLiu, H., & Zhang, W. (2022). Working Performance of Bidirectional Profiling Press Device in Hilly Areas of Northeast China. Agriculture, 12(9), 1365. https://doi.org/10.3390/agriculture12091365
