Next Article in Journal
A System Designed to Identify the Reasons for Pesticide Detections in Organic Crops, Using Examples from Organic Apple, Raspberry, and Strawberry Cultivation in Poland
Next Article in Special Issue
Methodological Framework for Generation of Static Air Traffic Situations and Automated Complexity Data Extraction
Previous Article in Journal
Deep Learning Based Correction Algorithms for 3D Medical Reconstruction in Computed Tomography and Macroscopic Imaging
Previous Article in Special Issue
Stochastic Path Planning with Obstacle Avoidance for UAVs Using Covariance Control
 
 
Font Type:
Arial Georgia Verdana
Font Size:
Aa Aa Aa
Line Spacing:
Column Width:
Background:
Article

A Novel Method for STAM Selection Promises Significant Air Traffic Complexity Reduction in Convective Weather Conditions

by
Petar Andraši
,
Kristina Samardžić
*,
Tomislav Radišić
and
Bruno Antulov-Fantulin
Department of Aeronautics, Faculty of Transport and Traffic Sciences, University of Zagreb, 10000 Zagre, Croatia
*
Author to whom correspondence should be addressed.
Appl. Sci. 2026, 16(4), 1953; https://doi.org/10.3390/app16041953
Submission received: 20 January 2026 / Revised: 6 February 2026 / Accepted: 9 February 2026 / Published: 15 February 2026
(This article belongs to the Special Issue Novel Approaches and Trends in Aerospace Control Systems)

Abstract

Current methods to reduce air traffic complexity during convective weather conditions are sometimes not sufficient to meet the traffic demand in such situations. The most common strategy deployed by flow management personnel for complexity reduction during convective weather is to apply a limit to the number of aircraft entering the affected or surrounding airspace. Such complexity reduction measures globally affect the airspace capacity and can be inefficient. A better outcome in complexity reduction would be a complexity reduction measure that either restructures the airspace to rebalance complexity or a measure that cherry-picks flights with the highest impact on complexity. This paper proposes a method for complexity reduction in convective weather, which applies short-term air traffic flow management measures (STAMs) such as airspace restructuring and individual aircraft trajectory changes. Complexity reduction measures are applied to the most complex sector, thus reducing the global effect of a measure. The results of this paper showed that STAMs can reduce air traffic complexity by up to 19.63%. The benefit gained from STAMs comes with diminishing returns when more than four STAMs are applied to the most complex sector. When comparing traffic scenarios without convective weather to those with convective weather, it was shown that convective weather has a variable impact on air traffic complexity, ranging from 91% to 184% of the nominal complexity value.

1. Introduction

One of the main goals of air traffic development in Europe is to increase capacity to meet the traffic demand while maintaining the required levels of safety and efficiency [1]. In 2025, the recorded traffic was 11.1 million flights, with a growth of 4.3% compared to the previous year [2]. Despite a significant decrease in traffic in 2020 due to the pandemic, the positive trend resumed, with 9.2 million flights in 2022, increasing to 10.2 million flights in 2023 and 10.6 million flights in 2024 [3]. By 2025, the total number of flights returned to pre-pandemic volumes. Forecasts project 16 million flights by 2050, with an average annual growth rate of 1.2% [4]. An increase in traffic demand can cause negative consequences such as air traffic congestion, flight delays, reduced efficiency due to unnecessary route extensions, increased fuel consumption, increased flight costs and negative environmental impact. According to the EUROCONTROL CODA Digest 2024 analysis [5], the average delay per flight in 2024 was 17.5 min, of which delays caused by Air Traffic Flow Management (ATFM) at airports and en-route accounted for 2.3 min per flight. Considering that the average cost of a minute of delay caused by ATFM is approximately 100 € [6], it is calculated that delays caused by ATFM have generated around 2.4 billion € in cost in 2024. According to [7], 80% of all ATFM delays are attributed to ATC capacity and weather. The most common cause of ATFM delays is the inadequate management of sector capacity. Sector capacity, as a measure that defines how much traffic can be safely managed by the Air Traffic Control Officers (ATCOs), should match traffic demand to cut back aircraft delays. Given that high traffic complexity affects sector capacity [8,9,10,11,12], the Flow Management Position (FMP), often as a reaction to excessive traffic complexity, reduces sector capacity by applying regulations. In such situations where sector capacity is reduced, ATFM regulation produces delays for excessive demanding traffic that by flight plan should enter regulated sectors. Regulations are effective on all planned traffic and should be set 2 h and more prior to the occurrence of predicted demand and capacity imbalance to ensure the needed effect of regulation. Short-term ATFM measures (STAMs) are effective only on those aircraft that are under complexity reduction measures and can be effective from 2 h to 20 min before airspace entry time, which makes STAMs more suitable for dynamic demand and capacity balancing [13]. Also, STAMs reduce the impact of complexity reduction measures on other traffic flows and neighbouring sectors.
The issue of increased traffic demand and reduced sector capacity becomes profound when convective weather conditions appear. The issue of increased traffic demand and reduced sector capacity becomes particularly pronounced under convective weather conditions. According to EUROCONTROL’s Performance Review Report (PRR) [7], convective weather is identified as one of the major contributors to air traffic delays, accounting for approximately 23% of total delays in 2023. In absolute terms, during peak summer months with high traffic demand, convective weather can generate up to 325,000 min of delay per month, exceeding the delay impact attributed to the Ukraine crisis during the same period [7]. This effect is also evident at the regional level. In the Zagreb Area Control Centre (ACC), which constitutes the airspace examined in this study, a total of 408,000 min of delay were recorded, of which around 139,000 min (34%) were directly attributed to weather-related causes. Larger ACC units report even more pronounced impacts, with weather-related delays exceeding 800,000 min. These figures clearly demonstrate the operational significance of convective weather as a driver of capacity degradation and delay generation. From the ATCO perspective, convective weather poses a twofold challenge. On one hand, pilots deviate from their initial route trying to avoid areas affected by convective weather [14,15,16,17,18]. On the other hand, convections reduce the sector capacity as they occupy a certain volume of it [19,20,21]. Both occurrences affect traffic complexity as the traffic situation is hardly predictable and it forces ATCOs to alter their initial plan. Moreover, pilots’ reaction to the given weather is often unpredictable because pilots provided with on-board weather radar avoid identified convective weather by 30 nm to 80 nm [15].
The connection between convective weather and traffic complexity does not have to be unambiguous. With different cloud characteristics and their relative position, traffic develops in different scenarios. With the interaction-based PRU complexity model as a base [22], this paper introduces an extension to it that represents the additional interactions between traffic and convective weather.
Despite significant advances in assessing air traffic complexity assessment, important gaps remain. Existing complexity metrics typically neglect convective weather or treat it indirectly through sector capacity reductions, without explicitly modelling weather as a source of traffic interactions. In parallel, the selection of STAMs is largely based on operational experience and heuristics, with limited quantitative support that links traffic complexity, individual aircraft contributions, and the effectiveness of specific STAMs. As a result, there is a lack of integrated approaches that jointly address weather-aware complexity assessment and systematic STAM selection in en-route airspace.
To address this gap, this paper proposes a novel method for STAM selection under convective weather conditions. The method extends the interaction-based PRU complexity model by explicitly incorporating weather interactions and couples this assessment with an iterative STAM selection framework that supports FMP decision-making. It enables a quantitative evaluation of STAM effectiveness, identification of aircraft with the highest impact on sector complexity, determination of the number of STAMs beyond which diminishing returns occur, and analysis of how convective weather influences both traffic complexity levels and the choice of the most effective complexity reduction measures.
The second section of the paper presents cutting-edge research in the air traffic complexity domain. It also proves and explains the connection between convective weather conditions and traffic complexity. Common complexity reduction measures are explained in the last subsection of Section 2. Section 3 explains the method for STAM selection through its two main models: the trajectory prediction block and the complexity calculation and reduction blocks. Section 4 describes the experimental design, with the results presented in Section 5. The results and outcomes are discussed in Section 6. Finally, Section 7 concludes the paper and explores possibilities for future work.

2. Air Traffic Complexity

In early research by Christien et al. [8], complexity is defined as the degree of difficulty of a traffic situation in which ATCOs need to perform their tasks. How to measure the degree of difficulty and what affects it has been a focus and motivation for many researchers. Additionally, the impact of convective weather on traffic complexity varies. The following subsections present methods and studies addressing these questions, as well as complexity-reducing measures.

2.1. Methods to Assess Traffic Complexity

As mentioned in the introduction, traffic complexity is in direct connection with sector capacity, where increased traffic complexity decreases sector capacity. Early studies proved that traffic complexity and ATCO workload are closely related, where increased complexity produces a greater ATCO workload [23,24]. In [25,26], the authors identified ATCO workload indicators that were a starting point for identifying traffic complexity indicators.
Assessment of traffic complexity initially equated it with traffic density, which is influenced solely by the amount of traffic. This approach evolved to include dynamic density and the identification of key indicators that most significantly affect complexity [27,28,29,30,31,32,33].
Other methods use neural networks [34,35,36] that are trained with historical data in order to predict when complexity will be increased. Other alternative methods use ATCO input to identify and weight complexity indicators [30,37]. The authors in [38] proposed a method in which complexity is based on ATCO tasks and their comparison of different traffic situations.
Recent studies increasingly employ graph-based modelling approaches to better represent air traffic interactions and dynamically capture traffic complexity. By introducing spatio-temporal graphs, these models explicitly account for aircraft interactions across both space and time while also improving the interpretability of complexity indicators from an operational perspective [39,40].
Other data-driven approaches rely on advanced machine learning techniques. Deep metric learning has been applied to assess air traffic complexity, demonstrating improved performance compared to traditional machine learning methods [41]. Real-time complexity assessment frameworks have also been proposed, leveraging surveillance data such as ADS-B together with ATCO clearances and interventions, to infer instantaneous complexity levels [42]. Additionally, several studies focus on complexity prediction by combining trajectory classification, multi-agent traffic prediction, and Gaussian-model-based anomaly detection techniques [43]. While these approaches provide valuable insights into complexity estimation and prediction, they primarily focus on monitoring or forecasting complexity rather than on its systematic reduction through operational measures.
As trajectory prediction is a prerequisite for calculating traffic complexity, various approaches have been investigated in the literature. Machine learning models have been proposed to predict flight departure delay status and delay duration [39,40]. Others use deep learning techniques to predict trajectories, including at the pre-tactical level [41,42,43]. A comprehensive overview of trajectory prediction models is provided by Zeng et al. [44].
EUROCONTROL’s PRU model [22] identifies four indicators that have an impact on the en-route complexity: (i) adjusted density, (ii) potential vertical interactions, (iii) potential horizontal interactions, and (iv) potential speed interactions. Despite being nearly 20 years old, this model remains a common benchmark for calculating air traffic complexity among many Air Navigation Service Providers (ANSPs). Sensitivity analyses with respect to complexity indicators, conducted during the model’s development, demonstrated that the PRU model remains sensitive and responsive to relative changes in airspace configuration. Consequently, the PRU model provides a robust and transferable foundation for the research presented in this paper.
All these methods barely consider the disruption that convective weather creates on traffic and its impact it has on traffic complexity. The next subsection explains the impact of convective weather on air traffic complexity, highlighting the importance of considering convective weather in the complexity method.

2.2. Convective Weather and Air Traffic Complexity

To understand why convective weather affects traffic flow and complexity, it is important to first understand how convection occurs. According to [45], convection is the “vertical transport of heat and moisture in the atmosphere, especially by updrafts and downdrafts in an unstable atmosphere”. From a pilot’s perspective, the characteristics of convection determine avoiding actions. Shallow convections are neglected, while deep convection should be avoided as it may pose a significant safety risk. To differentiate one from the other, deep convection clouds reach above 6 km high. Deep convections include thunderstorms and mesoscale convective systems (squall lines). They are characterised by a sudden increase in wind speed, a drop in air temperature that creates downdrafts, a sudden increase in pressure, and violent gusts of wind [46]. Such weather conditions affect flight safety by causing severe turbulence, damaging the aircraft fuselage, disabling and interfering with aircraft instruments, and increasing fuel consumption. The issue with convective weather becomes even more evident when trying to forecast the location and time of the mentioned weather phenomena. They are very unstable, which causes rapid creation, motion, and dissipation of such clouds.
Avoiding actions and the inability to precisely forecast convective weather, impacts traffic complexity on three different levels:
  • ATCOs need to adapt to and react to unpredicted situations which increase their workload [21,47,48];
  • The operable sector volume is reduced [14,49,50];
  • Aircraft trajectories are unpredictable [16,51,52,53].
In order to account for weather effects in ATM, recent research has increasingly focused on integrating real-time weather data into ATM systems. By combining traffic demand prediction with technologies that translate weather impacts into sector capacity constraints across the ATM network, these approaches enable more informed and weather concerned demand–capacity balancing decisions. In particular, several tools incorporate multiple weather forecasts together with historical analyses of meteorological predictions and traffic flows to estimate en-route airspace permeability using machine learning techniques. In such frameworks, the impact of weather is directly mapped to sector capacity reductions without explicitly accounting for traffic complexity as a separate dimension. These methods rely predominantly on historical data to infer how weather conditions affect traffic operations [54]. In parallel, machine learning techniques are also being explored to model the impact of adverse weather on airport capacity [55] as well as on en-route operations [56].
In conclusion, convective weather increases traffic complexity and ATCO workload on several levels. Excessive air traffic complexity leads to an imbalance between sector capacity and traffic demand. Therefore, the application of complexity reduction measures is essential to minimise additional delays and improve traffic flow while sustaining current safety levels.

2.3. Complexity Reduction Measures

Complexity reduction measures were defined to keep up with the increasing traffic complexity. STAMs are used to rearrange the occupancy of a sector and avoid traffic overload. To accurately apply STAMs, it is important to identify areas where capacity and demand are imbalanced. Therefore, STAMs are a part of the Dynamic Demand Capacity Balancing procedure (dDCB), whose goal is to equalise demand and capacity during daily traffic operations [13]. FMPs identify (or cherry-pick) aircraft from the traffic list that are considered to have the greatest impact on traffic complexity, making them a potential candidate for STAM. This cherry-picking process is challenging for FMPs, who rely on experience, practical knowledge, and operating procedures to empirically assess the effect of STAMs on traffic complexity.
STAMs include the following actions:
  • Ground delay (take-off not before and take-off not after);
  • Tactical rerouting;
  • Level capping;
  • Speed regulations (miles in trail);
  • Minimum departure interval (MDI);
  • Change in SID (Standard Instrument Departure Route);
  • Slot swapping [13].
Ground delay measures allocate a small delay to a flight until a specific time (take-off not before) or constrain aircraft to depart until a specified time (take-off not after). Tactical rerouting applies to flights whose route has been identified to benefit from a proposed deviation, e.g., delay is expected to be reduced. Level capping implies limiting the requested flight level to reduce the overload of the upper airspace sector. Speed regulations, such as miles in trail (MIT), ensure separation between aircraft by controlling speed (Mach number). The application of MDI sequences departing traffic at predefined intervals if they continue after take-off in a certain direction. Change in SID offloads the overloaded departure sector. Slot swapping is a STAM that allows two airspace users to exchange their designated slots.
Except for STAMs, capacity management is also a part of dDCB, which aims to adjust sector capacity to predicted traffic demand. It offers three sets of measures:
  • Airspace volume configuration: splitting, grouping, and restructuring sectors to meet the required traffic load within available capacity, according to the personnel limitations;
  • Capacity adjustment: defining the maximum capacity of a sector based on incoming traffic, weather forecast and available resources;
  • Dynamic negotiations with military authorities.
The wide span of complexity reduction measures enables FMP and shift supervisors to influence traffic demand or sector capacity under different conditions. These measures are very adaptable, which means they can be applied to different traffic scenarios. In addition, capacity management is a less disruptive measure as it does not affect aircraft trajectories. For clarity, in this paper, capacity management measures are included within the term STAM.
Despite significant advances in traffic complexity assessment, data-driven modelling, and weather-integrated ATM systems, several important gaps remain. Recent graph-based and machine learning approaches primarily focus on complexity estimation or prediction, often under nominal conditions, and rarely address the explicit impact of convective weather on traffic interactions. At the same time, weather–traffic integration frameworks predominantly translate meteorological uncertainty into sector capacity constraints, without explicitly modelling traffic complexity as an interaction-based phenomenon. Consequently, there is a lack of integrated methodologies that simultaneously account for convective weather effects, traffic interactions, and operational complexity reduction measures. In particular, systematic approaches that link weather-aware complexity assessment with the selection and evaluation of STAMs at the sector level remain limited.
This research addresses this gap by extending a validated interaction-based complexity model to include convective weather and by proposing a method for selecting effective STAMs under convective weather conditions.

3. Method for STAM Selection

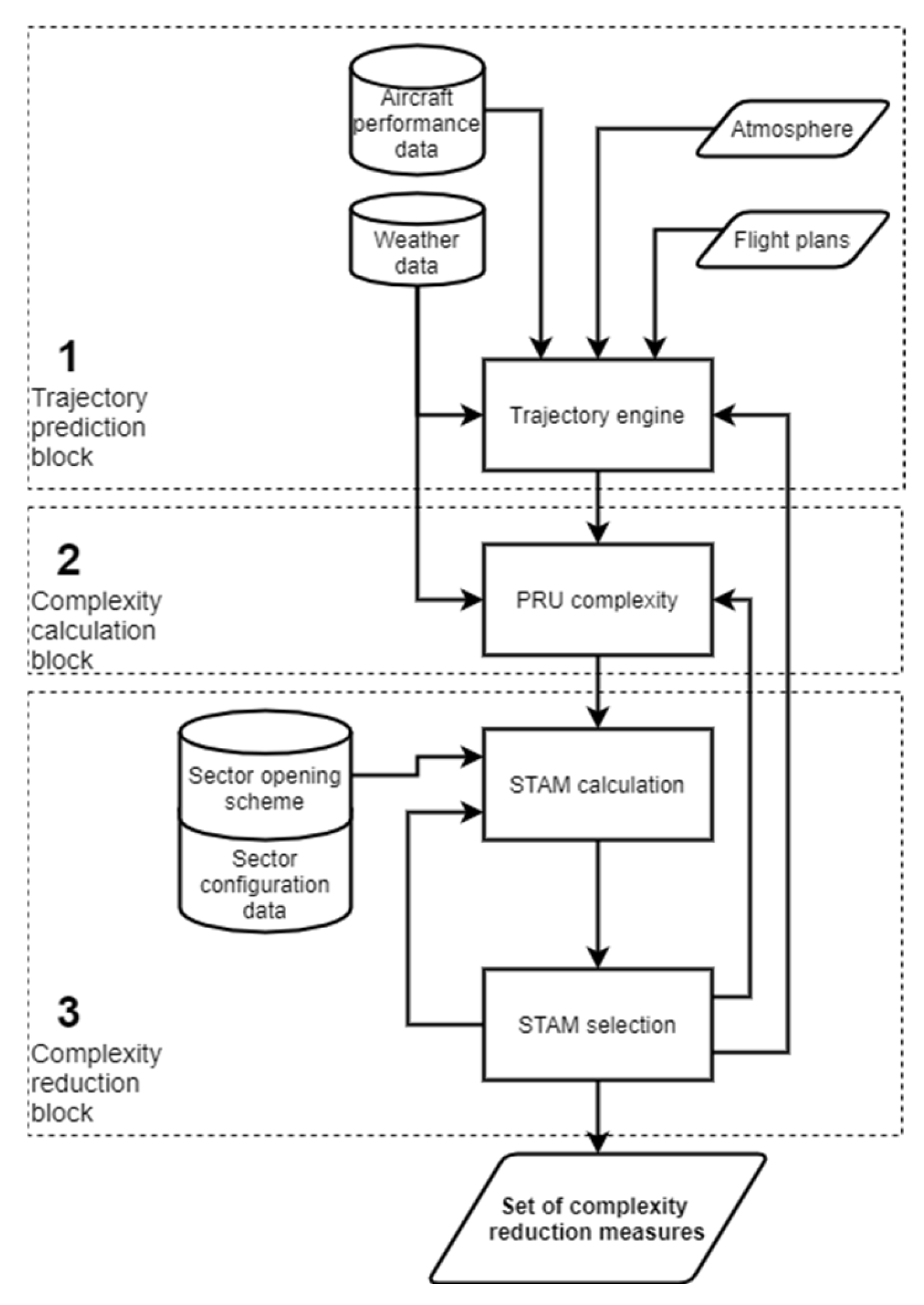
The proposed method for STAM selection consists of three blocks, as can be seen in Figure 1. The trajectory prediction block uses a trajectory engine to generate predicted trajectories for each aircraft, considering relevant weather data, aircraft performance data, atmospheric conditions, and flight plan data. The second block is dedicated to complexity calculation, where the PRU complexity model is extended to include the impact of convective weather on complexity. Lastly, the complexity reduction block identifies the most effective STAM for reducing complexity within a given traffic scenario. The efficacy of each STAM is evaluated based on its impact on the traffic complexity of the most complex sector. Each time a complexity reduction measure is applied, traffic complexity is recalculated. This iterative process continues until the necessary number of STAMs is reached. Subsequent subsections explain the blocks of a method for STAM selection in more detail.

3.1. Trajectory Prediction (TP) Block

The main part of the TP block is the trajectory engine, as depicted in Figure 2. It uses several inputs to generate a predicted trajectory database. Five requirements for the TP model are defined to ensure the accuracy of the predicted aircraft trajectory:
  • R1—the ability to model different aircraft types;
  • R2—relatively accurate aircraft climb and descent profiles;
  • R3—realistic turn performance;
  • R4—realistic aircraft performance and limitations;
  • R5—ability to implement adaptive algorithms for convective weather and descent profiles.
The two main parts of the trajectory engine are aircraft dynamics and Flight Management System (FMS). This research developed aircraft dynamics and the FMS model based on Porretta et al. [57]. The aircraft dynamics model, using six state variables, four inputs and three disturbances, determines the change in state variables, including coordinates that provide aircraft trajectory. The FMS model calculates changes in aircraft inputs to meet flight plan goals, taking into account the current position, flight plan, operational procedures and limitations, weather obstructions and other factors. The following subchapters explain model inputs and the process of trajectory engine predictions.

3.1.1. Model Inputs

For the aircraft performance data, EUROCONTROL’s Base of Aircraft Data (BADA) Aircraft Performance Model (APM) is used in the model due to its several advantages. It is applicable to many different aircraft types and is easily implemented. BADA contains aircraft performance data whose aim is to model aircraft behaviour over the nominal part of the flight envelope.
The weather data used in the TP model is based on the Rapidly Developing Thunderstorm—Convective Warning (RDT—CW), developed by Meteo-France. It uses geostationary satellite data to identify, monitor, track and forecast up to one-hour convective system cloud cells. The discrimination method is used to identify convective cells among all cloud cells and to identify clouds that will become convective. Meteorological data was accessed through MATLAB’s version 9.7 NetCDF library package that uses CTPressure, LonContour, and LatContour variables to create 3D objects representing clouds. Based on the size and number of convective clouds, four weather scenario groups are identified in this research: (i) neighbouring clouds, (ii) a few small clouds, (iii) a few large clouds, and (iv) dispersed small clouds. Figure 3 shows examples of these groups, where each cloud contour is depicted with a different colour on the map. A total of 17 weather samples were identified across 10 convective days and were selected based on empirical observations of weather phenomena and consultations with local ANSP meteorologists. The observation period spanned from 16 June to 19 September 2019, representing approximately 10% of convective days that caused disturbances to air traffic flow. This period was chosen due to both the high frequency of convective events and elevated traffic intensity.
According to [58], the most convectively active period in Croatia occurs during the warm part of the year (April to October). During these months, convective activity is observed on 56% of days on average, approximately every second day, with most events occurring during daytime hours (08:00–19:00 CET). The probability of cumulonimbus occurrence is around 12%, which is consistent with the proportion of weather samples analysed in this study.
Additionally, the EUROCONTROL CODA Digest [59] reports that during August and September 2019, Zagreb ACC experienced significant impacts from convective weather.
Flight plan data uses historical data from EUROCONTROL’s Demand Data Repository version 2 (DDR2), a database that collects and distributes traffic data from various sources. DDR2 contains historical data samples in the form of two models. Model 1 (M1) contains data from the flight plan after the last modification of the initial flight plan. Model 3 (M3) contains actual 4D trajectories extracted from the radar data of each ANSP. The TP model presented in this chapter uses M3 historical data in so6 form. It contains all deviations from the flight plan as well as avoidances due to convective weather. To filter out points generated while avoiding clouds, waypoints that were not created in the initial flight plan were removed. This approach enabled the TP model to reduce the complexity of simulated traffic data, not historical data. Airspace data, as well as the flight plan data, is gathered from the DDR2 repository. It contains information concerning sector configuration and sector opening schemes.

3.1.2. Implementation of Adaptive Algorithms for Convective Weather and Descent Profiles

The FMS provides route guidance to the pilot and constantly checks the aircraft’s current position to see if the desired path is respected. The secondary function of the FMS is to obtain a route free of weather obstructions. To do so and to fulfil the fifth requirement (R5) mentioned earlier, additional horizontal (cloud avoidance algorithm) and vertical (continuous descent procedure, top of descent calculation) algorithms are implemented.
The cloud avoidance algorithm uses the A* path search algorithm introduced by Ueland et al. [60] to avoid areas occupied by clouds. Furthermore, Ramée et al. [61] optimised the A* algorithm for aircraft flying en-route through cloud-occupied airspace. The A* algorithm finds an optimal path for an aircraft while considering cloud position. If a planned waypoint is inside the area obstructed by clouds, aircraft will skip or move that waypoint outside the obstructed area. Waypoint shift occurs if there is only one waypoint that is in a cloud-occupied area. In those cases, a waypoint will be shifted along the track towards a closer cloud border. Also, some waypoints have to be removed to make the flight path more similar to actual pilot actions, e.g., multiple points along the same track or points that are too close to each other (less than 3 nm). The A* algorithm needs to provide calculations every 60 s as weather conditions dynamically change. In some cases, an aircraft can be inside a cloud; in those cases, the cloud-exit algorithm finds the shortest distance out of it. The cloud-exit algorithm generates an arc of points 80 nm from the aircraft, extending 60 degrees to the left and right of the aircraft’s heading. These points are connected with the aircraft, forming a fan of lines. The shortest path and heading for the aircraft to exit the cloud can be determined by identifying where these lines intersect with cloud polygons and computing the distance between the aircraft and these intersection points. Subsequently, the flight plan is updated with a calculated cloud-exit waypoint. While passing through the cloud, the pathfinding algorithm is not triggered.
Continuing with the algorithm implementation, the continuous descent arrival procedure is presented. In this research, aircraft are considered to use Continuous Descent Arrival (CDA) when descending toward their destination. Those aircraft start their descent upon reaching the CDA waypoint. The vertical and horizontal profile of the aircraft are relevant for the model until it reaches the terminal area. Afterwards, the aircraft is cleared to descend uninterruptedly to the destination airport, regardless of the procedure. Consistent with prior work on arrival management under en-route complexity constraints, the CDA trajectory is modelled using a simplified descent initiation point obtained by retracing the descent distance along the flight path, as the exact CDA positioning is of secondary importance to the strategic arrival management decision process [62,63]. The CDA waypoint is determined by retracing the descent distance along the flight path, starting from the airport along the flight path to the aircraft starting position. The CDA waypoint is determined twice: at the start of the simulation and when the aircraft is 120 nm from the airport. With this approach, CDA is calculated at the beginning of the trajectory prediction and later after the possible effect of weather and STAMs could affect the 4D position of the CDA waypoint.
The last algorithm implementation covers the top of the descent procedure (TOD). This procedure, in comparison to CDA, is used for route descent, not descent for approach and landing. It defines the point on the route when the aircraft should initiate a descent. According to previous research [64,65], pilots tend to fly as close to the optimal (most fuel-efficient) cruise altitude, an altitude at which they can achieve maximum range speed with a given thrust setting. Atmospheric conditions and aircraft weight affect it the most, with heavier aircraft requiring a lower optimal cruise altitude [66]. Therefore, pilots will climb to a higher altitude as soon as possible and postpone descent as much as possible. To simulate these actions, aircraft follow two rules upon reaching that waypoint: if the next waypoint is at a higher level, the FMS will immediately climb the aircraft; if the next waypoint is at a lower level, the FMS will maintain the current altitude until reaching the TOD. The TOD is determined similarly to the CDA waypoint, by retracing the descent distance along the flight plan, starting from the aimed waypoint toward the aircraft starting position.

3.2. Complexity Calculation and Reduction Blocks

Blocks 2 and 3 of the model depicted in Figure 1 are dedicated to traffic complexity calculation and reduction.
To unify traffic complexity calculation, EUROCONTROL’s Working Group identified what influences complexity the most. In this approach, often referred to as the PRU model, there are four dimensions with corresponding indicators that are capable of adequately describing traffic complexity (Table 1). It is based on the possible traffic interactions inside the airspace grid of 20 nm × 20 nm × 3000 ft and 60 min as the time dimension [22]. In this research, this model is referred to as the standard PRU model.
Aircraft complexity in the PRU model is assessed by counting potential interactions between aircraft sharing the same airspace cell within a time interval, regardless of whether they are actually present at the same moment.
Interactions are counted from each aircraft’s perspective, e.g., two aircraft equal two interactions and three equal six, and they are calculated with the following equation:
T X k i = t i k × j   c e l l   k   a n d   j i t j    
where T X k i represents hours of the interaction of aircraft i within time interval k in the cell; t i k represents flight hours of aircraft i within time interval k in the cell and t j represents flight hours of aircraft j within time interval k in the cell. Within the model, each indicator is calculated separately and combined to form the structural index. The structural index is calculated by summing the relative vertical, horizontal, and speed interaction indicators (VDIFr + HDIFr + SDIFr), which represent the shares of total interactions associated with differences in altitude, heading, and speed.
Adjusted density is calculated by adding flight times across all cells contained within the ACC and, also, adding together all interactions and then dividing the two.
The final complexity score (Cx) is obtained by multiplying the structural index by the adjusted density, combining the amount of traffic with how structurally complex the interactions are.
As this approach does not consider weather as a complexity dimension affecting traffic complexity, another indicator concerning weather interactions is introduced, as seen in Table 1. Aircraft is in a weather interaction if it is located in a cloud-occupied cell or if it is bordering with such a cell. Within this research, weather is treated as another source of potential interaction by defining an aircraft’s weather interaction in a cell as the product of its flight time and the duration of adverse weather in that cell; this is because an aircraft in a weather-affected cell is considered to “interact with itself” and is calculated with the following equation:
T X k i = t i k 2
The weather indicator follows the same structure as the other indicators, allowing it to be integrated seamlessly into the structural index (VDIFr + HDIFr + SDIFr + WDIFr) and consecutively into the final complexity score.
Also, as the weather changes rapidly, a time dimension of 60 min is hardly applicable. Therefore, the temporal dimension is reduced to 20 min, as this time step provides the best complexity results [67].
Complexity reduction occurs after the complexity of the traffic situation has been calculated. It was necessary to assess the influence of each STAM on the aircraft that increases complexity the most to identify the measure that offers the greatest reduction in traffic complexity. Four types of complexity reduction measures were used: capacity management, tactical rerouting, level capping and time delay (described in Section 2.3. Complexity Reduction Measures).
The capacity management measure considers sector reconfiguration (the number of sectors remains the same) and resectorisation (the number of sectors is increased by one). To implement this STAM, the model calculates complexity scores for all sector configurations and selects the configuration with the lowest value of the most complex sector.
Tactical rerouting relocates aircraft away from areas of high complexity, similar to pathfinding around clouds. The rerouting algorithm determines whether the aircraft should avoid a single cell with peak complexity or an entire hotspot area. Hotspot areas, shaped like elliptic cylinders extending from ground to maximum altitude, are chosen over circular ones to produce earlier avoiding actions and enable more realistic rerouting. The size of the rerouting area is determined by the semi-minor and semi-major axes of the elliptical base of the cylinder. For single-cell hotspot avoidance, the semi-minor axis equals the diagonal length of the cell (28.28 nm in this research), and the semi-major axis is increased by 50% (42.42 nm in this research). For multiple-cell hotspot avoidance, both axes are doubled. The algorithm assesses the complexity scores of surrounding cells to determine whether to resize the ellipse. If more than three of the surrounding cells have complexity scores exceeding 50% of the most complex cell, the entire area is considered a hotspot. Cells with convective weather, due to the pilot avoiding action, will have low complexity scores. Therefore, cloud-occupied cells are assigned complexity scores equivalent to the most complex cell to prevent false indications of hotspot size. Also, rerouting was limited to the total of 30 nm for single-cell rerouting and 50 nm for hotspot avoiding.
Level capping limits the flight planned altitude to guide aircraft below the complexity hotspot area. The level capping algorithm is triggered after the selection of the flight with the highest impact on the complexity. Level capping would consider FL changes of 20 FL.
Time delay measures, such as slot swapping and change in SID, result in delayed traffic within the en-route sectors considered in the research. On such occasions where the impact of time delay measures on traffic complexity was under assessment, incoming traffic would be delayed by 15 min.
To avoid penalising the same aircraft multiple times, individual aircraft could be issued with only one STAM, and capacity management measures linked to airspace restructuring could be executed once every 60 min. In case two STAMs have the same impact on the traffic complexity score, the algorithm follows the following logic:
  • Capacity management measures have the highest priority—based on experts’ opinion, this measure should be prioritised as it is the least disruptive measure that does not produce any penalisation for the flights;
  • Time delay measures should be applied before other STAMs—delay measures are prioritised as these measures do not produce any environmental impact and have the least impact on ATCO workload;
  • Level capping should be applied before tactical rerouting—level capping again produces less workload on ATCO; therefore, is prioritised over rerouting.
The algorithm for complexity calculation and reduction is as follows:
  • Allocate each aircraft to the corresponding complexity grid by using their simulated trajectories from the trajectory engine;
  • Use the extended PRU model to calculate traffic complexity for each cell of the grid;
  • Calculate sector complexity based on the sector opening scheme;
  • Identify the sector and timeframe with the highest complexity and locate the cell containing the local maximum;
  • Make a list of flights passing through that cell;
  • Identify which flight has the highest impact on the complexity by applying the leave-one-out method;
  • Use a “what-if” method for each STAM and identify the one that reduces the complexity the most;
  • Recalculate complexity on cell and sector levels;
  • Repeat the process to identify the four additional STAMs that most effectively reduce complexity.

4. Experimental Design

The airspace used in this research is the volume above Croatia and a portion of Bosnia and Herzegovina controlled by the Area Control Centre of Croatia’s ANSP (Figure 4). In most cases, the considered airspace is divided horizontally into three sectors: North, South and West, and vertically in four segments: Lower (from ground to FL325), Upper (from FL325 to FL255), High (from FL355 to FL375), and Top (from FL375). By combining different options of airspace division, the shift supervisor picks a sector configuration that is the most suitable for traffic demand.
In total, there are 17 traffic scenarios used for the experiment. These traffic scenarios are simulated as explained in Section 3.1 Trajectory Prediction (TP) Block. Simulated traffic scenarios rely on the flight plan data and sector opening schemes. Each scenario is coded to represent the date and time of the sample, e.g., “090713” corresponds to the 9th of July at 13:00 (all scenarios are from 2019). On each of the 17 traffic scenarios, multiple weather scenarios were applied. A unique combination of one traffic scenario and weather scenario creates one simulation run, resulting in 236 simulations. On top of that, for each traffic scenario, a corresponding scenario under nominal weather conditions is also created.
For each simulation run, a cumulative complexity score of the 20 min time step is calculated to identify the most complex sector and apply complexity reduction measures. Two methods are considered for complexity calculation: the standard PRU model and the extended PRU model. With such an approach, the total number of identified STAM sets is 489, where 17 sets are identified for nominal traffic scenarios and 236 STAM sets for each PRU model.

5. Results

In the following subsections, the complexity scores of the simulated traffic scenarios will be analysed to determine the impact of convective weather on traffic complexity. Afterwards, the effect of STAM on calculated traffic complexity will be investigated.

5.1. Complexity

Firstly, the results of the simulated traffic complexity score are compared with the complexity scores of actual traffic scenarios by using the standard PRU complexity model. Since simulated traffic considers weather data, actual and simulated aircraft trajectories should match. The model is validated by comparing the traffic complexity values from the simulated traffic with those from actual traffic. Validation results are presented in Table 2, which confirmed that simulated traffic complexity underestimated the actual traffic complexity in most cases, but over half of the simulated values were between 85% and 100%. The correlation between simulated and actual traffic complexity is 0.75, which suggests a strong connection between them. The differences come from several factors, and the most prominent one is the removal of waypoints from the historical flight data that creates differences in simulated and actual trajectories (explained in Section 3.1.1. Model Inputs). Other factors that contribute to these differences come from the pilots’ avoiding actions or how PRU complexity cells are positioned. However, with such satisfactory validation results and known reasons for the discrepancies, the rest of the complexity analysis could be continued.
Complexity scores of the most complex sector calculated with the standard and extended PRU model for each simulation run are recorded and compared to the nominal (without any weather) traffic complexity. The results are presented in Figure 5. In total, complexity is calculated for 489 simulation runs: 17 runs of nominal scenarios, 236 runs with the standard PRU model, and 236 runs with the extended PRU model. The calculated complexity values of the most complex sector are presented concerning the nominal scenario values. Green boxplots represent complexity calculated with the standard PRU and blue boxplots represent complexity calculated with the extended PRU. Although the mean values do not differ much from the nominal values (2.1% with the standard PRU and 3% with the extended PRU), differences increase significantly for the maximum recorded values (18% with the standard PRU and 21.8% with the extended PRU).
A better understanding of complexity scores and their distribution can be seen in Figure 6. In a violin plot, the width at a given point represents the density of the data at a particular value. Also, violin plots offer valuable insights into the presence of outliers. Each traffic scenario displays instances of outlying data, as depicted in Figure 6, where the complexity results are presented for the most complex sector per traffic scenario. When analysing complexity for the entire airspace, as in Figure 7, the results are less scattered, denser and overall complexity is lower, indicating more stable and reliable complexity scores.
The results of the complexity algorithm were put to a normality test to investigate if the data followed a normal distribution. When analysed separately for each traffic scenario, the complexity values did not exhibit normal behaviour. However, clear differences emerged when the data were grouped according to the four weather categories. As shown in Figure 8, complexity values corresponding to weather groups 2 and 4 follow a normal distribution, whereas those associated with weather group 3 are better described by a Weibull distribution. The results for weather group 1 are not reported, as the data do not conform to any recognised statistical distribution. The x-axis in Figure 8 represents the percentage of complexity calculated with the weather interaction indicator relative to the baseline complexity obtained without the weather indicator.

5.2. STAM Effect

After the complexity calculation comes the reduction in it. The model algorithm finds the sector with the highest complexity score and applies the STAM that reduces complexity the most. All traffic scenarios were subjected to a complexity reduction algorithm, whereby a total of 489 STAM sets were applied, with an average reduction in the baseline complexity of 19.36%. To ensure that the algorithm does not apply an excessive number of STAMs, i.e., when the impact of the measure is negligible or the reduction in complexity in one sector increases the complexity of another one, the impact of the first applied STAM and each subsequent one was studied.
Except for the effectiveness of the first and each subsequent STAM, the incidence of each measure per algorithm iteration provides information on what measure is the most common first choice and which is the most often used. Although resectorisation is the most common first STAM, level capping is the most frequent measure.
Table 3 presents the percentage of application for each STAM in the given complexity reduction algorithm iteration. The total number of STAM sets is 489: 472 STAM sets with weather scenarios included (calculated with standard and extended PRU complexity model) and 17 nominal scenarios without the weather. Of all the STAM sets, only 43 (9.1%) are identical to the set determined in the nominal conditions.

6. Discussion

6.1. Complexity

From the complexity results for the most complex sector, the mean complexity score increases when the weather is introduced and even more with the new complexity indicator, where the average mean and average maximum complexity scores reach their peak. While most traffic scenarios show an increase in the complexity score of the most complex sector, in some scenarios the traffic complexity is virtually unaffected by weather conditions. It can be assumed that in these scenarios, the traffic that generates the greatest complexity is concentrated in sectors that are not occupied by clouds. Also, the connection between convective weather and complexity is not always unambiguous. Clouds can tunnel traffic, thus creating higher complexity as there are more interactions between traffic. Clouds can also obstruct traffic flow in a way that all traffic that generates complexity is vectored to another sector. From Figure 5, traffic complexity can be reduced to 91% of the nominal value and increased to 184% of the nominal value. On average, convective weather conditions influence the complexity score of the most complex sector by 3% with the extended PRU model. The differences between the mean values of the standard PRU model and the extended PRU model prove that weather overall increases traffic complexity. As these differences are more significant for the recorded maximum values, it can be concluded that a specific combination of traffic scenarios and weather can largely increase traffic complexity. Analysing the examples that generate instances of excessive traffic complexity, the recorded maximum value belongs to weather group 3. Moreover, this weather group increases the complexity, with an average of 108%, exceeding other weather groups’ averages. Also, the extended PRU model on average increases traffic complexity by 0.86% compared to the standard PRU complexity. This number is higher for isolated maximum complexity scores (4.65%), but more importantly, these numbers prove that the most complex cell usually is not the cloud-occupied cell because of the early avoiding actions of the pilots. A similar conclusion can be seen from the boxplots in Figure 5, where several traffic scenarios (e.g., 190618, 090713 and 020816) present small deviations from the nominal scenarios. In these scenarios, it is reasonable to conclude that the most complex cells are not affected by convective weather. Furthermore, the boxplots demonstrate that while the mean values are mostly close to 1 (i.e., they do not differ as much from the nominal scenarios), they have the tendency for positive skewness (e.g., 190616, 190615, and 020716), indicating more frequent occurrences of increased traffic complexity.
The violin plots in Figure 6 and Figure 7 represent how for each traffic scenario there is evident dissipation of the complexity results combined with the presence of outliers. The inconsistency in values is even more evident when analysing the complexity scores for the most complex sector. When analysed from the macroscopic level where all sectors are observed together, the results per each traffic scenario demonstrate thicker plots that imply more frequent results of the same values. The thicker the plot, the less the data scattering is. It is important to note that traffic complexity is not only affected by weather; the sector with the highest complexity score might not necessarily be disturbed by convective weather. Consequently, traffic complexity scores within one traffic scenario are widely dispersed.
As weather scenarios in this research are grouped based on cloud characteristics (size and relative position), a normality test was used to analyse the data distribution per different weather groups. These results prove that weather characteristics are important when assessing weather’s impact on traffic. Weather affects the data distribution unpredictably due to its varied impact on traffic. Within the same weather group, the results tend to follow a normal or Weibull distribution, confirming that the weather impact should be analysed with the consideration of its characteristics such as size and relative position. As weather group 1 does not follow a normal or any other recognisable statistical distribution, the complexity values of scenarios with neighbouring clouds are hardly predictable, and the impact it will have on traffic can be various. Consequently, FMPs can expect that clouds within the sector, whether dispersed or not, will most likely increase traffic complexity.

6.2. STAM Effect

The complexity reduction algorithm selects the appropriate STAMs for the sector with the highest complexity score. The results demonstrate an average reduction of 19.63% in baseline complexity through the application of 489 STAM sets.
Resectorisation is the most common initial choice for STAMs, as this measure does not change the aircraft’s trajectory. Therefore, this measure is more desirable for airspace users. However, level capping is the most frequently used measure overall. The detailed analysis of the STAM effect on complexity score provides valuable insights into the effectiveness of each measure. Interestingly, only 9.1% (43 sets) of all STAM sets correspond to the nominal traffic scenarios’ STAM sets. Nearly 50% of corresponding STAM sets belong to weather group 2, characterised by a few small clouds. This suggests that weather group 2 has the smallest impact on STAM selection, as it often corresponds with nominal STAM sets. Weather group 2 is characterised by a few small clouds, where the weather effect on complexity is less compared to other complexity indicators. As previously mentioned, weather group 1 unpredictably affects complexity, leading to various selection of STAM sets. It is expected that weather groups 3 and 4 indicate less corresponding STAM sets compared to nominal ones, as the weather effect on complexity is more evident within these groups. This finding intensifies the effect of weather on traffic complexity, not only in its score but also in identifying the most appropriate STAM for complexity reduction.
It can be seen in Table 4 that across all four weather scenarios, the total complexity reduction remains highly stable at around 21–22%, indicating that the system converges to a similar efficiency level regardless of scenario-specific dominance patterns. In every scenario, resectorisation (RESECT), which represent reconfiguration of current sectors and an increase in the number of sectors, dominates the first iteration (approximately 51–56%), confirming that early disruption is the primary driver of initial complexity reduction. From the second to the fourth iteration, level capping STAM most often becomes the dominant state, highlighting its role as the key stabilising mechanism that consolidates gains generated earlier in the process. In contrast, time delay STAM emerges as a late-stage dominant state in weather scenario 4 and partially in scenario 3, demonstrating that alternative convergence paths can exist without materially affecting the overall reduction achieved. Finally, the steady decline in per-iteration reduction—from roughly 7.5% in the first iteration to about 2.5% in the fifth—clearly shows that complexity reduction is front-loaded, while later iterations primarily serve to preserve and stabilise earlier gains.
The evaluation of the first and successive STAMs prevents excessive application of the algorithm, particularly when the measure’s impact is negligible or when it could potentially increase complexity in other sectors. Additionally, the effectiveness of each additional measure decreases by approximately 2% after the first three STAMs. The average effect of the first STAM is 8.7% for the nominal scenario and 7.7% for the weather scenarios, that of the second STAM is 5.7% for the nominal and 4.6% for the weather scenarios, and that of the third STAM is 4.7% for the nominal and 5% for the weather scenarios. Although the standard deviation decreases with each algorithm iteration, it remains relatively high considering the STAM’s impact on complexity. For instance, the fourth STAM results in a traffic complexity reduction of 3.6% with a standard deviation of 3.4%. Additionally, the standard deviation is not significantly affected by the weather until the fifth STAM, where the standard deviation value for weather scenarios doubles compared to nominal weather scenarios. These observations confirm the ineffectiveness of excessive STAM application, as the expected contribution from more than four STAMs is reduced. A comparison of the STAM effect between the standard and extended PRU models demonstrates that while the means are similar, the upper and lower quartiles are higher in the extended PRU model. STAM has a smaller recognised impact in the expanded PRU model because the extended PRU model increases overall traffic complexity that, with this approach, spreads across more indicators. This is not necessarily an indication of reduced effectiveness of STAM but rather reflects the structure of the model and explains what an increased number of complexity indicators produces in simulation runs.

6.3. Limitations

One of the limitations of this is the PRU complexity model itself. The PRU model measures air traffic complexity by quantifying interactions between aircraft and expressing complexity as the ratio of the total interaction time to the time spent flying within a sector. Because this formulation depends strongly on airspace volume, the same aircraft interactions occurring in a smaller sector produce a higher complexity score due to reduced flight time, while a larger sector appears less complex even though the interaction time is unchanged. Although this scale dependency is acceptable for the model’s original macroscopic purpose, it becomes problematic in microscopic analyses. In this context, the STAM selection algorithm tended to avoid splitting the most complex sector, since doing so would shorten flight times without reducing interactions, thereby increasing calculated complexity. Conversely, the PRU formulation would favour merging the most complex sector with an adjacent one, as the added flight time lowers the combined sector’s complexity score. This methodological issue was ultimately addressed by constraining the STAM algorithm’s available choices.
The STAM selection in this study is limited to evaluating measures solely on the basis of achieved complexity reduction. The absence of explicit constraints related to operational cost, airspace user impact, and environmental considerations may limit alignment with real-world decision-making practices at Flow Management Positions.
Another limitation is the simplification of pilot actions for cloud avoidance. Even though A* was proven as a sufficient algorithm to simulate the cloud avoidance procedure, pilots’ logic and decision-making was not modelled within this research. In the proposed model, pilot decision-making regarding cloud avoidance is assumed as deterministic: the simulated pilot consistently avoids convective clouds while flying through thinner cloud layers. However, real-world observations show substantial variability, with some pilots penetrating convective weather and others deviating widely to avoid it. Modelling the pilot decision-making process would require the integration of historical flight trajectories with corresponding weather data in order to estimate the probability of cloud penetration and to identify the key meteorological and operational factors that influence a pilot’s decision to deviate around or fly through adverse weather. Such results could affect calculated complexity in a way to increase weather interaction indicator with potential reduction in interactions with other aircraft.
This study used historical weather data to determine complexity of the flown trajectories. Since the objective is to implement developed methodology into the ATM operations weather conditions should be modelled as probabilistic outcomes of a given forecast rather than as deterministic inputs. Probabilistic forecasting methods, such as Ensemble Weather Forecasting, generate multiple forecast realisations (members) that collectively represent the range of possible future weather states. For each ensemble member, a corresponding traffic complexity value can be computed. By aggregating the complexity scores across all members, it becomes possible to estimate the probability distribution of traffic complexity for a given scenario, rather than relying on a single deterministic complexity value.
Because of limitations in available meteorological data and computational resources, the traffic scenarios in this study were restricted to simulation periods of one hour. Extending the forecast look-ahead time in future analyses could influence STAM selection outcomes, as longer planning horizons may reveal evolving weather impacts and traffic interactions that are not visible within shorter simulation windows, potentially leading to different sector configurations or mitigation strategies.

6.4. Implementation

A STAM selection algorithm could be integrated into current ATM systems as a decision-support tool within existing flow and capacity management platforms. According to EUROCONTROL’s ATFCM operations manual [68], in the tactical phase of operations, FMP is employed to apply a Mandatory Cherry-Pick (MCP) regulation. MCP regulation is used as a measure to solve short peaks (e.g., 1 h or 1 h 30 min) of demand for a limited number of flights in congested areas. The method proposed in this research could be used as a decision-support tool to improve the selection of flights subject to MCP regulations. It may serve as part of a what-if analysis framework, providing Flow Management Positions (FMPs) with insight into the expected effectiveness of a selected STAM measure, or as an advisory tool suggesting an optimal combination of STAM measures. The underlying assumption of this research is that the application of STAM measures would not increase ATC workload, as the necessary coordination would be managed by the Flow Management Position (FMP). On the contrary, by reducing traffic complexity, the implementation of STAM measures is expected to decrease controllers’ workload.
Due to the inherent limitations of reliable weather forecasting, such a tool would be most effective within a two- to three-hour window prior to the anticipated complexity peak. Its reliability would gradually decrease as the forecast look-ahead time increases.
Also, this research assumes full airline acceptance of STAM measures, meaning that no refusals or non-compliance by airspace users are considered in the analysis. A refusal of an airline to comply with a STAM measure would reduce the effectiveness of the intended complexity reduction, which would result in application of conventional airspace regulations.

7. Conclusions

This research proposes a method for STAM selection that tackles the issue of increased air traffic complexity in the context of convective weather conditions. There are many traffic complexity methods, but rarely do they calculate the impact of convective weather on traffic complexity. This method enhances the already developed interaction-based complexity model with additional indicators regarding the weather interactions.
In this method, traffic is simulated while considering flight plans, airspace, meteorological and performance data. The traffic complexity of simulated traffic with the extended PRU model underestimates the complexity of actual traffic, but over half of the simulated traffic values are between 85% and 100% of actual traffic complexity. The results from the complexity calculation with the standard PRU model and extended PRU model proved that, on average, weather conditions increase traffic complexity of the most complex sector by 3%. Maximum values are significantly higher (21.8% for the extended PRU model), which stresses the importance of predicting and assessing weather conditions, as specific combinations of traffic and weather scenarios produce high complexity.
Also, this research proposes a method for STAM selection that is applicable to weather-affected traffic. With this method, traffic complexity is reduced by 19.63% of baseline traffic complexity. The analysis of the STAM effect on complexity proved that above four STAM measures, the positive impact of measures decreases. Also, the most common first choice of STAM is a capacity management measure that is more favourable to airspace users as it does not affect aircraft trajectories. Also, STAMs applied to the nominal traffic scenario correspond to 9.1% of the STAM sets applied to weather-included traffic scenarios, which proves that the position of the most complex cell and the measure that affects complexity the most is influenced by weather. The application of complexity reduction measures without considering weather phenomena could contribute to insufficient complexity reduction and inappropriate traffic management.
To maintain balanced sector capacity and traffic demand, it is important to identify factors that are affecting it and apply a method that can accurately predict their impact on both sector capacity and demand. The presented method helps decision-makers anticipate these factors and supports them with adequate complexity reduction measures.
As this research addresses the air traffic complexity reduction in the presence of convective weather, several challenges and opportunities for further research and improvement should be noted. Enhancing the accuracy and reliability of trajectory prediction models to consider the dynamic nature of convective weather and its impact on aircraft behaviour. The incorporation of real-time weather data and advanced forecasting techniques can contribute to more precise trajectory predictions. Additionally, the selection and evaluation of STAMs should consider more factors, such as environmental impact and cost-effectiveness. Collaboration between ANSPs, meteorological agencies, and researchers is essential to gather the necessary data, improve methods, and validate the effectiveness of complexity reduction measures.
Within this study, a limitation of the PRU model at the microscopic level is identified, particularly its sensitivity to airspace volume and its reliance on potential rather than actual aircraft interactions. Future research should focus on developing normalisation methods to enable comparisons between airspaces of different volumes, as well as improving temporal interaction detection techniques. An expansion of an observed airspace to surrounding ANSPs could potentially produce better results in the selection of complexity reduction measures.
The modelling framework could be further improved by introducing probabilistic elements. Aircraft performance assumptions based on standard BADA parameters overlook real-world variability in mass and cost index, which could be modelled stochastically using historical data. Pilot behaviour in convective weather should also be treated probabilistically, as real avoidance strategies vary; combining trajectory analysis with storm data could support probability-based avoidance models.
Weather data should be incorporated as a probabilistic input using ensemble forecasts. By calculating traffic complexity for multiple weather realisations and aggregating the results, the model could produce a probability distribution of complexity rather than a single deterministic estimate, providing a more realistic representation of operational uncertainty.
The decomposition of convective weather into distinct characteristics, such as spatial extent, intensity, movement, and duration, represents a valuable direction for future research. Analysing the individual and combined effects of these factors could provide a more detailed understanding of how different convective phenomena influence air traffic complexity. Such an approach would also support the development of more refined and computationally efficient complexity indicators.
Future research should assess the environmental impact of STAM measures, particularly in terms of changes in fuel burn, emissions, and flight efficiency resulting from rerouting or level-capping strategies. Integrating environmental performance metrics into STAM evaluation frameworks would support more sustainable decision-making alongside capacity and complexity considerations.
Future research should focus on extending the proposed methodology toward a more comprehensive optimisation framework. One important direction concerns the sequencing of STAMs, as different application orders may lead to different complexity reduction outcomes even when the same set of measures is applied. Addressing this aspect would require an optimisation approach capable of capturing interaction effects between consecutive STAMs under dynamic convective weather conditions. In parallel, further work should explore alternative methods for assessing individual aircraft contributions to complexity that go beyond the leave-one-out approximation. While the leave-one-out approach provides a transparent and computationally efficient estimate of the impact, more advanced multivariate metrics could better capture nonlinear interaction effects in dense traffic situations. Integrating these extensions would improve the representativeness of STAMs and further align the methodology with FMP decision-making while preserving operational interpretability.
In conclusion, the integration of the proposed method can improve the efficiency, safety, and sustainability of ATM. The proposed method provides a foundation for further research, intending to improve sector capacity, reduce delays, and optimise the use of airspace resources.

Author Contributions

Conceptualisation, P.A., K.S. and T.R.; methodology, P.A., K.S. and T.R.; validation, P.A. and K.S.; investigation, K.S., P.A. and T.R.; writing—original draft preparation, P.A.; writing—review and editing, P.A., B.A.-F. and T.R.; visualisation, P.A. and K.S.; supervision, T.R. and B.A.-F. All authors have read and agreed to the published version of the manuscript.

Funding

This research was funded by the European Union—NextGenerationEU as part of the institutional research project of the University of Zagreb, Faculty of Transport and Traffic Sciences (project: DECENT-ATM).

Data Availability Statement

The raw data supporting the conclusions of this article will be made available by the authors on request.

Acknowledgments

This product/document has been created with or contains elements of Base of Aircraft Data (BADA) Family 3 Release 3.16, which has been made available by Eurocontrol to the Faculty of Transport and Traffic Sciences. Eurocontrol has all relevant rights to BADA ©2021 The European Organisation for the Safety of Air Navigation (Eurocontrol). All rights reserved. EUROCONTROL shall not be liable for any direct, indirect, incidental or consequential damages arising out of or in connection with this product or document, including with respect to the use of BADA.

Conflicts of Interest

The authors declare no conflicts of interest.

Abbreviations

The following abbreviations are used in this manuscript:
ANSPAir Navigation Service Provider
APMAircraft Performance Model
ATCOAir Traffic Control Officer
ATFMAir Traffic Flow Management
BADABase of Aircraft Data
CDAContinuous Descent Arrival
CODACentral Office for Delay Analysis
dDCBbDynamic Demand Capacity Balancing
FMPFlow Management Position
FMSFight Management System
MDIMinimum Departure Interval
MITMiles in Trail
PRUPerformance Review Unit
SIDStandard Instrument Departure Route
STAMShort-term Air Traffic Flow and Capacity Management Measures

References

  1. SESAR JU. European ATM Master Plan; SESAR Joint Undertaking: Luxembourg, 2020. [Google Scholar]
  2. EUROCONTROL. European Aviation Overview; EUROCONTROL: Brussels, Belgium, 2026. [Google Scholar]
  3. EUROCONTROL. Seven-Year Forecast 2025–2031; EUROCONTROL: Brussels, Belgium, 2025. [Google Scholar]
  4. EUROCONTROL. Aviation Outlook 2050; EUROCONTROL: Brussels, Belgium, 2022. [Google Scholar]
  5. EUROCONTROL. Central Office for Delay Analysis—CODA All-Causes Delays to Air Transport in Europe (CODA Digest); EUROCONTROL: Brussels, Belgium, 2025. [Google Scholar]
  6. Cook, A.; Tanner, G. European Airline Delay Cost Reference Values—Updated and Extended Values; University of Westminster: London, UK, 2015. [Google Scholar]
  7. EUROCONTROL. Performance Review Commission Performance Review Report; EUROCONTROL: Brussels, Belgium, 2023. [Google Scholar]
  8. Christien, R.; Benkouar, A.; Chaboud, T.; Loubieres, P. Air traffic complexity indicators & ATC sectors classification. In Proceedings of the 21st Digital Avionics Systems Conference, Irvine, CA, USA, 24 November 2002. [Google Scholar]
  9. Sridhar, B.; Chatterji, G.; Sheth, K.; Edwards, T. Airspace Complexity and Its Application in Air Traffic Management. In 2nd USA/EUR Air Traffic Management R&D Seminar; Federal Aviation Administration: Washington, DC, USA, 1998. [Google Scholar]
  10. Lee, K.; Feron, E.; Pritchett, A. Air Traffic Complexity: An Input-Output Approach. In Proceedings of the 2007 American Control Conference, New York, NY, USA, 9–13 July 2007. [Google Scholar]
  11. Histon, J.M.; Hansman, R.J.; Aigoin, G.; Delahaye, D.; Puechmorel, S. Introducing Structural Considerations into Complexity Metrics. Air Traffic Control Q. 2002, 10, 115–130. [Google Scholar] [CrossRef]
  12. Histon, J.M.; Hansman, R.J.; Gottlieb, B.; Kleinwaks, H.; Yenson, S.; Delahaye, D.; Puechmorel, S. Structural Considerations and Cognitive Complexity in Air Traffic Control. In Proceedings of the 21st Digital Avionics Systems Conference, Irvine, CA, USA, 24 November 2002. [Google Scholar]
  13. SESAR Joint Undertaking. Enhanced DCB OSED for Step 1; SESAR Joint Undertaking: Brussels, Belgium, 2016. [Google Scholar]
  14. DeLaura, R.; Robinson, M.; Pawlak, M.; Evans, J. Modeling Convective Weather Avoidance in Enroute Airspace. In Proceedings of the 13th Conference on Aviation, Range, and Aerospace Meteorology, AMS, New Orleans, LA, USA, 20–24 January 2008. [Google Scholar]
  15. European Aviation Safety Agency. Weather Information to Pilots Strategy Paper; EASA: Cologne, Germany, 2018. [Google Scholar]
  16. Rhoda, D.A.; Kocab, E.A.; Pawlak, M.L. Aircraft Encounters with Thunderstorms in Enroute vs. Terminal Airspace above Memphis, Tennessee. In Proceedings of the 10th Conference on Aviation, Range, and Aerospace Meteorology, New Orelans, LA, USA, 13–16 May 2002. [Google Scholar]
  17. Mitchell, J.; Polishchuk, V.; Krozel, J. Airspace Throughput Analysis Considering Stochastic Weather. In Proceedings of the AIAA Guidance, Navigation, and Control Conference and Exhibit, Keystone, CO, USA, 21–24 August 2006. [Google Scholar]
  18. Hauf, T.; Sakiew, L.; Sauer, M. Adverse Weather Diversion Model DIVMET. J. Aerosp. Oper. 2013, 2, 115–133. [Google Scholar] [CrossRef]
  19. Steiner, M.; Bateman, R.; Megenhardt, D.; Liu, Y.; Xu, M.; Pocernich, M.; Krozel, J. Translation of Ensemble Weather Forecasts into Probabilistic Air Traffic Capacity Impact. Air Traffic Control Q. 2010, 18, 229–254. [Google Scholar] [CrossRef]
  20. Song, L.; Wanke, C.; Zobell, S.; Greenbaum, D.; Jackson, C. Methodologies of Estimating the Impact of Severe Weather on Airspace Capacity. In Proceedings of the 26th Congress of ICAS and 8th AIAA ATIO; American Institute of Aeronautics and Astronautics: Anchorage, AK, USA, 2008. [Google Scholar]
  21. Chen, J.; Cai, K.; Li, W.; Tang, S.; Fang, J. An Airspace Capacity Estimation Model Based on Spatio-Temporal Graph Convolutional Networks Considering Weather Impact. In Proceedings of the 2021 IEEE/AIAA 40th Digital Avionics Systems Conference (DASC), San Antonio, TX, USA, 3–7 October 2021; pp. 1–7. [Google Scholar]
  22. EUROCONTROL. Complexity Metrics for ANSP Benchmarking Analysis; EUROCONTROL: Brussels, Belgium, 2006. [Google Scholar]
  23. Mogford, R.H.; Guttman, J.A.; Morrow, S.L.; Kopardekar, P. The Complexity Construct in Air Traffic Control: A Review and Synthesis of the Literature; Storming Medija: Rickmansworth, UK, 1995; p. 32. [Google Scholar]
  24. Prandini, M.; Piroddi, L.; Puechmorel, S.; Brazdilova, S.L. Toward Air Traffic Complexity Assessment in New Generation Air Traffic Management Systems. IEEE Trans. Intell. Transp. Syst. 2011, 12, 809–818. [Google Scholar] [CrossRef]
  25. Hurst, M.W.; Rose, R.M. Objective Job Difficulty, Behavioural Response, and Sector Characteristics in Air Route Traffic Control Centres. Ergonomics 1978, 21, 697–708. [Google Scholar] [CrossRef]
  26. Stein, E.S. Air Traffic Controller Workload: An Exmaination of Workload Probe; U.S. Department of Transportation Federal Aviation Administration: Atlantic City, NJ, USA, 1985. [Google Scholar]
  27. Chatterji, G.; Sridhar, B. Measures for Air Traffic Controller Workload Prediction. In Proceedings of the 1st AIAA, Aircraft, Technology Integration, and Operations Forum, Los Angeles, CA, USA, 16–18 October 2001. [Google Scholar]
  28. Kopardekar, P.; Magyarits, S. Measurement and Prediction of Dynamic Density. In Proceedings of the 5th USA/Europe Air Traffic Management R&D Seminar, Budapest, Hungary, 23–27 June 2003. [Google Scholar]
  29. Kopardehr, P.; Magyarits, S. Dynamic density: Measuring and predicting sector complexity [ATC]. In Proceedings of the 21st Digital Avionics Systems Conference, Irvine, CA, USA, 29–31 October 2002. [Google Scholar]
  30. Kopardekar, P.; Schwartz, A.; Magyarits, S.; Rhodes, J. Airspace Complexity Measurement: An Air Traffic Control Simulation Analysis. In Proceedings of the US/Europe 7th Air Traffic Management Seminar, Barcelona, Spain, 2–5 July 2007. [Google Scholar]
  31. Masalonis, A.J.; Callaham, M.B.; Wanke, C.R. Dynamic Density and Complexity Metrics for Real-Time Traffic Flow Management. In Proceedings of the 5th USA/Europe Air Traffic Management R&D Seminar, Budapest, Hungary, 23–27 June 2003. [Google Scholar]
  32. Klein, A.; Rodgers, M.D.; Leiden, K. Simplified Dynamic Density: A metric for dynamic airspace configuration and NextGen analysis. In Proceedings of the IEEE/AIAA 28th Digital Avionics Systems Conference, Orlando, FL, USA, 25–29 October 2009. [Google Scholar]
  33. Laudeman, I.V.; SheIden, S.G.; Branstrom, R.; BrasiI, C.L. Dynamic Density: An Air Traffic Management; NASA: Washington, DC, USA, 1998. [Google Scholar]
  34. Gianazza, D. Forecasting Workload and Airspace Configuration with Neural Networks and Tree Search Methods. Artif. Intell. 2010, 174, 530–549. [Google Scholar] [CrossRef]
  35. Gianazza, D. Smoothed Traffic Complexity Metrics for Airspace Configuration Schedules. In Proceedings of the 3rd International Conference on Research in Air Transportation, Fairfax, VA, USA, 1–4 June 2008. [Google Scholar]
  36. Gianazza, D.; Guittet, K. Evaluation of Air Traffic Complexity Metrics. In Proceedings of the IEEE/AIAA 25th Digital Avionics Systems Conference, Baltimore, MD, USA, 15–19 October 2006. [Google Scholar]
  37. Pawlak, W.; Brinton, C.; Crouch, K.; Lancaster, K. A framework for the evaluation of air traffic control complexity. In Proceedings of the Guidance, Navigation, and Control Conference, San Diego, CA, USA, 29–31 July 1996. [Google Scholar]
  38. Antulov-Fantulin, B.; Juričić, B.; Radišić, T.; Çetek, C. Determining Air Traffic Complexity—Challenges and Future Development. Promet. Traffic Transp. 2020, 32, 475–485. [Google Scholar] [CrossRef]
  39. Khan, W.A.; Ma, H.-L.; Chung, S.-H.; Wen, X. Hierarchical Integrated Machine Learning Model for Predicting Flight Departure Delays and Duration in Series. Transp. Res. Part C Emerg. Technol. 2021, 129, 103225. [Google Scholar] [CrossRef]
  40. Dalmau, R.; Ballerini, F.; Naessens, H.; Belkoura, S.; Wangnick, S. An Explainable Machine Learning Approach to Improve Take-off Time Predictions. J. Air Transp. Manag. 2021, 95, 102090. [Google Scholar] [CrossRef]
  41. Bastas, A.; Kravaris, T.; Vouros, G.A. Data Driven Aircraft Trajectory Prediction with Deep Imitation Learning. arXiv 2020, arXiv:2005.07960. [Google Scholar] [CrossRef]
  42. Hernández, A.M.; Casado Magaña, E.J.; Berna, A.G. Data-Driven Aircraft Trajectory Predictions Using Ensemble Meta-Estimators. In Proceedings of the 2018 IEEE/AIAA 37th Digital Avionics Systems Conference (DASC), London, UK, 23–27 September 2018; pp. 1–10. [Google Scholar]
  43. Pang, Y.; Zhao, X.; Yan, H.; Liu, Y. Data-Driven Trajectory Prediction with Weather Uncertainties: A Bayesian Deep Learning Approach. Transp. Res. Part C Emerg. Technol. 2021, 130, 103326. [Google Scholar] [CrossRef]
  44. Zeng, W.; Chu, X.; Xu, Z.; Liu, Y.; Quan, Z. Aircraft 4D Trajectory Prediction in Civil Aviation: A Review. Aerospace 2022, 9, 91. [Google Scholar] [CrossRef]
  45. National Oceanic and Atmospheric Administration National Weather Service. Available online: https://forecast.weather.gov/glossary.php?word=CONVECTION (accessed on 4 February 2026).
  46. Lin, J.; Qian, T.; Bechtold, P.; Grell, G.; Zhang, G.J.; Zhu, P.; Freitas, S.R.; Barnes, H.; Han, J. Atmospheric Convection. Atmos. Ocean 2022, 60, 422–476. [Google Scholar] [CrossRef]
  47. Cho, J.Y.N.; Welch, J.D.; Underhill, N.K. Analytical Workload Model for Estimating En Route Sector Capacity in Convective Weather. In Proceedings of the 9th USA/Europe ATM R&D Seminar, Berlin, Germany, 14–17 June 2011. [Google Scholar]
  48. Welch, J.; Cho, J.; Underhill, N.; Delaura, R. Sector workload model for benefits analysis and convective weather capacity prediction. In Proceedings of the 10th USA/Europe Air Traffic Management Research and Development Seminar, Chicago, IL, USA, 10–13 June 2013. [Google Scholar]
  49. Krozel, J.; Mitchell, J.; Polishchuk, V.; Prete, J. Capacity estimation for airspaces with convective weather constraints. In Proceedings of the AIAA Guidance, Navigation and Control Conference, Hilton Head, SC, USA, 20–23 August 2007; Volume 2, pp. 1518–1532. [Google Scholar]
  50. Pfeil, D.M.; Balakrishnan, H. Identification of robust terminal-area routes in convective weather. Transp. Sci. 2012, 46, 56–73. [Google Scholar] [CrossRef]
  51. Hentzen, D.; Kamgarpour, M.; Soler, M.; González-Arribas, D. On maximizing safety in stochastic aircraft trajectory planning with uncertain thunderstorm development. Aerosp. Sci. Technol. 2018, 79, 543–553. [Google Scholar] [CrossRef]
  52. Prete, J.; Mitchell, J. Safe Routing of Multiple Aircraft Flows in the Presence of Time-Varying Weather Data. In Proceedings of the AIAA Guidance, Navigation, and Control Conference and Exhibit, Providence, RI, USA, 16–19 August 2004. [Google Scholar]
  53. Marzuoli, A.; Feron, E.; Vela, A. Analysis of Airspace Degradation and Optimization of En-Route Traffic Under Degraded Conditions. In Proceedings of the IEEE/AIAA 31st Digital Avionics Systems Conference, Williamsburg, VA, USA, 14–18 October 2012. [Google Scholar]
  54. Reynolds, T.G.; Matthews, M.; Enea, G.; Cushnie, B. Weather-Aware Integrated Air Traffic Management Technology Development. In Proceedings of the SESAR Innovation Days, Seville, Spain, 27–30 November 2023. [Google Scholar]
  55. Patriarca, R.; Simone, F.; Di Gravio, G. Supporting Weather Forecasting Performance Management at Aerodromes through Anomaly Detection and Hierarchical Clustering. Expert Syst. Appl. 2023, 213, 119210. [Google Scholar] [CrossRef]
  56. Wang, S.J.; Li, Y.L.; Yang, B.T.; Duan, R.R. Modeling Sector Route Segment Capacity under Convective Weather Based on Machine Learning. Aeronaut. J. 2025, 129, 506–527. [Google Scholar] [CrossRef]
  57. Porretta, M.; Dupuy, M.-D.; Schuster, W.; Majumdar, A.; Ochieng, W. Performance Evaluation of a Novel 4D Trajectory Prediction Model for Civil Aircraft. J. Navig. 2008, 61, 393–420. [Google Scholar] [CrossRef]
  58. Mikuš, P.; Telišman Prtenjak, M.; Strelec Mahović, N. Analysis of the Convective Activity and Its Synoptic Background over Croatia. Atmos. Res. 2012, 104–105, 139–153. [Google Scholar] [CrossRef]
  59. EUROCONTROL. All-Causes Delay and Cancellations to Air Transport in Europe—CODA Digest; EUROCONTROL: Brussels, Belgium, 2020. [Google Scholar]
  60. Ueland, E.; Skjetne, R.; Dahl, A.R. Marine Autonomous Exploration Using a Lidar and SLAM. In Proceedings of the International Conference on Offshore Mechanics and Arctic Engineering, Trondheim, Norway, 25–30 June 2017. [Google Scholar]
  61. Ramee, C.; Kim, J.; Deguignet, M.; Justin, C.; Briceno, S.; Mavris, D. Aircraft Flight Plan Optimization with Dynamic Weather and Airspace Constraints. In Proceedings of the International Conference for Research in Air Transportation, Virtual, 4–5 November 2020. [Google Scholar]
  62. Sáez, R.; Prats, X.; Polishchuk, T.; Polishchuk, V.; Schmidt, C. Automation for Separation with Continuous Descent Operations: Dynamic Aircraft Arrival Routes. J. Air Transp. 2020, 28, 144–154. [Google Scholar] [CrossRef]
  63. Janssen, J. Capacity-Based Arrival Sequencing and Trajectory Optimization for Continuous Descent Operations. Master’s Thesis, TU Delft—Aerospace Engineering, Delft, The Netherlands, 2019. [Google Scholar]
  64. Lovegren, J.A. Estimation of Potential Aircraft Fuel Burn Reduction in Cruise via Speed and Altitude Optimization Strategies. Master’s Thesis, Massachusetts Institute of Technology, Cambridge, MA, USA, 2011. [Google Scholar]
  65. Pargett, D.; Ardema, M. Flight Path Optimization at Constant Altitude. J. Guid. Control Dyn. 2007, 30, 1197–1201. [Google Scholar] [CrossRef]
  66. EUROCONTROL. User Manual for the Base of Aircraft Data (BADA); EUROCONTROL: Brussels, Belgium, 2004. [Google Scholar]
  67. Andrés, E.; García-Heras, J.; González, D.; Soler, M.; Radišić, T.; Andraši, P.; Valenzuela, A.; Franco, A.; Nunez-Portillo, J.; Rivas, D. Probabilistic Analysis of Air Traffic in Adverse Weather Scenarios. In Proceedings of the International Conference on Research in Air Transportation, Tampa, FL, USA, 19–23 June 2022. [Google Scholar]
  68. EUROCONTROL. ATFCM Operations Manual; EUROCONTROL: Brussels, Belgium, 2022. [Google Scholar]
Figure 1. Model architecture.
Figure 1. Model architecture.
Applsci 16 01953 g001
Figure 2. Trajectory engine architecture.
Figure 2. Trajectory engine architecture.
Applsci 16 01953 g002
Figure 3. Example of weather scenario groups.
Figure 3. Example of weather scenario groups.
Applsci 16 01953 g003
Figure 4. Experiment’s airspace.
Figure 4. Experiment’s airspace.
Applsci 16 01953 g004
Figure 5. Complexity of the most complex sector—comparison of standard PRU and extended PRU model regarding the nominal scenario.
Figure 5. Complexity of the most complex sector—comparison of standard PRU and extended PRU model regarding the nominal scenario.
Applsci 16 01953 g005
Figure 6. Complexity of the most complex sector per each traffic scenario.
Figure 6. Complexity of the most complex sector per each traffic scenario.
Applsci 16 01953 g006
Figure 7. Complexity of the entire airspace per each traffic scenario.
Figure 7. Complexity of the entire airspace per each traffic scenario.
Applsci 16 01953 g007
Figure 8. Complexity data distribution per weather group.
Figure 8. Complexity data distribution per weather group.
Applsci 16 01953 g008
Table 1. Modified complexity dimensions and indicators.
Table 1. Modified complexity dimensions and indicators.
Complexity DimensionIndicator
Traffic densityAdjusted density
Traffic in evolutionPotential vertical interactions (VDIF)
Flow structurePotential horizontal interactions (HDIF)
Traffic mixPotential speed interactions (SDIF)
Traffic in avoidingWeather interactions indicator (WDIF)
Table 2. Model validation.
Table 2. Model validation.
Traffic ScenarioActual Traffic ComplexitySimulated Traffic ComplexityRatio Simulated/Actual Traffic Complexity
16061012.2912.30100%
16061112.6312.4298%
19061510.219.8296%
19061610.449.3690%
1906188.169.67119%
21061111.559.8886%
0207168.469.64114%
06071613.3912.3092%
07071014.5212.9189%
07071113.7410.7979%
07071415.0712.0280%
09071312.6210.2581%
09071412.2410.0382%
13071013.3611.5486%
13071211.5210.7693%
0208169.5610.56110%
01091110.279.5193%
Table 3. Application of STAM per algorithm iteration.
Table 3. Application of STAM per algorithm iteration.
Level CapTime DelayHorizontal ChangeResectorisation
1st STAM17.37%21.82%8.89%5.92%
2nd STAM38.79%33.94%13.33%13.94%
3rd STAM42.83%13.94%16.16%27.07%
4th STAM36.36%25.45%21.41%16.77%
5th STAM31.52%33.74%24.24%10.5%
Table 4. Cross-referenced weather types matrix.
Table 4. Cross-referenced weather types matrix.
Weather Group 1Weather Group 2Weather Group 3Weather Group 4
Dominant STAMSTAM LCSTAM LCSTAM LCSTAM TD
Total complexity reduction22.17%21.39%21.85%21.20%
Dominant STAM per iteration (% usage)1stRESECT (52%)RESECT (51%)RESECT (56%)RESECT (54%)
2ndSTAM LC (48%)STAM LC (36%)STAM LC (39%)STAM TD (42%)
3rdRESECT (45%)STAM LC (48%)STAM LC (38%)STAM LC (44%)
4thSTAM LC (42%)STAM LC (33%)STAM LC (38%)RESECT (27%)
5thSTAM LC (48%)STAM LC (34%)STAM TD (39%)STAM TD (34%)
Dominant STAM per iteration1st7.45%7.62%7.62%7.17%
2nd5.51%4.82%4.38%4.38%
3rd6.08%4.82%4.82%4.82%
4th2.75%3.56%3.56%3.56%
5th2.47%2.58%2.58%2.58%
Disclaimer/Publisher’s Note: The statements, opinions and data contained in all publications are solely those of the individual author(s) and contributor(s) and not of MDPI and/or the editor(s). MDPI and/or the editor(s) disclaim responsibility for any injury to people or property resulting from any ideas, methods, instructions or products referred to in the content.

Share and Cite

MDPI and ACS Style

Andraši, P.; Samardžić, K.; Radišić, T.; Antulov-Fantulin, B. A Novel Method for STAM Selection Promises Significant Air Traffic Complexity Reduction in Convective Weather Conditions. Appl. Sci. 2026, 16, 1953. https://doi.org/10.3390/app16041953

AMA Style

Andraši P, Samardžić K, Radišić T, Antulov-Fantulin B. A Novel Method for STAM Selection Promises Significant Air Traffic Complexity Reduction in Convective Weather Conditions. Applied Sciences. 2026; 16(4):1953. https://doi.org/10.3390/app16041953

Chicago/Turabian Style

Andraši, Petar, Kristina Samardžić, Tomislav Radišić, and Bruno Antulov-Fantulin. 2026. "A Novel Method for STAM Selection Promises Significant Air Traffic Complexity Reduction in Convective Weather Conditions" Applied Sciences 16, no. 4: 1953. https://doi.org/10.3390/app16041953

APA Style

Andraši, P., Samardžić, K., Radišić, T., & Antulov-Fantulin, B. (2026). A Novel Method for STAM Selection Promises Significant Air Traffic Complexity Reduction in Convective Weather Conditions. Applied Sciences, 16(4), 1953. https://doi.org/10.3390/app16041953

Note that from the first issue of 2016, this journal uses article numbers instead of page numbers. See further details here.

Article Metrics

Back to TopTop