Next Article in Journal
Volumetric and Linear Adaptation of an Indirect Adhesive Restoration: Comparison of Chairside 3D Printing and Milling Techniques
Next Article in Special Issue
AI-Driven Random Forest Model and the Six Sigma Approach for Enhancing Offset Printing Process and Product Quality
Previous Article in Journal
Software Project Risk Identification Based on Scrum Artifacts
Previous Article in Special Issue
3D Printed Microfluidic Separators for Solid/Liquid Suspensions
 
 
Font Type:
Arial Georgia Verdana
Font Size:
Aa Aa Aa
Line Spacing:
Column Width:
Background:
Article

Multi-Objective Optimization of Injection Parameters and Energy Consumption Based on ANN-Differential Evolution

1
Master Program in Industrial Engineering Department, Faculty of Industrial Technology, Bandung Institute of Technology, Jl. Ganesha 10, Bandung 40132, Indonesia
2
R&D Center for Smart Manufacturing, Chung Yuan Christian University, Taoyuan 32023, Taiwan
3
Department of Mechanical Engineering, Chung Yuan Christian University, Taoyuan 32023, Taiwan
4
Faculty of Industrial Technology, Industrial Engineering Department, Bandung Institute of Technology, Jl. Ganesha 10, Bandung 40132, Indonesia
*
Author to whom correspondence should be addressed.
Appl. Sci. 2025, 15(2), 826; https://doi.org/10.3390/app15020826
Submission received: 9 November 2024 / Revised: 29 December 2024 / Accepted: 10 January 2025 / Published: 16 January 2025

Abstract

Injection molding (IM) is one complex manufacturing process characterized by nonlinear behavior. Unlike classic linear modeling techniques like simple regression, many machine learning (ML) models have the ability to adjust to the nonlinear behaviors and interactions between input and output parameters. Artificial neural networks (ANNs) specifically have demonstrated exceptional performance in problems involving nonlinear modeling. This work will employ complete factorial design of experiments (DoE) to acquire a dataset which is both resilient and suitable for training, validation, and testing purposes. The predictive model demonstrated outstanding performance throughout the training, validation, and test sets. The aggregate R2 values for the training, validation, and tests datasets were 97.58%, 93.76%, and 91.31%, respectively, demonstrating a strong ability to accurately foresee outcomes. Differential evolution (DE) successfully achieved a 2% decrease in weight and a notable 14% decrease in energy consumption. The results indicate that combining an ANN with DE is a viable approach for enhancing injection molding parameters, especially in scenarios with multiple objectives.

1. Introduction

Numerous items, including automotive components, home appliance housings, and mobile device cases, have been successfully manufactured through the injection molding process [1]. The quality of manufactured products encompasses various aspects, including surface defects, adherence to geometric dimensions, and mechanical strength. Among these factors, the part weight serves as a crucial indicator to assess potential underfilling, overfilling, or the presence of defects such as voids and flashes [2]. Due to the ease of weight measurement and the ability to be performed before complete cooling, part weight assessment has become the most prevalent method for initial quality inspection in injection molding. In this process, adjustments to machine parameters directly influence the quality of the final plastic components [3].
IM process parameters, which involve high-temperature heating, forced cooling, and high pressure, are energy-intensive and sensitive to quality. The energy efficiency of injection molding remains notably low, with only 50–60% of the total energy being utilized in the forming process [4]. Two distinct approaches are commonly employed to reduce energy consumption in injection molding: enhancing the machinery (including hardware and auxiliary equipment) or optimizing the processing parameters [5]. Researchers have investigated various parameters affecting energy consumption in injection molding to optimize the process and reduce energy use. The cycle time, including packing and cooling times, significantly impacts energy consumption. Reducing these times can lead to substantial energy savings without compromising part quality [6]. Higher injection speeds can reduce the cycle time but may lead to defects like short shots and weld lines [7]. Both the melt and mold temperatures are crucial parameters. Lowering these temperatures can reduce energy consumption while maintaining part quality [8,9]. The optimal settings for the melt temperature and mold temperature have been identified for energy efficiency [10]. Lowering the screw rotational speed and back pressure can minimize energy consumption. The optimal settings identified include a screw speed of 40 r/min and a back pressure of 1 MPa [11]. The type of power unit and motor significantly affect energy consumption. Servo motors and variable displacement pumps are more energy-efficient compared with fixed-displacement pumps driven by asynchronous motors [12]. The configuration of cooling channels and the flow rate of the coolant are important. Reducing the coolant flow rate by optimizing the cooling system can lead to significant energy savings without affecting part quality [13]. Engineers or operators are required to set up production machines quickly to minimize downtime. Depending on the process complexity and the engineer’s or operator’s capabilities, manual optimization based on expert knowledge and trial and error can be time-consuming, leading to unexpected delays, significant waste, and suboptimal results for various processes [14].
Unlike established linear modeling techniques such as simple regression, many ML models can adapt to the nonlinear behaviors and relationships between the input and output parameters. Artificial neural networks (ANNs) in particular have shown superior performance in nonlinear modeling tasks [15]. Injection molding (IM) is one such complex manufacturing process characterized by nonlinear behavior [16].
There has been extensive research on the application of machine learning in the manufacturing industry. In the field of injection molding, Tellaeche et al. used the Python programming language to classify parts as either good or bad products using several methods, including Naïve Bayes classifiers, decision trees (DTs), and support vector machines (SVMs) [17]. Other research has employed SVMs to classify a product’s quality as good, improvable, or bad [18]. Rifai et al. used convolutional neural networks (CNNs) to develop a classification model which can evaluate and categorize tools as still suitable to use or not [19]. In that research, he compared results from custom and transfer learning, and the results showed that the model from transfer learning reached 92% accuracy.
Another study compared four machine learning algorithms—k-nearest neighbors (kNN), Naïve Bayes, linear discriminant analysis, and decision trees—to predict the quality of multi-cavity injection molding products. In this study, the DT was found to be the best method, with a computing time of 8–10 s and an average performance exceeding 90% [20]. A year earlier, another study conducted a comparison of classification tasks and found that the autoencoder (AE) ANN outperformed other methods in terms of accuracy, precision, recall, and F1 score [15].
Kenig highlighted that the mechanical properties of plastics and molding parameters exhibit significant nonlinearity, making them challenging to predict [21]. To address this, Kenig employed the design of experiments (DOE) method alongside an ANN, achieving accurate predictions of the product’s mechanical properties. This combined approach proved effective for predicting other molding outcomes as well.
Using data from Moldflow simulations, Shanthakumar built a model using the central composite design (CCD) method and performed optimization with differential evolution (DE) to reduce warpage by 33.36% on the y axis and 11.64% on the z axis [22]. This proved that using polypropylene and combing backpropagation neural networks (BPNNs) with a genetic algorithm (GA) can optimize injection molding parameters [23]. The result of this approach is a significant reduction in material consumption, short cycle time, and 16% lower energy consumption.
In this study, the researchers aim to optimize the weight of the product and the energy consumption of the injection molding machine. Design of experiments (DoE) is employed to provide a reliable dataset for constructing an artificial neural network (ANN) model. The predictive model will then be used to optimize the parameters using differential evolution (DE). The novelty of this research lies in combining an ANN and DE in the field of injection molding in multi-objective cases, a method which has not been extensively explored.

2. Materials and Methods

2.1. Design of Experiment

To prepare for the preliminary experiment, a Taguchi L27 design of experiments (DoE) was utilized. This approach facilitates a thorough analysis of the impact of six control parameters on the response variables in an effective manner. The set-up and findings of this preliminary experiment are outlined in Table 1.
The Taguchi L27 technique was selected for its capacity to concurrently handle several parameters, enabling full comprehension of the interactions and their impact on the outputs. Conducting this initial phase is crucial to verifying the appropriateness of the chosen parameters and their substantial influence on the response variables, such as the weight of the parts and energy usage.
By utilizing the Taguchi L27 DoE, we could build these correlations, which would allow us to improve the upcoming tests and increase the accuracy of the predictive ANN model. The knowledge acquired from this initial investigation guided the adjustment of the control parameters, guaranteeing a strong and dependable dataset for the training and validation of the model.
A Python program was developed to analyze the correlation between the control parameters and response variables, as depicted in Figure 1. For the weight response variable, almost all parameters exhibited correlations above 0.1 or below −0.1, except for the injection pressure, which showed a correlation of −0.06. Regarding energy consumption, the melt temperature was the dominant factor with a correlation of 0.73 followed by the screw speed. Other parameters demonstrated minimal correlation, including the injection pressure.
In addition to using the correlation matrix to validate the Taguchi results, we also conducted an analysis with Lasso feature importance and examined the response of the signal-to-noise ratio using Minitab 21. The Lasso method was chosen because it is capable of selecting influential features effectively even when observations are generated from an unknown nonlinear link function, while the learning process operates with a linear hypothesis class [24]. The results of these two methods are presented in Figure 2 and Table 2 and Table 3. It can be observed from both methods that the injection pressure is the least influential feature for both responses.
Based on the minimal correlation of the injection pressure with both response variables, it was decided to exclude the injection pressure from the control parameters. This decision was consistent with previous research [25], where it was found that the influence of the injection pressure on the part weight in polypropylene (PP) material increased linearly up to a certain pressure point, after which the part weight either stabilized or decreased.
A full factorial design of experiments (DoE) was created using five control parameters for the polypropylene (PP) material, as shown in Table 4. The total number of runs required for a single set of the full factorial design was 243 in one experiment.

2.2. Data Collection

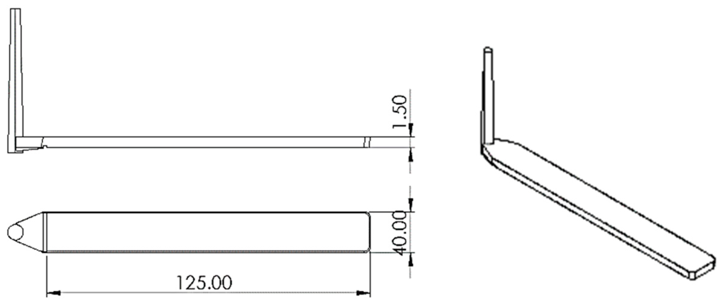
The injection molding machine used in this experiment was the FCS HT-150SV, which was made in Taiwan. The part shape used for these experiments was a thin, rectangular part 125 mm in length, 40 mm in width, and 1.5 mm thick, as shown in Figure 3. This shape was chosen to expedite the process and reduce material consumption. The materials used were LCY PP 7533.
Polypropylene (PP) was selected for its low cost, high heat distortion temperature, good mechanical properties, and ease of recycling [26]. PP is also the largest raw material used in the industrial sector, being utilized in packaging, automotive parts, toys, and a variety of industrial components [27].
During the experimental process, energy data were collected by measuring the current at three different points: the mold temperature control device, the motor controller, and the melt temperature controller (Figure 4). After production, the gate sections of the produced parts were removed, and their weights were measured using an HZK FA-210 analytical balance. Each experimental run was performed at least three times, and the data used in the analysis were the average of these runs.

2.3. ANN Model and Hyperparameter Tunning

Based on the literature review, it was decided to use three hidden layers for this case. Initially, to build the base ANN model, grid search was employed to find the best hyperparameters, including the number of neurons in the hidden layers, epochs, dropout rates, learning rate, activation functions, optimizers, and batch size. However, this process proved to be extremely time-consuming, taking approximately 24–48 h to obtain the optimal results. This considerable duration highlights the inefficiency of grid search, particularly for high-dimensional hyperparameter spaces, prompting the need for a more efficient optimization method.
Hyperparameters are essential for the training and performance of neural networks. Accurately adjusting these parameters is crucial for attaining an ideal model which is both precise and capable of being applied to many scenarios. After exploring various sources and research, the decision was made to utilize the “gp_minimize” function from the Bayesian optimization framework to identify the best hyperparameters using the same search space [28]. Gaussian process (GP) optimization significantly reduces the time required to converge to optimal hyperparameters by leveraging probabilistic models to predict the performance of different hyperparameter settings as shown in Figure 5. This provided us with an approximation of how the performance changed when the hyperparameters were updated. When we assessed the real performance of a given collection of hyperparameters, we had a clear understanding of the performance, protecting against certain potential random variations. Subsequently, we could request the Bayesian optimizer to provide us with a novel recommendation for hyperparameters inside an unexplored part of the search space (Table 5) or hyperparameters which the Bayesian optimizer deemed most likely to yield significant enhancements. Subsequently, we iterated through this procedure multiple times until the Bayesian optimizer constructed a robust model which captured the relationship between performance and various hyper-settings. This enabled us to select the optimal parameters. This method balances exploration and exploitation more effectively, ensuring a faster and more reliable search for optimal configurations [29].

2.4. Differential Evolution

Differential evolution (DE) is an evolutionary algorithm which has been increasingly applied to optimize these process parameters, aiming to enhance product quality and reduce production costs. Differential evolution can optimize various production processes, including injection molding, by using sensor data to adjust parameters like the manufacturing time and quality [30].
Both DE and GA are evolutionary algorithms which operate on a population of solutions and employ mechanisms based on natural evolution [31]. DE utilizes vector differences for mutation, which frequently yields superior performance in continuous optimization issues compared with the crossover and mutation methods used in GA. GA may necessitate more intricate methods for the selection, crossover, and mutation processes, which can result in increased complexity during implementation. DE and particle swarm optimization (PSO) are both population-based optimization methods. PSO updates particles by considering their velocities and locations, which are influenced by both personal and global best solutions. On the other hand, DE focuses on vector differences and crossover operations. PSO may exhibit faster convergence on certain issues, but DE is frequently more resilient in locating global optima. DE, along with other evolutionary programming methods like GA and PSO, can dynamically adjust injection molding process parameters to improve product quality by responding to environmental conditions affecting resin flow [32].
DE is effective in multi-objective optimization, reducing warpage, volumetric shrinkage, and the cycle time in injection molding processes. This is achieved by integrating DE with methods like orthogonal experimental design and numerical simulation [33]. Differential evolution is a powerful tool for optimizing injection molding processes. It can dynamically adjust process parameters to improve product quality and reduce production costs. By integrating DE with other optimization techniques and methods, it is possible to achieve significant improvements in multiple objectives [34].
The DE algorithm flow for this research shown in Figure 6, where the best mutation strategy and binomial crossover were employed. The mutation was based on the following formula:
v i = x b e s t + F ( x r 1 + x r 2 )
Here, xbest represents the current best solution, F is the mutation factor, and xr1 and xr2 are randomly selected solutions. The crossover process followed this formula:
u j = v j   x j   i f   r a n d j 0 , 1 C R   o r   j = j r a n d o t h e r w i s e
where vj is the value from the donor vector, xj is the value from the target vector, and CR is the crossover probability. The logic of this formula is that the value will be taken from the donor vector if the random value is less than or equal to CR or if the position of the trial vector being evaluated matches the position in the donor vector. Otherwise, the value will be taken from the initial solution.

3. Results and Discussion

3.1. Experiment Results

The initial experiment achieved a validation mean square error (MSE) of about 0.02, accompanied by a validation R2 of 82.38%. To enhance these outcomes, a decision was made to supplement the data by carrying out a subsequent experiment. Increased dataset sizes typically result in improved performance, enhancing the reliability of artificial neural networks for prediction tasks in diverse applications.
Research conducted by Colak showed that using larger datasets improves the ability of artificial neural networks to make accurate predictions [35]. In addition, Amir achieved significant improvement in the model’s R2, increasing it from 83% to 92% by transitioning from the Taguchi technique to full factorial in the design of experiments (DoE) [36].
By expanding the span of each parameter to add observation points, a second full factorial design was created, as presented in Table 6 below. Consequently, the entire dataset consisted of 486 data points. Basic information for the entire dataset can be seen in Table 6 below.

3.2. ANN Model Results

After obtaining the optimal hyperparameters through the hyperparameter tuning process, an ANN model was constructed with the configuration illustrated in Figure 7. The structure of this base ANN model consisted of five input layers corresponding to the number of control parameters. The first hidden layer comprised 8 neurons, the second hidden layer consisted of 13 neurons, the third hidden layer also contained 13 neurons, and the final output layer consisted of 2 neurons, corresponding to the two predicted outputs.
To evaluate the performance of the constructed model against the test data, one metric to consider is the R2 value. The R2 value, or the coefficient of determination, measures how well a model predicts an outcome:
R 2 = 1 ( y i y ^ ) 2 ( y i y ¯ ) 2
From Table 7, we can see that the model demonstrated excellent performance on the training set, achieving extremely low MSE and mean absolute error (MAE) values for both weight and energy consumption. The R2 values were exceptionally high, indicating that the model explained 99.16% of the variance in weight and 95.99% of the variance in energy consumption. The combined R2 total was 97.58%, reflecting strong predictive capability.
On the validation set, the model maintained high accuracy for weight prediction, with an MSE of 8.22 × 10−6 and an R2 value of 98.95%. However, the performance slightly decreased for energy consumption, with an MSE of 0.4354 and an R2 value of 88.57%. The combined R2 total was 93.76%, indicating that the model still performed well but with a slight reduction in accuracy compared with the training set.
The test set results showed a slight increase in the MSE and MAE values, indicating some degradation in performance when the model was applied to new, unseen data. The MSE for the weight was 1.62 × 10−5, and for energy consumption, it was 0.7285. The R2 values were 98.49% for the weight and 84.12% for energy consumption, with an overall R2 total of 91.31%. Despite this decrease, the model still explained a significant portion of the variance for both responses, demonstrating robust generalization ability.
Figure 8 displays the actual values of the weight and energy consumption on the X axis and the predicted values on the Y axis. A good predictive model will produce points which align closely with the reference prediction line. For weight prediction, the points generated from the predicted values closely resembled the ideal prediction line, with an R2 value of 98.49%. In contrast, for energy consumption prediction, the predicted values were more dispersed and did not align as closely with the ideal line. There was even one predicted value which was significantly off, resulting in an R2 value of 84.12% for energy consumption.
When examining the distribution of error values, as shown in Figure 9, it was observed that the error distribution for weight prediction was fairly uniform, ranging from −0.006 to 0.009. In contrast, the error distribution for energy consumption prediction was more centralized, primarily between −1 and 1. However, there was one value with a significantly different error of five, which could notably shift the performance metrics.
The model exhibited high accuracy and predictive power across the training, validation, and test sets, particularly for the weight response variable. While there was a noticeable decline in performance for energy consumption on the validation and test sets, the overall predictive capability remained strong. These results suggest that the model is well suited for predicting the weight but may require further refinement to improve the accuracy for energy consumption.

3.3. Optimization Results

The optimization method was aimed at improving the control parameters in order to produce the most favorable results. The control parameters were bounded by the maximum and minimum values found in the dataset, as indicated in Table 6. This guaranteed that the optimization process thoroughly investigated the complete range of possible parameter values. The iteration limit was set at 100. The parameter in question determines the maximum number of generations which the algorithm will iterate through in order to find the most optimal solution. A population size of 50 was utilized. This value determines the quantity of potential solutions present in each generation, guaranteeing an ample range of options inside the search area. The convergence tolerance was defined as 0.01. This option defines the level at which the algorithm should terminate if the improvement in objective function values between generations falls below this threshold. The rate of crossover recombination was established as 0.8. This parameter governs the likelihood of merging elements from distinct solutions to generate fresh potential solutions, hence promoting the exploration and exploitation of the search space.
Figure 10 illustrates the outcomes of the DE optimization. The subplot on the left depicts the progression of weight between generations, while the subplot on the right illustrates the progression of energy use throughout generations. The weight optimization (shown in the left subplot) exhibited an initial quick adjustment followed by slight variations until eventually stabilizing. The initial weight was set at a greater amount and rapidly declined, suggesting efficient exploration of the search space. The ensuing minor fluctuations indicate the algorithm’s process of refining as it approached an optimal result. The weight reached a stable state after approximately 30 generations, indicating that the solution selected was either ideal or extremely close to optimal.
The energy consumption optimization (right subplot) shows a notable decrease in the first few generations, followed by modest reductions and ultimate stabilization. The energy usage first exhibited a high level and then rapidly declined throughout the first 10 generations, showcasing the algorithm’s effectiveness in promptly identifying superior alternatives at the beginning of the process. The algorithm’s convergence toward an optimal solution is indicated by the steady reduction and eventual plateau. The stabilization seen after around 20 generations provides confirmation that the DE settings were successful in optimizing energy use.
Additionally, because this study employed a full factorial design, optimization was also performed using Minitab software for comparison purposes. A model was created using general factorial regression, resulting in a multiple linear regression equation. To calculate the error with an appropriate degree of freedom, only interactions up to the third order were considered. From the modeling results, the R-squared value obtained for the weight was 99.87%, and for energy consumption, it was 98.37%. The results of both optimizations are presented in Table 8.
This study evaluated the optimization outcomes of injection molding parameters using Minitab and differential evolution (DE) methodologies, comparing them to the original settings. Regarding the melt temperature, DE raised the temperature by 2%, while Minitab indicated a decrease of 1%. The mold temperature modifications had a greater impact with DE, resulting in an 11% rise, while Minitab only showed a 5% increase. The injection speed had a significant surge of 108% when using Minitab, while DE demonstrated more moderate growth of 16%. Both techniques significantly decreased the packing pressure by 51%. The screw speed modifications exhibited contrasting results, as Minitab increased it by 46%, while DE decreased it by 22%. Regarding the results, DE proved to be more efficient in reducing weight and energy consumption. It achieved a 2% decrease in weight and a 14% decrease in energy consumption, while Minitab only achieved a 1% decrease in weight and an 8% decrease in energy consumption. The results emphasize the better performance of DE in optimizing both operational parameters and efficiency metrics for the injection molding process.
The DE algorithm, utilizing its predetermined configurations, effectively optimized the weight and energy consumption of the injection molding machine. The algorithm’s capacity to efficiently explore and utilize the search space was demonstrated by the rapid early improvements followed by stabilization in both objective functions. This led to convergence within the set parameters. The results demonstrate that the selected DE settings were suitable for the specific optimization challenge, resulting in substantial enhancements in both weight and energy consumption.

4. Conclusions

This study successfully improved the weight of the product and reduced the energy consumption of the injection molding machine by integrating DoE with an ANN model and DE for parameter optimization. The predictive model exhibited exceptional performance throughout the training, validation, and test sets. The model demonstrated outstanding performance on the training set, with R2 values of 99.16% for the weight and 95.99% for energy consumption. The combined R2 total of 97.58% indicates a robust predictive capability. The model achieved a high R2 of 98.95% for weight prediction on the validation set. However, the performance for energy consumption significantly declined to an R2 value of 88.57%, resulting in a combined R2 total of 93.76%. The model exhibited a decline in performance on the test set, as seen by R2 values of 98.49% for the weight and 84.12% for energy consumption, resulting in an overall R2 total of 91.31%. Although there was a decrease, the model nevertheless effectively accounted for a substantial amount of variability in both answers, indicating strong generalization capability. DE achieved a 2% reduction in weight and a 14% reduction in energy consumption. These findings demonstrate the effectiveness of integrating an ANN with DE for improving injection molding parameters, particularly in situations involving multi-objectives.

Author Contributions

Conceptualization, Y.-H.T. and D.O.; methodology, Y.-H.T., D.O. and S.; software, D.O.; validation, D.O.; investigation, D.O.; resources, Y.-H.T. and S.; data curation, D.O.; writing—original draft preparation, Y.-H.T. and D.O.; writing—review and editing, Y.-H.T. and S.; visualization, D.O.; supervision, Y.-H.T. and S.; project administration, Y.-H.T.; funding acquisition, Y.-H.T. All authors have read and agreed to the published version of the manuscript.

Funding

This research received no external funding.

Institutional Review Board Statement

Not applicable.

Informed Consent Statement

Not applicable.

Data Availability Statement

Since there will be further studies, in order to keep completion, the data will not be provided in this study.

Acknowledgments

The authors would like to extend our deepest gratitude to the R&D Center for Smart Manufacturing of CYCU in Taiwan, for their invaluable support and for providing the facilities necessary to conduct this research. We are immensely grateful to all of the staff and lab technicians for their continuous assistance and support. Additionally, we would like to thank the Department of Mechanical Engineering of CYCU for its unwavering support and insightful discussions throughout the experimental phase. These contributions were instrumental in the successful completion of this research.

Conflicts of Interest

The authors declare no conflicts of interest.

References

  1. Gim, J.; Yang, H.; Turng, L.S. Transfer learning of machine learning models for multi-objective process optimization of a transferred mold to ensure efficient and robust injection molding of high surface quality parts. J. Manuf. Process. 2023, 87, 11–24. [Google Scholar] [CrossRef]
  2. Khoshooee, N.; Coates, P.D. Application of the Taguchi method for consistent polymer melt production in injection moulding. J. Eng. Manuf. 1998, 212, 611. [Google Scholar] [CrossRef]
  3. Chen, J.Y.; Yang, K.J.; Huang, M.S. Online quality monitoring of molten resin in injection molding. Int. J. Heat Mass Transf. 2018, 122, 681–693. [Google Scholar] [CrossRef]
  4. Lovrec, D.; Tic, V.; Tasner, T. Dynamic behaviour of different hydraulic drive concepts—Comparison and limits. Int. J. Simul. Model. 2017, 16, 448–457. [Google Scholar] [CrossRef]
  5. Paolucci, M.; Anghinolfi, D.; Tonelli, F. Facing energy-aware scheduling: A multi-objective extension of a scheduling support system for improving energy efficiency in a moulding industry. Soft Comput. 2017, 21, 3687–3698. [Google Scholar] [CrossRef]
  6. Mianehrow, H.; Abbasian, A. Energy monitoring of plastic injection molding process running with hydraulic injection molding machines. J. Clean. Prod. 2017, 148, 804–810. [Google Scholar] [CrossRef]
  7. Mukras, S.M.S. Experimental-Based Optimization of Injection Molding Process Parameters for Short Product Cycle Time. Adv. Polym. Technol. 2020, 2020, 1309209. [Google Scholar] [CrossRef]
  8. Tranter, J.B.; Refalo, P.; Rochman, A. Towards sustainable injection molding of ABS plastic products. J. Manuf. Process. 2017, 29, 399–406. [Google Scholar] [CrossRef]
  9. Meekers, I.; Refalo, P.; Rochman, A. Analysis of Process Parameters affecting Energy Consumption in Plastic Injection Moulding. Procedia CIRP 2017, 69, 342–347. [Google Scholar] [CrossRef]
  10. Cheng, C.C.; Liu, K.W. Optimizing energy savings of the injection molding process by using a cloud energy management system. Energy Effic. 2018, 11, 415–426. [Google Scholar] [CrossRef]
  11. He, D.; Zhang, Y.; Jian, Z.; Fan, Y.; Zhou, G. Numerical Simulation for Optimization of Plastics Process Parameters of Injection Molding Machine Based on Energy Consumption. DEStech Trans. Eng. Technol. Res. 2016. [Google Scholar] [CrossRef]
  12. Liu, H.; Zhang, X.; Quan, L.; Zhang, H. Research on energy consumption of injection molding machine driven by five different types of electro-hydraulic power units. J. Clean. Prod. 2019, 242, 118355. [Google Scholar] [CrossRef]
  13. Lucchetta, G.; Masato, D.; Sorgato, M. Optimization of mold thermal control for minimum energy consumption in injection molding of polypropylene parts. J. Clean. Prod. 2018, 182, 217–226. [Google Scholar] [CrossRef]
  14. Meiabadi, M.S.; Vafaeesefat, A.; Sharifi, F. Optimization of plastic injection molding process by combination of artificial neural network and genetic algorithm. J. Optim. Ind. Eng. 2013, 13, 49–54. [Google Scholar]
  15. Jung, H.; Jeon, J.; Choi, D.; Park, A.J.Y. Application of machine learning techniques in injection molding quality prediction: Implications on sustainable manufacturing industry. Sustainability 2021, 13, 4120. [Google Scholar] [CrossRef]
  16. Shen, C.; Wang, L.; Li, Q. Optimization of injection molding process parameters using combination of artificial neural network and genetic algorithm method. J. Mater. Process. Technol. 2007, 183, 412–418. [Google Scholar] [CrossRef]
  17. Tellaeche, A.; Arana, R. Machine learning algorithms for quality control in plastic molding industry. In Proceedings of the 2013 IEEE 18th Conference on Emerging Technologies & Factory Automation (ETFA), Cagliari, Italy, 10–13 September 2013; pp. 1–4. [Google Scholar] [CrossRef]
  18. Werner, M.; Schneider, M.; Greifzu, N.; Seul, T.; Wenzel, A.; Jahn, R.; Lehr, M. Development of a digital assistance system for continuous quality assurance in the plastic injection moulding process with a focus on self-learning algorithms. Annu. Tech. Conf.—ANTEC Conf. Proc. 2020, 1, 486–490. [Google Scholar]
  19. Rifai, A.P.; Briliananda, S.; Aoyama, H. Tool Condition Monitoring with Convolutional Neural Network for Milling Tools and Turning Inserts. J. Tek. Ind. 2023, 25, 1–16. [Google Scholar] [CrossRef]
  20. Török, D.; Ageyeva, T. Machine Learning in Injection Molding: An Industry 4.0 Method of Quality Prediction. Sensors 2022, 22, 2704. [Google Scholar] [CrossRef] [PubMed]
  21. Kenig, S.; Ben-David, A.; Omer, M.; Sadeh, A. Control of properties in injection molding by neural networks. Eng. Appl. Artif. Intell. 2001, 14, 819–823. [Google Scholar] [CrossRef]
  22. Shanthakumar, R.; Nasir, S.M.; Fathullah, M.; Sazli, S.M.; Rashidi, M.M. Optimization of Thin Shell Parts by Using Differential Evolution (DE) Method. AIP Conf. Proc. 2018, 2030, 020160. [Google Scholar] [CrossRef]
  23. ELGhadoui, M.; Mouchtachi, A.; Majdoul, R. A hybrid optimization approach for intelligent manufacturing in plastic injection molding by using artificial neural network and genetic algorithm. Sci. Rep. 2023, 13, 21817. [Google Scholar] [CrossRef]
  24. Zhang, Y.; Ray, S.; Gurj, W. On the consistency of feature selection with Lasso for non-linear targets. In Proceedings of the 33rd International Conference on Machine Learning ICML 2016, New York, NY, USA, 19–24 June 2016; Volume 1, pp. 322–330. [Google Scholar]
  25. Wang, J.; Mao, Q.; Jiang, N.; Chen, J. Effects of injection molding parameters on properties of insert-injection molded polypropylene single-polymer composites. Polymers 2022, 14, 23. [Google Scholar] [CrossRef]
  26. Utomo, A.P.; Bintara, R.D.; Suprayitno. Optimization Injection Molding Parameters of Polypropylene Materials to Minimize Product Not Complete Defects Using the Taguchi Method. In Proceedings of the International Conference on Religion, Science and Education 2022, Yogyakarta, Indonesia, 20 December 2022; pp. 605–611. [Google Scholar]
  27. Research, G.V. Plastic Market Size, Share & Trends Analysis Report by Product (PE, PP, PU, PVC, PET, PS), by Application (Injection Molding, Blow Molding, Roto Molding, Compression Molding), by End-Use, by Region, and Segment Forecasts, 2024–2030. Available online: https://www.grandviewresearch.com/industry-analysis/global-plastics-market# (accessed on 2 March 2024).
  28. Huang, M.S.; Chen, C.C. Enhancing Machine Learning Capabilities in Injection Molded Part Quality Prediction Using Transfer Learning Models. In Proceedings of the 2023 26th International Conference on Mechatronics Technology (ICMT), Busan, Republic of Korea, 18–21 October 2023; pp. 1–5. [Google Scholar] [CrossRef]
  29. Wu, J.; Chen, X.Y.; Zhang, H.; Xiong, L.D.; Lei, H.; Deng, S.H. Hyperparameter optimization for machine learning models based on Bayesian optimization. J. Electron. Sci. Technol. 2019, 17, 26–40. [Google Scholar] [CrossRef]
  30. Giese, K.; Eickmeyer, J.; Niggemann, O. Differential Evolution in Production Process Optimization of Cyber Physical Systems; Springer: Berlin/Heidelberg, Germany, 2020; ISBN 9783662590843. [Google Scholar] [CrossRef]
  31. Qiang, J.; Mitchell, C.A. Unified Differential Evolution Algorithm for Global Optimization. IEEE Trans. Evol. Comput. 2014, 1–8. [Google Scholar]
  32. Jawaha, S.; Ramamoorthy, P. Dynamic optimization of injection molding process variables by evolutionary programming methods. In Proceedings of the 2012 International Conference on Computer Communication and Informatics, ICCCI 2012, Coimbatore, India, 10–12 January 2012; pp. 1–6. [Google Scholar] [CrossRef]
  33. Wang, Z.; Li, J.Y.; Sun, Z.; Bo, C.; Gao, F. Multiobjective optimization of injection molding parameters based on the GEK-MPDE method. J. Polym. Eng. 2023, 43, 820–831. [Google Scholar] [CrossRef]
  34. Das, S.; Suganthan, P.N. Differential evolution: A survey of the state-of-the-art. IEEE Trans. Evol. Comput. 2011, 15, 4–31. [Google Scholar] [CrossRef]
  35. Çolak, A.B. An experimental study on the comparative analysis of the effect of the number of data on the error rates of artificial neural. Int. J. Energy Res. 2021, 45, 478–500. [Google Scholar] [CrossRef]
  36. Amir, A. Artificial Neural Network Modeling for Surface Roughness Prediction in Cnc Milling Machining. Master’s Thesis, Chung Yuan Christian University, Taiwan, China, 2020. [Google Scholar]
Figure 1. Correlation matrix from preliminary experiment.
Figure 1. Correlation matrix from preliminary experiment.
Applsci 15 00826 g001
Figure 2. Features importance for weight and energy consumption.
Figure 2. Features importance for weight and energy consumption.
Applsci 15 00826 g002
Figure 3. Schematic view of experiment product.
Figure 3. Schematic view of experiment product.
Applsci 15 00826 g003
Figure 4. (a) Current probe on mold temperature controller device. (b) Current probe on melt temperature controller and motor controller device.
Figure 4. (a) Current probe on mold temperature controller device. (b) Current probe on melt temperature controller and motor controller device.
Applsci 15 00826 g004
Figure 5. Flowchart of Gaussian process hyperparameter optimization.
Figure 5. Flowchart of Gaussian process hyperparameter optimization.
Applsci 15 00826 g005
Figure 6. Flowchart of DE algorithm.
Figure 6. Flowchart of DE algorithm.
Applsci 15 00826 g006
Figure 7. Illustration of ANN model.
Figure 7. Illustration of ANN model.
Applsci 15 00826 g007
Figure 8. Predicted vs. true value test data.
Figure 8. Predicted vs. true value test data.
Applsci 15 00826 g008
Figure 9. Distribution error of test data.
Figure 9. Distribution error of test data.
Applsci 15 00826 g009
Figure 10. Evolution of generation for weight and energy consumption.
Figure 10. Evolution of generation for weight and energy consumption.
Applsci 15 00826 g010
Table 1. Basic information for 486 point dataset.
Table 1. Basic information for 486 point dataset.
Melt Temperature (°C)Mold Temperature (°C)Injection Speed (mm/s)Packing Pressure (bar)Screw Speed (rpm)Weight (g)Energy Consumption (Wh)
MAX242735272732.492944.9906
MIN192431222232.337924.5721
AVE218.556.528.546492.400328.7938
ST. DEV18.5610.5213.3816.8718.530.03182.4262
Table 2. Response table for signal-to-noise ratios for weight.
Table 2. Response table for signal-to-noise ratios for weight.
LevelMelt_TempMold_TempInjection_PressInj_SpeedPacking_PressScrew_Speed
157.7359.7958.9859.7859.0958.93
259.6260.5360.1661.2760.5961.88
362.0659.0960.2758.3659.7358.60
Delta4.341.441.292.911.493.29
Rank156342
Table 3. Response table for signal-to-noise ratios for energy consumption.
Table 3. Response table for signal-to-noise ratios for energy consumption.
LevelMelt_TempMold_TempInjection_PressInj_SpeedPacking_PressScrew_Speed
1−28.85−29.12−29.16−29.09−29.07−29.14
2−28.99−29.14−29.04−29.25−29.25−29.19
3−29.53−29.11−29.17−29.02−29.04−29.03
Delta0.670.030.130.230.210.16
Rank165234
Table 4. Full factorial design for Experiment 1.
Table 4. Full factorial design for Experiment 1.
LevelExperiment 1
Melt TemperatureMold TemperatureInjection SpeedPacking PressureScrew Speed
(°C)(°C)(mm/s)(bar)(rpm)
120045153030
222055254550
324065356070
Table 5. Hyperparameter search space.
Table 5. Hyperparameter search space.
HyperparameterSearch SpaceResult
Neurons on Hidden Layer 17–158
Neurons on Hidden Layer 27–1513
Neurons on Hidden Layer 37–1513
Epoch1000–30002994
Dropout0–0.20.001
Learning Rate0.001–0.050.007
Activation[‘relu’, ‘softplus’, ‘linear’, ‘sigmoid’, ‘tanh’]tanh
Optimizer[Adam, SGD, RMSprop]Adam
Batch Size20–3027
Table 6. Full factorial design for Experiment 2.
Table 6. Full factorial design for Experiment 2.
LevelExperiment 2
Melt TemperatureMold TemperatureInjection SpeedPacking PressureScrew Speed
(°C)(°C)(mm/s)(bar)(rpm)
119243122223
221758324748
324273527273
Table 7. Result of ANN model.
Table 7. Result of ANN model.
DatasetMSE WeightMSE
Energy
MAE
Weight
MAE
Energy
R2 WeightR2 Energy
Consumption
R2 Total
Train8.61 × 10−60.25160.00230.368299.16%95.99%97.58%
Validation8.22 × 10−60.43540.00240.537198.95%88.57%93.76%
Test1.62 × 10−50.72850.00320.523598.49%84.12%91.31%
Table 8. Comparation of optimization results.
Table 8. Comparation of optimization results.
OriginalMinitabDiffDEDiff
Melt Temperature (°C)220217−1%2242%
Mold Temperature (°C)55585%6111%
Injection Speed (mm/s)2552108%2916%
Packing Pressure (bar)4522−51%22−51%
Screw Speed (rpm)507346%39−22%
Weight (g)2.39042.3593−1%2.3441−2%
Energy Consumption (Wh)28.586326.2660−8%24.5721 −14%
Disclaimer/Publisher’s Note: The statements, opinions and data contained in all publications are solely those of the individual author(s) and contributor(s) and not of MDPI and/or the editor(s). MDPI and/or the editor(s) disclaim responsibility for any injury to people or property resulting from any ideas, methods, instructions or products referred to in the content.

Share and Cite

MDPI and ACS Style

Oktora, D.; Ting, Y.-H.; Sukoyo. Multi-Objective Optimization of Injection Parameters and Energy Consumption Based on ANN-Differential Evolution. Appl. Sci. 2025, 15, 826. https://doi.org/10.3390/app15020826

AMA Style

Oktora D, Ting Y-H, Sukoyo. Multi-Objective Optimization of Injection Parameters and Energy Consumption Based on ANN-Differential Evolution. Applied Sciences. 2025; 15(2):826. https://doi.org/10.3390/app15020826

Chicago/Turabian Style

Oktora, Devic, Yu-Hung Ting, and Sukoyo. 2025. "Multi-Objective Optimization of Injection Parameters and Energy Consumption Based on ANN-Differential Evolution" Applied Sciences 15, no. 2: 826. https://doi.org/10.3390/app15020826

APA Style

Oktora, D., Ting, Y.-H., & Sukoyo. (2025). Multi-Objective Optimization of Injection Parameters and Energy Consumption Based on ANN-Differential Evolution. Applied Sciences, 15(2), 826. https://doi.org/10.3390/app15020826

Note that from the first issue of 2016, this journal uses article numbers instead of page numbers. See further details here.

Article Metrics

Back to TopTop